Информационная система
«Ёшкин Кот»

Скачать базу одним архивом
Скачать обновления
История создания базы
Карта сайта

Скачать ГОСТ 21.602-2003 Система проектной документации для строительства. Правила выполнения рабочей документации отопления, вентиляции и кондиционирования

Дата актуализации: 10.08.2017

ГОСТ 21.602-2003

Система проектной документации для строительства. Правила выполнения рабочей документации отопления, вентиляции и кондиционирования

Обозначение: ГОСТ 21.602-2003
Обозначение англ: GOST 21.602-2003
Статус:взамен
Название рус.:Система проектной документации для строительства. Правила выполнения рабочей документации отопления, вентиляции и кондиционирования
Название англ.:System of design documents for construction. Rules for execution of working documentation of heating, ventilation and air conditioning
Дата добавления в базу:01.09.2013
Дата актуализации:05.05.2017
Дата введения:01.06.2003
Дата окончания срока действия:01.07.2017
Область применения:Стандарт устанавливает состав и правила оформления рабочей документации систем отопления, вентиляции и кондиционирования зданий и сооружений различного назначения.
Оглавление:1 Область применения
2 Нормативные ссылки
3 Определения
4 Общие положения
5 Общие данные по рабочим чертежам
6 Чертежи систем
7 Чертежи установок систем
8 Эскизные чертежи общих видов нетиповых изделий
9 Спецификация оборудования, изделий и материалов
10 Опросные листы и габаритные чертежи
Приложение А Примененные в настоящем стандарте термины
Приложение Б Пример выполнения план-схемы размещения установок систем
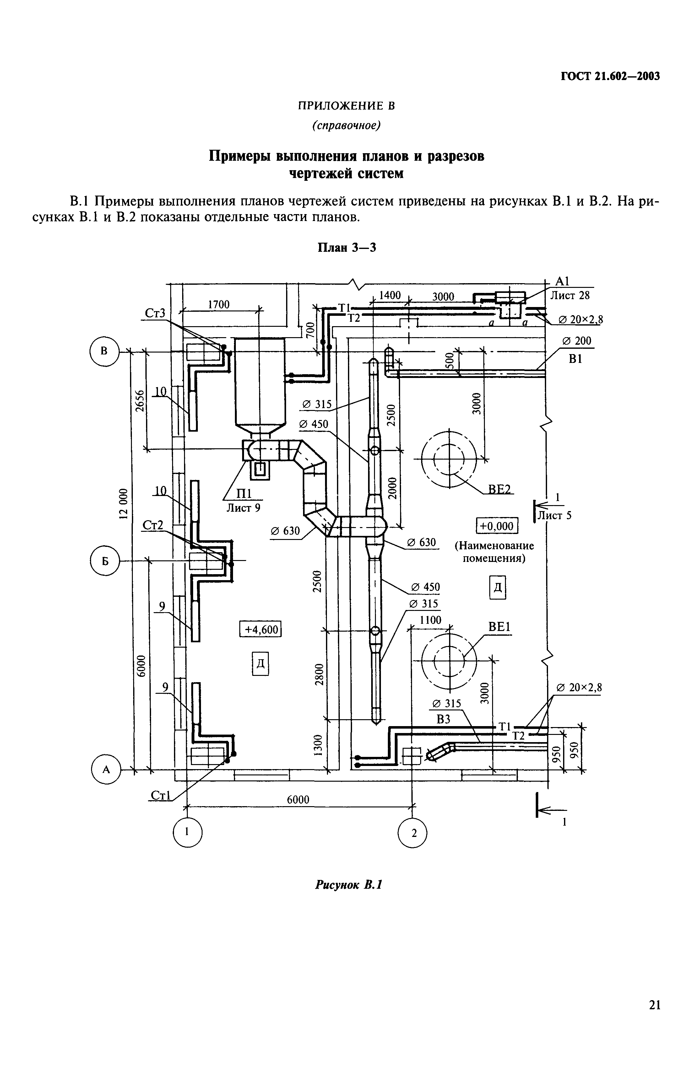
Приложение В Примеры выполнения планов и разрезов чертежей систем
Приложение Г Примеры выполнения схем систем отопления и теплоснабжения установок
Приложение Д Примеры выполнения схем систем вентиляции
Приложение Е Примеры выполнения планов и разрезов чертежей установок систем
Приложение Ж Пример составления спецификации оборудования, изделий и материалов
Разработан: Сантехниипроект Госстроя России
ФГУП ЦНС
Утверждён:20.05.2003 Госстрой России (Russian Federation Gosstroy 39)
Издан: ФГУП ЦПП (2004 г. )
Расположен в:Техническая документация Электроэнергия ОБЩИЕ ПОЛОЖЕНИЯ. ТЕРМИНОЛОГИЯ. СТАНДАРТИЗАЦИЯ. ДОКУМЕНТАЦИЯ Технические чертежи Строительные чертежи Экология ОБЩИЕ ПОЛОЖЕНИЯ. ТЕРМИНОЛОГИЯ. СТАНДАРТИЗАЦИЯ. ДОКУМЕНТАЦИЯ Технические чертежи Строительные чертежи Строительство Нормативные документы Документы Системы нормативных документов в строительстве Организационно-методические нормативные документы к.11 Инженерные изыскания для строительства и проектирование
Заменяет собой:
Чем заменён:
Нормативные ссылки:
ГОСТ 21.602-2003ГОСТ 21.602-2003ГОСТ 21.602-2003ГОСТ 21.602-2003ГОСТ 21.602-2003ГОСТ 21.602-2003ГОСТ 21.602-2003ГОСТ 21.602-2003ГОСТ 21.602-2003ГОСТ 21.602-2003ГОСТ 21.602-2003ГОСТ 21.602-2003ГОСТ 21.602-2003ГОСТ 21.602-2003ГОСТ 21.602-2003ГОСТ 21.602-2003ГОСТ 21.602-2003ГОСТ 21.602-2003ГОСТ 21.602-2003ГОСТ 21.602-2003ГОСТ 21.602-2003ГОСТ 21.602-2003ГОСТ 21.602-2003ГОСТ 21.602-2003ГОСТ 21.602-2003ГОСТ 21.602-2003ГОСТ 21.602-2003ГОСТ 21.602-2003ГОСТ 21.602-2003ГОСТ 21.602-2003ГОСТ 21.602-2003ГОСТ 21.602-2003ГОСТ 21.602-2003ГОСТ 21.602-2003ГОСТ 21.602-2003ГОСТ 21.602-2003ГОСТ 21.602-2003ГОСТ 21.602-2003

© 2013 Ёшкин Кот :-) Карта сайта