| ||||||||||||||||||||||||||||||||
Скачать Пособие к СНиП 2.08.02-89 Проектирование высших учебных заведений и институтов повышения квалификацииДата актуализации: 10.08.2017
|
| Обозначение: | Пособие к СНиП 2.08.02-89 |
| Обозначение англ: | SNIP Handbook 2.08.02-89 |
| Статус: | не действует |
| Название рус.: | Проектирование высших учебных заведений и институтов повышения квалификации |
| Название англ.: | Design of Institutes of Higher Learning and Training Institutes |
| Дата добавления в базу: | 01.09.2013 |
| Дата актуализации: | 05.05.2017 |
| Дата введения: | 01.01.2010 |
| Область применения: | Изложены основные планировочные и объемно-планировочные требования и положения по проектированию высших учебных заведений и институтов повышения квалификации. Даны примеры архитектурного решения. Для инженерно-технических работников проектных и строительно-монтажных организаций |
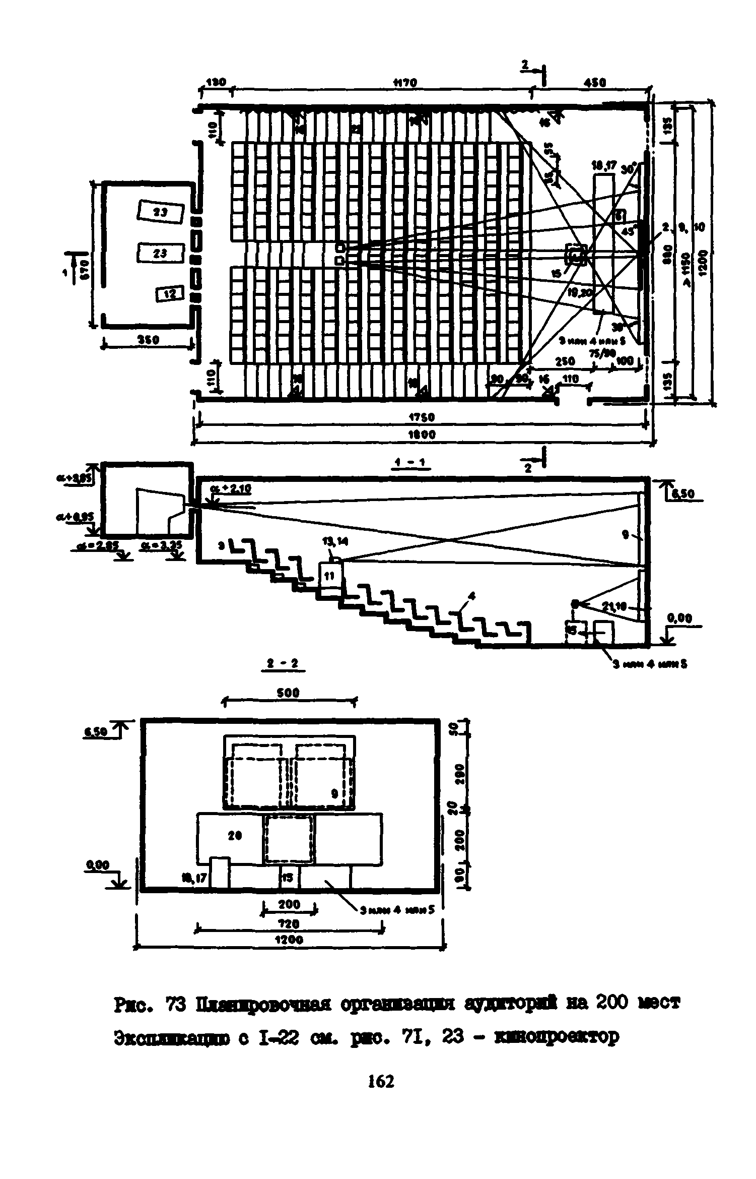
| Оглавление: | Предисловие Высшие учебные заведения 1. Общие положения 2. Требования к участкам высших учебных заведений Величина участка и общие требования к проектированию генерального плана Планировочные решения основных зон вузовского комплекса Организация обслуживания студентов Инженерное решение территории 3. Объемно-планировочное решение Общее решение зданий и комплексов Состав и площади основных групп помещений вузов Учебно-научные корпуса и блоки Учебные кабинеты и лаборатории Аудитории Научные и научно-производственные подразделения Библиотеки Физкультурно-спортивные сооружения Зрелищно-клубные помещения Помещения административно-хозяйственного назначения Предприятия общественного питания Вспомогательные и подсобные помещения Институты повышения квалификации 4. Общие положения 5. Требования к участкам 6. Объемно-планировочные решения Учебные кабинеты и лаборатории Аудитории Библиотеки Физкультурно-спортивные сооружения Зрелищно-клубные помещения Служебные помещения Помещения обслуживания Предприятия общественного питания Помещения медицинского обслуживания Вспомогательные и подсобные помещения Жилые помещения в общежитии гостиничного типа Приложение 1. Терминология Приложение 2. Номограмма определения контингента студентов медицинских вузов в зависимости от величины коечного фонда больниц города Приложение 3. Допустимые уровни шума Приложение 4. Состав и площади помещений факультета общественных профессий (в пединститутах) Приложение 5. Вместимость защитных сооружений гражданской обороны |
| Разработан: | Институт общественных зданий Минстроя России |
| Издан: | Стройиздат (1992 г. ) |
| Расположен в: | |
| Нормативные ссылки: |
|



























































































































































































































































































































