| ||||||||||||||||||||||||||||||||||||||
Скачать ВСН 003-88 Строительство и проектирование трубопроводов из пластмассовых трубДата актуализации: 10.08.2017
|
| Обозначение: | ВСН 003-88 |
| Обозначение англ: | VSN 003-88 |
| Статус: | действует |
| Название рус.: | Строительство и проектирование трубопроводов из пластмассовых труб |
| Название англ.: | Design and Installation Guidelines to Plastic Piping |
| Дата добавления в базу: | 01.09.2013 |
| Дата актуализации: | 05.05.2017 |
| Дата введения: | 01.10.1988 |
| Область применения: | Распространяются на проектирование и строительство новых и реконструируемых внутри- и межплощадочных трубопроводов нефтяных и газовых промыслов и трубопроводов - ответвлений к отдельным потребителям, сооружаемых из пластмассовых труб, изготовленных из полиэтилена низкого давления (ПНД), полиэтилена высокого давления (ПВД), полипропилена (ПП) и непластифицированного поливинилхлорида (ПВХ) с условным диаметром от 50 до 600 мм включительно при избыточном давлении среды не более 1 МПа (10 кгс/см2) для транспортировки нефти, природного газа, попутного газа, стабильного конденсата, воды, водных растворов, ингибитора. |
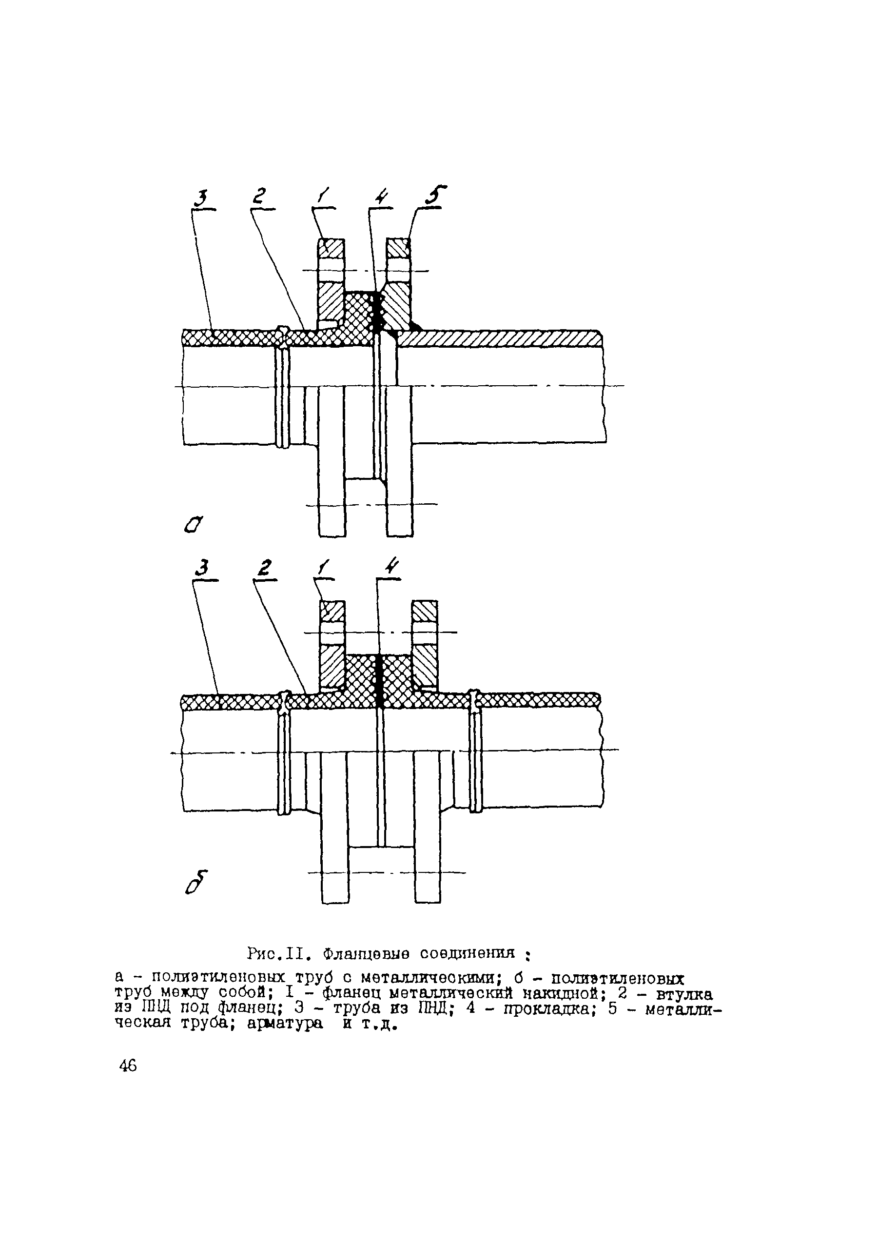
| Оглавление: | 1. Общие положения 2. Состав трубопровода, классификация трубопроводов и их участков 3. Основные требования к трассе трубопровода 4. Общие конструктивные требования к трубопроводам 5. Расчет трубопроводов на прочность, устойчивость и деформативность 6. Материалы и изделия 7. Технология и организация строительно-монтажных работ 8. Техника безопасности и производственная санитария 9. Приемка в эксплуатацию трубопровода Приложение 1. (Справочное). Сводка нормативных документов Приложение 2. (Справочное). Оборудование для контактной сварки труб и деталей из полиэтилена Приложение 3. (Справочное). Сварка контактная тепловая. Термины и определения Приложение 4. (Справочное). Сварка контактная тепловая армированных пленок. Швы сварных соединений. Основные типы и конструктивные элементы |
| Разработан: | ВНИИСТ Миннефтегазстроя (VNIIST, Minneftegazstroy ) |
| Утверждён: | 15.07.1988 Миннефтегазстрой (Minneftegazstroy 200) |
| Принят: | 29.10.1987 Мингазпром (Mingazprom 08-14-13/857) 22.03.1988 Миннефтепром (Minnefteprom ШД-286) 28.12.1987 Главгосгазнадзор СССР (USSR Glavgosgaznadzor 24-3-4/531) 31.08.1987 Главвостоктрубопроводстрой (GlavVostoktruboprovodstroy 06/4690) 19.10.1987 Главнефтегазпромстрой (Glavneftegazpromstroy 11-16.1/2942) 24.11.1987 Главинтернефтегазстрой (Glavinterneftegazstroy 18-03/1673) |
| Издан: | Ротапринт ВНИИСТа (VNIIST Copy Center 1990 г. ) |
| Расположен в: | |
| Заменяет собой: |
|
| Нормативные ссылки: |
|










































































































