| ||||||||||||||||||||||||||||||||||
Скачать СН 460-74 Раздел 5. Конструкции металлические. Чертежи КМДата актуализации: 10.08.2017
|
| Обозначение: | СН 460-74 |
| Обозначение англ: | SN 460-74 |
| Статус: | не определен законодательством |
| Название рус.: | Раздел 5. Конструкции металлические. Чертежи "КМ" |
| Название англ.: | Interim Guidelines on the Content and Format of Construction Drawings for Buildings and Structures - Section 5: Metal Structures - KM Series Drawings |
| Дата добавления в базу: | 01.09.2013 |
| Дата актуализации: | 05.05.2017 |
| Дата введения: | 01.01.2009 |
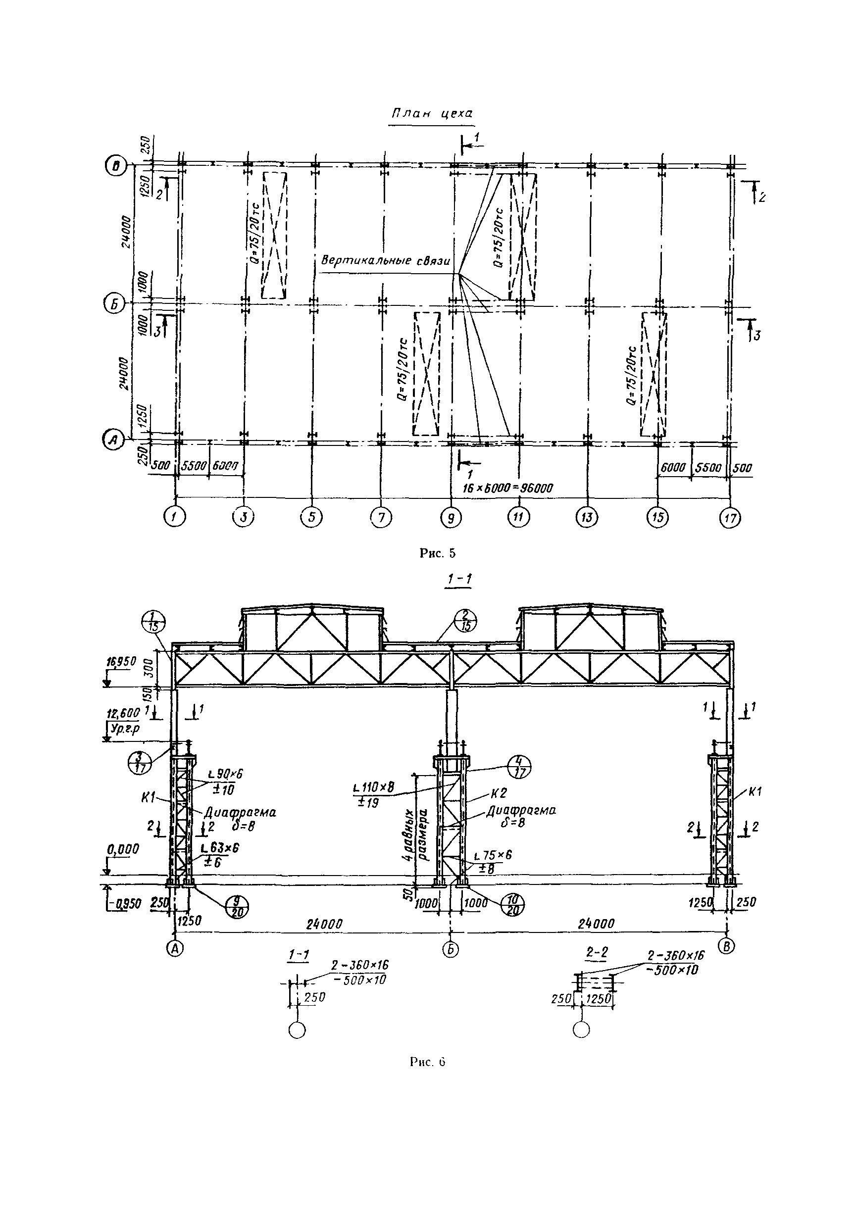
| Оглавление: | 1 Область применения 2 Состав основного комплекта и общие правила оформления чертежей 3 Общие данные (заглавный лист) 4 Чертежи общего вида, планов и разрезов конструкций здания (сооружения) 5 Схемы расположения элементов конструкций 6 Чертежи элементов конструкций 7 Чертежи узлов конструкций Приложение 1. Примеры выполнения чертежей КМ Приложение 2. Формы таблиц и примеры их заполнения Приложение 3. Перечень видов конструкций, изготовляемых на специализированных заводах Приложение 4. Перечень металлических конструкций производственных зданий Приложение 5. Перечень проката сортовой стали |
| Разработан: | ВНИКТИстальконструкция Минмонтажспецстроя СССР ЦНИИпроектстальконструкция Госстроя |
| Утверждён: | 20.06.1977 Госстрой СССР (Государственный комитет Совета Министров СССР по делам строительства) (USSR Gosstroy 76) |
| Издан: | Стройиздат (1978 г. ) |
| Расположен в: | |
| Чем заменён: |
|
| Нормативные ссылки: |
























