| |||||||||||||||||||||||||||||||||||||||||||||||||||||||||||||||||||||||||||||||||||||||||||||||||||||||||||||||||||||||||||||||||||||||||||||||||||||||||||||||||||||||||||||||||||||||||||||||||||||||||||||||||||||||||||||||||||||||||||||||||||||||||||||||||||||||||||||||||||||||||||||||||||||||||||||||||||||||||||||||||||||||||||||||||||||||||||||||||||||||||||||||||||||||||||||||||||||||||||||||||||||||||||||||||||||||||||||||||||||||||||||||||||||||||||||||||||||||||||||||||||||||||||||||||||||||||||||||||||||||||||||||||||||||||||||||||||||||||||||||||||||||||||||||||||||||||||||||||||||||||||||||||||||||||||||||||||||||||||||||||||||||||||||||||||||||||||||||||||||||||||||||||||||||||||||||||||||||||||||||||||||||||||||||||||||||||||||||||||||||||||||||||||||||||||||||||||||||||||||||||||||||||||||||||||||||||||||||||||||||||||||||||||||||||||||||||||||||||||||||||||||||||||||||||||||||||||||||||||||||||||||||||||||||||||||||||||||||||||||||||||||||||||||||||||||||||||||||||||||||
|
ОАО «ЦНИИПРОМЗДАНИЙ» КОНСТРУКЦИИ Материалы для проектирования и рабочие чертежи узлов Шифр М24.2/04
СОДЕРЖАНИЕ
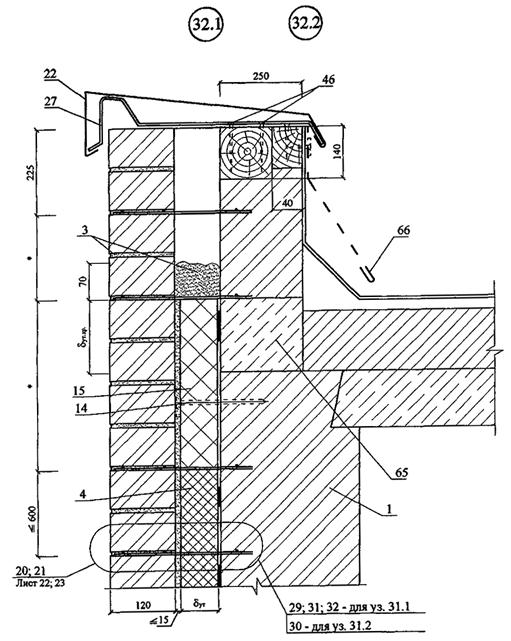
2. ТЕПЛОИЗОЛЯЦИЯ2.1. В качестве теплоизоляции применяются изделия из плитного пенополистирола типа ПСБ-С марок 15, 25 и 35 (ГОСТ 15588-86) и марки 25Ф (ТУ 2244-025-49643056-02). В зависимости от плотности плиты пенополистирольные предназначаются для применения в качестве теплоизоляции: - марок 15 и 25Ф - в стенах; - марки 35 - в покрытиях под рулонную кровлю; - марки 25 - в полах. 2.2. Плиты изготовляют номинальным размером 1200×1000; 1200×500 мм. 2.3. Показатели физико-технических свойств плит по ГОСТ 15588-86 и по ТУ 2244-025-49643056-02 приведены в таблице 1 Таблица 1 Физико-технические свойства плит из пенополистирола
Расчетная теплопроводность для всех марок плит равна: λА = 0,041 Вт/(м ∙ °С), λБ = 0,05 Вт/(м ∙ °С). При других значениях
коэффициентов теплопроводности λА и λБ,
представленные в таблицах 2 и 2а толщины теплоизоляции необходимо
скорректировать умножением на коэффициент 2.4. Согласно сертификатам пожарной безопасности плиты имеют следующие характеристики пожарной опасности: - группа горючести Г2 по ГОСТ 30244; - группа воспламеняемости В2 по ГОСТ 30244; - группа дымообразующей способности Д3 по ГОСТ 12.1.044. Покрытия и стены настоящего выпуска с защитным слоем из штукатурки могут применяться в зданиях II и III степеней огнестойкости классов пожарной опасности С1 по СНиП 21-01, табл. 4 и 5. Покрытие по ж.б. плитам толщиной по полю не менее 50 мм и стены с защитным слоем из кирпича шириной 120 мм могут применяться в зданиях I - III степеней огнестойкости классов пожарной опасности СО по СНиП 21-01, табл. 4 и 5. 3. НОРМЫ ТЕПЛОЗАЩИТЫ И ДАННЫЕ ПО ТОЛЩИНЕ ТЕПЛОИЗОЛЯЦИИ3.1. Минимальное допустимое сопротивление теплопередаче стен и покрытий зданий различного назначения и разных климатических условий регламентировано СНиП 23-02-2003 «Тепловая защита зданий». Сопротивление теплопередаче стен подвалов принимается с учетом расчетной температуры воздуха подвала как для наружных стен. Показатель теплоусвоения полов общественных и производственных зданий не должен превышать значений, приведенных в СНиП 23-02-2003. В противном случае предусматривается устройство слоя дополнительной теплоизоляции из плит. 3.2. По назначению рассматриваемые в работе здания образуют три группы: 1. Жилые, лечебно-профилактические и детские учреждения, школы, интернаты; 2. Общественные, кроме указанных выше, административные и бытовые, за исключением помещений с влажным режимом; 3. Производственные с сухим и нормальным режимами. 3.3. При новом строительстве необходимая толщина слоя теплоизоляции из пенопласта определялась с учетом следующих условий. Стены имеют несущую часть из полнотелого керамического кирпича или камней толщиной 380 мм и наружную защитно-декоративную стенку из штукатурки толщиной 25 - 30 мм или из кирпича толщиной 120 мм. В зданиях 1 и 2 группы стена с внутренней стороны имеет отделочный штукатурный слой толщиной 20 мм. Коэффициент теплотехнической однородности 0,95, без учета откосов проемов и других теплопроводных включений. Возможен вариант наружного защитно-декоративного слоя из лицевого кирпича толщиной 120 мм. Покрытия - совмещенные из сборных железобетонных ребристых плит по серии 1.465.1-21 или многопустотных железобетонных плит толщиной 220 мм по ГОСТ 9561-91 или монолитного железобетона и кровлей по керамзитобетонной стяжке в 30 мм. 3.4. Необходимая толщина слоя теплоизоляции из плит пенополистирола для стен и покрытий перечисленных выше трех групп приведена в табл. 2. 3.5. При реконструкции толщина слоя дополнительной теплоизоляции определялась с учетом следующих условий: Стены выполнены из полнотелого глиняного кирпича толщиной в зависимости от назначения здания и района строительства - 380, 510, 640 или 770 мм со штукатуркой 20 мм для зданий 1 и 2 группы и без штукатурки - для зданий 3 группы. Защитно-декоративный слой выполнен, как правило, из штукатурки толщиной 25 - 30 мм, армированной стальной цельнопаянной сеткой. А на высоту не менее 2,5 мм от планировки должен выполняться из кирпича толщиной 120 мм, плиточного материала или из штукатурки с армированием двойной стальной сеткой. Покрытия имеют существующее сопротивление теплопередаче, равное его значению, определенному по формуле 1 главы СНиП 23-02-2003 для tв = 18 °C и φв = 55 %. Дополнительная теплоизоляция предусматривается по существующему покрытию с учетом кровли. Необходимая толщина дополнительной теплоизоляции для реконструируемых стен и покрытий для первых трех групп зданий и всех областных и республиканских центров страны приведена в таблицах 2 и 2а. 3.6. При стенах из легкого или монолитного железобетона определяется сопротивление теплопередаче стены при этих материалах и соответственно корректируется необходимая толщина теплоизоляции. Например, для третьей группы зданий в г. Москве при стене из керамзитобетона γ = 1200 кг/м3 (λб = 0,525 Вт/(м,∙ °С)) толщиной 300 мм с существующим сопротивлением теплопередаче. Rсущ = 1/8,7 + 0,3/0,52 + 1/23 = 0,74 м2 ∙ °С. Толщина дополнительной теплоизоляции составит: δ = (Rтр - Rсущ)×λ, где по табл. 2 Rтр = 1,92 м2 ∙ °С/Вт; δ = (1,92 - 0,74)×0,031 = 3,7 см. 3.7. Необходимость устройства специального парозащитного слоя (пленка, обмазочная изоляция) определяется расчетом по СНиП 23-02-2003. Пароизоляционный слой располагается между несущим слоем стены и слоем эффективной теплоизоляции (см. Приложение 2). 4. КОНСТРУКТИВНЫЕ РЕШЕНИЯ СТЕН4.1. Стена при новом строительстве может быть несущей или самонесущей и представляет собой трехслойную конструкцию с несущим слоем из полнотелого керамического кирпича толщиной 380 мм (со слоем внутренней штукатурки 20 мм для помещений 1 и 2 группы и без штукатурки - для третьей группы), слоем теплоизоляции из плит пенополистирола и защитно-декоративным наружным слоем из кирпича толщиной 120 мм или известково-цементной штукатурки. Для защитной стенки может применяться кирпич или камни керамические лицевые (ГОСТ 7484-78) или отборные стандартные (ГОСТ 530-95) предпочтительно полусухого прессования, а также силикатный кирпич (ГОСТ 379-95). При облицовке силикатным кирпичом цоколь, пояса, парапеты и карниз выполняют из керамического кирпича. При новом строительстве защитная стенка из кирпича может выполняться на всю высоту здания. При этом она может быть самонесущей до высоты 6 ... 7 м, а далее навесной с опиранием на пояса, выступающие из несущей стены через каждые 2 этажа (6 ... 7 м) по высоте здания. При реконструкции кирпичная защитная стенка обязательна в виде цоколя высотой не менее 2,5 м от планировочной отметки. По архитектурным соображениям она может быть выполнена самонесущей и большей высоты. 4.2. При защитной стенке из кирпича кладка ведется с обязательным заполнением раствором горизонтальных и вертикальных швов и расшивкой с фасадной стороны. Рихтовочный зазор между теплоизоляцией и защитной стенкой. Который может быть при неровной наружной плоскости стены до 15 мм, засыпается сухим песком ярусами высотой не более 600 мм. Шаг температурных швов в кирпичной облицовке принимается по СНиП II-22-81* как для неотапливаемых зданий. При защитно-декоративном слое из штукатурки необходимо, чтобы: - штукатурка имела нулевой предел распространения огня и была выполнена по закрепленной к стене стальной сетке; - толщина ее составляла 25 ... 30 мм; - в уровне перекрытий, но не реже чем через 4 м по вертикали следует предусматривать рассечки из негорючих материалов (обычно из минераловатных плит) на всю толщину слоя теплоизоляции и на толщину перекрытия, но не менее, чем 150 мм. Таблица 2
- в местах примыкания теплоизоляции к оконным и дверным проемам толщина штукатурки должна быть увеличена до 35 ... 45 мм; - штукатурка на высоту 2,5 м от планировки должна иметь защиту от механических повреждений. 4.3. По контуру оконных и дверных проемов должен предусматриваться слой негорючей теплоизоляции шириной 100 - 120 мм из минераловатной плиты см. «Пособие по определению пределов огнестойкости конструкций, пределов распространения огня по конструкциям и групп возгораемости материалов (к СНиП II-2-80)», М, ЦНИИСК, 1985 г. табл. 10 п.п. 1, 2.30 и табл. 3. 4.4. При облицовке кирпичной кладкой в новом строительстве последняя армируется с несущей частью стены сварными арматурными сетками, располагаемыми с шагом по высоте 600 мм; площадь поперечных стержней (связей) должна быть не менее 0,4 см2/м2 (глава СНиП II-22-81, п. 6.32). При реконструкции кирпичная облицовка связывается с существующей кладкой с помощью кронштейнов закрепленных на дюбелях. При этом рекомендуются дюбели типа HPS-I фирмы «Хилти» (табл. 3) или дюбели ДГ. Таблица 3
4.5. При отделке фасадов штукатуркой теплоизоляционные плиты и сетку, армирующую штукатурный слой, крепят к несущему слою стены распорными дюбелями. Принятые типы дюбелей и условия их применения даны в табл. 7. Эскизы дюбельного комплекта Бийского завода стеклопластиков даны в Приложении 3. 4.6. Штукатурка выполняется из известково-цементного раствора, приготавливаемого на месте из извести, песка, цемента, воды и добавок, в том числе обязательно пластифицирующих, или из готовых растворных смесей, и армируется стальной сеткой. 4.7. В качестве вяжущего рекомендуется портландцемент или шлакопортландцемент по ГОСТ 10178-85* марок 300; 400 и известь строительная по ГОСТ 9179-77 в виде известкового теста (γ = 1400 кг/м3). Технические требования - по ГОСТ 28013-98 «Растворы строительные. Общие технические условия». Приготовление раствора в соответствии с указаниями Инструкции по приготовлению и применению строительных растворов, СН 290-74. Рекомендуемые рецептуры штукатурных смесей приведены в табл. 4 Таблица 4
4.8. Штукатурка выполняется улучшенного качества или высококачественная с нанесением ее соответственно в 2 или 3 слоя. После грунтовки поверхности плит пластичным раствором слоем в 3 ... 5 мм, он разравнивается в горизонтальном направлении зубчатым шпателем, образующем борозды глубиной 2 ... 3 мм. После выдержки в течение 1 ... 3 суток наносят нижний слой грунта толщиной 7 ... 8 мм. После схватывания этого слоя (24 ... 36 час) раскатывается армирующая сетка и крепится через штукатурку и теплоизоляцию к несущей части дюбелями Бийского завода при установке в среднем 8 дюбелей/м2 поверхности. Затем наносят второй слой грунта толщиной 7 ... 8 мм с выравниванием его «под правило». При высококачественной штукатурке наносят третий, отделочный слой толщиной 2 - 5 мм в зависимости от вида отделки (см. ниже). Из приведенных в табл. 4 смесей № 1 служит для приготовления грунтовки, № 2 - для грунта и № 3 - для отделочного слоя, окрашенного в массе (см. ниже). 4.9. При улучшенной штукатурке (под окраску) общая толщина штукатурного слоя доводится до 30 мм и поверхность ее выравнивается «под правило». При высококачественной штукатурке и окраске фасадов второй слой грунта выравнивают по маякам и после его схватывания наносят отделочный слой - накрывку толщиной 1 - 2 мм из мелкозернистого раствора, который затирается гладилками или затирочно-шлифовальными машинами. При отделке цветным раствором толщина выполненного к этому моменту штукатурного слоя должна составлять около 25 ... 27 мм. 4.10. После полного затвердевания штукатурки ее в соответствии с проектом прорезают на всю толщину горизонтальными и вертикальными деформационными швами шириной 6 мм с шагом не более 8 м. Крайний вертикальный шов должен располагаться не ближе 150 мм от угла фасада (наружного или входящего). Затем швы заделывают вулканизующейся мастикой. 4.11. Между штукатурным слоем и элементами заполнения проемов окон, дверей, ворот и др. предусматривается паз на всю толщину штукатурки, заполняемый вулканизующейся мастикой, в качестве которой рекомендуются силиконовые или тиоколовые составы - клей-герметик кремний-органический марок «Эластосил 11-06» (ТУ 6-02-775-76) и «Эластосил 137-181» (ТУ 6-02-1-362-84), выпускаемые Данковским химзаводом (Липецкая обл.), и мастика тиоколовая марки «АМ-0,5» (ТУ 84-246-95), выпускаемая Московским заводом строительных красок. 4.12. Армирование штукатурного слоя выполняется стальной цельнопаянной оцинкованной тканой сеткой по ГОСТ 2715-75 с размером ячейки 20 мм и диаметром проволоки 1 - 1,6 мм. Сетку закрепляют на дюбелях. 4.13. Парапеты, пояса, подоконники и т.п. должны иметь надежные сливы из оцинкованной стали, которые обеспечивают отвод атмосферной влаги и исключают возможность ее сбегания непосредственно по стене. 4.14. Все открытые поверхности стальных элементов, выходящих на фасад, и анкера, устанавливаемые в кладке, должны быть защищены от коррозии металлизацией слоем толщиной 120 мкм или лакокрасочными покрытиями (п. 2.40 - 2.45 СНиП 2.03.11-85). 4.15. Необходимость устройства в стене специального слоя пароизоляции определяется расчетом. При необходимости пароизоляция устраивается, между несущим и теплоизоляционным слоями стены. Пароизоляция может быть окрасочной, представляя собой 2-х - 4-х слойное покрытие, или оклеенной из рулонных материалов. 5. ОТДЕЛКА ШТУКАТУРНЫХ ФАСАДОВ5.1. Фасады отделывают нанесением слоя цветного раствора (цветной накрывки) или окрашиванием поверхности. Первый вариант предпочтительнее из-за меньшей стоимости, большей прочности поверхности и практичности отделки, на которой незаметны мелкие дефекты. 5.2. Отделочный слой выполняется также из известково-цементного раствора с добавлением необходимых пигментов (от 3 до 12 % к весу сухого вяжущего). Подробные рекомендации содержатся в Инструкции по приготовлению и применению строительный раствор, СН 290-74. Оптимальным является применение раствора, получаемого из сухих смесей заводского изготовления. 5.3. Отделочный слой из цветного раствора наносится с помощью пневматической форсунки непосредственно по 2-му слою штукатурки (грунту). Характеристика вариантов отделки из цветного раствора дана в табл. 5. Таблица 5
5.4. Для цветовой отделки применяют известково-цементные или цементные краски, которые отличаются высокой атмосферостойкостью и представляют собой смесь белого портландцемента и извести со щелочестойкими пигментами и добавками хлористого кальция. Применяют также и другие долговечные и атмосферостойкие краски, перечень которых приведен в Приложении 3 СНиП 2.03.11-85, в том числе полимерцементные краски на основе поливинилацетатной дисперсии, алкидные, перхлорвиниловые и хлоркаучуковые эмали. 5.5. При отсутствии требований к получению особо гладкой поверхности краску наносят без какой-либо дополнительной обработки выполненной штукатурки с расходом ее около 0,9 кг/м2, 5.6. Для получения особо гладкой поверхности по грунту выполняют слой накрывки толщиной до 2 мм из мелкозернистого раствора (крупностью зерна до 1 мм). В этом варианте нет необходимости в тщательной затирке поверхности 2-го слоя штукатурки (грунта); она должна быть лишь ровной после ее выравнивания правилом. По накрывке наносится краска с расходом ее около 0,8 кг/м2. 5.7. Отделку цоколя рекомендуется выполнять из материалов повышенной прочности и декоративности, допускающих их очистку и мойку, например, из лицевого кирпича, плит из натурального или искусственного камня, керамической и стеклянной плитки и др. Верхняя кромка этой защитно-декоративной отделки должна располагаться не ниже 2,5 м от уровня планировки. Аналогичную отделку могут иметь углы стен, порталы дверей, арок, ворот, оконные наличники или отдельные участки глухих стен. 5.8. Продолжительность эксплуатации наружной штукатурки из сложного раствора до капитального ремонта в соответствии с «Положением об организации и проведении реконструкции, ремонта и технического обслуживания зданий, объектов коммунального и социально-культурного назначения. Нормы проектирования», ВСН 58-88(р), Госкомархитектуры, М., 1990) составляет 30 лет. 6. КОНСТРУКТИВНЫЕ РЕШЕНИЯ ПОКРЫТИЙА. НОВОЕ СТРОИТЕЛЬСТВО 6.1. Пенополистирольные плиты марки 35 рекомендуются для теплоизоляции покрытий из сборных железобетонных плит или из монолитного железобетона. 6.2. До начала изоляционных работ должны быть выполнены и приняты все строительно-монтажные работы на изолируемых участках, включая замоноличивание швов между плитами, устройство выравнивающей стяжки из раствора, установку и закрепление к плитам чаш водосточных воронок, компенсаторов деформационных швов, патрубков (или стаканов) для пропуска инженерного оборудования и т.п. Кирпичные парапеты должны быть оштукатурены и иметь необходимые закладные детали. 6.3. Плиты наклеивают точечно на горячей битумной мастике (t < 120 °С) толщиной 2 мм (ГОСТ 2889-80). При наклейке плиты плотно прижимают друг к другу и к основанию. Точечная либо полосовая приклейка должна быть равномерной и составлять 25 - 35 % склеиваемых поверхностей. Необходимая толщина слоя теплоизоляции из плит пенополистирола при λ = 0,041 Вт/м ∙ °С для разных видов помещений и всех областных и республиканских центров страны приведена в табл. 2а. 6.4. По плитам теплоизоляции выполняют стяжку из цементно-песчаного раствора марки «50» толщиной не менее 30 мм. В стяжке предусматривают температурно-усадочные швы шириной 5 - 10 мм, разделяющие ее поверхность на участки размером не более 6×6 м. Швы должны располагаться над торцевыми швами несущих плит. 6.5. Уклон кровли определяется конструкцией покрытия и при рулонных материалах не должен превышать 25 %. При этом на уклонах более 10 % необходимо механическое закрепление кровельного ковра к основанию. 6.6. Кровля может быть выполнена многослойной из рулонных битумно-полимерных материалов, рекомендуемая номенклатура которых приведена в таблице 6 или однослойной из полимерных рулонных материалов, рекомендуемая номенклатура которых приведена в таблице 7. Стяжка из цементно-песчаного раствора грунтуется смесью клеящей мастики и растворителя в соотношении по массе 1:3 (расход мастики - 200 г/м2). 6.7. При однослойной кровле из пленочного материала конструкция кровли должна предусматривать возможность выхода водяных паров в зоне парапетов, перепад высот, конька, что обеспечивается полосовой приклейкой уложенного по скату слоя пароизоляции с выводом его на вертикальную поверхность парапетов с точечной приклейкой к последним; выход водяных паров обеспечивается через неприклеенные к основанию полосы пароизоляционного ковра. С наружной стороны пленочная кровля окрашивается за 2 раза раствором бутилкаучуковой мастики в растворителе (бензин, нефрас и т.п.) в соотношении 1:2 с добавкой 15 % алюминиевой пудры ПАК-3 или ПАК-4 по ГОСТ 5494-95; расход мастики - 200 г/м2. При кровлях из битумно-полимерных рулонных материалов цементно-песчаная стяжка должна быть прогрунтована раствором тугоплавкого битума БНК 90/10, БНК 90/30 (ГОСТ 9548-74*) в керосине или соляровом масле в соотношении 1:3. Наклейку рулонного ковра следует выполнять методом подплавления. 6.8. При кровле из наплавляемых битумно-полимерных материалов возможно решение с выходом паров или с созданием по плитам покрытия непрерывного паробарьера, необходимое сопротивление паропроницанию которого определяется расчетом. Защитный слой при необходимости может быть выполнен из гравия светлых тонов фракцией 5 - 10 мм (ГОСТ 8268-82) толщиной 10 мм, втопленного в горячую битумную антисептированную мастику слоем 2 мм. Работы выполняются в соответствии с требованиями главы СНиП 3.04.01-87 «Изоляционные и отделочные работы», а также СНиП III-4-80* «Техника безопасности в строительстве». Таблица 6 РУЛОННЫЕ БИТУМНО-ПОЛИМЕРНЫЕ МАТЕРИАЛЫ ВУЛКАНИЗИРОВАННЫЕ ПЛЕНКИ
______________ * - Материал с армирующей подложкой ** - Применяется в сочетании с приклеивающей мастикой «Поликров-М» (ТУ 5775-003-11313564-96) и защитным покрытием «Поликров-Л» (ТУ 5775-001-11313564-96) Б. РЕКОНСТРУКЦИЯ 6.9. Дополнительная теплоизоляция устраивается по существующей рулонной кровле, отремонтированной в соответствии с документом «Кровли, Руководство по проектированию, устройству, правилам приемки и методам оценки качества», М., ОАО «ЦНИИПромзданий», 2002 г., при этом особое внимание обращается на состояние примыкания кровли к деформационным швам, парапетам, вентшахтам, трубам. В зоне воронок внутреннего водостока полностью удаляются старая теплоизоляция и кровля. Воронки поднимаются на новый уровень; кровля в зоне примыкания к воронке должна быть понижена относительно прилегающих участков на 15 - 20 мм. 6.10. Над существующими в старой кровле разжелобками плиты пенопласта по разметке прорезают дисковой пилой, обеспечивая их плотное прилегание к основанию. 6.11. Необходимая толщина слоя дополнительной теплоизоляции из плит пенополистирола при λ = 0,041 ВТ/м ∙ °С для разных видов помещений и всех областных и республиканских центров страны приведены в табл. 2а. 7. КОНСТРУКТИВНЫЕ РЕШЕНИЯ ПОЛОВ7.1. Полы с тепло-звукоизоляционным слоем из плит пенополистирола могут выполняться по подстилающему бетонному слою (в полах по грунту) или по железобетонному перекрытию. 7.2. В качестве тепло-звукоизоляции должны использоваться плиты пенополистирола марки 25. 7.3. В полах по грунту пенополистирольные плиты должны, как правило, укладываться на слой гидроизоляции. 7.4. В полах по железобетонному перекрытию плиты пенополистирола укладываются на предварительно выровненную поверхность перекрытия, а при необходимости на слой пароизоляции, выполненной по перекрытию. 7.5. Необходимость устройства пароизоляции в каждом конкретном случае должна определяться расчетом сопротивления паропроницанию в соответствии с указаниями СНиП 23-02-2003 «Тепловая защита зданий». 7.6. По тепло-звукоизоляционному слою из пенополистирольных плит должна быть выполнена монолитная стяжка или сборная стяжка из гипсоволокнистых листов. 7.7. Монолитная стяжка выполняется на основе цементного или гипсового вяжущего и должна быть толщиной не менее 40 мм. 7.8. Прочность стяжки на изгиб должна быть не менее 2,5 МПа. 7.9. При сосредоточенных нагрузках на пол более 20 КН толщина монолитной стяжки по тепло-звукоизоляционному слою должна устанавливаться расчетом из условия исключения деформации последнего. 7.10. В местах сопряжения стяжек, выполненных по тепло-звукоизоляционному слою с другими конструкциями здания (стенами, перегородками и т.п.) должны быть предусмотрены зазоры шириной 25 - 30 мм на всю толщину стяжки, заполняемые звукоизоляционным материалом. 7.11. Сборные стяжки следует выполнять из спаренных гипсоволокнистых листов размером 1500×500 мм в соответствии с указаниями СП 55-102-2001. 7.12. Общая толщина сборной стяжки склеенных из двух гипсоволокнистых листов составляет 20 мм. 7.13. При стыковании сборной стяжки из спаренных гипсоволокнистых листов на фальцы уложенных элементов стяжки сплошным слоем наносится дисперсия ПВА или клеящая мастика с последующим скреплением фальцев шурупами длиной не менее 19 мм, располагаемых с шагом 300 мм. 7.14. В местах примыкания сборной стяжки к стенам, перегородкам и т.п. конструкциям следует предусматривать зазор, который заполняют кромочной лентой толщиной 8 - 10 мм. РАЗДЕЛ 1 - 3
| |||||||||||||||||||||||||||||||||||||||||||||||||||||||||||||||||||||||||||||||||||||||||||||||||||||||||||||||||||||||||||||||||||||||||||||||||||||||||||||||||||||||||||||||||||||||||||||||||||||||||||||||||||||||||||||||||||||||||||||||||||||||||||||||||||||||||||||||||||||||||||||||||||||||||||||||||||||||||||||||||||||||||||||||||||||||||||||||||||||||||||||||||||||||||||||||||||||||||||||||||||||||||||||||||||||||||||||||||||||||||||||||||||||||||||||||||||||||||||||||||||||||||||||||||||||||||||||||||||||||||||||||||||||||||||||||||||||||||||||||||||||||||||||||||||||||||||||||||||||||||||||||||||||||||||||||||||||||||||||||||||||||||||||||||||||||||||||||||||||||||||||||||||||||||||||||||||||||||||||||||||||||||||||||||||||||||||||||||||||||||||||||||||||||||||||||||||||||||||||||||||||||||||||||||||||||||||||||||||||||||||||||||||||||||||||||||||||||||||||||||||||||||||||||||||||||||||||||||||||||||||||||||||||||||||||||||||||||||||||||||||||||||||||||||||||||||||||||||||||||
|
№ поз. |
Наименование |
№ поз. |
Наименование |
|
1 |
Стена (несущая часть) |
10д |
|
|
2 |
Защитно-декоративная кладка |
11 |
Наружная штукатурка |
|
3 |
Рихтовочный зазор (засыпка из песка) |
11а |
Грунтовка, сухая смесь № 51 |
|
4 |
Теплоизоляция из пенополистирольных плит |
11б |
Нижний слой грунта, штукатурная цементно-песчаная смесь № 16 |
|
5 |
Клеевой состав для приклейки плит теплоизоляции, сухая смесь № 51 |
11в |
Второй слой грунта, цементно-известково-песчаная штукатурная смесь № 15; 41* |
|
6 |
Выравнивающая штукатурка, сухая смесь № 12, 15* |
11г |
Поверхность хорошо увлажнить или обработать эмульсией «БИРСС-ГРУНТ-УНИВЕРСАЛ» |
|
6а |
Грунтовки «БИРСС-ГРУНТ-УНИВЕРСАЛ» |
11д |
Отделочный слой, смесь штукатурная декоративная № 31; 32* |
|
7 |
Сварная оцинкоанная металлическая сетка 20´20 Æ 1,0 ... 1,6 по ТУ 14-4-647-95 Солнечногорского завода металлических сеток «Лепсе» (тел. 593-31-17); или по ГОСТ 2715-75 |
12 |
Внутренняя штукатурка |
|
8 |
Два ряда металлической сетки |
13 |
Плитка облицовочная глазурованная |
|
9 |
Стык сеток внахлест 100 мм |
13а |
Выравнивающая цементно-песчаная штукатурная смесь № 12 |
|
10 |
Дополнительная сетка 250×400 на скрутках |
13б |
Клей для плитки облицовочной «Мраморит-26» |
|
10а |
П-образная сетка |
14 |
Дюбельный комплект - см. Приложение 3 |
|
10б |
Z-образная сетка |
15 |
Рассечка из минераловатных плит марки 125; 150 ТУ 5726-010-04001485-99 |
|
10в |
Г-образная сетка |
16 |
Доска, пропитанная антипиреном; пластина 6×40 с болтом Ø 10 и шагом 600 мм, но не менее 2 штук на проем |
|
10г |
|
17 |
Рейка 40×50, закрепленная к пробкам 50×60 шурупами. Пробки закреплены к стене дюбелями без шайбы (см. дюбельный комплект) |
______________
* Рецептура клев и штукатурных смесей взяты по каталогу завода «БИРСС» (Бирюлевские сухие смеси).
|
Наименование |
№ поз. |
Наименование |
|
|
18 |
Антисептированная доска |
43 |
Дюбель из полиамида ТУ 36-941-79 |
|
19 |
Защитная стенка из кирпича |
44 |
Шуруп ГОСТ 1144-80 |
|
20 |
Слив С1 |
45 |
Шуруп ГОСТ 1144-80 |
|
21 |
Слив С2 |
46 |
Гвоздь Æ 6 через деревянную прокладку с шагом 600 мм, но не менее 2 шт. на проем |
|
22 |
Слив С3 |
46а |
Гвоздь |
|
23 |
Слив С5 |
47 |
Окно деревянное |
|
24 |
Слив С4 |
48 |
Рама и полотно распашных складчатых ворот серии 1.435-28 |
|
25 |
Костыль К1 |
49 |
Костыль МС-1 с шагом 700 мм, см. в серии ворот |
|
26 |
Костыль К2 |
50 |
Стальная планка для крепления рамы ворот, см. в серии ворот |
|
27 |
Костыль К3 |
51 |
Подоконник по проекту |
|
28 |
Вязальная проволока ГОСТ 3282-74 |
52 |
Капельник |
|
29 |
Закладная сетка M1 |
53 |
Отмостка по проекту |
|
30 |
Закладная сетка М2 |
54 |
Гидроизоляция - цементно-песчаный раствор |
|
31 |
Закладная петля ЗП1 |
55 |
Обмазочная гидроизоляция |
|
32 |
2 Æ 6 |
56 |
Обмазочная гидроизоляция |
|
33 |
Анкер А1 |
57 |
Костыль под фундаментную балку |
|
34 |
Анкер А2 |
58 |
Стена подвала |
|
35 |
Уголок - перемычка с опиранием на боковую кладку проема не менее 120 мм |
59 |
Пол подвала или 1-го этажа: - линолеум; - стяжка из цементно-песчаного раствора М50 - 30 мм; - плита теплоизоляции «Стиродур С» 20 - 30 мм; - гидроизоляция; - бетонная подготовка марки В7,5 - 80 мм. |
|
36 |
Мастика |
60 |
Щебень |
|
37 |
Прокладка уплотняющая из пенорезины сечением 8´8 по ТУ 38-406316-87 |
61 |
Труба дренажная |
|
38 |
Прокладка пенополиэтиленовая уплотняющая марки Вилатерм-СМ Æ 30; 40 (трубчатая), ТУ 6-05-221-872-86 |
62 |
Бортовой камень |
|
39 |
Пена строительная |
63 |
Перекрытие подвала |
|
40 |
Горизонтальный шов |
64 |
Крупный песок |
|
41 |
Вертикальный шов |
65 |
Термовставка из ячеистобетонных блоков по ГОСТ 21520-89 |
|
42 |
Дюбель HPS-I, «Хилти», Æ 6 или 8 |
66 |
Кровля и примыкание кровли к парапету даны в узлах раздела 2 |
|
68 |
Несущая балка- пояс |
74 |
Прокладка уплотняющая |
|
69 |
Декоративная плитка |
75 |
Пластина 6×40, заранее скрепленная с окном шурупами |
|
71 |
Защитная бетонная стенка |
76 |
Наличник деревянный |
|
72 |
Железобетонная перемычка |
77 |
Обрамляющий уголок 50×4 |
|
73 |
Цементный раствор |
78 |
Полоса 4×40, крепить к стене дюбелями |
СХЕМА № 1. Расположение плит утеплителя, рассечек, сетки и штукатурки

СХЕМА № 2. Расположение анкеров в углах, температурных швах и у проемов

СХЕМА № 3






Вариант с поверхностным сбросом дождевой воды

Вариант с дренажем






СХЕМА № 4. Расположение плит утеплителя, рассечек, защитно-декоративной кладки, несущей балки-пояса

СХЕМА № 5. Расположение анкеров в углах, температурных швах и у проемов

Максимальный шаг температурных швов в защитно-декоративной стене L1
Таблица 1
|
Средняя температура наружного воздуха наиболее холодной пятидневки |
|||
|
минус 40 °С и ниже |
минус 30 °С |
минус 20 °С и выше |
|
|
Из кирпича, в т.ч. лицевого на растворе марки 50 и более |
30 |
42 |
70 |
|
Из силикатного кирпича на растворе марки 50 |
21 |
30 |
42 |

______________
* - размеры по проекту
СХЕМА № 7

______________
* - размеры по проекту
Соединение слоев петлями

Соединение слоев сеткой

1. Узлы 39; 40 - возможные варианты соединения слоев кладки







______________




СХЕМА № 8. Расположение плит утеплителя, рассечек

СХЕМА № 9. Расположение анкеров в углах, температурных швах и у проемов

Максимальный шаг температурных швов в защитно-декоративной стене L1 см. в таблице № 1 на листе 2 докум. М24.39/04-1.2
СХЕМА № 10

______________
* - размеры по проекту
СХЕМА № 11

______________
* - размеры по проекту





______________



|
Наименование |
№ поз. |
Наименование |
|
|
1 |
Железобетонная плита покрытия |
16 |
Деревянный антисептированный брусок 40×40×h - 4 шт. |
|
2 |
Выравнивающая затирка цементно-песчаным раствором марки 50 толщиной 5 ... 15 мм - грунтовка раствором битума в керосине (1:3); - пароизоляция (по расчету) - слой стеклорубероида «Бикрост» - 3 мм, ТУ 21-00288739-42-93 |
17 |
Уплотнитель - ПРП по ГОСТ 19177-81 |
|
3 |
Точечная приклейка теплоизоляции битумом с t ≤ 120 °С |
18 |
Зажимной хомут |
|
4 |
Теплоизоляция - пенополистирольные плиты марки 35 |
19 |
Опора из легкого бетона |
|
5 |
Стяжка из цементно-песчаного раствора марки 50 - 20 мм |
20 |
Фундамент под вентилятор |
|
6 |
Кровельный ковер - см. документ - 2.1, лист 3 |
21 |
Гвоздь с шайбой |
|
7 |
Уплотняющие прокладки - ПРП-40 К (2 шт.), ГОСТ 19177-81, перевить; или типа «Вилатерм-СМ» |
22 |
Цементно-песчаный раствор марки 50 |
|
8 |
Заделка стыка цементно-песчаным раствором |
23 |
Защитный фартук из кровельной стали |
|
9 |
Дополнительные слои кровельного ковра |
24 |
Герметизирующая мастика |
|
10 |
Минеральная вата |
25 |
Кожух вентилятора |
|
11 |
Компенсатор из оцинкованной стали толщиной 0,8 мм |
26 |
Колпак водоприемной воронки |
|
12 |
Выкружка из оцинкованной стали толщиной 0,8 мм |
27 |
Пропускаемая труба |
|
13 |
Стеклоткань |
28 |
Клеевой слой |
|
14 |
Рубероид, уложенный насухо |
29 |
Патрубок с фланцем |
|
15 |
Негорючая теплоизоляция, например, пенобетон γ = 500 кг/м3, толщина по теплотехническому расчету |
30 |
Грунтовочный слой |
|
31 |
Разделительный слой из кровельного рулонного материала |
41 |
Защитная решетка |
|
32 |
Противокорневой слой |
42 |
Гравийная засыпка |
|
33 |
Дренажный слой из гравия |
43 |
Слой кровельного материала |
|
34 |
Фильтрующий слой |
44 |
Прижимной фланец, устанавливаемый на мастику толщиной 5 мм |
|
35 |
Растительный слой |
45 |
Кровельный ковер - два слоя наплавляемого рулонного материала из филизола или один слой полимерной пленки «Кровлен», наклеенной на мастике |
|
36 |
Тротуар из цементно-песчаного раствора или бетонных плиток, асфальтобетона |
46 |
Патрубок |
|
37 |
Крепежный болт |
47 |
Пароизоляция |
|
38 |
Парапетная плита |
48 |
Костыль из стальной полосы 4×40 |
|
39 |
Ограждение кровли |
49 |
Наклонный бортик из цементно-песчаного раствора |
|
40 |
Водоприемная воронка |


Номера позиций, указанные на чертежах, обозначают наименование материалов или деталей в соответствии с таблицей

Примыкание к воронке и парапету

Примыкание к фундаменту под вентилятор

Пропуск трубы через покрытие

Конструкция традиционной эксплуатируемой кровли

Пропуск трубы через традиционную эксплуатируемую кровлю

Номера позиций, указанные на чертежах, обозначают наименование материалов или деталей в соответствии с таблицей в документе - 2.0
Парапет стены при традиционной эксплуатируемой кровле

Воронка внутреннего водостока при традиционной эксплуатируемой кровле

Деформационный шов при традиционной эксплуатируемой кровле

|
Наименование |
№ поз. |
Наименование |
|
|
1 |
Покрытие пола |
6 |
Перекрытие |
|
2 |
Клеевой слой |
7 |
Бетонный подстилающий слой |
|
3 |
Сборная стяжка из гипсоволокнистых листов |
8 |
Гидроизоляция |
|
4 |
Монолитная стяжка из раствора на основе цемента или гипса |
9 |
Пароизоляция |
|
5 |
Плитный пенополистирол марки 25 |


______________
|
Марка изделия |
№ поз. |
Наименование |
Кол. |
Масса ед., кг |
Примечание |
|
|
А1 |
1 |
6 А-III, ГОСТ 5781-82, L = 150 |
1 |
0,03 |
0,31 ... 0,43 |
|
|
2 |
БТ-ПН-3×80, ГОСТ 19903-74 С235 ГОСТ 27772-88 |
Лист L = 200 ... 350 |
1 |
0,3 ... 0,4 |
||

|
Марка изделия |
№ поз. |
Наименование |
Кол. |
Масса ед., кг |
Примечание |
|
А2 |
1 |
6 А-III, ГОСТ 5781-82, L = 40 |
2 |
0,053 |
0,42 |
|
2 |
Лист |
1 |
0,314 |


Материал: ОЦ ![]()
______________
* - толщина слива С2; С3 - 1 мм
![]()

Материал: ![]()
1. * Уточняется в проекте.
2. Костыли окрасить за 2 раза или оцинковать
ПРИМЕР: Сборная несущая балка
из керамзитобетона плотностью 1400 кг/м3 класса В12,5

______________
* а = 30 ... 140 (по толщине теплоизоляции)
ПРИЛОЖЕНИЯ
Административное здание в г. Москве.
Усиление теплозащиты выполнено с применением полистирольных плит марки 25, принятая конструкция стены дана на расчетной схеме
Расчетная схема стены.

1 - цементно-известковая штукатурка, λ1 = 0,87 Вт/(м ∙ °С); 2; 4 - кирпичная кладка, λ2 = 0,81 Вт/(м ∙ °С); 3 - плита пенополистирола марки М25, λ3 = 0,041 Вт/(м ∙ °С).
Требуемое сопротивление теплопередаче стены является функцией числа градусо-суток отопительного периода (ГСОП):
ГСОП = (tв - tom. пер) ∙ Zот. nep.;
где: tв - расчетная температура внутреннего воздуха, °С;
tom. пер, Zот. пер - средняя температура, °С и продолжительность, сут. периода со средней суточной температурой воздуха ниже или равной 8 °С по СНиП 23-01-99 «Строительная климатология».
Для г. Москвы ГСОП = 4600 и Rтр = 2,58 м2 ∙ °С/Вт.

Требуется усиление теплозащитной способности стены на:
![]()
а за вычетом R облицовочного слоя из кирпича, равного 0,148 м2 ∙ °С/Вт, получаем
ΔR = 1,77 - 0,148 = 1,622; м2 ∙ °С/Вт
Толщина слоя дополнительной теплоизоляции при λ3 = 0,041 Вт/(м ∙ °С) и коэффициенте теплотехнической однородности r = 0,92 составит:
![]()
Принимаем слой изоляции равным 70 мм, тогда фактическое сопротивление теплопередаче составит:
![]()
(Наружная стена)
1. Цель расчета - определение необходимости устройства специальной парозащиты в многослойной стене.
Расчет выполнен по СНиП 23-02-2003 «Тепловая защита зданий».
2. Исходные данные - административное здание в г. Москва
tвн = 18 °С; φвн = 50 %; Rфак = 2,53 м2 ∙ °С/Вт (см. расчет теплозащиты стены).
3. Конструкция стены:

1 - цементно-известковая штукатурка, λ = 0,87 Вт/м ∙ °С; µ = 0,098 мг/м ∙ ч ∙ Па 2; 4 - кирпичная кладка, λ = 0,81 Вт/м ∙ °С; µ = 0,11 мг/м ∙ ч ∙ Па; 3 - плита пенополистирола М25 λ = 0,041 Вт/м ∙ °С; µ = 0,0147 мг/м ∙ ч ∙ Па
а-а - плоскость возможной конденсации
Сопротивление теплопередаче внутренних слоев составит:
![]()
4. Требуемое сопротивление паропроницанию слоев стены до плоскости возможной конденсации должно быть не менее его значения:
по формуле:
или
по формуле: ![]()
5. Проверка возможности влагонакопления за годовой период.
Значения среднемесячных температур наружного воздуха для Москвы по СНиП 232-01-99 «Строительная климатология» приведены в таблице, Zо по тому же СНиПу (стр. 8) и средней упругости водяных паров наружного воздуха по СНиП 2.01.01-82 «Строительная климатология геофизика», т.к. в новом СНиПе эти данные отсутствуют.
|
Месяц |
1 |
2 |
3 |
4 |
5 |
6 |
7 |
8 |
9 |
10 |
11 |
12 |
|
Tн, °C |
-10,2 |
-9,2 |
-4,3 |
4,4 |
11,9 |
16,0 |
18,1 |
16,3 |
10,7 |
4,3 |
-1,9 |
-7,3 |
|
eн, гПа |
2,8 |
2,9 |
3,7 |
б |
8,9 |
12,4 |
14,7 |
14,2 |
10,4 |
6,9 |
4,8 |
3,6 |
Zо = 145 cyт
Сезонные и среднемесячные температуры:
Z1 = 3 мес.; tн1 = -8,9 °C;
Z2 = 4 мес.; tн2 = +0,625 °С;
Z3 = 5 мес.; tн3 = +14,6 °C.
Температура в плоскости
возможной конденсации, соответствующая среднезонным температурам, определяется
по формуле: ![]()
![]()
![]()
![]()
соответственно E1 = 341,5 Па; Е2 = 705 Па; Е3 = 1695 Па, тогда
Е = (341,5 ∙ 3 + 705 ∙ 4 + 1695 ∙ 5)/12 = 1026 Па
ев = 1032 Па;
ен = 761 Па (см. таблицу выше).
Rп нар.слоя = 0,12/0,11 = 1,09 м2 ∙ ч ∙ Па/мг;
Rп внут.слоя = 0,07/0,0147 + 0,51/0,11 + 0,02/0,098 = 9,59 м2 ∙ ч ∙ Па/мг.
По формуле
RП1 = (1032 - 1026) ∙ 1,09/(1026 - 761) = 0,025 < 9,59 м2 ∙ ч ∙ Па/мг, то есть по этому условию устройство парозащиты не требуется.
6. проверка возможности влагонакопления за период с отрицательными среднемесячными температурами.
Средняя упругость водяного пара наружного воздуха за период Zо (см. таблицу выше).
ено = 356 Па.
Средняя температура наружного воздуха за тот же период
tно = -6,58 °С.
По формуле:
![]()
этой температуре соответствует Ео = 412 Па.
По формуле:
η = 0,0024 ∙ (412 - 356) ∙ 145/1,09 = 17,88.
При γ = 25 кг/м3; δ = 0,07 м; ΔWcp = 25 %, находим;
RП2 = 0,0024 ∙ 145 ∙ (1032 - 412)/(25 ∙ 0,07 ∙ 25 + 17,88) = 3,5 < 8,92 м2 ∙ ч ∙ Па/мг, то есть по этому условию устройство дополнительной пароизоляции также не требуется, т.е. условие соблюдено.
Исходные данные: пол подвала производственного здания с помещениями административно-хозяйственного назначения, воздействия - умеренные.
Нормативная величина теплоусвоения для помещений различного назначения приведена в таблице 11.
1. Конструкция пола:

Таблица физико-технических характеристик составляющих пола
|
№ п/п |
Материал |
Толщина слоя, м |
Плотность материала в сухом состоянии, γо, кг/м3 |
Коэффициенты при условия эксплуатации А |
Теплотермическое сопротивление, R, м2 ∙ °C/Вт |
|
|
Теплопроводность, λ, Вт/м ∙ °С |
Теплоусвоения, s, Вт/м2 ∙ °С |
|||||
|
1 |
Линолеум |
0,003 |
1600 |
0,33 |
7,52 |
0,009 |
|
2 |
Мастика водостойкая |
0,001 |
1000 |
0,18 |
4,56 |
0,0055 |
|
3 |
Стяжка из цементно-керамзитового раствора |
0,03 |
1200 |
0,47 |
6,16 |
0,06 |
|
4 |
Теплоизоляция из плит пенополистирола |
0,02 |
35 |
0,041 |
0,41 |
0,489 |
|
5 |
Бетонный подстилающий слой |
0,08 |
2400 |
1,74 |
16,77 |
0,046 |
Тепловую инерцию каждого слоя определяем по формуле 2:
D1 = R1 ∙ S1 = 0,009 ∙ 7,52 = 0,068;
D2 = R2 ∙ S2 = 0,0055 ∙ 4,56 = 0,025;
D3 = R3 ∙ S3 = 0,06 ∙ 6,16 = 0,37;
D5 = R5 ∙ S5 = 0,046 ∙ 16,77 = 0,77.
Т.к. суммарная тепловая инерция первых трех слоев D1 + D2 + D3 = 0,068 + 0,025 + 0,37 = 0,463 < 0,5, а суммарная тепловая инерция трех плюс пятый слой D1 + D2 + D3 + D5 = 0,463 + 0,77 + 1,23 > 0,5. Следовательно, показатель теплоусвоения пола Yп следует определять последовательно расчетом показателей теплоусвоения поверхностей слоев конструкции, начиная с третьего слоя:
![]()
![]()
![]()
что не удовлетворяет требованиям СНиП предъявляемым к теплоусвоению поверхности пола в жилых, больничных и других подобных зданиях (1 группа зданий и помещений). Поэтому вводим в конструкцию пола дополнительный слой из пенополистирола:
![]()
![]()
![]()
Таким образом выбранная конструкция отвечает требованиям СНиП для зданий и помещений всех трех групп.
В соответствии с сертификатами пожарной безопасности плиты пенополистирольные имеют группу горючести - Г2 по ГОСТ 30244, группу воспламеняемости - В2 по ГОСТ 30402, группу дымообразующей способности - Д3 по ГОСТ 12.1.044.
При определении области применения плит пенополистирольных учитывались результаты испытаний фрагментов стен с полимерными утеплителями, письмо ГУ ГПС МВД России и Минстроя России «Об утеплении наружных стен зданий», а также справочные данные «Пособия по определению пределов огнестойкости, пределов распространения огня по конструкциям и групп возгораемости материалов» ЦНИИСК им. Кучеренко. Применение плит пенополистирольных рекомендуется при следующих конструктивных решениях стен и покрытий.
В зданиях II и III степеней огнестойкости классов конструктивной пожарной опасности C1.
для утепления с внешней стороны несущих, самонесущих кирпичных стен толщиной не менее 250 мм; бетонных стен толщиной не менее 200 мм при устройстве наружного защитного слоя из штукатурки толщиной не менее 25 мм и защитного слоя из негорючих армированных материалов в местах примыкания утеплителя к проемам и другим отверстиям шириной не менее - 50 мм в зданиях III степени огнестойкости; - 100 мм в зданиях II степени огнестойкости.
для теплоизоляции в покрытиях по железобетонным плитам толщиной не менее 30 мм в зданиях II и III степеней огнестойкости.
В зданиях I - III степеней огнестойкости, классов конструктивной пожарной опасности С0.
· для утепления с внешней стороны несущих, самонесущих кирпичных стен толщиной не менее 250 мм; бетонных стен толщиной не менее 200 мм в зданиях I - III степеней огнестойкости классов пожарной опасности С0 при устройстве наружного защитного слоя из кирпича и защитного слоя из негорючих армированных материалов в местах примыкания утеплителя к проемам и другим отверстиям шириной не менее - 50 мм в зданиях III степени огнестойкости; - 100 мм в зданиях II степени огнестойкости; - 150 мм в зданиях I степени огнестойкости.
· для теплоизоляции в покрытиях по железобетонным плитам толщиной не менее 30 мм в зданиях II и III степеней огнестойкости; - 50 мм в зданиях I степени огнестойкости.
Конструктивные решения, удовлетворяющие требованиям II и III степеней огнестойкости класса конструктивной пожарной опасности С1 (с защитным слоем из штукатурки) в соответствии с требованиями действующих нормативных документов могут быть в зданиях, имеющих следующие параметры.
ПРОИЗВОДСТВЕННЫЕ ЗДАНИЯ
(в соответствии со СНиП 31-03-2001)
|
Категория зданий или пожарных отсеков |
Высота здания*, м |
Степень огнестойкости здания |
Класс конструктивной пожарной опасности здания |
Площадь этажа в пределах пожарного отсека, м2 зданий |
||
|
одноэтажных |
в два этажа |
в три этажа и более |
||||
|
Г |
30 |
III |
С1 |
не огр. |
10400 |
7800 |
|
Д |
30 |
III |
С1 |
не огр. |
25000 |
10400 |
______________
* Высота здания в данной таблице измеряется от пола 1-го этажа до потолка верхнего этажа, включая технический; при переменной высоте потолка принимается средняя высота этажа.
Высота одноэтажных зданий класса пожарной опасности С1 не нормируется.
СКЛАДСКИЕ ЗДАНИЯ
(в соответствии со СНиП 31-04-2001)
|
Категория склада |
Высота здания*, м |
Степень огнестойкости здания |
Класс конструктивной пожарной опасности здания |
Площадь этажа в пределах пожарного отсека, м2 зданий |
||
|
одноэтажных |
в два этажа |
в три этажа и более |
||||
|
Д |
36 |
III |
С1 |
не огр. |
7800 |
5200 |
______________
* Высота здания в данной таблице измеряется от пола 1-го этажа до потолка верхнего этажа, включая технический; при переменной высоте потолка принимается средняя высота этажа.
АДМИНИСТРАТИВНЫЕ И
БЫТОВЫЕ ЗДАНИЯ
(в соответствии со СНиП 2.09.04-87*)
|
Степень огнестойкости здания |
Класс конструктивной пожарной опасности здания |
Допустимая высота здания*, м |
Площадь этажа в пределах пожарного отсека, м2 при числе этажей |
|||||
|
1 |
2 |
3 |
4 - 5 |
6 - 9 |
10 - 16 |
|||
|
II |
С1 |
28 |
5000 |
3000 |
3000 |
2000 |
1200 |
- |
|
III |
С1 |
12 |
2000 |
1400 |
1200 |
800 |
- |
- |
ЗДАНИЯ ЖИЛЫЕ МНОГОКВАРТИРНЫЕ
(в соответствии со СНиП 31-01-2003)
|
Степень огнестойкости здания |
Класс конструктивной пожарной опасности здания |
Допустимая высота здания*, м |
Площадь этажа в пределах пожарного отсека, м2 при числе этажей |
|
II |
С1 |
28 |
2200 |
|
III |
С1 |
15 |
1800 |
Конструктивные решения, удовлетворяющие требованиям I, II и III степеней огнестойкости класса конструктивной пожарной опасности С0 (с защитным слоем из кирпича) в соответствии с требованиями действующих нормативных документов могут быть в зданиях, имеющих следующие параметры.
ПРОИЗВОДСТВЕННЫЕ ЗДАНИЯ
(в соответствии со СНиП 31-03-2001)
|
Категория зданий или пожарных отсеков |
Высота здания*, м |
Степень огнестойкости здания |
Класс конструктивной пожарной опасности здания |
Площадь этажа в пределах пожарного отсека, м2 зданий |
||
|
одноэтажных |
в два этажа |
в три этажа и более |
||||
|
А, Б |
36 |
I |
С0 |
не огр. |
5200 |
3500 |
|
А |
36 |
II |
С0 |
не огр. |
5200 |
3500 |
|
24 |
III |
С0 |
7800 |
3500 |
2600 |
|
|
Б |
36 |
II |
С0 |
не огр. |
10400 |
7800 |
|
24 |
III |
С0 |
7800 |
3500 |
2600 |
|
|
В |
48 |
I, II |
C0 |
не огр. |
25000 7800** |
10400 5200** |
|
24 |
III |
C0 |
25000 |
10400 5200** |
5200 3600** |
|
|
Г |
54 |
I, II |
C0 |
не огр. |
не огр. |
не огр. |
|
36 |
III |
C0 |
не огр. |
25000 |
10400 |
|
|
Д |
54 |
I, II |
C0 |
не огр. |
не огр. |
не огр. |
|
36 |
III |
C0 |
не огр. |
50000 |
15000 |
|
______________
* Высота здания в данной таблице измеряется от пола 1-го этажа до потолка верхнего этажа, включая технический; при переменной высоте потолка принимается средняя высота этажа.
Высота одноэтажных зданий класса пожарной опасности С0 и C1 не нормируются.
** Для деревообрабатывающих производств.
СКЛАДСКИЕ ЗДАНИЯ
(в соответствии со СНиП 31-04-2001)
|
Категория склада |
Высота здания*, м |
Степень огнестойкости здания |
Класс конструктивной пожарной опасности здания |
Площадь этажа в пределах пожарного отсека, м2 зданий |
||
|
одноэтажных |
в два этажа |
в три этажа и более |
||||
|
А |
- |
I, II |
С0 |
5200 |
- |
- |
|
- |
III |
С0 |
4400 |
- |
- |
|
|
Б |
18 |
I, II |
С0 |
7800 |
5200 |
5200 |
|
- |
III |
С0 |
6500 |
- |
- |
|
|
В |
36 |
I, II |
С0 |
10400 |
7800 |
5200 |
|
24 |
III |
С0 |
10400 |
5200 |
2600 |
|
|
Д |
не огр. |
I, II |
С0 |
не огр. |
10400 |
7800 |
|
36 |
III |
С0 |
не огр. |
7800 |
5200 |
|
______________
* Высота здания в данной таблице измеряется от пола 1-го этажа до потолка верхнего этажа, включая технический; при переменной высоте потолка принимается средняя высота этажа.
АДМИНИСТРАТИВНЫЕ И
БЫТОВЫЕ ЗДАНИЯ
(в соответствии со СНиП 2.09.04-87*)
|
Степень огнестойкости здания |
Класс конструктивной пожарной опасности здания |
Допустимая, высота здания*, м |
Площадь этажа в пределах пожарного отсека, м2 при числе этажей |
|||||
|
1 |
2 |
3 |
4 - 5 |
6 - 9 |
10 - 16 |
|||
|
I |
С0 |
50 |
6000 |
5000 |
5000 |
5000 |
5000 |
2500 |
|
II |
С0 |
50 |
6000 |
4000 |
4000 |
4000 |
4000 |
2200 |
|
III |
С0 |
15 |
3000 |
2000 |
2000 |
1200 |
- |
- |
ЗДАНИЯ ЖИЛЫЕ МНОГОКВАРТИРНЫЕ
(в соответствии со СНиП 31-01-2003)
|
|
Научно-Исследовательский
Институт |
|
Российская академия архитектуры и строительных наук (РААСН) ИСПЫТАТЕЛЬНАЯ
ЛАБОРАТОРИЯ |
|
|
г. Москва 10 апреля 2003 г, |
Аттестат аккредитации № РОСС RU.9001.22.CЛ57 зарегистрирован в Госреестре 23.12.1999 г. Действителен до 23.06.2006 г. |
ПРОТОКОЛ СЕРТИФИКАЦИОННЫХ ИСПЫТАНИЙ № 383
Основание для проведения испытаний - договор № 35100 от 27.01.03.
Наименование продукции - пенополистирол марки ПСБ-С-25 по ГОСТ 15588-86.
Испытание на соответствие - требованиям ГОСТ 15588-86, СНиП II-3-79* по характеристикам теплоизоляционных материалов.
Производитель продукции - ООО «ФТТ-ПЛАСТИК».
Адрес - Россия, 428008, г. Ижевск, ул. Пушкинская, 268.
Предъявитель образцов - ООО «ФТТ-ПЛАСТИК».
Сведения об испытываемых образцах - плиты пенополистирольные марки ПСБ-С-25 размером 250×250×50 мм при фактической плотности 22 кг/м3.
Дата получения образцов - 27.01.03 согласно приложению
Регистрационные данные - С-ИЛ/ИжФТТ
Методика испытаний - ГOCT 7076-99, ГОСТ 17177-94, ГОСТ 25898-83.
Результаты испытаний приведены в заключении.
ЗАКЛЮЧЕНИЕ
Плиты пенополистирольные марки ПСБ-С-25 производства ООО «ФТТ-ПЛАСТИК» могут быть рекомендованы для теплоизоляции ограждающих конструкций, холодильного оборудования и трубопроводов, с учётом требований нормативной технической документации на конструкции и оборудование.
Теплотехнические показатели плит пенополистирольных марки ПСБ-С-25.
Таблица 1
|
Характеристика материала в сухом состоянии |
Расчетное массовое отношение (при условиях эксплуатации) |
Расчётные коэффициенты (при условиях эксплуатации) |
|
||||||||||
|
теплопроводности λ Вт/(м ∙ °С) |
теплоусвоения (при периоде 24 ч) s, Вт/(м2 ∙ °С) |
паропроницаемости µ мг/(м ∙ ч ∙ Па) |
|||||||||||
|
плотность γо, кг/м3 |
уд. теплоемкость со, кДж/(кг ∙ °С) |
коэфф. теплопроводности λо, Вт/(м ∙ °С) |
|||||||||||
|
А |
Б |
А |
Б |
А |
Б |
А, Б |
|
||||||
|
при температуре 10 °С |
|
||||||||||||
|
22,0 |
1,34 |
0,036 |
2 |
10 |
0,037 |
0,042 |
0,29 |
0,30 |
0,003 |
|
|||
|
при температуре 25 °С |
|
||||||||||||
|
22,0 |
1,34 |
0,038 |
2 |
10 |
0,039 |
0,043 |
0,30 |
0,31 |
0,003 |
|
|||
|
|||||||||||||
Примечание: в таблице приведены средние значения коэффициента теплопроводности по результатам испытаний пяти образцов-близнецов при средней температуре +10 °С и +25 °С и перепаде температуры на гранях 10 °С.
Водопоглощение по объёму за 24 часа, составляет 1,10 %.
Прочность на сжатие при 10 % деформации составила 0,20 мПа.
Прочность на сжатие при статическом изгибе составила 0,19 мПа.
Плиты пенополистирольные марки ПСБ-С-25 производства ООО «ФТТ-ПЛАСТИК» удовлетворяют требованиям ГОСТ 15588-86 и СНиП II-3-79* по измеренным параметрам.
|
Руководитель _________________ /Могутов В.А./ комн. 252, тел/факс: 482-39-38 E-mail: mogulov.niist@mtu-net.ru |
СИСТЕМА СЕРТИФИКАЦИИ В ОБЛАСТИ ПОЖАРНОЙ БЕЗОПАСНОСТИ
СЕРТИФИКАТ ПОЖАРНОЙ БЕЗОПАСНОСТИ
№ ССПБ. RU.ОП002.Н.01144
|
Зарегистрирован в Государственном реестре Системы сертификации в области пожарной безопасности «26» декабря 2002 г. Действителен до «26» декабря 2005 г. Настоящий сертификат удостоверяет, что идентифицированный надлежащим образом образец: ________плиты пенополистирольные типа ПСБ-С марок. 15, 25 и 35________________ (Наименование продукции) ГОСТ 15588-86____________________________________ 22 4440 (код ОКП) ___________________________________________________________ _____-_____ (Тип, вид, марка, номер, размер партии и дата выпуска партии) (Код ТН ВЭД) соответствует требованиям пожарной безопасности, установленным в НПБ 244-97 (Обозначение НД) группа Г2 (умеренногорючие по СНиП 21-01-97*), трудносгораемые по СТ СЭВ 2437-80 группа В2 (умеренновоспламеняемые по СНиП 21-01-97*) группа Д3 (с высокой дымообразующей способностью СНиП 21-01-97*), Сертификат распространяется на ___________серийное производство____________ (Серийное производство) __________________________________________________________________________ (номер, размер и дата выпуска партии, номер и дата контракта поставки, номер единичного изделия) Сертификат выдан ___________ООО «ФТТ-ПЛАСТИК»________________ (Наименование предприятия, организации) Россия, 426008, Удмуртская Республика, г. Ижевск, ул. Пушкинская, 268, тел./факс (3412) 26-1029 (Юридический адрес) Изготовитель ____________________ООО ФТТ-Пластик__________________ (Наименование предприятия, организации) Россия, 426008, Удмуртская Республика, г. Ижевск, ул. Пушкинская, 268, (Юридический адрес) 1. Сертификат выдан на основании испытании (проверки) образцов в:
2. Маркировка товара и технической документации прилагаемой к каждой единице продукции, осуществляется знаком пожарной безопасности, наносимым на каждое изделие, его тару, упаковку, товаросопроводительную документацию в соответствии с требованиями: приложения 5 к приказу ГУ ГПС МВД России от 29.10.96 г. № 57 (Обозначение нормативных документов) «Знак соответствия пожарной безопасности. Форма, размеры и технические требования» 3. Описание местонахождения знака пожарной безопасности ___________________ на сопроводительной документации рядом с товарным знаком фирмы-изготовителя В случае невыполнения условий, лежащих в основе выдачи сертификата, он отменяется (приостанавливается) органом по сертификации, выдавшим сертификат, или Центральным органом по сертификации ССПБ (ГУ ГПС МЧС России) Сертификат выдан ____органом по сертификации Санкт-Петербургского филиала___ (Наименование органа по сертификации, Федерального государственного учреждения «Всероссийский ордена «Знак Почета» выдавшего сертификат, адрес, № в Госреестре) научно-исследовательский институт противопожарной обороны МЧС России». Россия, 193079, Санкт-Петербург, Октябрьская наб., 35, регистрационный индекс ССПБ.RU.ОП.002, тел. (812) 441-0741, факс: (812) 441-1171
|
||||||||||
|
ГОСУДАРСТВЕННАЯ САНИТАРНО-ЭПИДЕМИОЛОГИЧЕСКАЯ СЛУЖБА ГЛАВНЫЙ ГОСУДАРСТВЕННЫЙ САНИТАРНЫЙ ВРАЧ Центр госсанэпиднадзора в Удмуртской республике (наименование территории, ведомства) САНИТАРНО-ЭПИДЕМИОЛОГИЧЕСКОЕ ЗАКЛЮЧЕНИЕ № 18 УЦ 02.224.П.000199.07.02 от 03.07.2002 г. Настоящим санитарно-эпидемиологическим заключением удостоверяется, что производство, применение (использование) и реализация новых видов продукции; продукция, ввозимая на территорию Российской Федерации. Плита пенополистирольная ПСБ-С-15, 25, 25Ф, 35 изготовленная в соответствии ГОСТ 15588-86 ТУ 2244-025-49645056-02 СООТВЕТСТВУЕТ ( СанПиН 2.1.2.729-99 «Полимерные и полимерсодержащие строительные материалы, изделия и конструкции Гигиенические требования безопасности» Организация - изготовитель ООО «ФТТ-Пластик», УР, г. Ижевск, ул. Автозаводская, 7 (Российская Федерация) Получатель санитарно-эпидемиологического заключения ООО «ФТТ-Пластик», УР, г. Ижевск, ул. Пушкинская, 268 (Российская Федерация) Основанием для признания продукции, соответствующей (не соответствующей) государственным санитарно-эпидемиологическим правилам и нормативам являются (перечислить рассмотренные протоколы исследований, наименованием учреждения, проводившего исследования, другие рассмотренные документы); ИЛЦ ЦГСЭН в УР № 307 от 28.06.2002 г. № 0261823 |
|
Гигиеническая характеристика продукции
Область применения: Для тепловой и звукоизоляции жилых и производственных зданий в качестве среднего слоя строительных ограждающих конструкций и промышленного оборудования при отсутствии контакта плит с внутренними помещениями Необходимые условия использования, хранения, транспортировки и меры безопасности: В соответствии п. 6 ТУ 2244-025-49645056-02 Информация, наносимая на этикетку: Наименование товара, предприятие-изготовитель, дата изготовления, назначение, обозначение нормативной документации Заключение действительно до 03.07.2007 г.
Бланк № 0261826 |