Информационная система
«Ёшкин Кот»

XXXecatmenu

ЕВРАЗИЙСКИЙ СОВЕТ ПО СТАНДАРТИЗАЦИИ,
МЕТРОЛОГИИ И СЕРТИФИКАЦИИ
(ЕАСС)

EURO-AZIAN COUNCIL FOR STANDARDIZATION,
METROLOGY AND CERTIFICATION
(EASC)

межгосударственный
стандарт

ГОСТ
31173-2003

БЛОКИ ДВЕРНЫЕ СТАЛЬНЫЕ

ТЕХНИЧЕСКИЕ УСЛОВИЯ

МЕЖГОСУДАРСТВЕННАЯ НАУЧНО-ТЕХНИЧЕСКАЯ КОМИССИЯ
ПО СТАНДАРТИЗАЦИИ, ТЕХНИЧЕСКОМУ НОРМИРОВАНИЮ
И СЕРТИФИКАЦИИ В СТРОИТЕЛЬСТВЕ (МНТКС)

Москва

Предисловие

Евразийским совет по стандартизации, метрологии и сертификации (ЕАСС) представляет собой региональное объединение национальных органов по стандартизации государств, входящих в Содружество Независимых Государств. В дальнейшем возможно вступление в ЕАСС национальных органов по стандартизации других государств

При ЕАСС действует Межгосударственная научно-техническая комиссия по стандартизации, техническому нормированию и сертификации в строительстве (МНТКС), которой предоставлено право принятия межгосударственных стандартов в области строительства

Цели, основные принципы и основной порядок проведения работ по межгосударственной стандартизации установлены ГОСТ 1.0-92 «Межгосударственная система стандартизации. Основные положения» и МСН 1.01-01-96 «Система межгосударственных нормативных документов в строительстве. Основные положения»

Сведения о стандарте

1 РАЗРАБОТАН Центром по сертификации оконной и дверной техники и ФГУП Центральное проектно-конструкторское и технологическое бюро (ФГУП «ЦПКТБ» Госстроя России) с участием АНОО Академии «Безопасность и право» и фирмы «Аблой Ою», завод Бьеркбода, Финляндия

2 ВНЕСЕН Госстроем России

3 ПРИНЯТ Межгосударственной научно-технической комиссией по стандартизации, техническому нормированию и сертификации в строительстве (МНТКС) 14 мая 2003 г.

За принятие проголосовали:

Краткое наименование страны по МК (ИСО 3166) 004-97

Код страны по МК (ИСО 3166) 004-97

Сокращенное наименование органа государственного управления строительством

Армения

AM

Министерство градостроительства Республики Армения

Казахстан

KZ

Казстройкомитет Республики Казахстан

Киргизия

KG

Государственная комиссия по архитектуре и строительству при Правительстве Кыргызской Республики

Молдова

MD

Министерство экологии, строительства и развития территорий Республики Молдова

Российская Федерация

RU

Госстрой России

Таджикистан

TJ

Комархстрой Республики Таджикистан

Узбекистан

UZ

Госархитектстрой Республики Узбекистан

4 ВВЕДЕН ВПЕРВЫЕ

5 Введен в действие с 1 марта 2004 г. в качестве государственного стандарта Российской Федерации постановлением Госстроя России от 20 июня 2003 г. № 76

Информация о введении в действие (прекращении действия) настоящего стандарта и изменений к нему на территории указанных выше государств публикуется в указателях национальных (государственных) стандартов, издаваемых в этих государствах.

Информация об изменениях к настоящему стандарту публикуется в указателе (каталоге) «Межгосударственные стандарты», а текст изменений - в информационных указателях «Межгосударственные стандарты». В случае пересмотра или отмены настоящего стандарта соответствующая информация будет опубликована в информационном указателе «Межгосударственные стандарты».

СОДЕРЖАНИЕ

1 Область применения. 3

2 Нормативные ссылки. 3

3 Термины и определения. 4

4 Классификация и условное обозначение. 4

5 Технические требования. 7

5.1 Общие положения и требования к конструкции. 7

5.2 Размеры и требования к предельным отклонениям.. 15

5.3 Характеристики. 16

5.4 Требования к материалам и комплектующим деталям (в том числе к уплотняющим прокладкам) 17

5.5 Требования к петлям, замкам и другим запирающим устройствам.. 18

5.6 Требования к отделке изделий. 19

5.7 Комплектность и маркировка. 20

6 Правила приемки. 20

7 Методы контроля. 22

8 Упаковка, транспортирование и хранение. 24

9 Гарантии изготовителя. 24

Приложение А Термины и определения. 24

Приложение Б Примеры конструкций узлов изделий и вариантов рисунков дверных полотен. 26

Приложение В Требования, предъявляемые к защитным дверным блокам.. 28

Приложение Г Пример определения класса прочности дверного блока. 28

Приложение Д Пример заполнения паспорта дверного блока. 29

Приложение Е Общие требования к монтажу изделий. 30

Приложение Ж Сведения о разработчиках стандарта. 32

ГОСТ 31173-2003

МЕЖГОСУДАРСТВЕННЫЙ СТАНДАРТ

БЛОКИ ДВЕРНЫЕ СТАЛЬНЫЕ

Технические условия

Steel doors

Specifications

Дата введения - 2004-03-01

1 Область применения

Настоящий стандарт распространяется на блоки дверные стальные с установленными запирающими устройствами (далее - дверные блоки или изделия) для зданий и сооружений различного назначения.

Стандарт не распространяется на дверные блоки специального назначения в части дополнительных требований к пожаробезопасности, взрыво- и пулестойкости, воздействию агрессивных сред и т.д., а также на дверные блоки защитных кабин по действующей нормативной документации.

Область применения конкретных типов изделий устанавливают в зависимости от условий эксплуатации в соответствии с действующими строительными нормами и правилами с учетом требований настоящего стандарта.

Стандарт может быть применен для целей сертификации.

2 Нормативные ссылки

В настоящем документе использованы ссылки на следующие стандарты:

ГОСТ 9.032-74 ЕСЗКС. Покрытия лакокрасочные. Группы. Технические требования и обозначения

ГОСТ 9.301-86 ЕСЗКС. Покрытия металлические и неметаллические неорганические. Общие требования

ГОСТ 9.303-84 ЕСЗКС. Покрытия металлические и неметаллические неорганические. Общие требования к выбору

ГОСТ 9.401-91 ЕСЗКС. Покрытия лакокрасочные. Общие требования и методы ускоренных испытаний на стойкость к воздействию климатических факторов

ГОСТ 9.402-80 ЕСЗКС. Покрытия лакокрасочные. Подготовка металлических поверхностей перед окрашиванием

ГОСТ 99-96 Шпон лущеный. Технические условия

ГОСТ 166-89 Штангенциркули. Технические условия

ГОСТ 380-94 Сталь углеродистая обыкновенного качества. Марки

ГОСТ 427-75 Линейки измерительные металлические. Технические условия

ГОСТ 538-2001 Изделия замочные и скобяные. Общие технические условия

ГОСТ 1050-88 Прокат сортовой калиброванный, со специальной отделкой поверхности из углеродистой качественной конструкционной стали. Общие технические условия

ГОСТ 2140-81 Видимые пороки древесины. Классификация, термины и определения, способы измерения

ГОСТ 2977-82 Шпон строганый. Технические условия ГОСТ 4598-86 Плиты древесно-волокнистые. Технические условия

ГОСТ 5089-2003 Замки и защелки для дверей. Технические условия

ГОСТ 5264-80 Ручная дуговая сварка. Соединения сварные. Основные типы, конструктивные элементы и размеры

ГОСТ 5632-72 Стали высоколегированные и сплавы коррозионно-стойкие, жаростойкие и жаропрочные. Марки

ГОСТ 7016-2 Изделия из древесины и древесных материалов. Параметры шероховатости поверхности

ГОСТ 7502-98 Рулетки измерительные металлические. Технические условия

ГОСТ 8026-92 Линейки поверочные. Технические условия

ГОСТ 8242-88 Детали профильные из древесины и древесных материалов для строительства. Технические условия

ГОСТ 8713-79 Сварка под флюсом. Соединения сварные. Основные типы, конструктивные элементы и размеры

ГОСТ 9416-83 Уровни строительные. Технические условия

ГОСТ 10354-82 Пленка полиэтиленовая. Технические условия

ГОСТ 11533-75 Автоматическая и полуавтоматическая дуговая сварка под флюсом. Соединения сварные под острыми и тупыми углами. Основные типы, конструктивные элементы и размеры

ГОСТ 11534-75 Ручная дуговая сварка. Соединения сварные под острыми и тупыми углами. Основные типы, конструктивные элементы и размеры

ГОСТ 14771-76 Дуговая сварка в защитном газе. Соединения сварные. Основные типы, конструктивные элементы и размеры

ГОСТ 15140-78 Материалы лакокрасочные. Методы определения адгезии

ГОСТ 21778-81 Система обеспечения точности геометрических параметров в строительстве. Основные положения

ГОСТ 21779-82 Система обеспечения точности геометрических параметров в строительстве. Технологические допуски

ГОСТ 21780-83 Система обеспечения точности геометрических параметров в строительстве. Расчет точности

ГОСТ 23118-99 Конструкции стальные строительные. Общие технические условия

ГОСТ 23518-79 Дуговая сварка в защитных газах. Соединения сварные под острыми и тупыми углами. Основные типы, конструктивные элементы и размеры

ГОСТ 25347-82 Основные нормы взаимозаменяемости. ЕСДП. Поля допусков и рекомендуемые посадки

ГОСТ 26433.0-85 Система обеспечения точности геометрических параметров в строительстве. Правила выполнения измерений. Общие положения

ГОСТ 26433.1-89 Система обеспечения точности геометрических параметров в строительстве. Правила выполнения измерений. Элементы заводского изготовления

ГОСТ 26602.1-99 Блоки оконные и дверные. Методы определения сопротивления теплопередаче

ГОСТ 26602.2-99 Блоки оконные и дверные. Методы определения воздухо- и водопроницаемости

ГОСТ 26602.3-99 Блоки оконные и дверные. Метод определения звукоизоляции

ГОСТ 30778-2001 Прокладки уплотняющие из эластомерных материалов для оконных и дверных блоков. Технические условия

ГОСТ 30971-2002 Швы монтажные узлов примыканий оконных блоков к стеновым проемам. Общие технические условия

ГОСТ 30972-2002 Заготовки и детали деревянные клееные для оконных и дверных блоков. Технические условия

3 Термины и определения

Термины и определения, применяемые в настоящем стандарте, приведены в приложении А.

4 Классификация и условное обозначение

4.1 Изделия классифицируют по следующим признакам:

назначению;

вариантам конструктивного исполнения;

виду отделки;

эксплуатационным показателям;

механическим характеристикам;

охранным свойствам.

4.1.1 По назначению дверные блоки подразделяют на:

наружные (входные в здания, помещения, а также тамбурные);

внутренние (входные в квартиру и другие, предназначенные для эксплуатации внутри здания).

4.1.2 По вариантам конструктивного исполнения дверные блоки подразделяют:

по конструкции коробки:

с замкнутой коробкой;

с П-образной коробкой;

с П-образной коробкой с доборным порогом;

по числу полотен (в том числе неоткрывающихся), направлению и виду открывания:

однопольные (левого и правого открывания);

двупольные (в том числе с полотнами разной ширины);

с неоткрывающимися горизонтальными или вертикальными полотнами-вставками;

с открыванием внутрь помещения;

с открыванием наружу;

по числу контуров уплотнения в притворе:

с одним контуром;

с двумя и более контурами.

4.1.3 По виду отделки дверные блоки подразделяют на:

окрашенные лакокрасочными и порошковыми материалами;

облицованные кожей (искусственной или натуральной) и утеплителем;

оклеенные декоративными пленочными материалами;

облицованные древесными или древесно-плитными материалами (в том числе с натуральным или синтетическим шпоном);

отделанные стекольными (зеркальными) материалами;

отделанные декоративной металлической облицовкой;

комбинированные (в том числе из других материалов).

Примечание - По согласованию с заказчиком допускается применять другие виды отделки.

4.2 По эксплуатационным показателям дверные блоки классифицируют по приведенному сопротивлению теплопередаче, воздухо-, водопроницаемости, звукоизоляции.

4.2.1 По показателю приведенного сопротивления теплопередаче полотна дверные блоки подразделяют на классы:

1 - с приведенным сопротивлением теплопередаче 1,0 м2 · °С/Вт и более;

2 - с приведенным сопротивлением теплопередаче от 0,70 до 0,99 м2 · °С/Вт;

3 - с приведенным сопротивлением теплопередаче 0,40 - 0,69 м2 · °С/Вт.

Примечание - Дверные блоки с приведенным сопротивлением теплопередаче менее 0,40 м2 · °С/Вт классификации по этому показателю не подлежат.

4.2.2 По показателю воздухо- и водопроницаемости дверные блоки подразделяют на классы, приведенные в таблице 1.

Таблица 1

Класс

Объемная воздухопроницаемость при ∆Р = 100 Па, м3/(ч·м2)

Предел водонепроницаемости, Па, не менее

1

Менее 9

600

2

От 9 до 17

400

3

17-27

200

Примечания

1 Показатель предела водонепроницаемости - для входных дверных блоков в здания и помещения с улицы.

2 Дверные блоки с воздухопроницаемостью более 27 м3/(ч·м2) классификации по этому показателю не подлежат.

4.2.3 По показателю звукоизоляции Rw дверные блоки подразделяют на классы:

1 - со снижением воздушного шума 32 дБ и более;

2 -  »          »                  »               »     26 - 31 дБ;

3 -  »          »                  »               »     20 - 25 дБ.

Примечание - Дверные блоки со звукоизоляцией менее 20 дБ классификации по этому показателю не подлежат.

4.3 Дверные блоки классифицируют по основным механическим характеристикам на классы прочности, приведенные в таблице 2.

Таблица 2

Наименование показателя

Значения показателя для класса прочности

M1

М2

М3

Сопротивление статической нагрузке, прикладываемой в плоскости полотна, Н, не менее

7000

5000

3000

Сопротивление статической нагрузке, прикладываемой в зоне свободного угла полотна, перпендикулярно его плоскости, Н, не менее

2500

1500

1000

Сопротивление статической нагрузке, прикладываемой в зоне петель перпендикулярно плоскости полотна, Н, не менее

4000

3000

2000

Сопротивление динамической нагрузке, прикладываемой в направлении открывания дверного полотна в сторону упора, не менее

mгруза - 40 кг

hпадения - 1,0 м

mгруза - 40 кг

hпадения - 0,7 м

mгруза - 40 кг

hпадения - 0,5 м

Сопротивление ударной нагрузке мягким неупругим телом (в обоих направлениях открывания дверного полотна), не менее

mгруза - 30 кг

hпадения - 1,5 м

mгруза - 30 кг

hпадения - 1,0 м

mгруза - 30 кг

hпадения - 0,7 м

Примечания

1 Класс дверного блока устанавливают по наихудшему результату из всех видов испытаний.

2 Пример определения класса прочности при испытании на сопротивление статической нагрузке, действующей перпендикулярно плоскости полотна в зоне свободного угла, приведен в приложении Г.

4.4 В зависимости от наличия охранных свойств дверные блоки подразделяют на:

дверные блоки обычного исполнения, оснащенные замками III - IV классов по ГОСТ 5089, блокировочными противосъемными устройствами;

дверные блоки усиленного исполнения, оснащенные замками III - IV классов по ГОСТ 5089, усиленными петлями, блокировочными противосъемными устройствами, многоригельными замками с запиранием по периметру, с прочностными характеристиками не ниже класса М2;

дверные блоки защитные - дверные блоки усиленного исполнения, с прочностными характеристиками не ниже класса М1 и соответствующие требованиям, установленным в приложении В.

Примечание - В условном обозначении дверных блоков усиленного исполнения добавляется индекс «У», защитного исполнения - «З».

4.5 Структура условного обозначения дверных блоков:

* Рекомендуемая составляющая условного обозначения.

Примеры условного обозначения:

ДСВ ДКН 2100-1270 М3 ГОСТ 31173-2003 - дверной блок стальной внутренний, двупольный, с замкнутой коробкой, с открыванием полотен наружу, обычного исполнения, класс прочности - М3, высотой 2100 мм, шириной 1270 мм.

ДСН ППВн 1-2-2 М2 У 2300-900 ГОСТ 31173-2003 - дверной блок стальной наружный, однопольный правого исполнения, с порогом, с открыванием полотна внутрь, класс по показателю приведенного сопротивления теплопередаче - 1, класс по показателю воздухо-, водопроницаемости - 2, класс по показателю звукоизоляции - 2, класс прочности - М2, усиленного исполнения, высотой 2300 мм, шириной 900 мм.

При оформлении заказа на изготовление (поставку) и паспорта рекомендуется указывать: вариант конструктивного решения, включая описание заполнения дверного полотна; чертеж с указанием схемы открывания полотен и конструкции дверного блока; тип и марки дверных приборов и класс замков; вид отделки, ширину коробки и другие требования по согласованию изготовителя с заказчиком.

При экспортно-импортных поставках допускается применять другую структуру условного обозначения, оговоренную в договоре (контракте).

5 Технические требования

5.1 Общие положения и требования к конструкции

5.1.1 Изделия должны соответствовать требованиям настоящего стандарта и изготавливаться по конструкторской и технологической документации, утвержденной в установленном порядке.

5.1.2 Полотна дверных блоков представляют собой конструкцию, сваренную из стальных листов и прямоугольных или гнутых профилей. Допускается применять конструкцию полотен типа «гнутый короб», при этом стальные листы рекомендуется сваривать между собой. При производстве сварочных работ рекомендуется применять сварку в среде защитного газа. Места точек сварки устанавливают в рабочей документации.

5.1.3 Угловые соединения профилей рекомендуется соединять посредством сварных соединений. Допускаются другие виды соединений, соответствующие или превышающие по прочности сварные.

Варианты исполнения дверных полотен и примеры конструкций дверных блоков приведены на рисунках 1 - 7.

1 - верхний запирающий ригель; 2 - верхняя тяга основного замка; 3 - каркас полотна (сваренные стальные профили); 4 - места крепления внутреннего «лючка»; 5 - задвижка; 6 - место крепления верхней тяги; 7 - ригеля засова сувальдного замка; 8 - защелка; 9 - засов цилиндрового замка; 10 - нижняя тяга основного замка; 11 - места крепления отделки; 12 - внутренняя полость для заполнителя; 13 - направляющая вертикальной тяги; 14 - нижний запирающий ригель; 15 - монтажное «ушко»; 16 - порог; 17 - отверстие под противосъемный ригель (штырь); 18 - противосъемный пассивный ригель (штырь); 19 - монтажный анкер; 20 - коробка (рама); 21 - комбинированный сувальдно-цилиндровый замок; 22 - внутренний стальной лист; 23 - наружный стальной лист; 24 - петлевой узел; 25 - глазок

Рисунок 1 - Пример конструкции дверного блока, полотно которого сварено из двух стальных листов и стальных профилей, коробка (рама) - из стального гнутого профиля

Рисунок 2 - Примеры конструкций дверных полотен

Рисунок 3 - Пример конструкции дверного блока, сваренного из стальных листов и профилей (с заполнением среднего профиля коробки и полотна древесным и пенным материалом)

Рисунок 4 - Пример конструкции дверного блока, сваренного из стальных листов и профилей, с облицовкой из натуральной древесины

Рисунок 5 - Пример конструкции двупольного дверного блока с облицовкой из древесины или древесно-плитных материалов (горизонтальное сечение)

Рисунок 6 - Примеры конструкций дверных полотен, сваренных из двух плоских стальных листов и стальных профилей (а) и дверного полотна типа «гнутый короб» (б) с вертикальными усиливающими профилями

Рисунок 7 - Примеры конструкции дверного полотна, сваренного из стальных профилей, с вертикальными и горизонтальными усиливающими профилями и установленными замками (а) и дверной коробкой (б)

Коробки (рамы) изготавливают из гнутого профиля толщиной не менее 1,5 мм или из прямоугольного профиля с сечением не менее 40×50 мм.

Коробки (рамы) и дверные полотна изготавливают не ниже чем по 15 квалитету точности по ГОСТ 25347.

5.1.4 В конструкциях дверных полотен рекомендуется использовать вертикальные и горизонтальные усиливающие профили (средники). Рекомендуется применять не менее двух вертикальных и горизонтальных усиливающих профилей. Допускается располагать усиливающие профили под углом между вертикальными (наклонные профили). Горизонтальные усиливающие профили рекомендуется располагать в петлевой зоне или в зоне противосъемных устройств. Примеры расположения усиливающих профилей в дверном полотне приведены на рисунке 8.

1 - горизонтальный усиливающий профиль под петли; 2 - металлический короб для тяг; 3 - запирающие элементы; 4 - горизонтальный усиливающий профиль; 5 - вертикальный усиливающий профиль; 6 - профиль обвязки полотна; 7 - петли

1 - наклонные усиливающие профили; 2 - горизонтальные усиливающие профили; 3 - запирающие элементы; 4 - металлический короб для тяг; 5 - вертикальные усиливающие профили; 6 - профиль обвязки полотна; 7 - петли

Рисунок 8 - Примеры расположения усиливающих профилей в дверном полотне

5.1.5 Допускается применять вместо внутреннего цельного стального листа стыкованные листовые заготовки, сваренные по усиливающим профилям, при этом места точек сварки устанавливают в конструкторской документации.

В качестве внутреннего листа допускается применять твердые древесно-волокнистые плиты по ГОСТ 4598 или другие твердые листовые материалы, обеспечивающие достаточную прочность.

5.1.6 Для осуществления ремонта замков и защелок в месте их установки во внутреннем листе рекомендуется предусматривать «лючок», который крепится на механических связях.

5.1.7 Запирающие устройства (замки, защелки, дополнительные засовы) рекомендуется крепить на винтах через специальные подкладки и прижимные скобы с нарезанной резьбой. Крепление запирающих устройств должно быть прочным и надежным, исключающим их самопроизвольное смещение во время эксплуатации. Не рекомендуется крепить замок посредством сварки (в случае технологической необходимости применения сварки следует учитывать возможность термического влияния на легкоплавкие пластиковые и другие детали замка).

Замок должен устанавливаться согласно требованиям конструкторской документации так, чтобы во время эксплуатации дверного блока не возникало сжимающих или изгибающих нагрузок на замок.

5.1.8 В конструкциях наружных и входных в квартиру дверных блоков (для повышения звукоизоляции и сопротивления теплопередаче) рекомендуется устанавливать не менее двух контуров уплотняющих прокладок.

Уплотняющие прокладки должны устанавливаться по всему периметру притвора. Зазоры в стыках прокладок не допускаются. Прилегание прокладок должно быть плотным. Уплотняющие прокладки для наружных дверных блоков должны быть стойкими к климатическим и атмосферным воздействиям и испытаны на долговечность в испытательных центрах, аккредитованных на право проведения таких испытаний.

5.1.9 Требования настоящего стандарта распространяются на дверные блоки площадью, не превышающей 9 м2, при этом высота открывающихся дверных полотен рекомендуется не более 2200 мм, а ширина - не более 1200 мм.

Допускается применение неоткрывающихся горизонтальных и вертикальных полотен-вставок.

Рекомендуемая масса дверных полотен - не более 250 кг (расчетный показатель).

Изготовление дверных блоков (полотен) с площадью, массой и размерами, превышающими указанные значения, должно быть подтверждено результатами лабораторных испытаний или дополнительными прочностными расчетами согласно действующим строительным нормам.

Примечание - Наибольшие размеры полотен дверных блоков конкретных типов в зависимости от массы полотна, моментов сопротивления сечений профилей каркаса полотна, жесткости сечения средней части полотна (включая наружную и внутреннюю обшивки, заполнение, усиливающие профили), расположения (и типов) петель и запирающих приборов должны быть приведены в конструкторской документации предприятия-изготовителя.

5.1.10 Расположение и размеры отверстий для установки замков и других запирающих устройств устанавливают в конструкторской документации с учетом требований ГОСТ 5089.

5.1.11 Места отверстий, предназначенных для входа засова, рекомендуется защищать специальными коробами. Короба ввариваются в профиль коробки (рамы) так, чтобы они не мешали нормальному движению ригелей засова. Допускается выполнять отверстия для входа засовов в дверной коробке. При этом размеры отверстия должны быть на 2 - 3 мм больше соответствующих размеров сечения засова.

В закрытом положении засов замка должен входить в дверную коробку на глубину не менее чем 22 мм.

5.1.12 В конструкции изделий на петлевой стороне рекомендуется предусматривать противосъемные пассивные ригели (штыри). Штыри должны быть прочно установлены в каркас дверного полотна или в коробку путем сварки, запрессовки или расклепки. Допускается использовать другие виды крепления противосъемных штырей, не снижающие их прочностных качеств. Размер, количество и расположение противосъемных штырей устанавливают в рабочей документации, при этом для обеспечения наибольшей защиты противосъемные штыри рекомендуется устанавливать в петлевой зоне.

5.1.13 Для осуществления монтажа дверного блока в стеновой проем на профиль коробки (рамы) приваривают монтажные «ушки». Размер, количество и расположение монтажных «ушек» устанавливают в рабочей документации. Допускается применять другие конструкции креплений, обеспечивающих необходимую жесткость и прочность при монтаже дверного блока.

5.1.14 В качестве внутреннего заполнения дверных полотен рекомендуется применять тепло- и звукоизоляционные материалы, например минеральную вату, базальтовую вату, пенопласт или другие материалы по нормативной документации (НД). Заполнение укладывают плотно, без пустот.

5.1.15 Изделия должны быть безопасными в эксплуатации. Условия безопасности применения изделий различных конструкций устанавливают в проектной документации (например, дверные блоки на путях эвакуации рекомендуется оснащать противопаническими приборами).

Изделия должны быть рассчитаны на эксплуатационные нагрузки в соответствии с действующими строительными нормами. При проектировании и производстве изделий следует применять расчетные программы или расчетные методы определения прочностных характеристик изделий.

5.1.16 Полимерные и синтетические материалы, применяемые для заполнения и отделки дверных полотен, должны иметь заключения о санитарной безопасности, предусмотренные действующим законодательством и оформленные в установленном порядке.

5.2 Размеры и требования к предельным отклонениям

5.2.1 Габаритные размеры и архитектурные рисунки дверных блоков устанавливают в проектной и технической документации (заказе, договоре на поставку) на изготовление изделий.

Номинальные размеры деталей узлов изделий, сечений профилей и зазоров, размеры расположения приборов, петель и отверстий устанавливают в технической документации на их изготовление.

5.2.2 Предельные отклонения номинальных габаритных размеров изделий не должны превышать ± 3,0 мм.

5.2.3 Предельные отклонения номинальных размеров элементов изделий, зазоров под наплавом, размеров расположения дверных приборов и петель не должны превышать значений, установленных в таблице 3.

Таблица 3

В миллиметрах

Размерный интервал

Предельные отклонения

Внутренний размер коробок

Наружный размер полотен

Зазор под наплавом

Размеры расположения приборов, петель и другие размеры

До 1000 включ.

± 2,0

+ 1,0

- 2,0

+ 1,5

± 2,0

Св. 1000 до 2000 включ.

± 2,5

± 2,0

+ 1,5

- 1,0

Св. 2000

± 3,0

+ 2,0

- 3,0

+ 2,0

- 1,0

Примечание - Значения предельных отклонений размеров зазоров под наплавом приведены для закрытых полотен с установленными уплотняющими прокладками.

Разность длин диагоналей прямоугольных полотен площадью 1,5 м2 и менее не должна превышать 2,0 мм, а площадью свыше 1,5 м2 - 3,0 мм.

5.2.4 Перепад лицевых поверхностей (провес) в сварных угловых соединениях не должен превышать 2,0 мм.

5.2.5 Провисание полотен в собранном изделии для конструкции дверных блоков с порогом не должно превышать 2,0 мм на 1 м ширины.

5.2.6 Отклонения от прямолинейности кромок полотен и коробок не должны превышать 1,0 мм на 1,0 м длины.

Примечание - Плоскостность дверных полотен контролируют путем измерения прямолинейности их кромок и размера зазоров под наплавом.

5.2.7 Точность геометрических параметров рассчитывают в соответствии с ГОСТ 21778, ГОСТ 21779, ГОСТ 21780 с учетом особенностей конкретных конструкций и технологических условий изготовления и монтажа.

5.2.8 Размеры сварных швов должны соответствовать их рабочим сечениям, установленным в технической документации. Отклонения размеров швов от заданных не должны превышать значений, указанных в ГОСТ 5264, ГОСТ 8713, ГОСТ 11533, ГОСТ 11534, ГОСТ 14771, ГОСТ 23518.

5.2.9 Номинальные диаметры отверстий под болтовые соединения и предельные отклонения от них, установленные в зависимости от способа образования и типа болтового соединения, принимают согласно ГОСТ 23118.

5.3 Характеристики

5.3.1 Эксплуатационные показатели дверных блоков приведены в таблице 4.

Таблица 4

Наименование показателя

Значение показателя

Приведенное сопротивление теплопередаче полотен дверных блоков, м2 · °С/Вт, не менее*

0,40

Звукоизоляция, дБ, не менее*

20

Воздухопроницаемость при ∆Р0 = 100 Па, м3 / (ч · м2), не более*

27

Безотказность, циклы открывания-закрывания, не менее:

 

для внутренних дверных блоков

200000

для наружных дверных блоков

500000

Примечание - Необходимость применения эксплуатационных показателей, отмеченных знаком «*», устанавливают в проектной и технической документации исходя из назначения дверных блоков.

5.3.2 Эксплуатационные показатели дверных блоков конкретного назначения рекомендуется устанавливать в проектной документации на строительство (реконструкцию) и подтверждать результатами испытаний в испытательных центрах, аккредитованных на право их проведения.

5.3.3 Дверные блоки в зависимости от класса прочности должны выдерживать действие статических нагрузок согласно требованиям таблицы 5.

Таблица 5

Класс прочности

Значения статических нагрузок, не менее, Н

Перпендикулярно плоскости полотна в зоне свободного угла

В плоскости полотна

Перпендикулярно плоскости полотна в зоне петель

M1

4500

7000

4000

М2

3000

5000

3000

М3

2000

3000

2000

5.3.4 Дверные блоки в зависимости от класса прочности должны выдерживать действие динамических нагрузок (удар о преграду - ограничитель угла открывания, дверной откос и др. при открывании полотна) согласно требованиям таблицы 6.

Таблица 6

Класс прочности

Высота падения груза h, м

Масса груза m, кг

M1

1,0

40

М2

0,7

40

М3

0,5

40

5.3.5 Дверные блоки в зависимости от класса прочности должны выдерживать удар мягким неупругим телом согласно требованиям таблицы 7.

Таблица 7

Класс прочности

Высота падения груза h, м

Масса груза m, кг

M1

1,5

30

М2

1,0

30

М3

0,7

30

5.3.6 Усилие, прикладываемое к дверному полотну при закрывании до требуемого сжатия уплотняющих прокладок, не должно превышать 140 Н, при этом в закрытом положении защелка и засов замка должны работать без заеданий. Усилие, требуемое для открывания дверного полотна, не должно превышать 100 Н (эргономические требования).

5.3.7 В случае применения для облицовки дверных полотен искусственной или натуральной кожи или древесины (древесно-плитных материалов, в том числе с натуральным или синтетическим шпоном) облицовочный материал должен выдерживать без разрушения удар металлическим шаром массой 1 кг с высоты 1 м.

5.3.8 Внешний вид изделий: цвет, допустимые дефекты поверхности облицовочных материалов и окрашенных элементов (риски, царапины и др.) должен соответствовать образцам-эталонам, утвержденным руководителем предприятия-изготовителя.

Разность цвета, глянца и дефекты поверхности, различимые невооруженным глазом с расстояния 0,6 - 0,8 м при естественном освещении не менее 300 лк, не допускаются.

5.3.9 Сварные соединения должны быть прочными и удовлетворять требованиям, контролируемым визуально:

металл шва и граничной зоны не должен иметь трещин. Кратеры швов в местах остановки (окончания) сварки должны быть переварены (заварены);

швы должны иметь гладкую или равномерно чешуйчатую поверхность без резких переходов к основному металлу;

швы должны быть плотными по всей длине и не иметь прожогов, сужений, наплавов, непроваров, шлаковых включений и пр.

5.3.10 Временное сопротивление разрыву металла сварного соединения должно быть не ниже требований, предъявляемых к основному металлу.

Характеристики категорий и уровня качества сварных соединений - по ГОСТ 23118.

5.4 Требования к материалам и комплектующим деталям (в том числе к уплотняющим прокладкам)

5.4.1 Материалы и комплектующие детали, применяемые для изготовления дверных блоков, должны соответствовать требованиям стандартов, технических условий, технических свидетельств, утвержденных в установленном порядке.

5.4.2 Материалы и комплектующие детали, применяемые для изготовления дверных блоков, должны быть стойкими к климатическим воздействиям.

5.4.3 Поверхности стальных элементов коробок и полотен не должны иметь трещин, механических повреждений, раковин, искривлений, ржавчины. На лицевых поверхностях стальных элементов допускаются незначительные местные углубления, риски, волнистость глубиной до 0,5 мм, не снижающие функциональные свойства и качество изделий.

5.4.4 Стальные детали конструкций должны изготавливаться из марок стали, обеспечивающих прочностные характеристики конструктивных элементов, сварных, болтовых и других соединений в зависимости от характера и условий их работы.

Стальные элементы рекомендуется изготавливать из стали марки не ниже Ст3кп2 по ГОСТ 380, проката сортового по ГОСТ 1050 или высоколегированной стали по ГОСТ 5632.

5.4.5 Уплотняющие прокладки должны изготавливаться из атмосфероморозостойких эластичных полимерных материалов по ГОСТ 30778.

Прилегание уплотняющих прокладок должно быть плотным, препятствующим проникновению воды. Уплотняющие прокладки должны устанавливаться непрерывно по всему периметру притвора.

5.4.6 Деревянные клееные филенки облицовки должны отвечать требованиям ГОСТ 30972, профильные погонажные деревянные детали - ГОСТ 8242.

5.5 Требования к петлям, замкам и другим запирающим устройствам

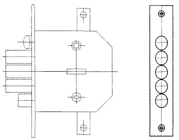
5.5.1 При изготовлении изделий применяют запирающие и вспомогательные приборы и петли, специально предназначенные для применения в металлических дверных блоках. Примеры конструкций петель и замков приведены в приложении Б.

Тип, число, расположение и способ крепления запирающих приборов и петель устанавливают в рабочей документации исходя из размера и массы открывающихся элементов изделия, а также условий эксплуатации дверных блоков. Полотна дверных блоков массой более 200 кг, а также изделия, применяемые в общественных помещениях (школы, больницы и т.п.), рекомендуется навешивать на три петли. Рекомендуемое расположение средней петли - на 150 - 200 мм ниже верхней.

5.5.2 Для навешивания полотен на коробку (раму) рекомендуется применять накладные подшипниковые или другие петли с возможностью регулировки в разных плоскостях.

Крепление петель к полотнам и коробкам рекомендуется производить на механических связях или путем сплошной сварки. Допускается использовать другие виды крепления петель, позволяющие обеспечить необходимую прочность конструкции.

5.5.3 В дверные блоки должны быть установлены замки не ниже III класса по ГОСТ 5089. Замки должны соответствовать требованиям ГОСТ 538 и ГОСТ 5089.

В дверном блоке рекомендуется одновременно устанавливать замки с сувальдным и цилиндровым механизмами, а также замки с перекодирующимися механизмами секретов.

Для улучшения защитных свойств дверных блоков рекомендуется применять многоригельные замки с запиранием по периметру дверного блока или замки с тягами с дополнительным запиранием в верхний и нижний горизонтальные профили коробки.

Для избежания засорения отверстия под нижний вертикальный засов, входящий в нижний профиль коробки, рекомендуется применять девиаторы.

5.5.4 В зависимости от назначения дверных блоков в проектной документации, а также при оформлении заказов следует предусматривать комплектацию изделий задвижками, дверными закрывателями (доводчиками), ограничителями угла открывания (упорами), глазками, цепочками и т.д.

5.5.5 Запирающие приборы должны обеспечивать надежное запирание открывающихся элементов изделий. Открывание и закрывание должно происходить легко, плавно, без заеданий.

5.5.6 Конструкции запирающих приборов и петель должны обеспечивать плотный и равномерный обжим прокладок по всему контуру уплотнения в притворах.

5.5.7 Дверные приборы и крепежные детали должны отвечать требованиям ГОСТ 538 и иметь защитно-декоративное (или защитное) покрытие по ГОСТ 9.303.

5.5.8 В случаях когда дверные блоки устанавливают в общественных помещениях (детские сады, школы, больницы), рекомендуется применение приборов антипаники, датчиков задымления и других устройств, позволяющих обеспечить быструю эвакуацию.

5.5.9 При приемке работ ключи должны передаваться заказчику в запечатанной упаковке под его роспись о получении.

5.6 Требования к отделке изделий

5.6.1 Качество отделки, а также требования к отделочному покрытию (облицовке) допускается устанавливать по согласованию изготовителя с потребителем в договоре (заказе) на изготовление (поставку) изделий. В этом случае оценку качества отделки допускается производить по образцам-эталонам, согласованным с заказчиком.

5.6.2 В качестве отделочных материалов применяют искусственную и натуральную кожу, декоративные пленки, плиты МДФ (с натуральным или синтетическим шпоном, гладкие или фрезерованные), древесину, зеркала, пластик, ДВП, лакокрасочные и другие материалы согласно требованиям НД. При выборе облицовочных материалов следует учитывать условия эксплуатации изделий. Варианты отделки дверных блоков приведены в приложении Б.

5.6.3 Металлические поверхности деталей перед нанесением лакокрасочного и полимерного покрытий должны соответствовать ГОСТ 9.402. Требования к лакокрасочным покрытиям - по ГОСТ 9.401, обозначение покрытий - по ГОСТ 9.032, класс покрытий не ниже IV.

5.6.4 Качество поверхностей с законченным лакокрасочным покрытием должно соответствовать требованиям, установленным в ГОСТ 9.032. При этом следует наносить первый слой грунтовочной краской, а последующие слои - защитно-декоративными лакокрасочными материалами.

5.6.5 Лицевые поверхности изделий не должны иметь трещин, заусенцев, механических повреждений. Требования к лицевым поверхностям устанавливают в технической документации изготовителя и/или в договорах на поставку с учетом ГОСТ 9.301 и ГОСТ 9.032.

Нелицевые поверхности изделий могут иметь углубления, риски, волнистость и другие дефекты поверхности, не снижающие функциональные свойства и качество изделий.

Кромки отверстий не должны иметь заусенцев и неровностей.

5.6.6 Цвет (тон) и степень блеска (глянец, матовость) отделочного покрытия должны соответствовать образцам-эталонам, утвержденным руководителем предприятия-изготовителя и согласованным с заказчиком.

5.6.7 Лакокрасочные покрытия должны иметь прочность сцепления (адгезию) с отделываемой поверхностью не ниже 2-го балла по методу решетчатых надрезов по ГОСТ 15140.

5.6.8 Толщину лакокрасочных покрытий, а также порядок контроля этого показателя рекомендуется устанавливать в технической документации на изготовление изделий.

5.6.9 Защитные и защитно-декоративные покрытия должны быть стойкими к температурно-влажностным эксплуатационным воздействиям.

5.6.10 Облицовку полотен изделий изготавливают из плит МДФ по НД или из различных пород древесины. Плиты МДФ могут быть отделаны строганым шпоном по ГОСТ 2977, лущеным шпоном по ГОСТ 99 или синтетическим шпоном по НД. Допускается использование фрезерованных или гладких плит МДФ. Примеры архитектурного исполнения отделки дверных полотен плитами МДФ приведены в приложении Б.

5.6.11 Лицевые поверхности деталей из древесины, применяемых для отделки дверных полотен, не должны иметь дефектов обработки и пороков древесины, за исключением завитков, свилеватости, глазков, наклона волокон до 5 % по ГОСТ 2140.

Рекомендуемая шероховатость лицевых поверхностей деталей из древесины Rm - не более 60 мкм по ГОСТ 7016, влажность древесины должна быть в пределах от 8 до 12 %.

5.6.12 Конструкция крепления облицовочных деталей из древесины и плитных материалов к стальным элементам дверных блоков должна обеспечивать возможность компенсации их температурно-влажностных деформаций.

Форма и размеры сечений облицовочных профилей, прилегающих к стальным поверхностям наружных изделий, должны обеспечивать минимальную площадь соприкосновения с этими поверхностями, а также возможность проветривания полости между ними, в противном случае соприкасающиеся поверхности должны быть защищены лакокрасочными или другими защитными материалами.

5.6.13 Клеевые материалы, применяемые при облицовке полотен дверных блоков искусственной или натуральной кожей, а также декоративными пленками, должны обеспечивать достаточную прочность сцепления, при этом не допускаются непроклеенные участки, складки, волнистость и другие дефекты внешнего вида.

5.7 Комплектность и маркировка

5.7.1 Комплектация изделий при их поставке потребителю должна соответствовать требованиям, установленным в договоре (заказе).

Дверные блоки следует поставлять в собранном виде с установленными запирающими приборами. По согласованию с потребителем комплект изделий может также включать в себя доводчики (регуляторы закрывания), ограничители угла открывания и другие дверные приборы.

Комплект ключей должен передаваться заказчику в запечатанном виде под роспись заказчика (покупателя).

5.7.2 В комплект поставки должны входить документ о качестве (паспорт) и инструкция по эксплуатации изделий, включающая рекомендации по монтажу.

5.7.3 Каждое изделие маркируют водостойким маркером или этикеткой с указанием наименования предприятия-изготовителя, марки изделия, даты его изготовления и (или) номера заказа, знака (штампа), подтверждающего приемку изделия техническим контролем.

5.7.4 Входящие в состав изделия дверные приборы должны быть маркированы в соответствии с НД на эту продукцию.

6 Правила приемки

6.1 Изделия должны быть приняты службой технического контроля предприятия-изготовителя на соответствие требованиям настоящего стандарта, а также условиям, определенным в договоре на изготовление и поставку изделий. Подтверждением приемки изделий службой технического контроля предприятия-изготовителя является оформление документов о приемке (качестве) изделий.

Изделия принимают партиями или поштучно. При приемке изделий на предприятии-изготовителе за партию принимают число изделий, изготовленных в пределах одной смены и оформленных одним документом о качестве. За объем партии может быть принято число изделий одного конструктивного исполнения, изготавливаемого по одному заказу.

6.2 Требования к качеству продукции, установленные в настоящем стандарте, подтверждают:

входным контролем материалов и комплектующих деталей;

операционным производственным контролем;

приемочным контролем готовых изделий;

контрольными приемосдаточными испытаниями партии изделий, проводимыми службой контроля качества предприятия-изготовителя;

периодическими и сертификационными испытаниями изделий в независимых испытательных центрах;

квалификационными испытаниями.

6.3 Порядок проведения входного контроля и операционного производственного контроля на рабочих местах устанавливают в технологической документации.

В случае если предприятие-изготовитель комплектует дверные блоки комплектующими деталями собственного изготовления, то они должны быть приняты и испытаны в соответствии с требованиями нормативной документации на эти изделия.

6.4 Приемочный контроль качества готовой продукции проводят методом сплошного контроля. Перечень контролируемых показателей приведен в таблице 8.

Готовые изделия, прошедшие приемочный контроль, маркируют. Изделия, не прошедшие приемочного контроля хотя бы по одному показателю, бракуют.

Таблица 8

Наименование показателя

Номер пункта требований

Вид испытания*

Периодичность (не реже)

I

II

III

Внешний вид (включая цвет)

5.3.8

+

+

-

Для вида испытаний I - сплошной контроль, для вида II - 1 раз в смену

Отклонение размеров зазоров под наплавом

5.2.3

+

+

-

То же

Плотность прилегания прокладок

5.1.8

+

+

-

»

Работа петель и запирающих устройств

5.5.5, 5.5.6

+

+

-

»

Маркировка

5.7.3

+

+

-

»

Отклонение контролируемых номинальных размеров** и прямолинейность кромок

5.2.2 - 5.2.8

-

+

-

»

Качество сварных соединений

5.3.9

-

+

-

»

5.3.10

 

+

+

Для вида испытаний II - 1 раз в смену, III - 1 раз в два года

Сопротивление статическим нагрузкам

5.3.3

-

-

+

Один раз в два года

Сопротивление динамическим нагрузкам

5.3.4

-

-

+

То же

Сопротивление удару мягким неупругим телом

5.3.5

-

-

+

»

Сопротивление удару металлическим шаром

5.3.7

-

-

+

Один раз в два года

Безотказность

5.3.1

-

-

+

То же

Соответствие эргономическим требованиям

5.3.6

-

-

+

»

Приведенное сопротивление теплопередаче

5.3.1

-

-

+

Один раз в пять лет

Воздухопроницаемость

5.3.1

-

-

+

То же

Звукоизоляция

5.3.1

-

-

+

»

* Вид испытания I - приемосдаточные испытания при приемочном контроле; вид испытания II - приемосдаточные испытания, проводимые службой качества предприятия-изготовителя; вид испытания III - периодические испытания, проводимые в независимых испытательных центрах.

** Контролируемые номинальные размеры для вида испытаний II устанавливают в технологической документации.

6.5 Каждая партия изделий проходит контрольные приемосдаточные испытания, проводимые службой качества предприятия-изготовителя. Перечень контролируемых показателей и периодичность контроля приведены в таблице 8.

Для проведения испытаний от партии изделий методом случайного отбора берут образцы дверных блоков в количестве 3 % объема партии, но не менее 3 шт. В случае если в партии менее 3 изделий, контролю подвергают каждое изделие.

В случае отрицательного результата испытаний хотя бы по одному показателю хотя бы на одном образце проводят повторную проверку качества изделий на удвоенном числе образцов по показателю, имевшему отрицательный результат испытаний.

При повторном обнаружении несоответствия показателя установленным требованиям хотя бы на одном образце контрольную и последующую партии изделий подвергают сплошному контролю (разбраковке). При положительном результате сплошного контроля возвращаются к установленному порядку приемосдаточных испытаний.

6.6 Периодические испытания по эксплуатационным показателям, указанным в 5.3.1 - 5.3.7, проводят при постановке на производство или при внесении изменений в конструкцию изделий или технологию их изготовления, но не реже одного раза в период, установленный в таблице 8, а также при сертификации изделий. В обоснованных случаях допускается совмещать периодические и сертификационные испытания.

Квалификационные испытания изделий проводят по всем показателям при постановке продукции на производство.

Испытания проводят в испытательных центрах, аккредитованных на право их проведения.

Испытаниям по определению приведенного сопротивления теплопередаче, воздухопроницаемости, звукоизоляции подвергают конструкции, предназначенные для восприятия этих нагрузок согласно области их применения.

6.7 Потребитель имеет право проводить контрольную проверку качества изделий, соблюдая при этом порядок отбора образцов и методы испытаний, указанные в настоящем стандарте.

При приемке изделий потребителем партией считают число изделий, отгружаемое по конкретному заказу, но не свыше 90 шт., оформленное одним документом о качестве.

6.8 При приемке изделий потребителем рекомендуется использовать план одноступенчатого контроля качества изделий, приведенный в таблице 9.

Таблица 9

Объем партии, шт.

Объем выборки, шт.

Приемочное число

Малозначительные дефекты

Критические и значительные дефекты

От 1 до 12

Сплошной контроль

3

0

13 - 25

4

3

0

26 - 50

8

4

0

Св. 50

12

5

0

Примечание - К значительным и критическим дефектам относят: дефекты, ведущие к потере эксплуатационных характеристик, неустранимые без замены части изделия (поломка стального профиля и др.), превышение предельных отклонений размеров более чем в 1,5 раза установленных в НД, разукомплектованность изделий. К малозначительным дефектам относят устранимые дефекты: незначительные повреждения поверхности, неотрегулированные дверные приборы и петли, превышение предельных отклонений размеров менее чем в 1,5 раза установленных в НД.

По договоренности сторон приемка изделий потребителем может производиться на складе изготовителя, на складе потребителя или в ином, оговоренном в договоре на поставку месте.

6.9 Каждая партия изделий должна сопровождаться документом о качестве (паспортом). Пример заполнения паспорта изделия приведен в приложении Д.

6.10 Приемка изделий потребителем не освобождает изготовителя от ответственности при обнаружении скрытых дефектов, приведших к нарушению эксплуатационных характеристик изделий в течение гарантийного срока службы.

7 Методы контроля

7.1 Методы входного и производственного операционного контроля качества устанавливают в технологической документации.

7.2 Методы контроля качества изделий при приемочном контроле и приемосдаточных испытаниях

7.2.1 Геометрические размеры изделий, а также прямолинейность кромок определяют с использованием методов, установленных в ГОСТ 26433.0 и ГОСТ 26433.1.

Предельные отклонения от номинальных размеров элементов изделий, разность длин диагоналей и другие размеры определяют при помощи металлической измерительной рулетки по ГОСТ 7502, штангенциркуля по ГОСТ 166, щупов по НД.

Предельные отклонения от прямолинейности кромок определяют путем приложения поверочной линейки по ГОСТ 8026 или строительного уровня с допуском плоскостности не менее 9-й степени точности по ГОСТ 9416 к испытываемой детали и замером наибольшего зазора при помощи щупов по НД.

7.2.2 Предельные отклонения от номинальных размеров зазоров под наплавом проверяют при помощи набора щупов или линейки по ГОСТ 427.

7.2.3 Провес в сопряжении смежных деталей, лежащих в одной плоскости, определяют щупом как расстояние от ребра линейки по ГОСТ 427, приложенной к верхней сопрягаемой поверхности, до нижней поверхности.

7.2.4 Внешний вид, качество сварных швов, цвет и качество отделки изделий оценивают визуально путем сравнения с образцами-эталонами, утвержденными в установленном порядке. Дефекты поверхности, различимые невооруженным глазом с расстояния 1,5 м при естественном освещении не менее 300 лк, не допускаются.

7.2.5 Адгезию (прочность сцепления лакокрасочных покрытий с поверхностью металла) определяют методом решетчатых надрезов по ГОСТ 15140.

7.2.6 Плотность прилегания и правильность установки уплотняющих прокладок, дверных приборов, крепежных и других деталей, цвет и отсутствие трещин в сварных соединениях, маркировку и упаковку проверяют визуально.

Для определения плотности прилегания уплотняющих прокладок сопоставляют размеры зазоров в притворах и степень сжатия прокладок, которая должна составлять не менее 1/5 высоты необжатой прокладки. Замеры производят штангенциркулем или линейкой по ГОСТ 427.

Плотность прилегания уплотняющих прокладок при закрытых полотнах допускается определять по наличию непрерывного следа, оставленного красящим веществом (например, цветным мелом), предварительно нанесенным на поверхность прокладок и легко удаляемым после проведения контроля.

7.2.7 Работу дверных петель проверяют десятикратным открыванием-закрыванием створчатых элементов изделия. В случае обнаружения отклонений в работе дверных приборов производят их наладку и повторную проверку.

7.3 Методы контроля при периодических испытаниях

7.3.1 Приведенное сопротивление теплопередаче определяют по ГОСТ 26602.1.

7.3.2 Воздухо- и водопроницаемость определяют по ГОСТ 26602.2.

7.3.3 Звукоизоляцию определяют по ГОСТ 26602.3.

7.3.4 Показатели безотказности, сопротивления статическим, динамическим, ударным нагрузкам определяют по НД и методикам, утвержденным в установленном порядке.

При испытаниях на сопротивление динамической нагрузке имитируют нагрузку, возникающую при резком открытии дверного полотна (например, при сквозняке), в момент контакта дверного полотна с откосом дверного проема.

Испытание на сопротивление удару мягким неупругим телом проводят трехразовым ударом, например грушей с диаметром нижней части (300 ± 5) мм и массой (30 ± 0,5) кг, с высоты падения по 5.3.5 в центральную зону образца.

Примечание - По окончании проведения испытаний дверные блоки должны сохранить работоспособность, при этом засов замка и защелка должны свободно входить в свои ответные части.

До и после проведения испытания дверных блоков на безотказность рекомендуется проверять плотность прилегания уплотняющих прокладок согласно 7.2.6.

При испытаниях дверных блоков на сопротивление статической нагрузке, действующей перпендикулярно плоскости полотна в зоне свободного угла, для определения класса прочности рекомендуется использовать график зависимости прогиба свободного угла полотна от прилагаемой нагрузки, приведенный в приложении Г.

7.3.5 Методы контроля качества сварных соединений (5.3.10) устанавливают в технической документации изготовителя в соответствии с ГОСТ 5264.

8 Упаковка, транспортирование и хранение

8.1 Упаковка изделий должна обеспечивать их сохранность при хранении, погрузочно-разгрузочных работах и транспортировании.

8.2 Не установленные на изделия приборы или части приборов должны быть упакованы в полиэтиленовую пленку по ГОСТ 10354 или в другой упаковочный материал, обеспечивающий их сохранность, прочно перевязаны и поставлены комплектно с изделиями.

8.3 Открывающиеся полотна изделий перед упаковкой и транспортированием должны быть закрыты на все запирающие приборы.

8.4 Изделия транспортируют всеми видами транспорта в соответствии с правилами перевозки грузов, действующими на данном виде транспорта.

8.5 При хранении и транспортировании изделий должно быть обеспечено их предохранение от механических повреждений и воздействия атмосферных осадков.

8.6 При хранении и транспортировании изделий между изделиями рекомендуется устанавливать прокладки из эластичных материалов.

8.7 Изделия хранят в вертикальном или горизонтальном положении на деревянных подкладках, поддонах или в специальных контейнерах в крытых помещениях.

8.8 Гарантийный срок хранения изделий - 1 год со дня отгрузки изделий изготовителем.

9 Гарантии изготовителя

9.1 Предприятие-изготовитель гарантирует соответствие изделий требованиям настоящего стандарта при условии соблюдения потребителем правил транспортирования, хранения, монтажа, эксплуатации, а также области применения, установленной в нормативной и проектной документации.

9.2 По согласованию с потребителем (заказчиком) фирма-изготовитель предоставляет сервисное обслуживание, включающее в себя аварийное вскрытие дверей в случае потери или поломки ключей, консультации по применению и эксплуатации дверных приборов и запирающих механизмов, ремонт изделий.

9.3 Гарантийный срок дверных блоков устанавливают в договоре на поставку, но не менее трех лет со дня отгрузки изделий изготовителем.

Приложение А

(обязательное)

Термины и определения

В настоящем стандарте применяют следующие термины с соответствующими определениями.

дверь: Элемент стеновой конструкции, предназначенный для входа (выхода) во внутренние помещения зданий (сооружений) или для прохода из одного помещения в другое и состоящий из дверного проема, дверного блока, системы уплотнений монтажных швов и деталей крепежа и облицовки.

дверной проем: Проем в стене, предназначенный для монтажа дверного блока и установки монтажного уплотнения.

дверной блок: Конструкция, состоящая в общем случае из коробки (рамы), жестко закрепленной в дверном проеме, с навешенным на петли полотном с запирающими устройствами, обеспечивающая при закрытом положении полотна защиту помещений от климатических, шумовых (и других) воздействий, а также несанкционированного прохода.

Дверной блок может включать в себя ряд дополнительных элементов: доводчик, ограничитель угла открывания, глазок и др.

коробка: Сборочная единица дверного блока, предназначенная для навески полотна (полотен), неподвижно закрепляемая к откосам дверного проема.

полотно: Сборочная единица дверного блока, соединенная с коробкой посредством подвижных связей (как правило, петель).

внутренний лист: Лист полотна, расположенный со стороны охраняемого или защищаемого помещения или объекта.

профиль: Профильная деталь коробки или обвязки (рамки) полотна.

притвор: Место примыкания (узел соединения) полотна к профилям коробки.

наплав: Выступ профиля полотна (коробки), перекрывающий зазор в притворе и предназначенный, как правило, для прижатия прокладок.

дверной блок правого (левого) открывания: Дверной блок с расположением петель с правой (левой) стороны при виде со стороны открывания полотна.

Примечание - В двупольном дверном блоке правое или левое открывание определяют по расположению полотна, которое открывается первым (рисунок А.1).

а - дверной блок правого открывания; б - дверной блок левого открывания; в - дверной блок правого открывания с горизонтальными и вертикальными полотнами-вставками

Рисунок А.1 - Определение изделий по направлению открывания полотен

горизонтальное (вертикальное) полотно-вставка: Неоткрывающееся полотно, устанавливаемое над или рядом с открывающимся полотном (рисунок А.1, в).

запирающие устройства: Устройства, предназначенные для фиксации дверных полотен в закрытом положении (замки, защелки и т.д.).

усиливающий профиль: Профиль, устанавливаемый внутри дверных полотен для обеспечения необходимой жесткости и прочности конструкции.

лючок: Металлический лист, устанавливаемый на механических связях с внутренней стороны полотна в месте крепления замка, обеспечивающий возможность доступа к замку в случае необходимости его ремонта.

противосъемные пассивные ригели (штыри): Усиливающие ригели, связывающие закрытое полотно с коробкой, устанавливаемые на вертикальном профиле полотна со стороны петель (или на вертикальном профиле коробки со стороны петель) и обеспечивающие дополнительную стойкость дверного блока к взлому.

монтажные «ушки»: Металлические крепежные пластины, как правило, приваренные к профилям коробки (рамы), обеспечивающие возможность крепления дверного блока в стеновом проеме.

Приложение Б

(справочное)

Примеры конструкций узлов изделий и вариантов рисунков дверных полотен

Рисунок Б.1 - Варианты отделки дверных полотен фрезерованными МДФ или древесными плитами и массивом древесины

Рисунок Б.2 - Примеры дверных петель

Рисунок Б.3 - Пример замка с засовом из стальных прутков, с защелкой и термообработанной пластиной, защищающей стойку

Рисунок Б.4 - Пример замка с крюкообразным засовом

Приложение В

(обязательное)

Требования, предъявляемые к защитным дверным блокам

Таблица В.1

Вид разрушающего воздействия

Значение показателя

Деформирующая нагрузка (отжим, отгиб, выдавливание), Н, не менее:

 

в зоне свободного угла полотна

6000

в зоне подвижных элементов

8000

в зоне замка, засова

8000

Удар мягким предметом, Дж, не менее:

 

в зоне свободного угла полотна

120

в зоне подвижных элементов

150

в зоне замка засова

200

в зоне центра полотна

200

Удар колюще-рубящим предметом

По действующей нормативной документации

Воздействие режущего инструмента

То же

Приведенные в таблице В.1 характеристики дверных блоков устанавливают в рабочей проектной документации и (или) технической документации завода-изготовителя. Методы испытаний - по методикам, утвержденным в установленном порядке. Испытания проводят в испытательных лабораториях, аккредитованных на право проведения таких испытаний.

Приложение Г

(справочное)

Пример определения класса прочности дверного блока

 - обозначение границ классов прочности;

 - обозначение класса прочности;

 линии графиков результатов испытаний дверных блоков;

 - обозначение результатов испытаний дверных блоков соответствующими контрольными нагрузками

Рисунок Г.1 - График зависимости прогиба ∆f, мм, свободного угла полотна от приложенной нагрузки Р, кН, при испытании дверных блоков на сопротивление статической нагрузке, действующей перпендикулярно плоскости полотна в зоне свободного угла

Приложение Д

(рекомендуемое)

Пример заполнения паспорта дверного блока

___________________________________________________________________

(наименование предприятия-изготовителя)

___________________________________________________________________

(адрес, телефон, факс предприятия-изготовителя)

Паспорт (документ о качестве)

дверного блока стального наружного усиленного по ГОСТ 31173-2003

а) конструкция - однопольный, правого исполнения, с порогом, открывание внутрь;

б) габаритные размеры - высота 2300 мм, ширина 970 мм.

Условное обозначение ДСН ППВн 3-2-3 М2 У 2300-900-60 ГОСТ 31173-2003

Сертификат соответствия ___________________________

(№ сертификата)

Комплектность

а) вид отделки полотна - комбинированный (фрезерованная плита МДФ; винилискожа);

б) дверные петли - две накладные подшипниковые петли;

в) запирающие приборы - сувальдный замок и замок с цилиндровым механизмом;

г) число контуров уплотняющих прокладок - 2 контура;

д) дополнительные сведения. В комплект поставки изделия входят: доводчик (регулятор закрывания), дверной упор (ограничитель открывания), инструкция по эксплуатации.

Основные технические характеристики, подтвержденные испытаниями

Приведенное сопротивление теплопередаче - 0,65 м2 · °С/Вт.

Воздухопроницаемость при ∆P0 = 100 Па - 15 м3 / (ч · м2).

Звукоизоляция - 22 дБ.

Безотказность, циклы открывания-закрывания - 500000.

Класс по механическим характеристикам - М2.

Гарантийный срок - 3 года.

Номер партии - 89.

Номер заказа/позиция в заказе - 17/9.

Приемщик ОТК __________         Дата изготовления «____» ______________200___ г.

(подпись)

Приложение Е

(рекомендуемое)

Общие требования к монтажу изделий

Е.1 Требования к монтажу изделий устанавливают в проектной документации на объекты строительства с учетом принятых в проекте вариантов исполнения узлов примыкания изделий к стенам, рассчитанных на заданные климатические и другие нагрузки.

Е.2 Монтаж изделий должен осуществляться специализированными строительными фирмами или специально обученными бригадами предприятия-изготовителя. Окончание монтажных работ должно подтверждаться актом сдачи-приемки, включающим в себя гарантийные обязательства производителя работ.

Е.3 По требованию потребителя (заказчика) изготовитель (поставщик) изделий должен предоставлять ему типовую инструкцию по монтажу дверных блоков, утвержденную руководителем предприятия-изготовителя и содержащую:

чертежи (схемы) типовых монтажных узлов примыкания;

перечень применяемых материалов (с учетом их совместимости и температурных режимов применения);

последовательность технологических операций по монтажу дверных блоков.

Е.4 При проектировании и исполнении узлов примыкания должны выполняться следующие условия:

заделка монтажных зазоров между изделиями и откосами проемов стеновых конструкций должна быть по всему периметру дверного блока плотной, герметичной, рассчитанной на выдерживание климатических нагрузок снаружи и условий эксплуатации внутри помещений;

конструкция узлов примыкания наружных изделий (включая расположение дверного блока по глубине проема) должна максимально препятствовать образованию мостиков холода (тепловых мостиков), приводящих к образованию конденсата на внутренних поверхностях дверных проемов;

эксплуатационные характеристики конструкций узлов примыкания должны отвечать требованиям, установленным в строительных нормах.

Вариант исполнения монтажного узла внутреннего дверного блока приведен на рисунке Е.1.

1 - коробка (рама) дверного блока; 2 - монтажная пена; 3 - наружное уплотнение; 4 - полотно дверного блока; 5 - внутреннее уплотнение; 6 - портал декоративного обрамления; 7 - наличник; 8 - монтажный анкер; 9 - монтажное ухо; 10 - стена

Рисунок Е.1 - Вариант исполнения монтажного узла внутреннего дверного блока

Е.5 Количество и расположение монтажных ушек, вид, диаметр и длину крепежных элементов устанавливают в рабочей проектной документации с учетом материала стен и конструкции дверного проема. В качестве крепежных элементов для монтажа изделий рекомендуется применять строительные анкеры диаметром не менее 10 мм. Расстояние между крепежными элементами не менее 700 мм.

Не допускается использование для крепления изделий герметиков, клеев, пеноутеплителей, а также строительных гвоздей.

Е.6 Дверные блоки следует устанавливать по уровню и отвесу. Отклонение от вертикали и горизонтали профилей коробок смонтированных изделий не должно превышать 1,5 мм на 1 м длины, но не более 3 мм на высоту изделия. При этом, если противоположные профили отклонены в разные стороны («скручивание» коробки), их суммарное отклонение от нормали не должно превышать 3 мм.

Дверной блок устанавливают в подготовленный дверной проем симметрично относительно центральной вертикали проема. Отклонение от симметричности не должно превышать 3 мм в сторону откоса проема, предназначенного для крепления профиля коробки с петлями. Отклонение от симметричности в другую сторону проема не рекомендуется.

Е.7 Для заполнения монтажных зазоров (швов) наружных изделий применяют монтажную пену, силиконовые герметики, предварительно сжатые уплотнительные ленты ПСУЛ (компрессионные ленты), изолирующие пенополиуретановые шнуры, пеноутеплители, минеральную вату и другие материалы, имеющие гигиеническое заключение и обеспечивающие требуемые эксплуатационные показатели швов.

Закраска швов не рекомендуется.

Е.8 При устройстве монтажных швов и установке наружных дверных блоков рекомендуется учитывать требования ГОСТ 30971.

Приложение Ж

(справочное)

Сведения о разработчиках стандарта

Настоящий стандарт разработан рабочей группой специалистов в составе:

Власова Т.В., ЦС ОДТ (руководитель);

Могутов А.В., НИИСФ РААСН;

Воронкова Л.В., ФГУП ЦПКТБ Госстроя России;

Шведов Д.Н., ЦС ОДТ;

Савченко И.Ф., ЦС ОДТ;

Савенков А.В., АНОО Академия «Безопасность и право»;

Петров Е.В., Ассоциация «Держава»;

Г. Энгблом, фирма «Аблой Ою», завод Бьеркбода, Финляндия;

Гаврилов В.И., ЗАО НПВФ «Класс»;

Наан Г.Г., ООО БИТ «Союз»;

Власов А.А., ООО «Геометрия металла»;

Тепляков Н.Н., Воронин В.М., ООО «НПП «Модуль»;

Лейбман А.А., Лейбман Г.А., ООО «Ле-Гран»;

Фатыхов Х.Т., Оленев В.Т., Компания «Гардиан»;

Хитьков В.Ю., Маловичко В.В., ООО «Сонэкс»;

Савич B.C., ФГУП ЦНС;

Шведов Н.В., Госстрой России.



© 2013 Ёшкин Кот :-)