Информационная система
«Ёшкин Кот»

XXXecatmenu

ГОСУДАРСТВЕННЫЙ СТАНДАРТ СОЮЗА ССР

 

СОЕДИНЕНИЯ ШЛАНГОВЫЕ
ДЛЯ
ГИБКИХ ШЛАНГОВ
ВОДЯНЫХ
НАСОСОВ

ТЕХНИЧЕСКИЕ УСЛОВИЯ

ГОСТ 3050-77

 

 

ГОСУДАРСТВЕННЫЙ КОМИТЕТ СССР ПО СТАНДАРТАМ

Москва

 

ГОСУДАРСТВЕННЫЙ СТАНДАРТ СОЮЗА ССР

СОЕДИНЕНИЯ ШЛАНГОВЫЕ ДЛЯ ГИБКИХ
ШЛАНГОВ
ВОДЯНЫХ НАСОСОВ

Технические условия

Hose connections for flexible hoses of water pumps.
Specifications

ГОСТ
3050-77*

Взамен
ГОСТ 3050
-45

Постановлением Государственного комитета стандартов Совета Министров СССР от 10 ноября 1977 г. 2596 срок введения установлен

с 01.01.79

Проверен в 1983 г. Постановлением Госстандарта от 04.11.83 5297 срок действия продлен

до 01.01.89

Настоящий стандарт распространяется па шланговые соединения, работающие при давлении до 0,25 МПа (≈ 2,5 кгс/см2), предназначенные для соединения гибких шлангов между собой и присоединения их к водяным насосам, а также к приемным сеткам и клапанам.

1. ТИПЫ И ОСНОВНЫЕ РАЗМЕРЫ

1.1. Соединения шланговые должны изготовляться типов:

1 - разъемные соединения;

2 - неразъемные соединения.

1.2. Основные размеры шланговых соединений должны соответствовать указанным на черт. 1 и в табл. 1.

Тип 1

Для Dy = 150 ÷ 200 мм                                    Для Dу = 80 ÷ 125 мм

Тип 2

1 - ниппель; 2 - ниппель; 3 - упорное кольцо; 4 - подвижный фланец; 5 - неподвижный фланец; 6 - прокладка; 7 - болт откидной по ГОСТ 3033-79; 8 - ограничительное кольцо; 9 - цапфы; 10 - шайбы черные диаметром 16 и 20 мм по ГОСТ 11371-78; 11 - гайки М20 и М16 по ГОСТ 5915-70, ГОСТ 5918-73 и ГОСТ 5931-70; 12 - шайбы черные диаметром 16 и 14 мм по ГОСТ 11371-78; 13 - шплинты по ГОСТ 397-79; 14 - бугельное соединение; 15 - ниппель неразъемного соединения

Черт. 1

Таблица 1

Размеры в мм

Условный проход Dу

d

d1

l

H

Количество болтов

Диаметр болта

Общая масса соединения типа 1, кг

80

69

79

170

138

3

16

6,6

100

94

104

162

8,1

125

119

129

203

20

11,6

150

143

154

180

262

4

17,1

200

195

206

190

314

21,0

Пример условного обозначения шлангового соединения типа 1, Dy 100:

Шланговое соединение 1-100 ГОСТ 3050-77

То же, типа 2:

Шланговое соединение 2-100 ГОСТ 3050-77

1.3. Основные размеры деталей шланговых соединений должны соответствовать указанным на черт. 2 - 10 и в табл. 2 - 10.

Поз. 1. Ниппель

Черт. 2

Таблица 2

Размеры в мм

Условный проход Dy

d

d1

dг

d3

d4

L

b

Масса, кг

80

69

79

80

75

83

170

35

1,6

100

94

104

104

100

108

2,1

125

119

129

130

125

133

2,6

150

143

154

154

150

159

180

40

3,8

200

195

206

206

202

209

190

50

4,7

Пример условного обозначения ниппеля 1 разъемного соединения Dy 100:

Ниппель 1-100 ГОСТ 3050-77

Поз. 2. Ниппель

Черт. 3

Таблица 3

Размеры в мм

Условный проход Dy

d

d1

d2

d3

d4

d5

L

b

Масса, кг

80

69

79

80

75

77

83

170

35

1,6

100

90

104

104

100

101

108

2,1

125

119

129

130

125

127

133

2,6

150

143

154

154

150

151

159

180

40

3,8

200

195

206

206

202

203

209

190

50

4,7

Пример условного обозначения ниппеля 2 разъемного соединения Dy 100:

Ниппель 2-100 ГОСТ 3050-77

Поз 3 Упорное кольцо

Черт. 4

Таблица 4

Размеры в мм

Условный проход Dy

d

d1

d2

d3

b

b1

Масса, кг

80

80

82

96

107

22

15

0,52

100

104

106

120

131

0,57

125

130

133

150

164

24

17

1,26

150

154

157

174

188

1,47

200

206

209

226

240

1,9

Пример условного обозначения упорного кольца разъемного соединения Dy 100:

Упорное кольцо 100 ГОСТ 3050-77

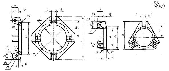
Поз. 4. Подвижный фланец

Для трубопровода Dy 150 ÷ 200 мм                                 Для трубопровода Dу 80 ÷ 125 мм

Черт. 5

Таблица 5

Размеры в мм

Условный проход Dy

d

d1

d2

b

С

H

H1

h

h1

r

Масса, кг

80

86

110

14

36

20

138

-

36

65

16

1,14

100

111

134

162

-

77

1,30

125

136

168

16

44

24

203

-

38

97

18

1,94

150

162

192

262

216

109

3,35

200

212

244

314

254

135

4,08

Пример условного обозначения подвижного фланца разъемного соединения Dy 100:

Фланец подвижный 100 ГОСТ 3050-77

Поз. 5. Неподвижный фланец

Для трубопровода Dy 150 ÷ 200 мм.                        Для трубопровода Dy 80 ÷ 125 мм

Черт. 6

Таблица 6

Размеры в мм

Условный проход Dy

d

d1

d2

C

H

H1

Масса, кг

80

80

110

100

20

138

-

0,84

100

104

134

124

162

-

0,96

125

130

168

156

24

203

-

1,36

150

154

192

180

262

216

2,65

200

206

244

232

314

254

3,60

Пример условного обозначения неподвижного фланца разъемного соединения Dy 100:

Фланец 100 ГОСТ 3050-77

Поз. 6. Прокладка

Черт. 7

Таблица 7

Размеры в мм

Условный проход Dy

d

d1

Масса, кг

80

79

102

0,040

100

103

126

0,052

125

128

158

0,080

150

152

182

0,094

200

204

234

0,122

Пример условного обозначения прокладки разъемного соединения Dy 100:

Прокладка 100 ГОСТ 3050-77

Поз. 8. Ограничительное кольцо

Черт. 8

Таблица 8

Размеры в мм

Условный проход Dy

d

d1

Масса, кг

80

83

91

0,05

100

108

116

0,06

125

133

141

0,08

150

159

167

0,10

200

209

217

0,13

Пример условного обозначения ограничительного кольца разъемного соединения Dy 100:

Ограничительное кольцо 100 ГОСТ 3050-77

Поз. 9. Цапфа

Черт. 9

Таблица 9

Размеры в мм

Условный проход Dy

d

D

L

H

Масса, кг

80;

100

14

18

48

4

0,06

125;

150;

200

16

20

52

5

0,09

Пример условного обозначения цапфы с размерами d = 16 мм и L = 52 мм:

Цапфа 16´52 ГОСТ 3050-77

Поз. 15. Ниппель неразъемного соединения

Черт. 10

Таблица 10

Размеры в мм

Условный проход Dy

d

d1

d2

L

Масса, кг

80

69

75

79

240

1,73

100

94

100

104

2,32

125

119

125

129

260

3,15

150

143

150

154

4,27

200

195

202

206

300

5,86

Пример условного обозначения ниппеля неразъемного соединения Dy 100:

Ниппель 100 ГОСТ 3050-77

2. ТЕХНИЧЕСКИЕ ТРЕБОВАНИЯ

2.1. Соединения шланговые должны изготовляться в соответствии с требованиями настоящего стандарта по рабочим чертежам, утвержденным в установленном порядке.

2.2. Детали соединений должны изготовляться из материалов, указанных в табл. 11.

Таблица 11

Наименование деталей

Материал

Сортамент

Ниппели

Сталь 20 ГОСТ 1050-74

Бесшовная труба ГОСТ 8731-74 и ГОСТ 8733-74

Фланцы

Сталь 25 Л ГОСТ 977-75

-

Упорные и ограничительные кольца

Сталь Ст 3 ГОСТ 380-71

-

Откидные болты

Сталь Ст 4 ГОСТ 380-71

-

Цапфы, гайки и шайбы

Сталь Ст 3 ГОСТ 380-71

-

Примечания: 1. Допускается изготовление ниппелей из труб по сортаменту ГОСТ 8732-78 и ГОСТ 8734-75.

2. По согласованию с потребителем допускается заменять стальные детали латунными марки ЛЦ40Мц 1,5 по ГОСТ 17711-80 или бронзовыми. Такие детали не имеют антикоррозионного покрытия.

2.3. Резиновые прокладки разъемного соединения должны изготавливаться из резины средней твердости со следующими показателями:

Предел прочности при растяжении 0,045 МПа (≈ 0,45 кгс/см2)

Относительное удлинение........................ 300 %

Остаточное удлинение................................. 40 %

2.4. Закрепление гибких шлангов на ниппелях должно производиться при помощи бугелей, хомутов или проволочных бензелей, а также без них путем присоединения ниппелей до вулканизации шлангов (на предприятии-изготовителе шлангов).

2.5. Стальные детали должны иметь по всей поверхности покрытие: кадмиевое электролитическое с хроматированием или фосфатированием по ГОСТ 9.032-74. Толщина покрытия 30 - 36 мкм.

2.6. Требования к антикоррозионному покрытию - по ГОСТ 9.301-78.

2.7. Детали соединений не должны иметь трещин, расслоений и тому подобных пороков.

2.8. Предельные отклонения обрабатываемых поверхностей, не ограниченных допусками:

диаметров по Н14, h14, прочих размеров js14;

необрабатываемых поверхностей:

диаметров по Н15, h15, прочих размеров js15.

2.9. Отклонения по массе не должны быть более:

для всей партии, взвешиваемой при приемке + 8 %;

для отдельных соединений при контрольном взвешивании + 12 %.

2.10. Соединение в сборе должно быть прочным и плотным.

2.11. Каждая партия соединений должна сопровождаться паспортом по ГОСТ 2.601-68.

2.12. Установленный срок службы до списания - не менее 10 лет.

(Измененная редакция, Изм. № 1).

3. ПРАВИЛА ПРИЕМКИ

3.1. Для проверки соответствия соединений требованиям настоящего стандарта предприятие-изготовитель должно проводить приемо-сдаточные испытания.

3.2. При приемо-сдаточных испытаниях проверяют:

на соответствие требованиям пп. 2.5 - 2.6 - по ГОСТ 9.301-78;

на соответствие требованиям пп. 2.7 - 2.8 каждую деталь;

на соответствие требованиям пп. 2.9 - 2.10 - 5 % от партии, но не менее 3 шт.

3.3. Партия должна состоять из изделий одного типоразмера, изготовленных из материалов, полученных по одному сертификату и предъявленных к приемке по одному документу.

3.4. При получении неудовлетворительных результатов испытаний по какому-либо из показателей по нему проводят повторные испытания на удвоенном количестве образцов, отобранных от той же партии соединений. Результаты повторных испытаний являются окончательными и распространяются на всю партию.

4. МЕТОДЫ КОНТРОЛЯ И ИСПЫТАНИЯ

4.1. Соответствие требованиям пп. 2.5 - 2.6 проверяют по ГОСТ 9.302-79.

4.2. Соответствие требованиям пп. 2.7 - 2.8 проверяют внешним осмотром и обмером.

4.3. Соответствие требованиям п. 2.9 проверяют взвешиванием на весах с погрешностью 5 %.

4.4. Соответствие требованиям п. 2.10 проверяют гидравлическим давлением 0,325 МПа (3,25 кгс/см2).

Время выдержки соединений под давлением 3 мин, при этом не должно наблюдаться остаточных деформаций, признаков разрыва, потения или течи.

5. МАРКИРОВКА, УПАКОВКА, ТРАНСПОРТИРОВАНИЕ И ХРАНЕНИЕ

5.1. Маркировка изделий - по ГОСТ 4666-75, а для изделий из цветного металла дополнительно по ГОСТ 2171-79.

5.2. Соединения должны быть упакованы в деревянные ящики по ГОСТ 2991-76: разъемные - по 20 шт., неразъемные - по 50 шт. в каждый ящик.

5.3. Маркировка транспортной тары - по ГОСТ 14192-77.

5.4. Сопроводительная документация должна быть предохранена от механических повреждений и воздействий атмосферных осадков.

5.5. Условия транспортирования и хранения - по группе С ГОСТ 15150-69.

5.6. Консервация соединений должна осуществляться нанесением на поверхность консервационных масел или пластичных смазок и отвечать требованиям ГОСТ 9.014-78 для изделий 1 группы и условий хранения и транспортирования категории С.

6. ГАРАНТИИ ИЗГОТОВИТЕЛЯ

6.1. Изготовитель должен гарантировать соответствие соединений требованиям настоящего стандарта при соблюдении условий применения и хранения, установленных стандартом.

6.2. Гарантийный срок эксплуатации - 2 года со дня ввода соединений в эксплуатацию.

 

СОДЕРЖАНИЕ

 

 



© 2013 Ёшкин Кот :-)