| |||||||||||||||||||||||||||||||||||||||||||||||||||||||||||||||||||||||||||||||||||||||||||||||||||||||||||||||||||||||||||||||||||||||||||||||||||||||||||||||||||||||||||||||||||||||||||||||||||||||||||||||||||||||||||||||||||||||||||||||||||||||||||||||||||||||||||||||||||||||||||||||||||||||||||||||||||||||||||||||||||||||||||||||||||||||||||||||||||||||||||||||||||||||||||||||||||||||||||||||||||||||||||||||||||||||||||||||||||||||||||||||||||||||||||||||||||||||||||||||||||||||||||||||||||||||||||||||||||||||||||||||||||||||||||||||||||||||||||||||||||||||||||||||||||||||||||||||||||||||||||||||||||||||||||||||||||||||||||||||||||||||||||||||||||||||||||||||||||||||||||||||||||||||||||||||||||||||||||||||||||||||||||||||||||||||||||||||||||||||||||||||||||||||||||||||||||||||||||||||||||||||||||||||||||||||||||||||||||||||||||||||||||||||||||||||||||||||||||||||||||||||||||||||||||||||||||||||||||||||||||||||||||||||||||||||||||||||||||||||||||||||||||||||||||||||||||||||||||||||
|
ПРОЕКТНЫЙ
ИНСТИТУТ Акционерное общество ПОСОБИЕ 14.91 к СНиП 2.04.05-91 Новые схемы и решения противодымной защиты Рекомендовано к изданию решением технического Совета АО Промстройпроект. Новые схемы и решения противодымной защиты лестнично-лифтовых узлов многоэтажных зданий с лестничными клетками 2-го незадымляемого типа разработаны Промстройпроектом (канд. техн. наук Б.Б. Баркалов) совместно с МНИИТЭП (канд. техн. наук М.М. Грудзинский, инж. Ю.И. Рюпина) на основе отчета по научно-исследовательской работе МНИИТЭП "Разработка методов расчета систем противодымной защиты многоэтажных зданий с учетом разработанных архитектурно-планировочных решений" ИИ-4024-007, утвержденного секцией ОВ Технического Совета Промстройпроекта и секции инженерного оборудования НТС МНИИТЭП 30 декабря 1993 г. Пособие предназначено для специалистов в области отопления и вентиляции. Рецензент инженер И.К. Васильев Технический редактор К.Л. Полухина ПЕРЕЧЕНЬ ПОСОБИЙ к СНиП
2.04.05-91
| |||||||||||||||||||||||||||||||||||||||||||||||||||||||||||||||||||||||||||||||||||||||||||||||||||||||||||||||||||||||||||||||||||||||||||||||||||||||||||||||||||||||||||||||||||||||||||||||||||||||||||||||||||||||||||||||||||||||||||||||||||||||||||||||||||||||||||||||||||||||||||||||||||||||||||||||||||||||||||||||||||||||||||||||||||||||||||||||||||||||||||||||||||||||||||||||||||||||||||||||||||||||||||||||||||||||||||||||||||||||||||||||||||||||||||||||||||||||||||||||||||||||||||||||||||||||||||||||||||||||||||||||||||||||||||||||||||||||||||||||||||||||||||||||||||||||||||||||||||||||||||||||||||||||||||||||||||||||||||||||||||||||||||||||||||||||||||||||||||||||||||||||||||||||||||||||||||||||||||||||||||||||||||||||||||||||||||||||||||||||||||||||||||||||||||||||||||||||||||||||||||||||||||||||||||||||||||||||||||||||||||||||||||||||||||||||||||||||||||||||||||||||||||||||||||||||||||||||||||||||||||||||||||||||||||||||||||||||||||||||||||||||||||||||||||||||||||||||||||||||
|
а)
|
Г а)
|
|
Б б)
|
Г б)
|
|
В а)
|
Д а)
|
|
В б)
|
Д б)
|
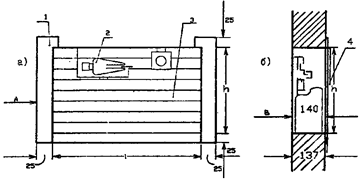
Рис. 1. Планировки лестнично-лифтовых узлов Б, В, Г и Д.
а - план типового этажа; б - план первого этажа; 1
- незадымляемая лестничная клетка 2-го типа;
2 - лифтовые шахты; 3 - лифтовый холл; 4 - коридор; 5
- принимаемая в расчет открытая
дверь на этаже пожара; 6 - шахта дымоудаления; 7 - дверь закрытая
при пожаре;
8 - наружная дверь для выхода из здания; 9 - наружная дверь
закрытая при пожаре
Ниже рассмотрены возможности применения представленных планировок и способов подачи в них приточного воздуха в свете требований действующих Строительных норм и правил Российской Федерации.
1. Пункт 1.31 СНиП 2.08.01-89 "Жилые здания" требует: "В жилых зданиях коридорного типа высотой 10 этажей и более при общей площади квартир на этаже 500 м2 и более следует предусматривать не менее двух незадымляемых лестничных клеток; не менее 50 % из них должны быть 1-го типа, остальные лестничные клетки допускается проектировать 2-го типа. Незадымляемые лестничные клетки в пределах первого этажа должны иметь выходы непосредственно наружу".
"В шахты лифтов (п. 1.33) при пожаре следует обеспечить подачу наружного воздуха из отдельного канала в верхнюю часть лифтовой шахты".
СНиП 2.08.01-89 не содержит требований о разделении лестничных клеток 2-го незадымляемого типа на отсеки.
В жилых зданиях допускается применять ЛЛУ, рассмотренные в данном Пособии планировок Б и Д.
2. Пункт 1.137 СНиП 2.08.02-89 "Общественные здания и сооружения" требует: "Лестничные клетки 2-го типа необходимо разделять на отсеки путем устройства на высоту этажа сплошной стенки из негорючих материалов, имеющей предел огнестойкости не менее 0.75 ч".
"Противодымную защиту таких лестничных клеток следует обеспечивать подачей наружного воздуха в верхнюю часть отсеков". Схема устройства отсека в лестничной клетке показана на рис. 2.
"Избыточное давление должно быть не менее 20 Па в нижней части отсека лестничной клетки и не более 150 Па в верхней части отсека лестничной клетки при одной открытой двери".
Число этажей в отсеке или число отсеков в лестничной клетке СНиП не регламентировано.
Рис. 2. Незадымляемая
лестничная клетка 2-го типа с разделением на отсеки;
а - с переходом из одного отсека в другой внутри объема лестничной клетки;
б - с переходом вне объема лестничной клетки через коридор.
Габарита рассечки: 1, 2, 3, 4, 5, 2, 1; двери помещений Д1 и Д2, дверь в рассечке Д2.
Деление на отсеки следует предусматривать, если без них невозможно обеспечить заданное предельное давление воздуха 150 Па в верхней части лестничной клетки. Согласно анализу, проведенному докт. техн. наук профессором В.М. Есиным [1] деление лестничной клетки на отсеки по условию давления необходимо при скоростях ветра более 8 м/с. Предельная расчетная скорость ветра согласно СНиП установлена 5 м/с.
Применение планировок ЛЛУ Б и Г при нижней подаче приточного воздуха в лестничную клетку общественных и административных зданий необходимо согласовывать с разработчиками СНиП 2.08.02-89 и с Главтехнормированием Минстроя РФ.
Указанное в СНиП "Избыточное давление ... не более 150 Па" на двери в коридор, следует учитывать как разность давлений по обе стороны этой двери, определяющая усилие, необходимое для открывания этой двери.
3. Пункт 1.23 СНиП 2.09.04-87 "Административные и бытовые здания" требует: "При проектировании зданий высотой 10 - 16 этажей следует учитывать дополнительные требования к указанным зданиям в соответствии со СНиП 2.08.02-85" - заменен СНиП 2.08.02-89, т.е. следует руководствоваться п. 2 "Общих положений" Пособия.
4. Пункт 2.39 СНиП 2.09.02-85* "Производственные здания" требует: "Незадымляемые лестничные клетки 2-го типа должны разделяться на высоту двух маршей глухой противопожарной перегородкой через каждые 30 м по высоте зданий категорий Г и Д и 20 м - в зданиях категории В (с переходом из одной части лестничной клетки в другую вне объема лестничной клетки)".
Из приведенных требований следует, что для производственных зданий допускается применять ЛЛУ планировок Б, Г и Д, так как способ подачи воздуха (сверху, снизу, общая для лестничной клетки и лифтовой шахты или раздельная) упомянутым СНиП не регламентируется. Требование этого СНиП к устройству отсеков "с переходом из одной части лестничной клетки в другую вне объема лестничной клетки" в Пособии 4.91 рассматривалось однозначно как с переходом через наружную зону. Однако, выполнение этого требования возможно с устройством перехода через объем здания, например через коридор, примыкающий к лестничной клетке, с выходом на лестничную клетку последовательно через две двери, как показано на рис. 2 б, а при наружном переходе, как показано на рис. 3.
Рис. 3. Отсек лестничной клетки с наружным переходом
Д1 - дверь из производственных помещений
Д2 - двойная наружная дверь
Д3 - дверь в "рассечке" 4 - балкон
5 - наружная лестница с перилами
Габариты рассечки огнестойкостью 0,75 ч.
5. Устройство отсеков с наружным переходом между верхней и нижней частями лестничной клетки следует проектировать только по специальному требованию органов пожнадзора, рис. 3. В этом случае согласно п. 2.39 СНиП 2.09.02-85* первый отсек требуется на отметке У1 20 или 30 м, от пола 1-го этажа, а в более высоких зданиях еще и на отметке У2 - 40 или 60 м. Должны быть устроены две двери: двойная дверь для выхода из верхнего отсека наружу и двойная дверь для входа в нижний отсек, что связано с большим дополнительным расходом воздуха. Кроме того необходима еще одна дверь в перегородке ("рассечке").
6. В нижней части верхнего отсека с наружным переходом на отметке У2 требуется поддерживать такое же избыточное давление воздуха как в вестибюле, т.е. от минимума 0,7∙1,42 + 20 = 21 Па до максимума при 5 м/с 45 Па, что соответствует расходу воздуха через наружную дверь от 2875∙210,5∙1,6 = 21100 кгс/ч до 30900 кгс/ч, при дверях минимальных размеров 0,8×2 м.
На уровне У2 двери будут находиться под еще большим давлением, зависящим от высоты отсека и способа подачи приточного воздуха. При высоте отсека 30 м и нижней подаче притока давление может повыситься еще на 30 Па, что увеличит расход воздуха наружу и составит от 2875∙(21 + 30)0,5∙1,6 = 32900 кгс/ч до 42400 кгс/ч.
При расположении приточных установок внизу здания (планировка Г) воздух во второй и третий отсеки придется подавать через специальные вертикальные шахты.
7. Пункт 5.16 СНиП требует: "Расход наружного воздуха для противодымной защиты следует рассчитывать и на поддержание избыточного давления 20 Па в нижней части каждого отсека незадымляемой лестничной клетки 2-го типа при открытых дверях на пути эвакуации из коридоров и холлов на этаже пожара в лестничную клетку и из здания наружу...".
Пункт 5.17 СНиП требует принимать: "Давление на закрытые двери на пути эвакуации не более 150 Па". Это требование, как и требование в п. 1.137 СНиП 2.08.02-89 следует учитывать как разность давлений по обе стороны двери, связанные с усилием, необходимым для открывания дверей.
8. В Пособии 4.91 к СНиП "Противодымная защита при пожаре" (2-я редакция), 1992 г. (далее Пособие) разработана приточная противодымная вентиляция для ЛЛУ планировок Б, В и Г с подачей воздуха в верхнюю часть лестничной клетки и лифтовой шахты в двух вариантах:
1-й вариант - отдельными вентиляторами,
2-й вариант - общими вентиляторами с подачей всего воздуха в верхнюю часть лестничной клетки, откуда часть воздуха поступает в лифтовую шахту.
При раздельной подаче воздуха испытаниями обнаружена неодинаковая нагрузка вентиляторов в зависимости от фактического сопротивления лестничной клетки и лифтовой шахты, что видно из табл. 1
|
Разность давления в лестничной клетке и лифтовой шахте, Па |
ПРИТОК, м3/ч |
|
|
в лестничную клетку |
в лифтовую шахту |
|
|
-20 |
7500 |
47800 |
|
40 |
14590 |
40000 |
|
150 |
24220 |
29670 |
9. При общей подаче воздуха в свободное пространство верхней части лестничной клетки воздух распределяется между лифтовой шахтой и лестничной клеткой в соответствии с фактически установившимися сопротивлениями. Такая подача притока обеспечивает защиту людей при пожаре даже при аварийной остановке одного из вентиляторов, хотя в меньшей мере, чем при нормальной работе двух вентиляторов.
10. Предлагаемый новый вариант противодымной защиты многоэтажного здания с планировкой ЛЛУ Б, при подаче всего приточного воздуха в верхнюю часть лифтовых шахт был испытан на опытном пожаре в 23-ти этажном доме в Москве институтами МНИИТЭП Мосгорисполкома и ВНИИПО МВД РФ. Соответствующая этим испытаниям схема движения воздуха в ЛЛУ 17-ти этажного дома приведена на рис. 4.
Испытания производились при открытых дверях лифтовых шахт: на 1-ом этаже - вариант, рекомендуемый МНИИТЭП для практического использования, и при открытых дверях лифтовых шахт на этаже пожара - вариант, рекомендуемый для использования ВНИИПО. Эффективность дымозащиты здания при обоих вариантах была одинакова.
Рис. 4. Распределение воздуха в ЛЛУ планировки Б*:
1 - лифтовая
шахта; 2 - лестничная клетка; 3 - приточный вентилятор; 4
- вытяжной вентилятор;
5 - приток в лифтовую шахту; 6 - воздух, выходящий из лифтовой
шахты через неплотности закрытых
дверей; 7 - расход воздуха в лестничную клетку, кг/ч; 8 - расход
воздуха, удаляемого через неплотности
дымовых клапанов и уходящий через неплотности наружных ограждений квартир; 9
- закрытые дымовые
клапаны; 10 - открытый дымовой клапан; 11 - расход воздуха в
вестибюль, кг/ч; 12 - расход воздуха
через входную дверь здания; 13 - расход воздуха на дымоудаление, кг/ч; 14
- расход воздуха через
вытяжную решетку из лестничной клетки, кг/ч; 15 - расход воздуха по
лестничной клетке, кг/ч;
16 - давление воздуха в лестничной клетке.
________________
*) Примечание. На схеме показаны расходы кг/ч и давление воздуха Па, полученные в научно-исследовательской работе МНИИТЭП ИИ-4024-007.
11. Учитывая, что п. 5.17 СНиП требует при пожаре: "Кабины лифтов должны находиться на нижнем этаже, а двери лифтовых шахт на этом этаже должны быть открыты" - за расчетную принята схема подачи приточного воздуха, соответствующая СНиП и рекомендованная МНИИТЭП.
Воздух из лифтовых шахт выходит через неплотности закрытых дверей на всех этажах, кроме 1-го, где воздух выходит через неплотности между кромками проема открытых дверей шахты на 1-м этаже и контуром кабины лифтов, а также через вентиляционные решетки кабин (далее через открытые двери лифтовых шахт).
Воздух из 1-го этажа здания удаляется через наружную дверь, а на других этажах через лифтовые холлы в лестничную клетку, в дымовую шахту - через неплотности закрытых дымовых клапанов и через неплотности наружных ограждений здания.
12. В верхней части лестничной клетки предусмотрена вытяжная решетка с клапаном, который автоматически или дистанционно открывается, если в лестничную клетку попал дым, вследствие запаздывания с включением приточного вентиляторов.
1.1. Приточная противодымная вентиляция ЛЛУ планировки Б с незадымляемой лестничной клеткой 2-го типа при подаче всего воздуха в верхнюю часть лифтовой шахты по схеме на рис. 4 и 5 может применяться для жилых, общественных и производственных зданий.
По СНиП принимается - пожар на 1-ом этаже, лифты не работают, спущены на 1-й этаж и все двери лифтовых шахт, кроме 1-го этажа закрыты.
1.2. Общий расход приточного воздуха Gоб кгс/ч, определяется из расчета компенсации расходов воздуха, удаляемого из здания:
где: Gдв.1 - расход воздуха, удаляемый через наружные двери для входа в здание, рассчитывается по формулам (2) и (3);
Gдм - расход воздуха, удаляемый из коридоров системой дымоудаления. Рассчитывается по приложению 7 или принимается по табл. 2;
G1.э - расход воздуха, уходящий через неплотности наружных ограждений помещений 1-го этажа, рассчитывается по формуле (5);
Gв.э - расход воздуха, уходящий через неплотности наружных ограждений помещений на всех этажах выше 1-го. Рассчитывается по формулам (6) и (7);
Gк - расход воздуха из верхней части лестничной клетки через решетку 13 рис. 4. Принимается по данным испытаний 3000 кгс/ч.
1.3 Расход воздуха через наружные двери здания, кгс/ч:
где: А - площадь одной большей створки дверей, м2;
Рв - давление воздуха в вестибюле, Па, определяемое по формуле:
где: V, ρ - соответственно скорость ветра, м/с, и плотность наружного воздуха в холодный период года, кг/м3, V - по приложению 8 к СНиП (параметры Б), причем, СНиП ограничивает скорость ветра 5 м/с; по решению заказчика расчетная скорость ветра может быть повышена до указанной в приложении 8 к СНиП для данного населенного пункта, что удорожит систему, но повысит вероятность безопасности эвакуации людей при пожаре.
1.4. Расход воздуха на дымоудаление состоит из двух частей:
а) расход на удаление дыма с этажа пожара, за который согласно СНиП принимается 1-й этаж;
б) расход воздуха, уходящего из здания через неплотности закрытых дымовых клапанов на всех этажах, кроме 1-го и через неплотности шахты дымоудаления.
Общий расход воздуха на дымоудаление по подпунктам "а" и "б" определяется по табл. 2, где N - число этажей здания.
При необходимости этот расход может быть уточнен по расчету в приложении 7.
|
Ширина большей створки двери (5) по рис. 1, м |
Жилые здания. Расход воздуха кгс/ч |
Другие здания. Расход воздуха кгс/ч |
|
0,6 |
5800 + 225∙(N - 1) |
- |
|
0,9 |
7140 + 250∙(N - 1) |
9960 + 250∙(N - 1) |
|
1,2 |
8125 + 275∙(N - 1) |
11675 + 275∙(N - 1) |
|
1,8* |
- |
15600 + 550∙(N - 1) |
_______________
* При двух дверях для выхода из коридора на лестничные клетки.
1.5. Расход воздуха через неплотности наружных ограждений помещений на 1-м этаже, по 100 кгс/ч на каждое:
|
(5) |
1.6. Расход воздуха через неплотности наружных ограждений помещений на всех этажах выше 1-го, кгс/ч:
а) для жилых зданий:
б) для других зданий:
где: nкв, nпом - число квартир и помещений в среднем на каждом этаже;
N - число этажей здания.
1.7. Расход воздуха через вытяжной клапан "13" (рис. 5) Gк = 3000 кгс/ч.
1.8. Давление воздуха, Па, создаваемое вентилятором, подающим воздух в лифтовые шахты:
где: ΔРс - потери давления в сети воздуховодов, присоединяющих вентиляторы к лифтовым шахтам, Па;
Рш.1 - давление воздуха в лифтовой шахте на 1-м этаже;
N и h - число этажей и высота этажа, м.
1.9. Для жилых домов с лифтами отечественного производства, поставлявшихся в 1980 - 1994 годах, давление воздуха в лифтовой шахте на 1-м этаже рекомендуется определять по табл. 3. При этом давлении весь расход воздуха, определенный по формуле (1), выходит из лифтовых шахт по схемам на рис. 4 и 5.
|
Число квартир на этаже |
Число открытых дверей в шахте |
Рш.1, Па, при числе этажей в здании |
|||||||
|
11 |
13 |
15 |
17 |
19 |
21 |
23 |
25 |
||
|
4 |
1 |
167 |
159 |
151 |
143 |
135 |
128 |
121 |
114 |
|
2 - 3 |
105 |
102 |
100 |
98 |
92 |
86 |
78 |
71 |
|
|
8 |
1 |
177 |
168 |
160 |
152 |
143 |
131 |
119 |
108 |
|
2 - 4 |
110 |
107 |
105 |
102 |
97 |
86 |
74 |
63 |
|
При поставках лифтов отечественного или иностранного производства других конструкций или габаритов давление воздуха в лифтовой шахте на 1-ом этаже, Рш.1, должно быть дополнительно определено экспериментально или рассчитано по данным о площадях и конструкциях закрытых и открытых дверей лифтовых шахт. Следует учесть также, что часть воздуха может выходить через вентиляционные решетки кабин лифтов.
1.10. Давление воздуха на верхнем этаже лестничной клетки, Па
1.11. Давление воздуха на дверь 5 рис. 1, при известном давлении на верхнем этаже лестничной клетки, при расчетных наружных условиях, определяется по формуле, Па:
В формулах (9) и (10) Рк - по формуле (9), Рв - по формуле (4); N и h - число этажей и высота этажа в м.
1.12. Для удаления дыма из лестничной клетки, попавшего туда при запаздывании включения приточного вентилятора, предусмотрена решетка в верхней части лестничной клетки, рассчитанная на удаление 3000 кгс/ч воздуха. Площадь свободного сечения решетки при открытом клапане м2, определяется по формуле:
где: ζ - коэффициент местного сопротивления прохода воздуха через решетку и далее наружу;
ΔРкл - разность давлений в верхней части лестничной клетки и наружного воздуха у наветренного фасада, определяется по формулам:
при открытых всех дверях лифтовых шахт на 1-ом этаже:
при открытой 1-й двери:
где: N - число этажей в здании.
1.13. Воздух, выходящий из лифтовых шахт, по схемам на рис. 4 и 5 достаточно равномерно заполняет лестничную клетку по всей ее высоте. Поэтому, если в общественном или административном здании возникает необходимость разделить лестничную клетку ЛЛУ планировки Б на отсеки по схеме на рис. 2, то для этого не требуется изменений в приведенных расчетах, за исключением включения в расчет дополнительной вытяжной решетки по пункту 1.12 для каждого отсека.
Устройство отсеков для производственных зданий по схеме на рис. 2 б или 3 требует дополнительных расходов воздуха и, соответственно, дополнительных расчетов (см. раздел 3).
1.14. ЛЛУ планировок Б могут снабжаться наружным воздухом также от приточных установок, размещенных в 1-м этаже или в подвале здания. При этом воздух подается в лифтовой холл 3 на 1-м этаже (рис. 4) и далее через открытые двери лифтовых шахт на этом этаже поступает в лифтовые шахты, а затем по схеме на рис. 4 питает лестничную клетку, уходит через неплотности дымовой шахты и неплотности наружных ограждений помещений.
Питание выходной двери происходит непосредственно из лифтового холла на 1-м этаже.
1.15. Размещение приточных установок внизу весьма желательно, т.к. с большей степенью гарантий обеспечивает подачу в здание незадымляемого наружного воздуха. Дымовые газы при пожаре уходят вверх и при размещении приточных установок на кровле или на верхнем техническом этаже весьма вероятно попадание дыма в приемные камеры этих установок и далее в защищаемые объекты здания.
Приточные противодымные установки чрезвычайно просты. Они состоят из вентилятора, обычно осевого, и приемного клапана, автоматически открывающегося при пуске вентилятора, поэтому размещение их не представляет трудностей, но защита от попадания в них дыма всегда должна приниматься во внимание.
1.16. Для предварительных решений по размещению установок приточной противодымной вентиляции в зданиях, главным образом в жилых домах, (для которых СНиПы не требуют деления лестничных клеток на "отсеки" - см. "Общие положения" Пособия), и составления эскизных проектов в табл. 5 представлены результаты расчетов для ЛЛУ планировки Б в 10, 13 и 25-ти этажных зданиях. Расчеты выполнены по формулам (1) - (13) по аналогии с примером 1 для максимальной расчетной скорости ветра 5 м/с.
1.17. Разность давлений воздуха на верхних этажах лестничной клетки равна 82 Па для 25-ти этажного здания, что почти в 2 раза ниже нормируемой СНиП разности давлений по обе стороны двери 5 (рис. 1) в коридоре 150 Па. Из этого следует, что даже для 25-ти этажного здания, при максимальной нормируемой расчетной скорости ветра 5 м/с делить лестничную клетку на отсеки, при подаче приточного воздуха через лифтовые шахты не нужно.
При минимальной расчетной скорости ветра 1 м/с расход воздуха уменьшается только по 1-му пункту табл. 5 на вход в здание. При двери 0,97×2,2 м расход уменьшается на 9400 кгс/ч, а при двери 1,2×2,4 - на 12700 кгс/ч. При других расчетных скоростях ветра поправку можно получить интерполяцией.
1.18. При относительно больших расходах воздуха, необходимых для защиты лестничной клетки при эвакуации людей из здания и небольших давлениях, для подачи воздуха целесообразно применять осевые вентиляторы. Из изготовляемых в России осевых вентиляторов серии 06 - 300 наиболее высоконапорным является вентилятор № 8 при скорости вращения 1430 об/мин. Более высокопроизводительные, но низконапорные вентиляторы № 12,5 рекомендуется устанавливать по два последовательно.
Пример 1. Планировка Б. Жилой 17-ти этажный дом, в г. Москве; tн = -25 °C; ветер 4 м/с.
Рассчитать расход воздуха для защиты незадымляемой лестничной клетки 2-го типа с двумя лифтами. На каждом этаже 4 квартиры.
а) По формуле (4) рассчитываем давление воздуха в вестибюле:
Рв = 0,7∙42∙1,423 + 20 = 36 Па.
б) Определяем расход воздуха через наружные двери по формуле (3), при Z-образном тамбуре и площади двери 2,2 м2:
Gдв.1 = 2075∙2,2∙360,5 = 27390 кгс/ч,
скорость воздуха в дверях 2,5 м/с, ρ = 1,4 кг/м3.
в) По таблице 2 определяем расход воздуха на дымоудаление, при ширине двери 5 по рис. 1 равной 0,6 м, для 17-ти этажного дома
Gдв = 5800 + 225∙(17 - 1) = 9400 кгс/ч.
г) Расход воздуха через неплотности ограждений:
на 1-м этаже 100∙4 = 400 кгс/ч, по формуле (5);
на 2 - 17 этажах (720 + 10,7∙6)∙16 = 12547 кгс/ч, по формуле (6).
д) Расход воздуха через клапан 13 рис. 5 3000 кгс/ч.
е) Общий расход воздуха по формуле (1):
Gоб = 27390 + 9400 + 400 + 12550 + 3000 = 52740 кгс/ч
при температуре воздуха -25 °С:
Gоб = 52740/1,423 = 37000 м3/ч
или 43950 м3/ч при ρ = 1,2 кг/м3.
52740 кгс/ч воздуха подается в верхнюю часть лифтовых шахт, из которых приблизительно 50 % поступает в вестибюль, а остальные - выходят через неплотности закрытых дверей лифтовых шахт, причем большая их часть поступает в лестничную клетку.
Из вестибюля 27390 кгс/ч выходит наружу через открытую дверь, 9400 + 3000 = 12400 кгс/ч уходит через системы вытяжной вентиляции, а остальные - через неплотности наружных ограждений здания. Лестничная клетка, как это следует из приведенных расчетов и схем движения воздуха на рис. 4 и 5, питается воздухом практически по всей ее высоте. Двери из лифтовых холлов на лестничную клетку открыты для эвакуации людей из здания.
Давление воздуха на 17 этаже лестничной клетки по формуле (9) будет:
Рк = 36 + 1,0∙3∙17 = 90 Па,
а давление на дверь 5 (рис. 1) на 17 этаже лестничной клетки по формуле (10):
Рдв.5 = 90 - [3463/(273 - 25) - 11,8]∙17∙3,0 = 18 Па.
Давление воздуха на 1-м этаже в лифтовой шахте, по таблице 3 при 2-х открытых дверях шахты - 98 Па, а давление, которое должен обеспечить вентилятор, при потерях на его присоединение к лифтовой шахте 80 Па, составит:
Рш = 80 + 90 + 1,0∙3∙17 = 221 Па.
Осевой вентилятор серии 06-300 № 10 может обеспечить подачу 43950/2 = 22000 м3/ч воздуха при давлении 250 Па и 960 об/мин на одном валу с электродвигателем 3 кВт. К установке принимаем 2 таких вентилятора для параллельной работы.
Рис. 5. Планировка Б - схема распределения воздуха по этажам
1 - наружная
дверь; 2 - незадымляемая лестничная клетка 2-го типа; 3 -
лифтовый холл;
4 - коридор; 5 - открытая дверь; 6 - шахта дымоудаления; 7
- закрытая дверь;
8 - квартира; 9 - вестибюль; 10 - лифтовая шахта; 11
- закрытые окна;
12 - дымовой клапан; 13 - вытяжной клапан.
2.1 Рассматривается подача всего приточного воздуха в ЛЛУ планировки Б в верхнюю часть лестничной клетки, откуда часть воздуха поступает в лифтовую шахту. Ограничение расчетной скорости ветра до 5 м/с делает возможным существенно упростить расчеты и уже в начале установить наличие или отсутствие необходимости разделения лестничной клетки на отсеки пользуясь формулой (10), определить давление на дверь 5 (рис. 1). Здесь под № 14 повторяется упомянутая формула (10), поскольку изменяется расчет входящих в нее величин:
где: Рк - давление в верхней части лестничной клетки:
|
(15) |
|
|
при 3-х лифтах Рк = 1,56∙Рв + 0,933ΔРк,ш + (N - 1)∙h∙(γн - γк) |
(16) |
|
при 4-х лифтах Рк = 1,4∙Рв + 0,947ΔРк,ш + (N - 1)∙h∙(γн - γк) |
(17) |
Рв - по формуле (4);
N, h - число этажей и высота этажа;
γн - γк - разность удельных весов наружного воздуха и воздуха, заполняющего лестничную клетку и лифтовую шахту, Н/м3, принимаемая по табл. 4.
|
gн - gк |
1,7 |
1,5 |
1,1 |
0,85 |
0,7 |
0,56 |
|
tн °С |
-45 |
-35 |
-25 |
-15 |
-10 |
-5 |
|
tк. ш °С |
-16 |
-7,5 |
-4 |
-2.5 |
+4 |
+8 |
2.2. При ΔРдв.5 = 150 Па рассчитывают однозональную противодымную вентиляцию для ЛЛУ, кроме производственных зданий, определяя расход воздуха для входной двери в здание по формулам (2) или (3), расход воздуха на дымоудаление по табл. 2 или по приложению 7 и расход воздуха через неплотности наружных ограждений 1-го этажа по формуле (5).
Расход воздуха, выходящего через неплотности лифтовых шахт и далее уходящий из здания через неплотности его ограждений определяется по формуле (18) в табл. 5.
|
tн °С |
Число помещений на этаже |
Формула (18) |
10 - 14 эт. |
15 - 20 эт. |
21 - 27 эт. |
|||
|
Go |
К |
Go |
К |
Go |
К |
|||
|
-45 |
|
Gш = Gср∙(N - 1) где: Gср = Gо + К∙Рш.1 |
1600 |
6 |
1580 |
7,1 |
- |
- |
|
-25 |
16 |
1400 |
10,5 |
1380 |
7,6 |
- |
- |
|
|
-5 |
|
1200 |
7,0 |
1030 |
9,2 |
- |
- |
|
|
-45 |
|
1230 |
7,0 |
1300 |
6,3 |
1440 |
6,2 |
|
|
-25 |
8 |
1150 |
6,3 |
1030 |
7,7 |
1200 |
7,4 |
|
|
-5 |
|
880 |
7,5 |
890 |
8,1 |
1100 |
7,7 |
|
|
-45 |
|
580 |
7,7 |
1000 |
6,0 |
1220 |
5,0 |
|
|
-25 |
4 |
510 |
7,9 |
860 |
6,8 |
1050 |
6,0 |
|
|
-5 |
|
510 |
7,4 |
680 |
8,0 |
900 |
6,5 |
|
2.3. Давление воздуха в лифтовой шахте на 1-ом этаже:
|
(19) |
|
|
(20) |
|
|
(21) |
где: Рв - давление воздуха в вестибюле по формуле (1);
ΔРк.ш - разность давлений воздуха в верхней части лифтовой шахты и лестничной клетки, Па, принимается достаточной для пропуска воздуха в лифтовые шахты 50 Па и более.
2.4. Расход приточного воздуха Gк кгс/ч, в лестничную клетку определяется по формуле:
в зависимости от давления воздуха в лифтовой шахте на 1-ом этаже, определяемого по формулам (19), (20) и (21) и от разности давлений в верхней части лестничной клетки и лифтовой шахты ΔРк.ш, принимаемой в расчет от 50 Па и более.
Значение величии Go и К1 для формулы (22) определяется по табл. 6.
|
Рш.1 |
Число этажей и число лифтов |
Go |
К1 |
Рш.1 |
Число этажей и число лифтов |
Go |
К1 |
|
120 |
10 - 14 эт. |
23000 |
128 |
130 |
15 - 20 эт. |
18200 |
114 |
|
105 |
2 лифта |
22200 |
128 |
105 |
3 лифта |
17400 |
124 |
|
90 |
|
21300 |
128 |
80 |
|
16600 |
130 |
|
75 |
|
20400 |
128 |
55 |
|
16300 |
120 |
|
60 |
|
19600 |
128 |
30 |
|
15800 |
114 |
|
130 |
10 - 14 эт. |
20000 |
112 |
140 |
21 - 27 эт. |
17900 |
108 |
|
105 |
3 лифта |
19800 |
96 |
115 |
3 лифта |
17850 |
93 |
|
80 |
|
19100 |
82 |
90 |
|
17800 |
84 |
|
30 |
|
16700 |
130 |
65 |
|
16750 |
95 |
|
120 |
15 - 20 эт. |
19700 |
144 |
140 |
21 - 27 эт. |
17800 |
84 |
|
105 |
2 лифта |
18800 |
140 |
110 |
4 лифта |
16750 |
95 |
|
90 |
|
17900 |
138 |
80 |
|
15700 |
106 |
|
75 |
|
16800 |
138 |
50 |
|
15000 |
115 |
|
60 |
|
15800 |
144 |
20 |
|
14300 |
124 |
Пример 2. Административное здание с ЛЛУ планировки Б, 17 этажей, г. Москва. В секции 2 лифта и 8 помещений на каждом этаже. Воздух подается в верхнюю часть лестничной клетки 2-го незадымляемого типа и оттуда отводится в лифтовые шахты, в верхнюю их часть. Высота этажа 3,3 м. Принята максимальная скорость ветра 5 м/с.
Решение. По формуле (14) определяем давление на дверь 5 на 17 этаже лестничной клетки, вначале определив давление в лестничной клетке по формуле (15):
Рк = 2∙45 + 0,9∙50 + 16∙3,3∙1,1 = 193 Па,
и найдя по формуле (4) давление воздуха в вестибюле:
Рв = 0,7∙52∙1,423 + 20 = 45 Па,
задавшись разностью давлений в верхней части лестничной клетки и лифтовой шахты ΔРк.ш = 50 Па.
При этих условиях по формуле (14):
ΔРдв.5 = 193 - 17∙3,3∙[3463/248 - 11,8] = 71,6 Па,
что существенно меньше допустимых 150 Па.
Проектируем однозональную лестничную клетку. Руководствуясь порядком слагаемых в формуле (1) определяем расход воздуха, удаляемого через наружную дверь здания по формуле (3):
Gдв.1 = 2075∙2,2∙450,5 = 30600 кгс/ч.
По табл. 2, при ширине большей створки двери 5 рис. 1 равной 0,9 м, находим расход воздуха для удаления дыма из коридора на этаже пожара:
G = 9960 + 250∙16 = 13960 кгс/ч.
Расход воздуха через неплотности ограждений 1-го этажа находим по формуле (5):
G1.э = 100∙8 = 800 кгс/ч.
Расход воздуха через неплотности наружных ограждении 2 - 17 этажей определяем по формуле (18) и табл. 5, предварительно по формуле (19) рассчитав давление воздуха на 1-ом этаже лифтовых шахт:
Рш.1 = 2∙45 - 0,1∙50 = 85 Па.
При этом по формуле (18) имеем:
Gш = (1380 + 7,6∙85)∙(17 - 1) = 32416 кгс/ч.
Расход воздуха в лестничную клетку определяется по формуле (22) и табл. 6:
Gк = 16800 + 1100∙10/15 + 138∙(85 - 50) = 22363 кгс/ч.
Общий расход воздуха по ЛЛУ составит:
Gоб = 30600 + 13960 + 800 + 32416 + 22363 = 100139 кгс/ч.
Давление, которое должен обеспечить вентилятор при производительности 100139/1,2 = 83450 м3/ч равно давлению Рк = 193 Па плюс потери в системе от места приема наружного воздуха до присоединения воздуховода к лестничной клетке ΔРс Па.
Расход приточного воздуха для лестничных клеток и лифтовых
шахт
10, 18 и 25-ти этажных жилых домов при планировке ЛЛУ Б,
потери давления и оборудование (ориентировочно)
|
Статьи расхода воздуха, кгс/ч |
10 |
18 |
25 этажей |
||
|
1. Вход в здание с Z-образным тамбуром при ширине большей створки двери: |
|
|
|
|
|
|
0,97, высота 2,2 м |
29700 |
- |
29700 |
- |
- |
|
1,2, " 2,4 м |
- |
40088 |
- |
40088 |
40088 |
|
2. Двери из коридора на лестничную клетку: |
|
|
|
|
|
|
0,6×2,0 м |
5800 |
- |
5800 |
- |
|
|
0,9×2,2 м |
- |
8336 |
- |
8336 |
8336 |
|
3. Подсосы воздуха через закрытые дымовые клапаны, |
|
|
|
|
|
|
кгс/ч |
3775 |
5372 |
9200 |
13454 |
25776 |
|
4. Расход воздуха через неплотности ограждений квартир: |
|
|
|
|
|
|
на 1-м этаже |
400 |
400 |
400 |
400 |
400 |
|
на остальных этажах |
8354 |
8354 |
17345 |
17345 |
26345 |
|
5. Расход воздуха через открытый клапан на лестничной клетке |
3000 |
3000 |
3000 |
3000 |
3000 |
|
6. Общий расход, кгс/ч |
51000 |
65550 |
65445 |
82623 |
100945 |
|
м3/ч |
42500 |
54600 |
54600 |
38850 |
84120 |
|
% % |
100 |
129 |
129 |
162 |
198 |
|
7. Потери давления, Па |
|
|
|
|
|
|
- присоединение вентилятора |
100 |
100 |
100 |
100 |
100 |
|
- потери в лестничной клетке |
33 |
33 |
59 |
59 |
82 |
|
- потери в лифтовой шахте при двух открытых дверях |
100 |
100 |
102 |
102 |
71 |
|
8. Общие потери давления |
200 |
200 |
202 |
202 |
171 |
|
Осевые вентиляторы № 8, при 1430 об/м, 3 кВт, шт. |
3 |
3 |
4 |
4 |
- |
|
№ 12,5 при 720 об/м, последовательно по два, пар |
- |
- |
- |
- |
3 |
3.1. Планировка ЛЛУ (рис. 1) В отличается от планировки Б наличием отдельного входа на лестничную клетку (дверь 5) и лифтовой холл (дверь 7).
В общественных, административных и производственных зданиях часто лифтовой холл сообщается с коридором открытым проемом и дверь 7 не устраивается.
В этом случае воздух из лифтовых шахт, через неплотности закрытых дверей лифтовых шахт поступает на лестничную клетку через коридор 4 и открытую дверь 5. При этих условиях планировка В, с открытым проемом в лифтовой холл, может рассчитываться как изложено выше в разделах 1 и 2.
Ниже приводиться расчет планировки В при наличии двери 7, которая при пожаре закрыта.
3.2. Согласно п. 2.39 СНиП 2.09.02-85* "Незадымляемые лестничные клетки 2-го типа должны разделяться на высоту двух маршей противопожарной перегородкой через каждые 20 м и в зданиях категории В с переходом из одной части лестничной клетки в другую вне объема лестничной клетки" - по схеме на рис. 2 б; расчет давлений и расходов воздуха начинается с нижней зоны.
Давление воздуха в вестибюле определяется по формуле (4).
Разность давлений на уровне рассечки ΔРк.ш между давлением в лестничной клетке Рк и лифтовой шахты Рш принимается от 50 Па и более.
3.3. По формуле (23) определяется давление в лифтовой шахте на 1-ом этаже Рш.1, причем, коэффициенты А, В и С принимаются по табл. 8:
При числе этажей в нижнем отсеке лестничной клетки более 10 необходимо проверять давление на дверь 5 (рис. 1) на верхнем этаже нижнего отсека по формуле (14).
|
Число этажей в зоне |
2 лифта |
3 лифта |
4 лифта |
||||||
|
А |
В |
с |
А |
В |
С |
А |
В |
С |
|
|
5 |
10,0 |
1,6 |
0,6 |
7,5 |
1,52 |
0,66 |
5 |
1,44 |
0,7 |
|
7 |
12,5 |
1,72 |
0,47 |
8,5 |
1,58 |
0,5 |
5 |
1,44 |
0,52 |
|
9 |
15,0 |
1,84 |
0,33 |
10,0 |
1,64 |
0,35 |
5 |
1,44 |
0,35 |
|
11 и более |
25,0 |
1,9 |
0,22 |
15,0 |
1,7 |
0,2 |
5 |
1,44 |
0,18 |
3.4. Общий расход воздуха для нижней часта здания (до рассечки) определяется по формуле (24) на основании среднего расхода на каждый этаж здания со 2-го по верхний этаж нижней зоны по таблице 9.
где: Nз - число этажей в нижней зоне;
Gдв.1 и Gдм - по предыдущему.
Средний расход воздуха на каждый этаж нижней зоны здания
со второго по верхний Gоб.нз, кгс/ч, при планировке В
|
DРк.ш, Па на уровне рассечки |
Значение Gcp, кгс/ч, при Рш.1, Па |
|||||
|
30 |
60 |
90 |
120 |
150 |
180 |
|
|
150 |
1910 |
2165 |
2400 |
2640 |
2900 |
3140 |
|
45 |
1890 |
2100 |
2330 |
2580 |
2720 |
2920 |
|
25 |
1820 |
2070 |
2300 |
2560 |
2700 |
2900 |
|
-20 |
1560 |
1800 |
2070 |
2320 |
2570 |
1860 |
3.5. Часть общего расхода для нижней зоны Gоб.нз, которую нужно подать в нижнюю зону лестничной клетки Gк.нз определяется по табл. 10, а часть направляемого в лифтовую шахту, находится по разности:
|
DРк.ш |
Часть общего расхода воздуха, которую нужно подать в нижнюю зону лестничной клетки Gк.нз, кгс/ч |
|||
|
5 этажей |
7 этажей |
9 этажей |
11 эт. и более |
|
|
100 |
- |
29000 |
27000 |
25500 |
|
|
- |
- |
- |
- |
|
90 |
- |
27500 |
26000 |
24500 |
|
|
- |
- |
- |
- |
|
80 |
26500 |
26000 |
24500 |
23500 |
|
|
- |
- |
- |
- |
|
70 |
23500 |
24500 |
23300 |
22000 |
|
|
- |
- |
- |
- |
|
60 |
24000 |
23200* |
22000 |
20500 |
|
|
- |
28000 |
26500 |
25500 |
|
50 |
23000 |
21600 |
20000 |
19000 |
|
|
|
27000 |
25500 |
24500 |
|
40 |
21000 |
20000 |
18000 |
17500 |
|
|
27500 |
26500 |
24500 |
23000 |
_______________
* Верхняя строка - при давлении Рш.1 = 30 Па, нижняя створка - при давлении Рш.1 = 110 Па; принимается с помощью линейной интерполяции.
3.6. Давление в верхней части нижней зоны лестничной клетки на уровне рассечки:
где: Рш.1 - по формуле (23);
ΔРк.ш = Рк.нз.в - Рш.нз.в;
(γн - γк) - разность удельных весов воздуха по табл. 4.
3.7. Давление воздуха в верхней части верхней зоны лестничной клетки:
Nэ - число этажей в зоне.
3.8. Расход воздуха для верхней части лестничной клетки:
3.9. Расход воздуха для верхней зоны лифтовой шахты, кгс/ч:
3.10. Общий расход воздуха, подаваемого в лифтовые шахты:
|
(30) |
3.11. Общий расход воздуха, подаваемого в лестничную клетку:
|
(31) |
3.12. При переходах из одной зоны лестничной клетки в другую по схеме на рис. 2 б вне объема лестничной клетки, как это требуется по СНиП 2.09.02-85*, в верхней части нижнего отсека и в нижней части верхнего отсека лестничной клетки устраиваются двери, соединяющие лестничную клетку с коридором. Давление воздуха у двери нижнего отсека лестничной клетки определяется по формуле (27). Противодавление со стороны коридора определяется разностью удельных весов наружного и внутреннего воздуха на уровне двери этого отсека. При давлении со стороны лестничной клетки
где: hз - высота нижней зоны, м.
Расход воздуха через открытую дверь при этом давлении рассчитывается по формуле (2).
Рассматривая переход из одного отсека лестничной клетки в другой через коридор (рис. 2 б) как тамбур-шлюз с одной открытой дверью, дополнительный расход воздуха на переходе допускается принять по п. 5.16 СНиП, исходя из указанной и там скорости воздуха в открытой двери 1,3 м/с.
Расход воздуха на дверь минимальных размеров 0,7∙2 = 1,4 м2 составит:
Gдв = 1,4∙1,3∙1,423∙3600 = 9323 кгс/ч.
3.13. Давление, которое должен обеспечить вентилятор:
а) для лифтовых шахт:
б) для верхней зоны лестничной клетки:
в) для нижней зоны лестничной клетки:
где: ΔРс - потери в сети воздуховодов обвязки вентилятора, Па;
Рш - давление воздуха в лифтовой шахте, Па;
Nзд, h - число этажей и высота этажа;
(γн - γш) - разность удельных весов, определяемая по табл. 4
Пример 3. Рассчитать подачу приточного воздуха в 10-ти этажное производственное здание с планировкой ЛЛУ В. По пожарной опасности здание относится к категории В, поэтому в соответствии с п. 2.39 СНиП 2.09.02-85* "Незадымляемые лестничные клетки 2-го типа должны разделяться на высоту двух маршей противопожарной перегородкой через каждые 20 м и в зданиях категории В с переходом из одной части лестничной клетки в другую вне объема лестничной клетки". Согласно этому требованию предусматриваем огнестойкую перегородку лестничной клетки - "рассечку" между 5-м и 6-м этажами по схеме на рис. 2 б. Высота каждого "отсека" 4∙5 = 20 м.
Число лифтов в здании - 2. Расчетная температура наружного воздуха -25 °С, ветер 5 м/с.
Решение.
а) По формуле (4) рассчитываем давление воздуха в вестибюле:
Рв = 0,7∙52∙1,423 + 20 = 45 Па.
б) Определяем расход воздуха через наружные двери по формуле (3), при Z-образном тамбуре и площади двери 2,2 м2:
Gдв.1 = 2075∙2,2∙450,5 = 30600 кгс/ч.
в) Расход воздуха для удаления дыма системой вытяжной вентиляции принимаем по таблице 2:
Gдм = 9960 + 250∙9 = 12210 кгс/ч.
г) Разность давлений между лестничной клеткой Рк и лифтовой шахтой Рш на уровне рассечки ΔРк.ш = Рк - Рш = 50 Па и по формуле (23) находим давление воздуха в лифтовой шахте на 1-м этаже:
Рш.1 = 10 + 1,6∙45 - 0,6∙50 = 52 Па.
д) Расход воздуха, подаваемого в нижнюю часть здания определяем по формуле (24) интерполируя значение Gоб по табл. 9:
Gоб.нз = 1966∙(5 - 1) + 30600 + 12210 = 50674 кгс/ч.
е) Часть общего расхода воздуха, которую необходимо подать в нижнюю зону лестничной клетки Gк.нз = 23000 кгс/ч определяем по табл. 10 при Рк.ш = 50 Па, а часть, направляемую в лифтовую шахту, находим по формуле (25):
Gш.нз = 50674 - 23000 = 27674 кгс/ч.
ж) Давление воздуха в верхней части нижнего отсека лестничной клетки по формуле (26):
Рк.нз.в = 52 + 50 - 5∙4∙1,1 = 80 Па.
и) Давление наружного воздуха на дверь лестничной клетки в верхней зоне нижнего отсека, по формуле (31а):
Рдв = 80 - h∙(3463/248 - 11,8) = 37 Па.
Расход воздуха через эту дверь при полном открытии и площади двери 1,4 м2 будет равен:
Gдв.нз = 2875∙1,4∙370,5 = 24480 кгс/ч.
Согласно п. 5.16 СНиП "Расход воздуха, подаваемого в тамбур-шлюз, работающий при пожаре с одной открытой дверью в коридор... следует определять расчетом или по скорости 1,3 м/с в проем двери", (см. п. 3.12), что в данном случае составит:
G = 1,3∙1,4∙1,423∙3600 = 9323 кгс/ч.
к) Учитывая непостоянное и неполное открывание двери 5 в расчет принимаем расход по п. 5.16 СНиП 9323 кгс/ч, составляющий 38 % от полученного по п. "и" расчета. Общий приток воздуха в нижний отсек лестничной клетки составит:
Gк.нз = 23000 + 9323 = 32323 кгс/ч.
л) Давление в верхней части верхнего отсека по формуле (27):
Рк.вз.в = 80 - 0,03∙52 + (5 - 5) = 78,5 Па.
По формуле (28) определяем расход воздуха, подаваемого в верхний отсек лестничной клетки:
Gк.вз = 11500 + 44∙78,5 - 21∙(52 - 235) + 1060∙(5 - 5) = 18797 кгс/ч.
Кроме того следует учесть расход через дверь в нижней части верхнего отсека, по предыдущему п. 5.16 СНиП 9323 кгс/ч.
м) Общий расход воздуха, подаваемого в лестничную клетку равен:
Gк.о = 32323 + 18797 + 9323 = 60423 кгс/ч.
н) Всего в ЛЛУ требуется подать:
Go = 60423 + 27674 = 88097 кгс/ч.
4.1. Приточная противодымная вентиляция с нижней подачей воздуха по схеме на рис. 6 для ЛЛУ Г может применяться для производственных и жилых зданий. Лифтовые холлы и лифтовые шахты здесь отдалены от лестничных клеток. Из вестибюля имеются два выхода наружу, но при пожаре используется только выход из лестничной клетки - 8 по рис. 1.
4.2. Расход воздуха, подаваемого в лифтовые шахты, рассчитывается по балансу с удаляемым воздухом по формуле:
где: Gн.д - расход воздуха, кгс/ч, через неплотности закрытой двери 9 (рис. 1) из лифтового холла, рассчитывается по формуле:
Рх.1 ≅ Рк.1 - давление воздуха в лифтовом холле на 1-м этаже, приблизительно равное давлению в лестничной клетке на 1-м этаже, Па;
Gх.1 - расход воздуха, поступающего из лифтового холла 3, в коридор 10 на 1-м этаже равен 340 кгс/ч;
Gcp - средний по зданию расход воздуха, поступающего из лестничной клетки и лифтовых шахт во все квартиры или помещения на 2-м этаже и выше и уходящий из здания через неплотности наружных ограждений:
|
(37) |
|
|
(38) |
nк, nп - среднее число квартир или помещений на каждом этаже кроме 1-го;
Кш = 0,57 - доля расхода воздуха, поступающего из лифтовых шахт.
4.3. Расход воздуха, который следует подать в лестничную клетку:
где: Gд.1 - расход воздуха, удаляемый через наружные двери 8, определяемый по формулам (2) или (3);
Gдм - расход воздуха, удаляемый системой дымоудаления, определяемый по таблице 2 или по приложению 7;
Gк - расход воздуха через вытяжной клапан "4" рис. 6 из верхней части лестничной клетки, принимается 3000 кгс/ч;
Gcp - по формулам (37) или (38);
Кш - как для формулы (35).
Рис. 6. Лестнично-лифтовой узел планировки Г - схема распределения воздуха
1 - приток в
лестничную клетку; 2 - приток в лифтовую шахту; 3 - воздух,
поступающий в эвакуационный выход; 4 - вытяжка из лестничной клетки;
5 - удаление дыма из коридоров; 6 - воздух, уходящий через дверь
лифтового холла;
7 - воздух из лестничной клетки в коридор; 8 - воздух из лифтовой
шахты в коридор;
разность расходов 8 и 9 уходит через неплотности наружных
ограждений здания.
4.4. Давление воздуха, подаваемого в лестничную клетку и в лифтовую шахту, определяется по формуле:
где: ΔРс - потери давления от места приема наружного воздуха до присоединения воздуховодов к лестничной клетке или лифтовой шахте, Па;
Рв - давление воздуха в вестибюле, определяемое по формуле (4);
Vρн - массовая скорость воздуха при входе в лестничную клетку, кгс/с∙м2;
ρн - плотность наружного воздуха кг/м3;
N - число этажей в здании.
Приточный воздух рекомендуется подавать от общей вентиляционной системы для лестничной клетки и лифтовой шахты.
4.5. Площадь свободного сечения вытяжной решетки в лестничной клетке определяется по формуле (11), при ΔРкл - по таблице 11.
|
Число этажей |
11 |
13 |
15 |
17 |
19 |
21 |
23 |
25 |
|
жилые здания DРкл |
53 |
58 |
65 |
70 |
74 |
78 |
82 |
87 |
|
другие здания DРкл |
46 |
48 |
50 |
56 |
49 |
46 |
42 |
38 |
Пример 4. Рассчитать расходы и давления воздуха для 17-ти этажного жилого дома в г. Брянске. Планировка ЛЛУ Г, в секции дома 2 лифта и 8 квартир на этаже. Высота этажа 2,8 м. Расчетная температура наружного воздуха в холодный период года -25 °С, скорость ветра 6 м/с, в расчет принимается согласно СНиП 5 м/с. По схеме на рис. 6, на которой приведено распределение воздуха по зданию при испытаниях аналогичного дома в г. Москве, приточный воздух подается от общей вентиляционной установки в нижнюю часть лестничной клетки и лифтовой шахты.
Решение.
а) Определяем давление воздуха на 1-ом этаже в вестибюле, в лифтовом холле и лестничной клетке по формуле (4):
Рв = 0,7∙52∙1,423 + 20 = 44,9 Па.
б) Тогда расход воздуха через закрытую наружную дверь 9 рис. 1 по формуле (36) равен:
Gн.д = 171,4∙44,90,5 = 1150 кгс/ч.
Расход воздуха из лифтового холла в коридорах Gх.1 = 340 кгс/ч
в) Средний по зданию расход воздуха, поступающего на все этажи и уходящий наружу определяется по формуле (37):
Gср = [1080 - 67,5∙(8 - 8)]∙(17 - 1) = 17280 кгс/ч.
г) Расход воздуха для лифтовых шахт по формуле (35):
Gш = 340 + 1150 + 17280∙0,57 = 11340 кгс/ч.
д) Расход воздуха, выходящего из лестничной клетки через наружные двери эвакуационного выхода площадью большей створки 2,2 м2 при Z-образном тамбуре, по формуле (3):
Gд.1 = 2075∙2,2∙44,90,5 = 30590 кгс/ч.
е) Расход воздуха для удаления дыма принимаем по примеру в приложении 7: 9210 кгс/ч.
ж) Расход воздуха через вытяжной клапан по данным испытаний 3000 кгс/ч.
и) Всего воздуха для лестничной клетки по формуле (39):
Gк = 30590 + 9210 + 3000 + 17280∙0,43 = 50230 кгс/ч.
Из них по лестничной клетке проходит в среднем
G = 3000 + 0,43∙17280 = 10430 кгс/ч.
Массовая скорость воздуха в основании лестничной клетки:
Vρн = 10430/(3600∙12) = 0,241 кг/(с∙м2).
к) Общий расход приточного воздуха по зданию:
Gоб = 11340 + 50230 = 61570 кгс/ч.
л) Давление воздуха, подаваемого в лестничную клетку, по формуле (40):
Рк = ΔРс + 44,9 + 55∙0,2412∙(17 - 1)/1,423 = ΔРс + 81 Па.
подаваемого в лифтовую шахту, по формуле (41):
Рш = ΔРс + 45 + 15 = ΔРс + 60 Па.
Для предварительных решений по размещению установок приточной вентиляции и составлению эскизных проектов можно пользоваться таблицей 5.
Пример 5. Рассчитать расходы и давления воздуха в 9-ти этажном производственном здании категории В, высотой 9∙3,3 = 29,7 м, в г. Брянске. Планировка ЛЛУ Г. Согласно п. 2.39 СНиП 2.09.02-85* "Незадымляемая лестничная клетка 2-го типа должна разделяться на высоту двух маршей глухой противопожарной перегородкой через 20 м с переходом из одной части лестничной клетки в другую ..." в данном случае по требованию пожнадзора - через наружную зону.
Размеры здания в плане 30 - 20 м с 12-тью помещениями на каждом этаже, имеющими выход в общий коридор. Объем помещений на этаже 30∙18∙4 = 2160 м3. Согласно табл. 2 СНиП 2.09.02-85* в зданиях 2-й степени огнестойкости расстояние от наиболее удаленного рабочего места до двери лестничной клетки, при плотности потока эвакуирующихся до трех человек на м2 допускается 60 м, что, в данном случае, обуславливает достаточность одной лестничной клетки. В здании три лифта.
Решение. Давление воздуха в вестибюле по предыдущему примеру принято 44,9 Па, расход воздуха через неплотности закрытой двери в вестибюле 1150 кгс/ч и расход через помещения 1-го этажа 340 кгс/ч.
Средний расход воздуха, уходящего через неплотности помещений наружу, по формуле (38):
Gcp = [1700 - 17∙(36 - 12)]∙(9 - 1) = 10340 кгс/ч.
Расход воздуха, подаваемого в лифтовые шахты, по формуле (35):
Gш = 1150 + 340 + 10340∙0,57∙6/8 = 5910 кгс/ч.
Расход воздуха через двери эвакуационного выхода из здания, при площади дверей 1,2∙2 = 2,4 м2 при прямом тамбуре по формуле (4):
Gдв = 2875∙2,4∙44,90,5 = 46235 кгс/ч.
Расход воздуха через дверь наружного перехода при ее площади 0,8∙2 = 1,6 м2:
Gдв.6 = 2875∙1,6∙44,90,5 = 30820 кгс/ч.
Расход воздуха дли удаления дыма при ширине створок двери 0,9 м по табл. 2:
Gдм = 9960 + 8∙250 = 11960 кгс/ч.
Общий расход воздуха в нижней части лестничной клетки:
Gоб = 46235 + 30820 + 10340∙0,43∙6/8 + 11960 = 92350 кгс/ч.
Расход воздуха через дверь наружного перехода на 7-м этаже:
Gдв.7 = 2875∙44,90,5∙1,6 = 30820 кгс/ч.
Расход воздуха через помещения 7, 8 и 9-го этажей и 3000 кгс/ч через решетку с клапаном в верхней части лестничной клетки с учетом расхода через дверь наружного перехода:
Gоб.в = 30820 +10340∙0,43∙3/8 + 3000 = 35490 кгс/ч.
Общий расход воздуха по зданию:
Gоб = 92350 + 35490 = 127840 кгс/ч.
Приточную систему следует рассчитать на производительность 127840/1,2 = 106500 м3/ч стандартного воздуха.
Вверх по лестничкой клетке, через ее основание площадью 12 м2 проходит расход воздуха, до рассечки:
30860 + 10340∙0,43∙6/8 = 34195 кгс/ч или 9,5 кгс/с,
при массовой скорости:
9,5/12 = 0,79 кгс/(с∙м2).
Сопротивление движению воздуха по формуле (40) будет:
Рк.н = ΔРс + 44,9 + 55∙0,792∙(6 - 1)/1,423 = ΔРс + 166 Па.
Через основание верхней части лестничной клетки проходит:
30860 + 10340∙3/8 + 3000* = 37740 кгс/ч или 10,5 кгс/с.
______________
* Освободить от случайно попавшего дыма в нижнюю часть лестничной клетки можно открыв двери наружного перехода в верхней части нижнего отсека.
Сопротивление движению воздуха в верхней части лестничной клетки по формуле (40), при массовой скорости воздуха 10,5/12 = 0,87 кгс/(с∙м2) составит:
Р = ΔРс + 44,9 + 55∙0,872∙(3 - 1)/1,423 = 105 Па.
Сопротивление движению воздуха по лифтовой шахте по формуле (41) будет:
Рш = ΔРс + 44,9 + 15 = ΔРс + 60 Па.
5.1. Приточная вентиляция для ЛЛУ планировки Д может применяться для жилых, общественных, административных и производственных зданий. Лифтовые холлы и лифтовые шахты в узле Д отделены от лестничных клеток, но имеют общий выход наружу (рис. 7), к которому во время пожара идут люди из лестничной клетки через тамбуры Т1, Т2 и Т3 наружу.
Двери лифтовых шахт на 1-ом этаже открыты только для прохода воздуха, из лифтовых шахт через тамбуры Т3 и Т4 наружу.
Воздух подается в верхнюю часть лифтовых шахт и лестничной клетки одной общей или отдельными установками, размещенными в верхней части здания.
В общественных, административных и производственных зданиях лестничные клетки 2-го незадымляемого типа должны разделяться на "отсеки", если давление воздуха на дверь 5 (рис. 1) на верхнем этаже может превысить 150 Па. В производственных зданиях деление на отсеки кроме того необходимо по требованию п. 2.39 СНиП 2.09.02-85*,... "через каждые 30 м по высоте в зданиях категорий Г и Д и 20 м в зданиях категории В (с переходом из одной части лестничной клетки в другую вне объема лестничной клетки)". Приточный воздух должен подаваться в каждый отсек такой лестничной клетки.
Приточный воздух подается в лифтовые шахты и лестничную клетку по балансу с расходами воздуха, удаляемого из здании.
5.2. Расчет расхода воздуха, поступающего из лифтовой шахты в лифтовой холл на 1-м этаже и далее в тамбуры Т2 и Т3 предварительно определяется по формуле:
где: Gдв.1 - расход воздуха через эвакуационный выход наружу, определяемый по формулам (2) или (3);
Gдм - расход воздуха на удаление дыма, определяется по таблице 2 или приложению 7;
Gср - средний расход воздуха через неплотности наружных ограждений каждого этажа, определяется по табл. 12;
Gк.1 - расход воздуха, поступающий из лестничной клетки в 1-й этаж, определяется методом последовательного приближения: сначала он принимается равным Gк.1max по табл. 13, в соответствии с предельной разностью давлений 150 Па на дверях из коридора на лестничную клетку на верхнем этаже.
Рис. 7. Планировка лестнично-лифтового узла Д, 1-ый этаж
|
Число этажей |
Средний расход воздуха, Gср кгс/ч, поступающий из лестничной клетки и лифтовых шахт на каждый этаж здания при числе квартир или помещений на этаже |
||||
|
квартир |
помещений |
||||
|
4 |
8 |
12 |
24 |
32 |
|
|
11 |
930 |
1205 |
1585 |
1960 |
2150 |
|
17 |
975 |
1355 |
1720 |
2170 |
2400 |
|
25 |
1026 |
1355 |
1740 |
2280 |
2570 |
|
Этажи |
Число квартир жилых домов на этаж |
Расход воздуха Gк.1max, кгс/ч, при числе помещений на этаж |
||||||
|
4 |
8 |
12 |
18 |
20 |
24 |
32 |
36 |
|
|
11 |
34400 |
33200 |
30900 |
29500 |
28200 |
26800 |
25000 |
24000 |
|
12 |
33100 |
32000 |
29400 |
28700 |
27300 |
25100 |
23200 |
22300 |
|
13 |
31800 |
30600 |
27900 |
26400 |
24900 |
23400 |
21500 |
20500 |
|
14 |
29300 |
28100 |
26400 |
24800 |
23300 |
21800 |
19700 |
18700 |
|
15 |
29300 |
28100 |
24900 |
23300 |
21700 |
20000 |
18000 |
16900 |
|
16 |
28000 |
27000 |
23500 |
21800 |
20100 |
18400 |
16200 |
15100 |
|
17 |
26700 |
25700 |
22000 |
20200 |
18500 |
16700 |
14500 |
13300 |
|
19 |
25000 |
23600 |
20200 |
18400 |
16500 |
14700 |
12400 |
11300 |
|
21 |
23700 |
21700 |
18400 |
16500 |
14600 |
12700 |
10400 |
9200 |
|
23 |
21700 |
19700 |
16600 |
14700 |
12700 |
10700 |
8400 |
7200 |
|
25 |
20200 |
18600 |
14900 |
12800 |
10800 |
8700 |
6300 |
5100 |
5.3. Расходы воздуха, подаваемого в лифтовые шахты, Gш и лестничную клетку, Gк должны быть приблизительно равны между собой:
|
(43) |
|
|
(44) |
|
|
(45) |
где: Gcp - средний расход воздуха, который определяется по табл. 12 в зависимости от вида здания, этажности и среднего числа квартир или помещений на этаже;
Кш - доля среднего расхода воздуха, поступающего из лифтовых шахт на этажи здания, находится по табл. 15 или 16 в зависимости от давления воздуха в лифтовой шахте на 1-ом этаже, Рш.1, определяемого по формуле (46), и уточняется по формуле (45).
где: Рх.1, Gх.1, Gдв.2 - определяются по формулам (47), (42) и (49);
n - число лифтов в здании.
5.4. Давление воздуха в лифтовом холле на 1-ом этаже, Па, равно:
где: V, ρн - расчетная скорость ветра, м/с, по СНиП, но не более 5,0 м/с и плотность наружного воздуха в холодный период, кг/м3, параметры Б;
ΔРх.1 - разность давлений между лифтовым холлом Л1 и лестничной клеткой на 1-м этаже, Па, рис. 7, определяется по таблице 14 или по формуле (48) в зависимости от расхода воздуха, Gх.1 из лифтового холла в тамбур Т3 при лестничной клетке:
|
Gх.1 |
740 |
1600 |
3030 |
4200 |
6050 |
8310 |
11040 |
14220 |
17900 |
22000 |
|
Рх.1 |
11 |
13 |
14 |
15 |
16 |
17 |
18 |
19 |
20 |
21 |
При Gх.1 ≥ 22000 кгс/ч значение ΔРх.1 определяется по формуле:
5.5. Расход воздуха Gх.1 кгс/ч из лифтовой шахты в лифтовой холл и тамбур Т3 рассчитывается по формуле (42) при максимальном поступлении воздуха из лестничной клетки, Gк.1max, кгс/ч.
5.6. Если имеется наружная дверь из лифтового холла, которая при пожаре закрыта, (на рис. 7 она отсутствует) то расход через ее неплотности рассчитывается по формуле:
5.7. Расчет расхода воздуха для лестничной клетки ведется по формуле (44), в которую входят следующие величины:
Gк.1 - максимальный расход воздуха из лестничной клетки в тамбур Т3, который определяется по табл. 13;
Gср - средний расход воздуха на этаж по табл. 12;
N - число этажей в здании;
Кш - доля среднего расхода, как для п. 5.3.
5.8. Если расходы воздуха, полученные по формулам (43) и (44) отличаются более чем на 5 %, то следует в формуле (42) задаться величиной Gк.1 меньше принятой ранее и провести расчеты по формулам (43) и (44) повторно.
5.9. Давление воздуха, создаваемое вентилятором для лифтовой шахты, Па:
где: ΔРс - потери давления в сети для присоединения вентилятора к лифтовой шахте, Па;
Рш.1 - по формуле (46);
N и h - число этажей и высота этажа, м.
5.10. Давление воздуха, создаваемое вентилятором для подачи в лестничную клетку:
где: Рк - давление в верхней части лестничной клетки, определяемое по табл. 17 или 18;
N и h - число этажей и высота этажа, м.
5.11. Давление воздуха на дверь 5 (рис. 1) на верхнем этаже лестничной клетки, Па:
где: Рк - по формуле (51);
tн - температура наружного воздуха (параметры Б);
N и h - число этажей и высота этажа, м.
Пример 6. Рассчитать расходы воздуха и давления для 11-ти этажного общественного здания в г. Волгограде. Планировка ЛЛУ Д, рис. 7. В здании два лифта и 24 помещения на каждом этаже. Расчетная температура воздуха -23,9 °С, скорость ветра 8 м/с - при параметрах Б. Согласно СНиП в расчетах принимается 5 м/с. Высота этажа 3 м.
Решение.
а) Давление воздуха в тамбуре Т4 по формуле (4) равно:
Рт.4 = 0,7∙52∙1,417 + 20 = 44,8 Па.
Расход воздуха через эвакуационный выход наружу по формуле (2), для формулы (42), при площади большей из створок двери 2,1∙0,85 = 1,79 м2 и прямом тамбуре:
Gдв.1 = 2875∙1,79∙44,80,5 = 34450 кгс/ч;
б) По табл. 2 суммарный расход на дымоудаление при ширине двери 5 (рис. 1) равной 0,9 м:
G = 9960 + 225∙10 = 12210 кгс/ч;
в) Расход воздуха через неплотности наружных ограждений помещений 1-го этажа по табл. 12: 1960 кгс/ч;
г) Расход воздуха из лестничной клетки в тамбур Т3, рис. 7, при давлении на верхнем этаже лестничной клетки 150 Па, по табл. 13 равен 26800 кгс/ч;
д) Расход воздуха, поступающего из лифтовой шахты через лифтовой холл в тамбур Т3 по формуле (42):
Gх.1 = 34450 +12210 + 1960 - 26800 = 21820 кгс/ч;
е) Давление в тамбуре Т4 равно 44,8 Па. За счет прохода 21820 кгс/ч воздуха из лифтового холла в тамбур Т4 давление в лифтовом холле повысится согласно табл. 14 на 21 Па и составит:
Рх = 44,8 + 21 = 66 Па;
ж) Давление воздуха в лифтовой шахте на 1-м этаже, по формуле (46) станет равно:
Рш.1 = 66 + (0,001∙21820)2∙0,263/22 = 97 Па.
При этом давлении по табл. 16, доля общего расхода, поступившего из лифтовых шахт Кш = 0.48;
и) Средний расход воздуха на этаж равен 1960 кгс/ч по табл. 12.
к) По формуле (43):
Gш = 21420 + 1960∙0,48 = 22360 кгс/ч.
по формуле (44):
Gк = 26800 + 1960∙10∙0,52 = 36992 кгс/ч.
Так как дисбаланс между расходами воздуха для лифтовой шахты и лестничной клетки слишком велик, то для соблюдения баланса принимаем приток воздуха из лестничной клетки 21000 кгс/ч вместо 26800 кгс/ч.
Приток воздуха из лифтовых шахт, через холл Л1 в тамбур Т3 по формуле (42):
Gх.1 = 34450 + 12210 + 1960 - 21000 = 27620 кгс/ч.
Давление воздуха по формуле (49) поднимается на:
ΔРх.1 = 4,3∙10-8∙276202 = 33 Па.
и составит в лифтовых шахтах по формуле (46):
Рш.1 = 44,8 + 33 + (0,001∙27620)2∙0,263/4 = 128 Па.
При этом давлении по табл. 16 получим Кш = 0,56, а по формуле (45) при требуемом равенстве расходов воздуха в лифтовые шахты и лестничную клетку:
Кш = (21000 - 27620 + 1960∙10)/(1960∙11) = 0,6
Расход воздуха, подаваемого в лифтовые шахты, по формуле (43):
Gш = 27620 + 1960∙0,6 = 28800 кгс/ч.
Расход воздуха, подаваемого в лестничную клетку, по формуле (44):
Gк = 21000 + 1960∙10 ч 0,4 = 28840 кгс/ч.
При расходе воздуха в лифтовую шахту 28800 кгс/ч или 24000 м3/ч при плотности воздуха 1,2 кг/м3 давление, развиваемое вентилятором по формуле (50) должно быть равно:
Рш = ΔРс + 128 + 1,1∙11∙3 = ΔРс + 164 Па.
Давление воздуха на 11 этаже лестничной клетки на дверь 5 по рис. 1 составит по формуле (52) и табл. 18
ΔРдв.5 = 146∙(28,84/26)2 + 2,1∙10∙3 - [3463/(273 - 23,9) - 11,8]∙11∙3 = 173 Па,
что превышает допустимые 150 Па и определяет необходимость разделить лестничную клетку огнестойкой несгораемой перегородкой между 6 и 7 этажами на два отсека с внутренним переходом между ними в пределах объема лестничной клетки, по схеме на рис. 2 а.
В верхний отсек подается 5∙28840/11 = 13109 кгс/ч, а в нижний отсек 28840 - 13109 = 15731 кгс/ч воздуха по отдельным огнестойким воздуховодам.
В верхнем отсеке поддерживается давление воздуха 44,8 Па, в нижней его части, и наверху 44,8 + 5,3∙2,1 = 76 Па. Наверху в нижнем отсеке давление 44,8 + 6∙3∙2,1 = 83 Па.
Для предварительных решений по размещению установок приточной противодымной вентиляции и составления эскизных проектов рекомендуется пользоваться табл. 19, где представлены ориентировочные расчеты для 10, 18 и 25-ти этажных зданий с ЛЛУ планировки Д.
Пример 7. Определить расходы воздуха для ЛЛУ планировки Д 25-ти этажного административного здания со средним числом 12 помещений на каждом этаже. Климатические условия местности приняты по примеру 6. Расход воздуха на входные двери здания 34450 кгс/ч и на дымоудаление - по таблице 2, при ширине двери коридора 0,9 м:
Gд.в = 9960 + 250∙24 = 15960 кгс/ч.
Расход воздуха, удаляемого через неплотности наружных ограждений здания принят по таблице 12 - 1740 кгс/ч на каждый этаж.
Максимальный расход воздуха, поступающего из лестничной клетки в тамбур Т3, рис. 6, при предельной разности давлений воздуха на дверях из коридора на лестничную клетку 150 Па на верхнем этаже, по таблице 13 Gк.1 = 14900 кгс/ч.
Тогда расход воздуха, поступающего из лифтовых шахт в лифтовой холл на первый этаж, по формуле (42) составит:
Gк.1 = 34460 + 15950 + 1740 - 14900 = 37250 кгс/ч,
а из равенства и формул (43) и (44):
Gш = Gк = 37250 + 1740∙Кш = 14900 + 24∙1740∙(1 - Кш)
находим Кш = 0.446 - долю среднего расхода воздуха, поступающего из лифтовых шахт на этажи здания.
Величину Кш проверяем, определяя ее по таблице 16 в зависимости от давления воздуха в лифтовых шахтах на первом этаже. При наличии в здании 3-х лифтов и предварительно определив по таблице 14 разность давлений между лифтовым холлом Л1 (рис. 6) и лестничной клеткой на первом этаже, равную 19,2 Па, находим давление в лифтовых шахтах по формуле (46):
Рш.1 = 44,8 + 19,2 + (0,001∙37250)2∙0,263/9 = 105 Па.
При этом давлении по таблице 16 находим Кш = 0,3 < 0,446; значение Кш = 0,3 - не обеспечивает равенство расходов по формулам (43) и (44), при Gк.1 = 14900 кгс/ч.
Для обеспечения требуемого равенства уменьшаем величину Gк.1 с 14900 кгс/ч до 12400 кгс/ч, и повторив приведенные выше вычисления, при этой исходной величине получаем Кш = 0,326 из баланса расходов и 0,3 - из расчета давлений. Приток воздуха в лестничную клетку и лифтовую шахту при этом составляет по формулам (43) и (44):
Gш = Gк = 40000 + 0,326∙1740 = 12400 + 0,674∙24∙1740 = 40500 кгс/ч.
или всего 91000 кгс/ч, или по 40500 кгс/ч в лифтовую шахту и лестничную клетку.
Давление воздуха на верхнем этаже лестничной клетки определяется по таблице 18, в которой при Gк.1 = 12,4 тыс. кгс/ч для 12-ти помещений на этаже получено интерполяцией:
96 + (135 - 94)∙0,4/2 = 100,6 Па.
При подаче 40500 кгс/ч давление ориентировочно станет:
Рк = 100,6∙(40,5/12,4)2 = 1073 Па - что явно недопустимо.
Поэтому проектируем лестничную клетку с двумя "рассечками-перегородками" с пределом огнестойкости 0,75 ч - одну между 9 и 10 этажами и вторую между 19 и 20 этажами с подачей в 1-й, 2-й и 3-й отсеки по 13500 кгс/ч воздуха.
Давление воздуха в нижней части 1-го отсека определяется давлением в тамбуре Т4 = 44,8 Па и сопротивление движению воздуха по лестничной клетке 2,1∙9∙3, а всего 102 Па. Такое же давление будет в верхней части 2-го и 3-го отсеков.
Подача воздуха в каждый отсек лестничной клетки проектируется по отдельному воздуховоду от вентилятора, установленного в верхнем этаже здания.
Давление в верхней части лифтовых шахт определяется по формулам (46) и (47) и равно:
Рш = 44,8 + 18,6 + (0,001∙40500)2∙0,263/9 = 111 Па.
|
Число этажей Кш |
Доля общего расхода воздуха Кш, поступающего из лифтовых шахт на этажи жилого дома, кроме 1-го этажа, в зависимости от давления воздуха в лифтовых шахтах Рш.1, Па |
||||||||||
|
-0,1 |
0,1 |
0,2 |
0,3 |
0,4 |
0,5 |
0,6 |
0,7 |
0,8 |
0,9 |
1,0 |
|
|
25 |
78 |
88 |
91 |
99 |
102 |
108 |
114 |
122 |
129 |
141 |
146 |
|
23 |
79 |
88 |
91 |
99 |
103 |
110 |
116 |
124 |
138 |
142 |
158 |
|
21 |
79 |
88 |
91 |
100 |
104 |
111 |
117 |
126 |
135 |
144 |
156 |
|
19 |
79 |
88 |
91 |
100 |
105 |
112 |
119 |
128 |
137 |
146 |
158 |
|
17 |
79 |
88 |
91 |
100 |
105 |
113 |
121 |
129 |
138 |
148 |
160 |
|
16 |
77 |
86 |
89 |
98 |
103 |
110 |
119 |
127 |
136 |
146 |
- |
|
15 |
75 |
83 |
87 |
95 |
100 |
103 |
116 |
124 |
134 |
144 |
- |
|
14 |
73 |
81 |
85 |
93 |
98 |
106 |
114 |
122 |
131 |
142 |
- |
|
13 |
71 |
79 |
84 |
90 |
96 |
104 |
112 |
120 |
129 |
140 |
- |
|
12 |
69 |
75 |
82 |
86 |
94 |
102 |
109 |
118 |
127 |
139 |
- |
|
11 |
67 |
74 |
80 |
86 |
92 |
100 |
107 |
116 |
125 |
137 |
- |
|
Число этажей Кш |
Доля общего расхода воздуха, поступающего из лифтовых шахт на этажи общественных и др. зданий, кроме 1-го этажа, в зависимости от давления в лифтовой шахте на 1-м этаже Рш.1 |
||||||||
|
0,3 |
0,35 |
0,4 |
0,45 |
0,5 |
0,55 |
0,6 |
0,65 |
0,7 |
|
|
25 |
110 |
117 |
125 |
135 |
145 |
162 |
185 |
220 |
320 |
|
23 |
103 |
110 |
117 |
126 |
138 |
154 |
176 |
208 |
292 |
|
21 |
96 |
102 |
110 |
120 |
131 |
146 |
166 |
195 |
265 |
|
19 |
89 |
94 |
102 |
113 |
124 |
138 |
157 |
183 |
237 |
|
17 |
82 |
87 |
95 |
106 |
117 |
130 |
148 |
171 |
210 |
|
16 |
80 |
85 |
93 |
103 |
114 |
127 |
145 |
169 |
210 |
|
15 |
78 |
83 |
91 |
101 |
112 |
125 |
142 |
167 |
210 |
|
14 |
76 |
81 |
89 |
98 |
109 |
122 |
140 |
165 |
210 |
|
13 |
74 |
79 |
87 |
96 |
106 |
120 |
137 |
162 |
210 |
|
12 |
72 |
77 |
85 |
93 |
104 |
117 |
135 |
160 |
210 |
|
11 |
70 |
75 |
83 |
91 |
101 |
115 |
132 |
158 |
210 |
|
Число этажей |
Давление в верхней части лестничной клетки, Па, в жилых домах, при расходе воздуха Gк.1 тысяч кгс/ч |
||||||||||||
|
12 |
14 |
16 |
18 |
20 |
22 |
24 |
26 |
28 |
30 |
32 |
34 |
36 |
|
|
25 |
19 |
46 |
82 |
134 |
190 |
254 |
330 |
|
|
|
|
|
|
|
|
57 |
94 |
140 |
190 |
245 |
314 |
- |
|
|
|
|
|
|
|
23 |
18 |
46 |
74 |
118 |
167 |
222 |
288 |
|
|
|
|
|
|
|
|
52 |
83 |
123 |
165 |
213 |
273 |
|
|
|
|
|
|
|
|
21 |
18 |
39 |
66 |
103 |
143 |
190 |
246 |
|
|
|
|
|
|
|
|
46 |
72 |
105 |
140 |
181 |
232 |
|
|
|
|
|
|
|
|
19 |
17 |
36 |
59 |
87 |
119 |
159 |
204 |
|
|
|
|
|
|
|
|
41 |
61 |
88 |
116 |
150 |
192 |
227 |
|
|
|
|
|
|
|
17 |
16 |
33 |
51 |
72 |
96 |
127 |
162 |
199 |
240 |
283 |
304 |
347 |
390 |
|
|
35 |
50 |
70 |
91 |
118 |
151 |
184 |
220 |
261 |
304 |
343 |
|
|
|
16 |
|
|
51 |
70 |
93 |
120 |
152 |
186 |
224 |
263 |
284 |
324 |
360 |
|
|
|
|
68 |
87 |
112 |
142 |
172 |
205 |
242 |
282 |
318 |
|
|
|
15 |
|
|
50 |
68 |
89 |
114 |
143 |
174 |
203 |
243 |
264 |
300 |
337 |
|
|
|
|
66 |
83 |
106 |
132 |
180 |
190 |
224 |
260 |
293 |
|
|
|
14 |
|
|
50 |
66 |
85 |
108 |
134 |
161 |
191 |
223 |
244 |
277 |
311 |
|
|
|
|
64 |
79 |
100 |
123 |
143 |
175 |
206 |
238 |
268 |
|
|
|
13 |
|
|
49 |
64 |
82 |
102 |
125 |
149 |
175 |
204 |
225 |
254 |
284 |
|
|
|
|
61 |
75 |
94 |
114 |
136 |
160 |
188 |
216 |
243 |
|
|
|
12 |
|
|
49 |
63 |
78 |
95 |
115 |
136 |
159 |
184 |
205 |
230 |
258 |
|
|
|
|
59 |
72 |
88 |
106 |
124 |
146 |
169 |
194 |
218 |
|
|
|
11 |
|
|
48 |
61 |
75 |
89 |
106 |
124 |
143 |
164 |
185 |
207 |
232 |
|
|
|
46 |
57 |
68 |
82 |
96 |
112 |
131 |
151 |
172 |
193 |
218 |
|
Примечание. Верхняя строка - значение Рк, Па для 4-х квартир на этаже, нижняя - для 8-и квартир.
|
Число этажей |
Давление в верхней части лестничной клетки, Па, в общественных и других зданиях, при расходе воздуха Gк.1 тыс. кгс/ч |
||||||||||||
|
2 |
4 |
6 |
8 |
10 |
12 |
14 |
16 |
18 |
20 |
22 |
24 |
26 |
|
|
25 |
- |
- |
10 |
35 |
59 |
92 |
135 |
183 |
239 |
304 |
- |
- |
- |
|
|
22 |
42 |
66 |
93 |
121 |
146 |
192 |
250 |
320 |
- |
- |
- |
- |
|
|
38 |
62 |
86 |
110 |
135 |
- |
- |
- |
- |
- |
- |
- |
- |
|
23 |
- |
- |
- |
33 |
54 |
83 |
110 |
162 |
210 |
265 |
- |
- |
- |
|
|
19 |
37 |
57 |
80 |
104 |
128 |
- |
- |
- |
- |
- |
- |
- |
|
|
33 |
53 |
73 |
95 |
118 |
- |
- |
- |
- |
- |
- |
- |
- |
|
21 |
- |
- |
- |
31 |
49 |
74 |
105 |
140 |
181 |
226 |
- |
- |
- |
|
|
17 |
31 |
49 |
67 |
88 |
111 |
- |
- |
- |
- |
- |
- |
- |
|
|
28 |
44 |
61 |
80 |
101 |
- |
- |
- |
- |
- |
- |
- |
- |
|
19 |
- |
- |
- |
28 |
45 |
85 |
89 |
119 |
152 |
187 |
- |
- |
- |
|
|
14 |
26 |
40 |
54 |
71 |
93 |
- |
- |
- |
- |
- |
- |
- |
|
|
23 |
35 |
48 |
65 |
88 |
- |
- |
- |
- |
- |
- |
- |
- |
|
17 |
- |
- |
- |
26 |
40 |
56 |
74 |
97 |
123 |
148 |
- |
- |
- |
|
|
11 |
26 |
31 |
41 |
55 |
75 |
95 |
118 |
144 |
172 |
200 |
- |
- |
|
|
18 |
26 |
35 |
50 |
66 |
85 |
104 |
129 |
155 |
184 |
210 |
226 |
- |
|
16 |
- |
- |
- |
- |
40 |
54 |
70 |
92 |
115 |
138 |
166 |
202 |
240 |
|
|
- |
- |
30 |
40 |
53 |
71 |
89 |
110 |
134 |
159 |
185 |
221 |
261 |
|
|
- |
26 |
34 |
48 |
62 |
80 |
97 |
120 |
144 |
167 |
194 |
210 |
- |
|
15 |
- |
- |
39 |
53 |
67 |
86 |
107 |
129 |
154 |
186 |
220 |
258 |
291 |
|
|
- |
- |
30 |
39 |
50 |
67 |
83 |
102 |
128 |
146 |
170 |
202 |
238 |
|
|
- |
26 |
34 |
45 |
59 |
74 |
90 |
111 |
132 |
154 |
178 |
195 |
- |
|
14 |
- |
- |
- |
- |
39 |
51 |
64 |
81 |
100 |
119 |
141 |
171 |
200 |
|
|
- |
- |
29 |
38 |
46 |
63 |
77 |
94 |
113 |
134 |
155 |
183 |
215 |
|
|
- |
26 |
33 |
43 |
55 |
69 |
83 |
102 |
121 |
141 |
162 |
180 |
- |
|
13 |
- |
- |
- |
- |
39 |
50 |
61 |
75 |
92 |
109 |
129 |
155 |
179 |
|
|
- |
- |
28 |
36 |
46 |
58 |
70 |
85 |
103 |
121 |
140 |
164 |
192 |
|
|
- |
27 |
32 |
41 |
51 |
64 |
77 |
92 |
109 |
127 |
146 |
- |
- |
|
12 |
- |
- |
- |
- |
38 |
48 |
57 |
70 |
84 |
100 |
117 |
139 |
150 |
|
|
- |
- |
28 |
35 |
44 |
54 |
64 |
77 |
92 |
107 |
125 |
145 |
169 |
|
|
- |
28 |
32 |
38 |
48 |
58 |
70 |
83 |
98 |
114 |
131 |
149 |
- |
|
11 |
- |
- |
- |
- |
33 |
46 |
54 |
64 |
76 |
90 |
105 |
123 |
139 |
|
|
- |
24 |
27 |
34 |
41 |
50 |
58 |
69 |
82 |
95 |
110 |
126 |
146 |
|
|
- |
23 |
31 |
36 |
44 |
53 |
63 |
74 |
86 |
101 |
115 |
134 |
148 |
Примечание: В 1-й строке приведены значения Рк, Па на верхнем этаже лестничной клетки при 12-и помещениях на этаже, во 2-й строке - при 24-х помещениях и в 3-й строке - при 36 помещениях в среднем на одном этаже.
Расход приточного воздуха в отсеки лестничных клеток
(высота отсеков не более 30 м) и лифтовых шахт 10, 18, и 25-ти этажных
общественных зданий с ЛЛУ планировки Д (ориентировочно)
|
Статьи расхода воздуха, кгс/ч |
10 |
18 |
25 этажей |
||
|
1. Вход в здание. |
|
|
|
|
|
|
Створки двери: 0,97∙2,2 м, |
41160 |
- |
41160 |
- |
|
|
тамбур прямой 1,2∙2,4 м. |
- |
55540 |
- |
55540 |
55540 |
|
2. Двери из коридора на лестничную клетку: |
|
|
|
|
|
|
0,6×2,0 м |
5800 |
- |
5800 |
- |
|
|
0,9×2,2 м |
- |
8340 |
- |
8340 |
8340 |
|
3. Подсосы воздуха через закрытые дымовые клапаны |
3380 |
5370 |
3380 |
5370 |
5370 |
|
4. Расход воздуха через неплотности наружных ограждений 24 помещений на каждом этаже с коэф. Кш |
7220 |
7900 |
13000 |
14250 |
20900 |
|
5. Приток в лифтовые шахты |
28800 |
38600 |
31670 |
41800 |
45200 |
|
6. Приток в лестничную клетку |
28800 |
38600 |
31670 |
41800 |
45200 |
|
7. Общий расход воздуха по позициям 1 - 4 или 5, 6 |
57600 |
77200 |
63340 |
83600 |
90400 |
|
8. Потери давления без потерь на присоединение к вентилятору, Па: |
|
|
|
|
|
|
лестничная клетка |
220 |
300 |
400 |
650 |
1000 |
|
лифтовая шахта |
160 |
200 |
220 |
250 |
350 |
Фирма ВИНГС
141080, г. Юбилейный
мкр. 3, а/я 13
тел. 515-10-29
521-84-47
КЛАПАН
ДЫМОУДАЛЕНИЯ КДМ-1 (двухстворчатый)
Исполнение обычное
Область применения
Клапан дымоудаления КДМ-1 предназначен для применения в системах противодымной защиты зданий с целью обеспечения удаления продуктов горения из поэтажных коридоров и холлов.
Клапан устанавливается в проемах каналов дымоудаления, предусмотренных в ограждающих конструкциях зданий.
Основные технические характеристики
|
1. Площадь проходного сечения, м2, не менее |
0,25 |
|
2. Предел огнестойкости, ч, не менее |
1 |
|
3. Сопротивление клапана газопроницанию в закрытом положении, кг-1∙м-1, не менее |
4∙104* |
|
4. Инерционность срабатывания клапана, с, не более |
2 |
|
5. Номинальное напряжение переменного тока частотой 50 Гц, В |
220 и 24 |
|
6. Тип привода открытия - автоматический электрический |
|
|
7. Тип привода закрытия - ручной |
|
|
8. Установочные размеры: |
|
|
длина, мм, не более |
740 |
|
высота, мм, не более |
504 |
|
ширина, мм, не менее |
160 |
_________________
* Воздухопроницаемость закрытого клапана, кг/ч, G = 18(ПΔР)0,5, где П - периметр притвора, м; ΔР - разность давлений по обе стороны клапана, Па.
Описание конструкции
Клапан состоит из корпуса (1) и двух теплоизолированных створок (2), изготовленных из оцинкованной тонколистовой стали или тонколистовой стали с защитным покрытием, приводного устройства с электромагнитом (3), конечных выключателей (4) для обеспечения контроля закрытого или открытого положения створок, блока зажимов (5), кнопочного выключателя (6), крышки (7) и декоративной решетки (8).

Открытие клапана осуществляется посредством приводного электромагнитного устройства, при срабатывании которого рычаги, закрепленные на осях створок, выходят из зацепления. Под воздействием пружин, закрепленных на осях створок, последние открываются.
Герметичность (дымогазонепроницаемость) клапана в закрытом положении обеспечивается за счет специального термостойкого уплотнителя, размещаемого по периметру створок.
Фирма ВИНГС
141080, г. Юбилейный,
мкр. 3, а/я 13.
тел. 515-10-29
521-84-47
КЛАПАН
ПРОТИВОДЫМНОЙ ВЕНТИЛЯЦИИ ЗДАНИЙ И СООРУЖЕНИЙ - КДМ-2
Исполнение обычное
Область применения
Клапан КДМ-2 предназначен для открывания отверстая (проема) в канале (шахте) вытяжной или приточной систем аварийной противодымной вентиляции зданий и сооружений различного назначения.
Применение клапана осуществляется в соответствии с требованиями СНиП 2.04.05-91. Клапан не подлежит установке в помещениях категорий А и Б по пожаровзрывобезопасности.
Клапан сохраняет работоспособность при его установке в горизонтальной, вертикальной или наклонной плоскостях.
Основные технические характеристики
|
1. Площадь проходного сечения, м2 |
0,33 |
|
2. Предел огнестойкости, мин, не менее |
60 |
|
3. Сопротивление клапана дымогазопроницанию в закрытом положении, кг-1∙м-1, не менее |
4∙104* |
|
4. Инерционность срабатывания клапана, с, не более |
2 |
|
5. Тип привода открывания клапана - автоматический от внешних цепей пожарной сигнализации, дистанционный с пульта пожарной сигнализации и от кнопки на клапане. |
|
|
6. Тип привода закрытия клапана - ручной. |
|
|
7. Номинальное напряжение переменного тока частотой 50 Гц, В: |
|
|
для питания автоматического и дистанционного привода открывания клапана |
220 |
|
для питания цепей контроля положения створки клапана |
24 |
|
8. Масса клапана с декоративной решеткой, кг, не более |
16 |
|
9. Срок службы клапана до списания, год, |
12 |
|
10. Срок гарантии клапана - 18 мес. с момента начала монтажа, но не белее 24 мес. со дня отгрузки клапана потребителю. |
|
_________________
* Воздухопроницаемость закрытого клапана, кг/ч, G = 27,9∙ΔР0,5, где ΔР - разность давлений по обе стороны клапана, Па.

Рис. 1. Конструктивная схема клапана КДМ-2 (створка клапана закрыта).
Клапан состоит из корпуса (1), теплоизолированной створки (2), изготовленных из оцинкованной тонколистовой стали, приводного устройства электромагнитного типа (5), концевого выключателя для контроля закрытого или открытого положения створки, клеммной колодки, кнопочного включателя для автономной проверки работоспособности клапана, декоративной решетки, защищающей токоведущие и движущиеся части клапана от посторонних лиц. Герметичность (дымогазонепроницаемость) клапана в закрытом положении обеспечивается термостойким уплотнителем, размещенным по периметру опорного контура створки клапана.
Открытие клапана осуществляется подачей напряжения на электромагнитное устройство (5), при срабатывании которого скоба (6), закрепленная на створке, освобождается от замка привода (7), и под действием рычажной системы (4) с пружинами створка (2) поворачивается на осях (3), открывая проходное сечение клапана.
Фирма ВИНГС
141080, г. Юбилейный,
мкр. 3, а/я 13.
тел. 515-10-29
521-84-47
КЛАПАН
ПРОТИВОДЫМНОЙ ВЕНТИЛЯЦИИ ЗДАНИЙ И СООРУЖЕНИИ КДМ-3
Исполнение взрывозащищенное
Предназначен для управляемого открывания (или закрывания) отверстий (проемов) в каналах, шахтах и воздуховодах систем вытяжной и приточной противодымной вентиляции, а также систем общеобменной вентиляции и кондиционирования при их использовании для дымозащиты зданий и сооружений различного назначения. Обеспечивает возможность автоматического и дистанционного управления, а также автоматического контроля срабатывания и исправности вне зависимости от пространственной ориентации его установки при монтаже. По спецзаказам комплектуется приводами для обеспечения возможности применения во взрывоопасных зонах любого класса. Соответствует требованиям СНиП 2.04.05-91.
Основные технические характеристики
|
Предел огнестойкости, ч |
|
|
не менее |
0,5 |
|
не более |
1,5 |
|
Сопротивление дымогазопроницанию в закрытом положении, кг-1∙м-1, не менее |
4∙104* |
|
Инерционность срабатывания, с, не более |
|
|
(открытия или закрытия) |
30 |
|
(в полном цикле открытия и закрытия) |
60 |
|
Номинальное напряжение питания электропривода, В |
220 (50 Гц) |
|
Площадь проходного сечения, м2, не менее |
0,25 |
|
Срок службы до списания, лет |
12 |
________________
* Воздухопроницаемость закрытого клапана, кг/ч, G = 18 (ПΔР)0,5, где П - периметр притвора, м; ΔР - разность давлений по обе стороны клапана, Па.

Клапан состоит из корпуса (1), теплоизолированной створки (2), изготовленных из оцинкованной тонколистовой стали, и электрического исполнительного механизма (5), выходной вал которого соединен рычажной системой (4) со створкой клапана. Герметичность (дымогазонепроницаемость) клапана в закрытом положении обеспечивается за счет термостойкого уплотнителя, размещенного по периметру опорного контура створки клапана. Электрический исполнительный механизм может иметь два типа выключателей: предельный выключатель - ПВ (внутри корпуса исполнительного механизма) - для осуществления электрического ограничения крайних положений выходного вала; блок переключателей - БП, выполненный в виде отдельного узла и предназначенный для осуществления обратной связи по положению выходного вала и сигнализации крайних положений выходного вала.
Открытие или закрытие клапана осуществляется подачей напряжения на электрический исполнительный механизм, поворот выходного вала которого на 1/4 оборота обеспечивает через рычажную систему (4) поворот створки на осях (3) и открытие или закрытие проходного сечения клапана.
Одесский экспериментальный
ремонтно-механический завод
270071, Одесса, Промышленная, 31
тел. 32-68-74
Исполнение
обычное
КЛАПАН ДЛЯ ПРОТИВОДЫМНОЙ ЗАЩИТЫ ЗДАНИЙ, ШТОРЧАТЫЙ,
ТИПА КПДШ ДЛЯ СИСТЕМ ВЫТЯЖНОЙ ПРОТИВОДЫМНОЙ
ВЕНТИЛЯЦИИ ЖИЛЫХ, ОБЩЕСТВЕННЫХ,
АДМИНИСТРАТИВНО-БЫТОВЫХ
И ПРОИЗВОДСТВЕННЫХ ЗДАНИЙ

а) - фасад; б) - вид по стрелке А;
1 - корпус; 2 - пульт; 3 - шторки; 4 - крышка
пульта
|
Обозначение клапана |
Площадь проходного сечения, кв. м, не менее |
Установочные размеры, мм, не более |
Масса, кг, не более |
Пределы огнестойкости, ч, не менее |
||
|
длина |
высота |
ширина |
||||
|
КПДШГ-25 |
0.25 |
750 |
500 |
|
21 |
1 |
|
КПДШВ-25 |
0.25 |
500 |
750 |
|
21 |
1 |
|
КПДШК-25 |
0.25 |
600 |
600 |
|
21 |
1 |
|
КПДШК-30 |
0.30 |
650 |
650 |
140 |
25 |
1 |
|
КПДШВ-35 |
0.35 |
700 |
700 |
|
29 |
1 |
|
КПДШВ-40 |
0.40 |
750 |
750 |
|
34 |
1 |
Тип привода для открытия клапана: электрический, автоматический; для закрытия; ручной.
Напряжение сети - 220 вольт; время срабатывания - 1 секунда.
Москва, 2-й Иртышский проезд,
тел.: 462-43-68; 462-54-29.
ДЫМОВОЙ КЛАПАН КДП-5 ЗАВОДА МОСПРОМЭЛЕКТРОКОНСТРУКЦИЯ
а)

б)

Проходное сечение клапана 0,2 м2.
Установка клапана КДП-5 в шахте:
а - продольный разрез; б - план;
1 - электромагнитный привод; 2 - полотно;
3 - корпус; 4 - декоративная решетка.
|
Скоростное давление в воздуховоде или шахте, Па |
Потери давления на трение Н кг/м2 в воздуховодах поперечным сечениям, м2 |
|||
|
0,25 |
0,35 |
0,5 |
0,7 |
|
|
30 |
0,1 |
0,09 |
0,06 |
0,06 |
|
40 |
0,13 |
0,11 |
0,08 |
0,07 |
|
50 |
0,16 |
0,14 |
0,10 |
0,09 |
|
60 |
0,19 |
0,17 |
0,12 |
0,11 |
|
70 |
0,22 |
0,19 |
0,16 |
0,12 |
|
80 |
0,25 |
0,22 |
0,17 |
0,14 |
|
90 |
0,28 |
0,24 |
0,18 |
0,16 |
|
100 |
0,31 |
0,27 |
0,20 |
0,17 |
|
110 |
0,34 |
0,29 |
0,22 |
0,19 |
|
120 |
0,37 |
0,32 |
0,24 |
0,20 |
|
130 |
0,39 |
0,34 |
0,26 |
0,21 |
|
140 |
0,42 |
0,37 |
0,27 |
0,23 |
|
150 |
0,45 |
0,39 |
0,29 |
0,25 |
|
160 |
0,48 |
0,41 |
0,31 |
0,26 |
|
170 |
0,51 |
0,45 |
0,33 |
0,28 |
|
180 |
0,54 |
0,47 |
0,35 |
0,30 |
|
190 |
0,57 |
0,49 |
0,37 |
0,31 |
|
200 |
0,62 |
0,54 |
0,40 |
0,33 |
Расход воздуха на удаление дыма из коридоров и холлов на этаже пожара
1. Расход воздуха на удаление дыма (расход дыма), кгс/ч, следует рассчитывать по формулам:
для жилых зданий:
для общественных, административно-бытовых и производственных зданий:
где: В - ширина большей створки дверей "5" по рис. 1;
n - коэффициент, зависящий от общей ширины больших створок дверей из коридора на одну или несколько незадымляемых лестничных клеток 2-го типа:
|
для жилых зданий при |
В = 0,6 |
0,9 |
1,2 |
1,8 |
2,4 |
|
|
n = 1,0 |
0,82 |
0,7 |
0,51 |
0,41 |
|
для других зданий |
n = 1,05 |
0,91 |
0,8 |
0,62 |
0,5 |
Ндв - высота двери, м, при Ндв < 2 м принимать Ндв = 2 м;
при Ндв > 2,5 принимать = 2,5 м;
Кдв - коэффициент относительной полноты и продолжительности открывания дверей равный 1,0 - при эвакуации 25 и более человек и 0,8 при эвакуации менее 25 человек через дверь.
2. Потери давления в открытом дымовом клапане, Па, определяются по формуле:
|
ΔР1 = Кт∙(ζ1 + ζ2)∙(V∙ρ)2/2ρ, |
(3) |
где: Кт - поправочный коэффициент для местных сопротивлений, являющийся отношением плотности газа к плотности стандартного воздуха 1,2 кг/м3; для дыма Кт следует увеличить на загрязненность 1,3∙0,61/1,2 = 0,66, при температуре газа 300 °С;
ζ1 - коэффициент сопротивления входа в дымовой клапан и далее в шахту с коленом 90° рекомендуется принимать 2,2, при колене 45° - ζ1 принимать 1,32;
ζ2 - коэффициент сопротивления присоединения клапана к шахте или ответвлению принимается по справочнику [3]; при непосредственном присоединении через переход для клапанов фирмы ВИНГС или КПДШ Одесского завода (см. приложения 1 - 5) ζ2 = 0,3, для клапанов КДП-5 ζ2 = 0,2
V∙ρ - массовая скорость дыма в клапане, кг/(с∙м2);
ρ - плотность дыма 6/9,81 = 0,61 кг/м3, где 6 - Н/м3 -удельный вес дыма по СНиП, при температуре 300 °С.
3. Сопротивление трению в ответвлении к дымовому клапану, Па,
где: Ктр - при температуре дыма 300 °С принимать 9,6; Н - потери давления на трение, кгс/м2, в стальных воздуховодах или шахтах, по справочнику [3] или по приложению 6 по скоростному давлению воздуха, Па, для температуры 20 °С;
Кс - коэффициент для воздуховодов и шахт, если они выполнены из следующих материалов: бетона - 1,7, кирпича - 2,1, штукатурки по стальной сетке - 2,7; более точные данные имеются в табл. 12.14 справочника [3];
l - длина воздуховода, м.
Примечание. В приложении 6 приведены величины Н для наиболее часто встречающихся шахт и воздуховодов поперечным сечением 0,25; 0,35; 0,5 и 0,7 м2.
4. Плотность газов в устье (верхнем конце) дымовой шахты, кг/м3:
где: N - номер верхнего этажа здания;
Gк.2 - расход воздуха через неплотности закрытого дымового клапана на 2-м этаже здания, кгс/с; для клапана фирмы "ВИНГС" по формуле
|
Gк.2 = 0,005∙(П∙ΔР2)0,5; |
(6) |
для любых дымовых клапанов, согласно СНиП не более:
П - периметр притвора клапана, м;
ΔР2 - разность давлений, Па, по обе стороны закрытого клапана по расчету участка сети дымоудаления;
А - площадь створок клапана, м2;
Gдм - расход дыма по формуле (1) или (2), пересчитанный в кгс/с.
5. Расход газов в устье дымовой шахты, кгс/с:
где: Gдм, ρу - как для формулы (5).
6. Определив расход газов в устье шахты по формуле (8) и задавшись массовой скоростью газов не более 15 кг/(с∙м2) находят поперечное сечение шахты и по формуле (9) - коэффициент ее сопротивления:
где: Нш - потери давления на трение, кгс/м2, в стальных воздуховодах при температуре 20 °С по п. 3;
Кс - коэффициент увеличения потерь давления в шахте, если она выполнена из строительных материалов по п. 3;
l - длина шахты, м;
hд.у - динамическое давление, Па, в устье шахты;
Кт = 0,75 - для учета снижения температуры газов в устье шахты за счет теплопередачи;
N - число этажей здания.
7. Потери давления, Па, в устье дымовой шахты:
где: hд.1, hд.y - динамические давление на первом участке и в устье шахты, Па;
ζу - коэффициент сопротивления шахты по формуле (9);
ΔP1 - потери давления в дымовом клапане по п. 2, Па;
ΔР2 - потери давления в ответвлении от дымовой шахты, Па,
8. Подсосы воздуха через неплотности дымовой шахты Gп, кгс/с, в зависимости от ее сопротивления рассчитываются по давлению в устье (или у вентилятора); учитываются и подсосы через неплотно закрытые или поврежденные дымовые клапаны по формуле:
где Gп.с - удельный подсос воздуха через неплотности шахты и воздуховодов из стальных листов, соединенных сплошным плотным сварным швом или из монолитного бетона или из бетонных труб, при наличии не более 3-х стыков на этаж; Gп.с рекомендуется принимать по табл. 1 по классу П;
Gпл - удельный подсос воздуха через неплотности шахт из плит или кирпича и других материалов (оштукатуренных) - рекомендуется принимать по табл. 1, по классу Н;
Пс, Ппл - периметр, м, внутреннего поперечного сечения шахт и воздуховодов;
lс, lпл - длина шахт и воздуховодов;
Gу, Gдм - расход газов, кгс/с, в устье шахты и в дымовом клапане.
|
Класс воздуховода |
Отрицательное статическое давление в месте присоединения воздуховодов к вентилятору, Па |
||||||||||
|
200 |
400 |
600 |
800 |
1000 |
1200 |
1400 |
1600 |
1800 |
2000 |
2200 |
|
|
Удельный расход воздуха, Gп уд∙103 кгс/(с×м2) внутренней поверхности воздуховода* |
|||||||||||
|
П |
0,4 |
0,6 |
0,8 |
1,0 |
1,2 |
1,3 |
1,5 |
1,6 |
1,8 |
1,9 |
2,0 |
|
Н |
1,2 |
1,9 |
2,5 |
3,1 |
3,6 |
4,0 |
4,5 |
4,8 |
5,4 |
5,7 |
6,0 |
_______________
* для прямоугольных воздуховодов следует вводить коэффициент 1,1.
9. Общий расход воздуха на дымоудаление, рассчитанный по формулам (8) и (11), составляет, кгс/ч:
Пример. Рассчитать удаление дыма из коридора 17-ти этажного жилого дома, высотой 17∙2,8 = 33,6 м. Длина коридора 30 м. К коридору примыкает одна лестничная клетка 2-го незадымляемого типа. Большая створка двери для выхода на лестничную клетку имеет ширину 0,6 м и высоту 2,0 м. (дверь 5 по рис. 1).
Решение.
а) По формуле (1) определяем расход воздуха на дымоудаление, при ширине двери 5 рис. 1 равной 0,6 м, высоте 2 м, при n = 1,0;
Gдм =- 3420∙0,6∙1∙21,5 = 5800 кгс/ч или 1,81 кгс/с.
б) Проектируем дымовую шахту поперечным сечением 0,25 м2. Массовая скорость в сечении шахты на 1-м участке равна:
V∙ρ = 1,61/0,25 = 6,44 кг/(с∙м2)
при рекомендуемой массовой скорости 7 - 10 кг/(с∙м2).
Скоростное давление:
Р = 6,442/(2∙0,61) = 34 Па.
в) К установке принимаем дымовой клапан площадью 0,2 м2. Массовая скорость в клапане равна:
V∙ρ = 1,61/0,2 = 8,05 кг/(с∙м2)
и скоростное давление: Р = 53,1 Па.
Потери давления в клапане по формуле (3) равны:
P1 = 0,66∙(1,32 + 0,2)∙53,1 = 53,3 Па.
г) Потери давления на 1-ом участке из бетона Кс = 1,7 и высоте этажа 2,8 м, по формуле (4):
ΔР2 = 9,6∙0,1∙1,7∙2,8 = 5 Па,
а с учетом потерь в клапане 5 + 53,3 = 58 Па.
д) Расход воздуха через неплотности дымового клапана на 2-м этаже во формуле (7) равен:
Gк.2 = 0,0112∙(0,2∙58)0,5 = 0,038 кгс/с.
е) Плотность смеси газов в устье шахты по формуле (5):
ρу = 0,61 + 0,3∙(17 - 1)∙0.038/1,61 = 0,72 кг/м3.
ж) Расход газов в устье шахты по формуле (8):
Gу = 0,81∙1,61∙0,72/(1 - 0,83∙0,72) = 2,33 кгс/с или 8400 кгс/ч
и) Массовая скорость газов в устье шахты равна:
V∙ρ = 2,33/0,25 = 9,32 кг/(с∙м2) и
скоростное давление:
Р = 9,322/1,44 = 60,3 Па.
Коэффициент сопротивления шахты со 2-го участка до устья по формуле (9):
ζу = 9,6∙0,1∙1,7∙2,8∙16/60,3 + 0,3∙0,75∙16 = 4,8.
к) Потери давления в дымовой шахте по формуле (10):
Ру = 0,5∙(34 + 60,3)∙4,8 + 58 = 284 Па.
л) Подсосы воздуха через неплотности шахты по п. 8:
Gп = 0,0015∙1,1∙2∙17∙2,8 + 0,1∙(2,32 - 1,61) = 0,229 кгс/с
и общий расход газов в устье шахты по формуле (12) кгс/с:
Gдм = 2,33 + 0,229 = 2,559 или 9210 кгс/ч.
1. Отчет по научно-исследовательской работе "Разработка методов расчета систем противодымной защиты многоэтажных зданий с учетом разработанных архитектурно-планировочных решений" (разработка пособия для проектировщиков; т.4р. 2 г.п.). Этап 7. - Разработка предложений по новым схемам и решениям противодымной защиты". ИИ-4024-007, МНИИТЭП, 1993 г.
2. Есин В.М., Сидорчук В.И., Токарев В.Н. "Расчет вентиляционных систем противодымной защиты зданий" (ж. "Водоснабжение и санитарная техника" № 3, 1993 г. с. 18 - 20)
3. Справочник проектировщика. Внутренние санитарно-технические устройства. Часть II. Вентиляция и кондиционирование воздуха. (под ред. к.т.н. Староверова И.Г.), Москва, Стройиздат, 1977 г.
4. СНиП 2.04.05-91 "Отопление, вентиляция и кондиционирование".
5. СНиП 2.01.02-85 "Противопожарные нормы".
6. СНиП 2.08.01-89 "Жилые здания".
7. СНиП 2.08.02-89 "Общественные здания".
8. СНиП 2.09.04-87 "Административные здания".
9. СНиП 2.11.01-85 "Складские здания".
10. Пособие 4.91 "Противодымная защита при пожаре" к СНиП 2.04.05-91 (вторая редакция). Промстройпроект, 1992 г.
СОДЕРЖАНИЕ