Информационная система
«Ёшкин Кот»

XXXecatmenu

ГОСТ 24698-81

МЕЖГОСУДАРСТВЕННЫЙ СТАНДАРТ

ДВЕРИ ДЕРЕВЯННЫЕ НАРУЖНЫЕ
ДЛЯ ЖИЛЫХ
И ОБЩЕСТВЕННЫХ ЗДАНИЙ

ТИПЫ, КОНСТРУКЦИЯ И РАЗМЕРЫ

Москва

Стандартинформ

2009

МЕЖГОСУДАРСТВЕННЫЙ СТАНДАРТ

ДВЕРИ ДЕРЕВЯННЫЕ НАРУЖНЫЕ ДЛЯ ЖИЛЫХ
И ОБЩЕСТВЕННЫХ ЗДАНИЙ

Типы, конструкция и размеры

Wooden external doors for dwelling and public buildings.
Types, structure and dimensions

ГОСТ
24698-81

Дата введения 01.01.84

Настоящий стандарт распространяется на деревянные наружные распашные двери для жилых и общественных зданий, а также для вспомогательных зданий и помещений предприятий различных отраслей народного хозяйства.

Стандарт не распространяется на двери уникальных общественных зданий: вокзалов, театров, музеев, спортивных дворцов, выставочных павильонов, дворцов культуры.

1. ТИПЫ, РАЗМЕРЫ И МАРКИ

1.1. Двери в зависимости от назначения подразделяют на типы: Н - входные и тамбурные; С - служебные; Л - люки и лазы.

1.2. Двери типа Н должны изготовляться с щитовыми и рамочными полотнами. Рамочные полотна могут быть качающимися. Двери типов С и Л должны изготовляться с щитовыми полотнами. Щитовые полотна могут изготовляться с реечной обшивкой.

Двери типов Н и С изготовляют с одно- и двупольными, остекленными и глухими полотнами, с порогом и без порога.

1.3. Все двери относят к изделиям повышенной влагостойкости.

1.4. Габаритные размеры дверей должны соответствовать указанным на черт. 1. Размеры на чертежах даны для неокрашенных изделий и деталей в миллиметрах. Размеры проемов приведены в приложении 1.

По согласованию потребителя с предприятием-изготовителем допускается изменять рисунок остекления за счет уменьшения размеров стекол или их членения, а также применять глухие полотна.

Полотна дверей типа С, обиваемые с двух сторон тонколистовой оцинкованной сталью по ТУ на сталь конкретного вида, имеют размеры по ширине на 6, а по высоте на 5 мм меньше, чем у полотен без обивки.

Дверьми типа С могут быть также двери со сплошным заполнением и усиленной коробкой по ГОСТ 6629.

1.5. Устанавливают следующую структуру условного обозначения (марки) дверей:

Примеры условных обозначений

Дверь входная или тамбурная однопольная для проема высотой 21 и шириной 9 дм, остекленная, с правой навеской щитового полотна, с порогом, с обшивкой типа 0-2:

ДН21-9 ПЩ02 ГОСТ 24698-81

То же, с левой навеской рамочного полотна:

ДН21-9ЛП ГОСТ 24698-81

То же, с качающимися полотнами для проема высотой 24 и шириной 15 дм:

ДН24-15К ГОСТ 24698-81

Дверь служебная двупольная глухая для проема высотой 21 и шириной 13 дм, утепленная:

ДС21-13ГУ ГОСТ 24698-81

Люк однопольный для проема высотой 13 и шириной 10 дм:

ДЛ13-10 ГОСТ 24698-81

2. ТРЕБОВАНИЯ К КОНСТРУКЦИИ

2.1. Двери должны изготовляться в соответствии с требованиями ГОСТ 475 и настоящего стандарта по рабочим чертежам, утвержденным в установленном порядке.

2.2. Конструкция, форма и типоразмеры дверей должны соответствовать указанным на черт. 2-5, а размеры сечений - на черт. 6-13.

2.3. Полотна щитовых дверей должны изготовляться со сплошным заполнением щита калиброванными по толщине деревянными рейками.

Двери облицовывают материалами в соответствии с ГОСТ 475 в части, относящейся к дверям повышенной влагостойкости.

При условии сплошной обшивки дверей с наружной стороны профильными рейками по ГОСТ 8242 по слою пергамина по ГОСТ 2697 или обшивки оцинкованной сталью по ТУ на сталь конкретного вида допускается применение твердых ДВП марок Т или Т-С, Т-П, Т-СП по ГОСТ 4598 или водостойкой фанеры марки ФК по ГОСТ 3916.1 или ГОСТ 3916.2. Тамбурные двери допускается изготовлять без обшивки деревянными рейками. Рейки крепят шурупами по ГОСТ 1144 или гвоздями по ГОСТ 4028 длиной 40 мм с антикоррозийным покрытием. Максимальный шаг креплений - 500 мм. Крепления в каждом ряду должны располагаться на одном уровне по всей ширине полотна.

2.4. Нижние части полотен дверей типа Н должны быть защищены деревянными планками толщиной 16-19 мм или полосами из декоративного бумажнослоистого пластика толщиной 1,3-2,5 мм по ГОСТ 9590*, сверхтвердых ДВП толщиной 3,2-4 мм по ГОСТ 4598, тонколистовой оцинкованной стали. Древесные и пластмассовые защитные материалы крепят водостойким клеем и шурупами с антикоррозийным покрытием, а стальные полосы - шурупами длиной 30-40 мм по ГОСТ 1144. Шаг крепления по периметру - 100 мм. Размеры защитных планок и полос указаны на черт. 6-11.

__________

* С 1 января 2010 г. прекращено применение на территории Российской Федерации (здесь и далее).

2.5. Полотна и коробки трудносгораемых и утепленных дверей типа С следует защищать тонколистовой оцинкованной сталью толщиной 0,35 - 0,8 мм по ТУ на сталь конкретного вида по всей поверхности с обеих сторон, как указано на черт. 12. Листы стали между собой соединяют в одинарный фальц.

2.6. Полотна трудносгораемых дверей типа С с обеих сторон покрывают слоями асбестового картона толщиной 5 мм по ГОСТ 2850.

Полотна утепленных дверей типа С покрывают с одной стороны слоем мягких ДВП толщиной 12 мм по ГОСТ 4598. По периметру полотна со стороны изоляции крепят гвоздями или шурупами деревянные рейки 12´30 мм, шаг креплений - 100 - 150 мм.

2.7. Для остекления дверей применяют оконное стекло толщиной 4 - 5 мм по ГОСТ 111.

Если стекло находится на расстоянии 800 мм или менее от низа полотна и при использовании стекол большого формата, должны устанавливаться защитные ограждения.

Примеры установки защитных ограждений приведены в приложении 2.

Толщина стекла, конструкция защитных решеток и изменения конструкции дверей, связанные с установкой электрозамков, должны быть указаны в рабочих чертежах.

Габаритные размеры дверей

Черт. 1

Примечания:

1. Схемы дверей изображены со стороны фасада.

2. Цифры над схемами дверей означают размеры проемов в дециметрах.

3. Размеры в скобках даны для дверей 21-15А, 21-19, 24-15А и 24-19 с качающимися полотнами.

4. Двери 21-9 и 21-13А предусмотрены для одноэтажных зданий и мусороприемных помещений.

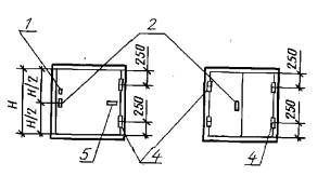
Конструкция, форма и типоразмеры дверей

Черт. 3

Сечения деталей - на черт. 9.

Черт. 4

Сечения деталей - на черт. 10.

Двери рамочные с качающимися полотнами

Черт. 5

Сечения деталей - на черт. 11-13.

Сечения деталей дверей

Тип Н

Двери щитовые

1 - уплотняющая прокладка по ГОСТ 10174; 2 - облицовка ДВП марок СТ или Т-В
толщиной 3,2 - 5 мм по ГОСТ 4598; 3 - рейка 12
´12 мм; 4 - прокладка из пористой резины
толщиной 2 мм по ГОСТ 7338; 5 - шуруп 1 - 3
´30 по ГОСТ 1144, шаг 200 мм; 6 - монтажная доска

Примечания:

1. Допускается применение пластмассовых раскладок.

2. Допускается применение монтажных досок иной конструкции.

Черт. 6

1 - облицовка ДВП марок СТ или Т-В толщиной 3,2 - 4 мм по ГОСТ 4598;
2 - уплотняющая прокладка по ГОСТ 10174

Черт. 7

2.8. Для защиты от механических повреждений, снижения шума и теплопотерь двери типа Н должны быть укомплектованы дверными закрывателями типа ЗД1 по ГОСТ 5091, уплотняющими прокладками по ГОСТ 10174 или из пористой резины по ГОСТ 7338, дверными упорами типа УД1 по ГОСТ 5091. В двупольных дверях должны устанавливаться задвижки типа ЗТ или шпингалеты типа ШВ по ГОСТ 5090.

1 - уплотняющая прокладка по ГОСТ 10174; 2- облицовка ДВП марок Т, Т-С, Т-П и Т- СП группы А
толщиной 3,2 - 4 мм по ГОСТ 4598; 3 - обшивка марки 0-3 по ГОСТ 8242; 4 - пергамин по ГОСТ 2697;
5 - облицовка ДВП марок СТ или СТ-С толщиной 3,2 - 4 мм по ГОСТ 4598; 6 - раскладка 19
´13 мм

Черт. 8

Тип Н

1 - уплотняющая прокладка по ГОСТ 10174; 2 - соединение на клеях повышенной водостойкости;
3 - шуруп 1-3
´40 по ГОСТ 1144, шаг 200 мм; 4 - прокладка из пористой резины толщиной 2 мм по
ГОСТ 7338; 5 - рейка 12
´20 мм; 6 - монтажная доска

Черт. 9

1 - уплотняющая прокладка по ГОСТ 10174

Черт. 10

Двери рамочные с качающимися полотнами

1 - пружинная петля по ГОСТ 5088;
2 - бумажнослоистый пластик по ГОСТ 9590; 3 - монтажная доска

Черт. 11

2.9. Необходимость комплектования дверей замками по ГОСТ 5089 должна указываться в заказе.

2.10. Расположение приборов и их типы приведены в приложении 3.

2.11. В заказе на поставку дверей должно быть указано:

- число дверей по маркам и обозначение настоящего стандарта;

- вид и цвет отделки;

- толщина стекла;

- спецификация приборов.

Тип С

Двери щитобые

Трудносгораемые

1 - прокладка из пористой резины по ГОСТ 7338; 2 - сталь тонколистовая оцинкованная толщиной 0,5 мм; 3- облицовка ДВП марки СТ или Т-В толщиной 4 мм по ГОСТ 4598; 4- картон асбестовый по ГОСТ 2850; 5-мягкая ДВП марки М-1 толщиной 12 мм по ГОСТ 4598; 6- рейка деревянная 12´30 мм; 7- шурупы 1-4´40 по ГОСТ 1144, шаг 200 мм

Черт. 12

Тип Л

1 - сталь тонколистовая оцинкованная толщиной 0,5 мм; 2 - ручка-скоба PC по ГОСТ 5087;
3 - доски; 4 - минераловатные плиты на синтетическом связующем по ГОСТ 9573;
5 - прокладка из пористой резины 6
´20 мм по ГОСТ 7338; 6 - петля ПН1-130 по ГОСТ 5088;
7 - упор деревянный толщиной 50 мм

Черт. 13

ПРИЛОЖЕНИЕ 1
Справочное

РАЗМЕРЫ ДВЕРНЫХ ПРОЕМОВ В СТЕНАХ

Примечание. В скобках указаны размеры проемов для качающихся дверей.

Тип С

ПРИЛОЖЕНИЕ 2
Рекомендуемое

ПРИМЕРЫ УСТАНОВКИ ЗАЩИТНЫХ ОГРАЖДЕНИЙ

1 - деревянные планки из твердолиственных пород; 2 - стальной пруток;
3 - крепежная планка из полосовой стали

ПРИЛОЖЕНИЕ 3
Рекомендуемое

РАСПОЛОЖЕНИЕ ПРИБОРОВ В ДВЕРЯХ

1 - закрыватели дверные ЗД1 по ГОСТ 5091; 2 - петли ПНЗ-130; ПН1-150, ПН2-150,
ПНЗ-150 по ГОСТ 5088; 3 - задвижка 3T
или шпингалеты ШВ по ГОСТ 5090;
4 - ручка-скоба по ГОСТ 5087

Двери типа Л

Петля для противовеса

1 - петля для противовеса; 2 - ручка-скоба по ГОСТ 5087; 3 - отверстия под шурупы М5;
4 - петли ПН1-130 по ГОСТ 5088; 5 - деревянный упор

Примечания:

1. В дверях типа С закрыватели не устанавливают.

2. Замки устанавливают в случаях, предусмотренных рабочими чертежами.

3. Ручки-скобы могут устанавливаться вертикально или горизонтально.

4. Петли для противовеса устанавливают в однопольных люках. Допускается применение петель другой конструкции.

ИНФОРМАЦИОННЫЕ ДАННЫЕ

1. РАЗРАБОТАН И ВНЕСЕН Государственным комитетом по гражданскому строительству и архитектуре при Госстрое СССР

2. УТВЕРЖДЕН И ВВЕДЕН В ДЕЙСТВИЕ постановлением Государственного комитета СССР по делам строительства от 31.04.81 № 51

3. ВВЕДЕН ВПЕРВЫЕ

4. ССЫЛОЧНЫЕ НОРМАТИВНО-ТЕХНИЧЕСКИЕ ДОКУМЕНТЫ

Обозначение НТД,
на который дана ссылка

Номер пункта,
приложения

Обозначение НТД,
на который дана ссылка

Номер пункта,
приложения

ГОСТ 111-2001

2.7

ГОСТ 5088-2005

2.2,2.4, приложение 3

ГОСТ 475-78

2.1, 2.3

ГОСТ 5089-2003

2.9

ГОСТ 1144-80

2.2 - 2.5

ГОСТ 5090-86

2.8, приложение 3

ГОСТ 2697-83

2.2 - 2.4

ГОСТ 5091-78

2.8, приложение 3

ГОСТ 2850-95

2.2, 2.5, 2.6

ГОСТ 7338-90

2.2, 2.5, 2.8

ГОСТ 3916.1-96

2.3

ГОСТ 8242-88

2.2 - 2.4

ГОСТ 3916.2-96

2.3

ГОСТ 9573-96

2.2

ГОСТ 4028-63

2.3

ГОСТ 9590-76

2.2, 2.4

ГОСТ 4598-86

2.2-2.6

ГОСТ 10174-90

2.2, 2.4, 2.8

ГОСТ 5087-80

2.2, приложение 3

 

 

5. ПЕРЕИЗДАНИЕ. Октябрь 2009 г.

СОДЕРЖАНИЕ

 



© 2013 Ёшкин Кот :-)