| ||||||||||||||||||||||||||||||||||
Скачать ГОСТ 33008-2014 Камины открытые и каминные вставки, работающие на твердом топливе. Требования и методы испытанийДата актуализации: 10.08.2017
|
| Обозначение: | ГОСТ 33008-2014 |
| Обозначение англ: | GOST 33008-2014 |
| Статус: | введен впервые |
| Название рус.: | Камины открытые и каминные вставки, работающие на твердом топливе. Требования и методы испытаний |
| Название англ.: | Inset appliances including open fires fired by solid fuels. Requirements and test methods |
| Дата добавления в базу: | 01.02.2017 |
| Дата актуализации: | 05.05.2017 |
| Дата введения: | 01.01.2016 |
| Область применения: | Стандарт определяет конструктивные и эксплуатационные требования, требования безопасности, энергоэффективности, методы испытаний, требования к маркировке, а также классификацию отопительных котлов, оснащенных атмосферными горелками (с вентиляторами или без вентиляторов) или горелками с полным предварительным смешением. Стандарт распространяется на котлы типов B и C, рассчитанные на подключение к замкнутым или открытым системам отопления: a) которые работают с одним или несколькими горючими газами трех семейств при значениях давления, указанных в [1]; b) у которых в стандартных эксплуатационных условиях температура жидкого теплоносителя не превышает 105°C; c) максимальное рабочее давление в водяном контуре не превышает 0,6 МПа; d) в определенных условиях возможно образование конденсата; e) которые определяются как конденсационные котлы, как низкотемпературные котлы или как стандартные котлы. Если не указано иное, котел рассматривается как стандартный котел; f) рассчитаны на установку в здании или в частично защищенном месте; g) рассчитаны на эксплуатацию с подготовкой горячей воды по проточной или накопительной схеме и поступают в открытую продажу в виде одного устройства. |
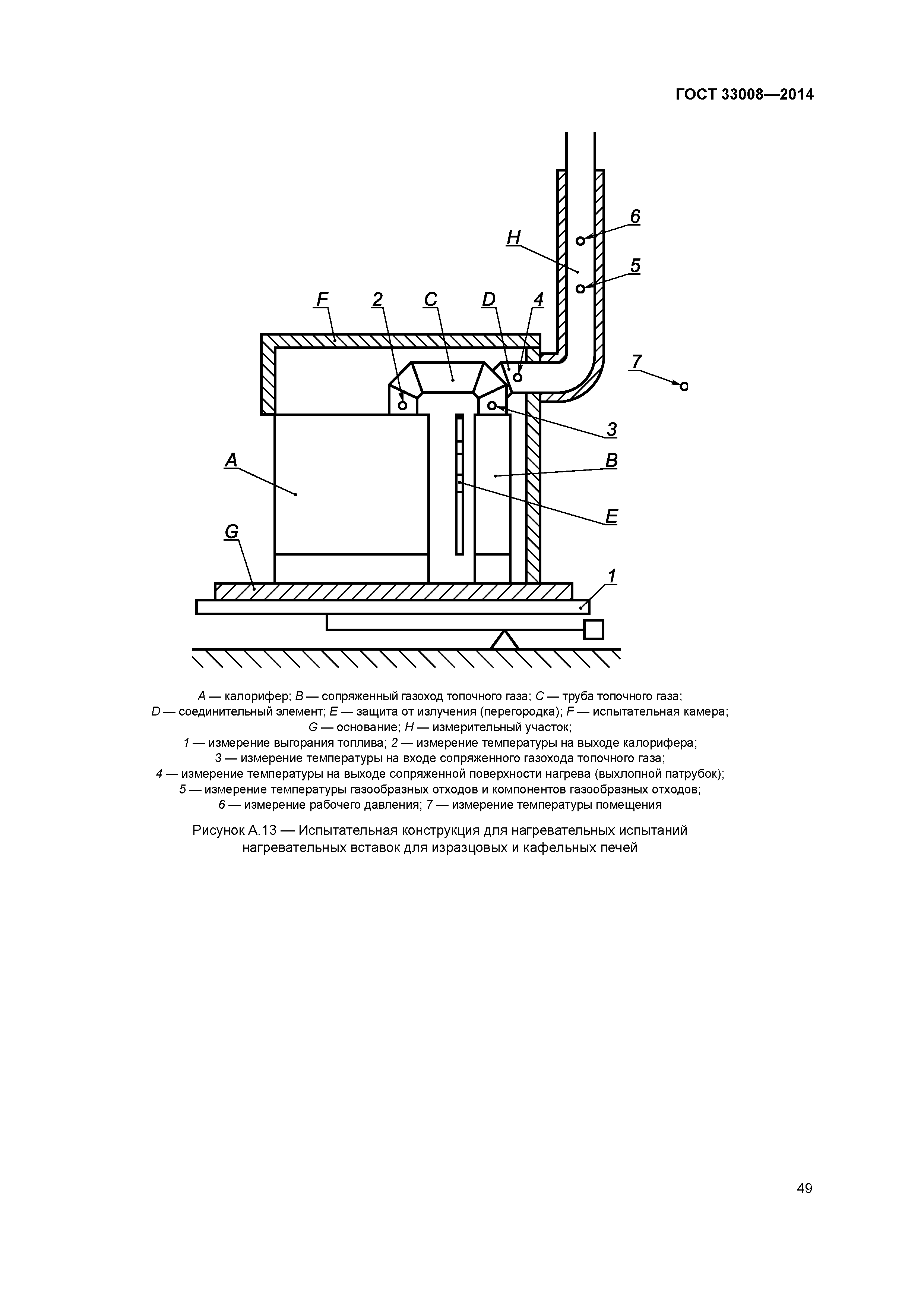
| Оглавление: | 1 Область применения 2 Нормативные ссылки 3 Термины и определения 3.1 Топки 3.2 Термины и определения, обусловленные эксплуатацией 3.3 Элементы конструкции, характеристики 3.4 Топливо 4 Материалы, конструкция, исполнение 4.1 Документация для изготовления 4.2 Общее исполнение 4.3 Выхлопной патрубок 4.4 Устройства регулирования сжигания 4.5 Газоходы топочного газа 4.6 Чистящий инструмент 4.7 Дверцы топки и загрузочные дверцы 4.8 Подача воздуха для горения 4.9 Внутреннее изменение направления топочного газа 4.10 Пол топочной камеры — колосник 4.11 Вертикальные колосники и/или вертикальная пластина 4.12 Ящик для золы и удаление золы 4.13 Требования к водоводным элементам конструкции 4.14 Устройство регулировки газообразных отходов 4.15 Чистка поверхности нагрева 5 Требования безопасности 5.1 Запорное устройство газохода газообразных отходов для топок без дверец топочной камеры 5.2 Температуры на прилегающих горючих компонентах 5.3 Вспомогательный инструмент 5.4 Испытание надежности при естественном рабочем давлении 5.5 Испытание надежности против выхода газа и выпадения жара 5.6 Температура в накопителе топлива/отделении для хранения топлива (незасыпная шахта) 5.7 Система термической защиты с контуром охлаждающей воды 5.8 Прочность и герметичность стен водоводных элементов конструкции 5.9 Размер смотрового стекла встраиваемых нагревательных устройств для изразцовых или оштукатуренных печей 5.10 Температура выхода конвекционного воздуха решетки встраиваемых нагревательных устройств для изразцовых или оштукатуренных печей 5.11 Электрическая безопасность 6 Требования к производственной мощности 6.1 Рабочее давление 6.2 Температура газообразных отходов 6.3 Выделение оксида углерода топками с закрытыми дверцами 6.4 Рациональное использование энергии 6.5 Продолжительность горения при номинальной теплопроизводительности 6.6 Номинальная теплопроизводительность 6.7 Теплопроизводительность воды 6.8 Теплопроизводительность помещения 6.9 Продолжительность горения малой нагрузки и удержания жара 6.10 Повторная растопка 6.11 Обслуживание пользователем 6.12 Нагрузка аккумулируемым теплом 7 Инструкции для топок 7.1 Общие данные 7.2 Руководство по установке 7.3 Руководство по эксплуатации 8 Маркировка 9 Проверка соответствия 9.1 Общие данные 9.2 Проверка соответствия образцу 9.3 Заводской контроль качества продукции Приложение А (справочное) Методика испытаний Приложение В (справочное) Испытательное и рекомендованное топливо Приложение ДА (справочное) Положения настоящего Межгосударственного стандарта по реализации ТР ТС 010/2011 "О безопасности машин и оборудования" Библиография |
| Разработан: | ФГУП ВНИИНМАШ |
| Утверждён: | 20.10.2014 Межгосударственный Совет по стандартизации, метрологии и сертификации (Inter-Governmental Council on Standardization, Metrology, and Certification 71-П) 09.06.2015 Федеральное агентство по техническому регулированию и метрологии (582-ст) |
| Издан: | Стандартинформ (2015 г. ) |
| Расположен в: | |
| Нормативные ссылки: |
|

































































