| ||||||||||||||||||||||||||||||||||
Скачать ГОСТ Р МЭК 61800-4-2012 Системы силовых электроприводов с регулируемой скоростью. Часть 4. Общие требования. Номинальные технические характеристики систем силовых приводов переменного тока свыше 1000 В и не более 35 кВДата актуализации: 10.08.2017
|
| Обозначение: | ГОСТ Р МЭК 61800-4-2012 |
| Обозначение англ: | GOST R IEC 61800-4-2012 |
| Статус: | действует |
| Название рус.: | Системы силовых электроприводов с регулируемой скоростью. Часть 4. Общие требования. Номинальные технические характеристики систем силовых приводов переменного тока свыше 1000 В и не более 35 кВ |
| Название англ.: | Adjustable speed electrical power drive systems. Part 4. General requirements - Rating specifications for a.c power drive systems above 1000 V a.c. And exceeding 35 kV |
| Дата добавления в базу: | 01.10.2014 |
| Дата актуализации: | 05.05.2017 |
| Дата введения: | 01.06.2013 |
| Область применения: | Стандарт распространяется на системы регулируемых электроприводов переменного тока, которые включают в себя силовой преобразователь, устройства управления и двигатель. Стандарт не распространяется на электрическую тягу железнодорожного применения и электрические приводы транспортных устройств. Стандарт распространяется на системы электропривода с линейным напряжением преобразователя от 1 до 35 кВ переменного тока, 50 или 60 Гц и с частотами преобразователя на стороне нагрузки до 600 Гц. |
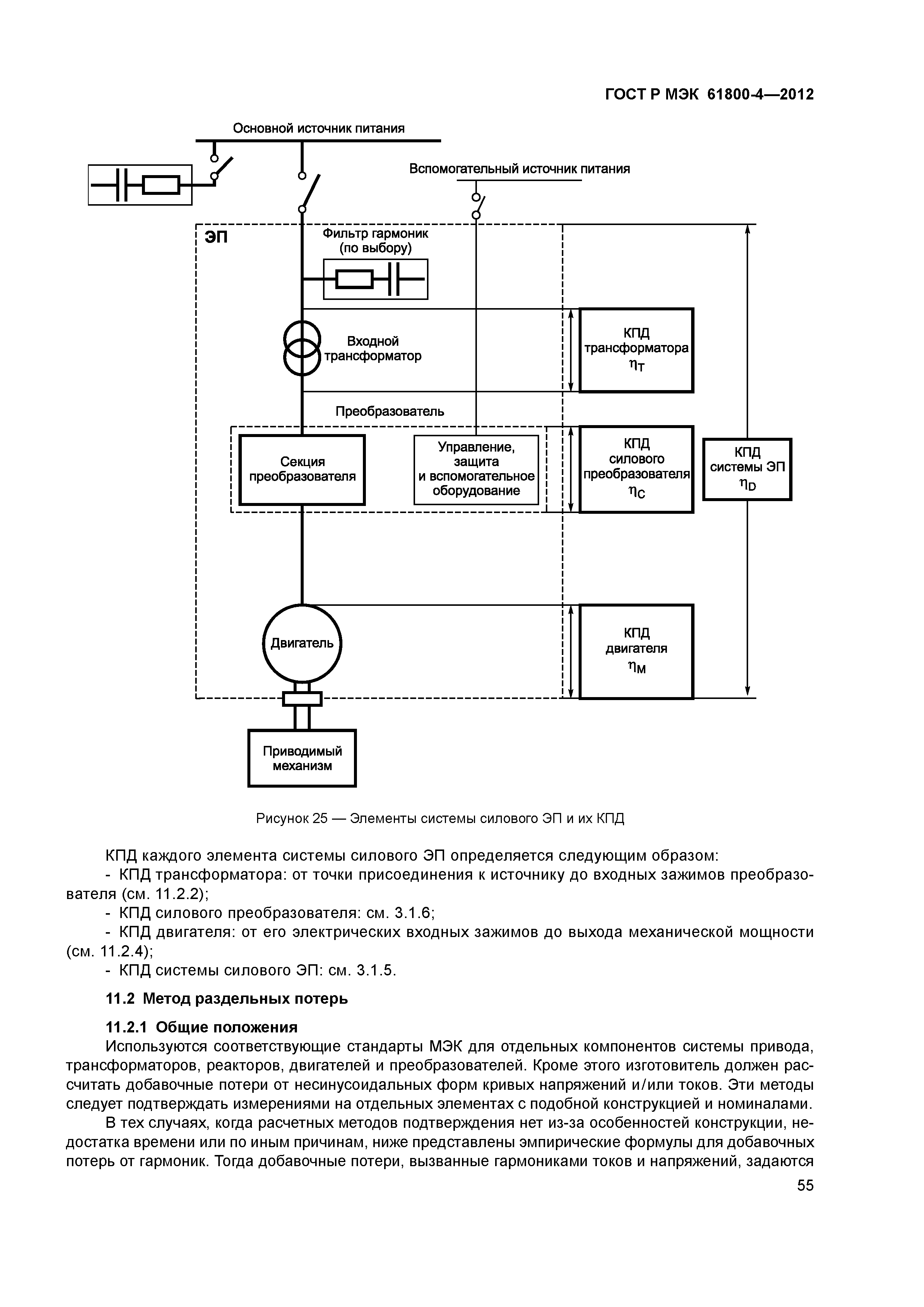
| Оглавление: | 1 Область применения 2 Нормативные ссылки 3 Термины и определения 4 Обзор топологических структур приводов 5 Условия сервиса 6 Номинальные данные 7 Требования к характеристикам системы 8 Основные элементы системы силового электропривода 9 Результирующие требования к системе силового электропривода 10 Испытания 11 Определение коэффициента полезного действия Приложение А (справочное) Наиболее часто используемые топологии систем электропривода Приложение В (справочное) Способы регулирования скорости и механическая часть электропривода Приложение С (справочное) Потери в силовых полупроводниковых приборах Приложение ДА (справочное) Сведения о соответствии ссылочных международных стандартов национальным стандартам Российской Федерации (и действующим в этом качестве межгосударственным стандартам) |
| Разработан: | ФГУП ВНИИНМАШ ФГБОУ ВПО НИУ МЭИ |
| Утверждён: | 20.09.2012 Федеральное агентство по техническому регулированию и метрологии (377-ст) |
| Издан: | Стандартинформ (2014 г. ) |
| Расположен в: | |
| Нормативные ссылки: |
|

















































































