| ||||||||||||||||||||||||||||||
Скачать СТО ЦКТИ 321.10-2010 Отводы крутоизогнутые из мартенситной хромистой стали марки 10Х9МФБ-Ш для паропроводов тепловых станций с расчетным ресурсом 200000 часов. Конструкция и размерыДата актуализации: 10.08.2017
|
| Обозначение: | СТО ЦКТИ 321.10-2010 |
| Обозначение англ: | 321.10-2010 |
| Статус: | действует |
| Название рус.: | Отводы крутоизогнутые из мартенситной хромистой стали марки 10Х9МФБ-Ш для паропроводов тепловых станций с расчетным ресурсом 200000 часов. Конструкция и размеры |
| Дата добавления в базу: | 01.09.2013 |
| Дата актуализации: | 05.05.2017 |
| Дата введения: | 01.09.2010 |
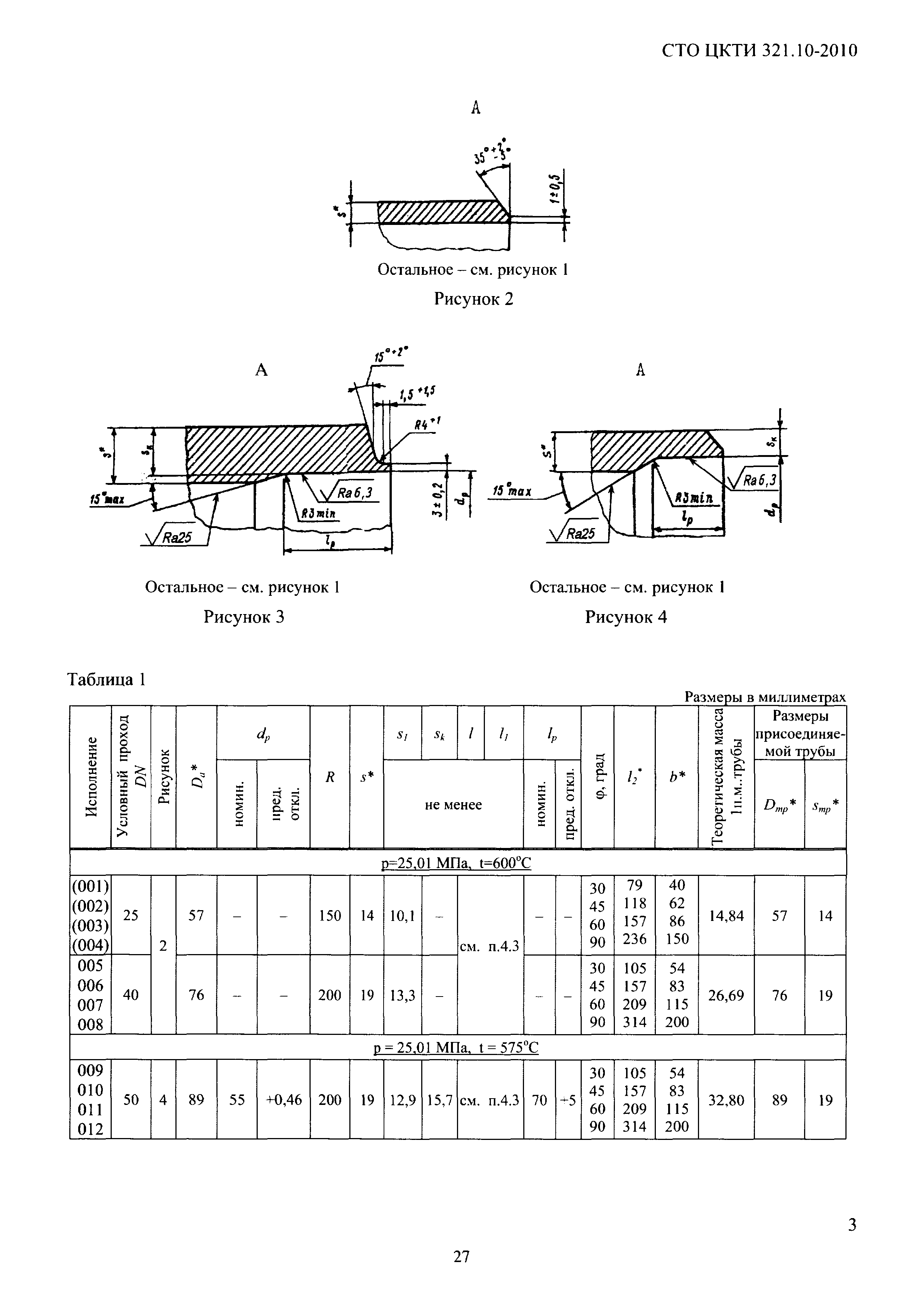
| Область применения: | Стандарт распространяется на крутоизогнутые отводы с углами гиба 30, 45, 60 и 90 градусов, изготавливаемые из труб стали марки 10Х9МФБ-Ш по ТУ 14-3Р-55, а труб диаметром 630х28 мм - по согласованию с предприятием-изготовителем, для паропроводов тепловых станций I категории (по классификации ПБ 10-573) с абсолютным давлением и температурой пара: р=25,01 МПа, t=600, 575 и 565 градусов Цельсия; р=13,8 МПа, t=600, 575 и 565 градусов Цельсия; р=9,8 МПа, t=600, 575 и 565 градусов Цельсия; р=4,02 МПа, t=600, 575 и 565 градусов Цельсия и расчетным ресурсом 200000 часов. |
| Оглавление: | 1 Область применения 2 Нормативные ссылки 3 Термины, определения и обозначения 4 Конструкция и размеры 5 Технические требования |
| Разработан: | ОАО НПО ЦКТИ ЗАО Энергомаш (Белгород)-БЗЭМ |
| Утверждён: | 22.07.2010 ОАО НПО ЦКТИ (244) |
| Расположен в: | |
| Нормативные ссылки: |
|















