Информационная система
«Ёшкин Кот»

Скачать базу одним архивом
Скачать обновления
История создания базы
Карта сайта

Скачать РД 31.28.09-93 Подшипники скольжения судовые с антифрикционным слоем из сплавов на основе олова, свинца. Типовые технические требования к материалам. Типовые технологические процессы

Дата актуализации: 10.08.2017

РД 31.28.09-93

Подшипники скольжения судовые с антифрикционным слоем из сплавов на основе олова, свинца. Типовые технические требования к материалам. Типовые технологические процессы

Обозначение: РД 31.28.09-93
Обозначение англ: RD 31.28.09-93
Статус:действует
Название рус.:Подшипники скольжения судовые с антифрикционным слоем из сплавов на основе олова, свинца. Типовые технические требования к материалам. Типовые технологические процессы
Дата добавления в базу:01.10.2014
Дата актуализации:05.05.2017
Дата введения:01.01.1994
Область применения:Руководящий документ распространяется но подшипники скольжения судовые с антифрикционным слоем из сплавов но основе олово и свинца, используемые но судовых мало— и среднеоборотных дизелях, турбинах, валопроводах, и устанавливает технические требования к материалам заготовок подшипников (вкладышей) и антифрикционного слоя, типовые технологические процессы подготовки, лужения, заливки и наплавки антифрикционного слоя, контролю качества заливки и наплавки, документацию и маркировку. Руководящий документ (РД) обязателен для предприятий и организаций изготавливающих новые или ремонтирующих бывшие в эксплуатации подшипники скольжения с антифрикционным слоем из сплавов но основе олово и свинца для морских транспортных судов.
Оглавление:1. Технические требования к материалам и антифрикционному слою подшипников
2. Методы контроля и испытаний
3. Техника безопасности при выполнении работ по изготовлению и ремонту подшипников скольжения судовых с антифрикционным слоем из сплавов на основе олова и свинца
4. Технологический процесс заливки подшипников антифрикционными сплавами на основе олова и свинца
   4.1 Технические требования к заготовкам под заливку
   4.2 Подготовка заготовок подшипников к лужению
   4.3 Флюсование
   4.4 Сборка и подготовка подшипников к лужению
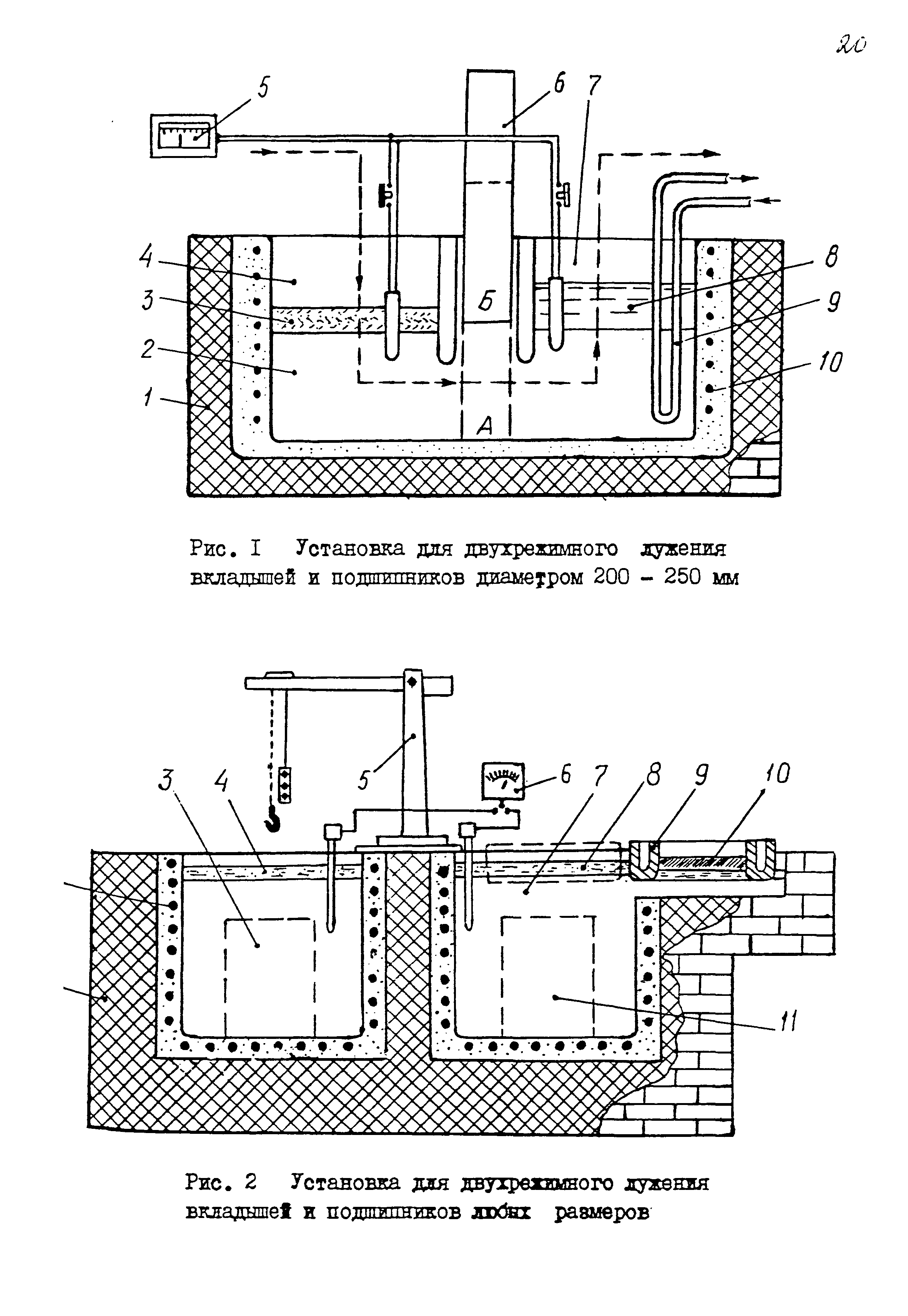
   4.5 Лужение подшипников
   4.6 Подготовка к плавке и плавка антифрикционных сплавов но основе олова и свинца
   4.7. Заливка подшипников антифрикционными сплавами на основе олова и свинца
   4.8. Контроль качества заливки
5. Наплавка антифрикционного слоя
   5.1 Общие технические требования
   5.2 Подготовка подшипников к ремонту
   5.3 Присадочный материал
   5.4 Технология наплавки
   5.5 Контроль качества
6. Исправление дефектов антифрикционного слоя
7. Документация, маркировка, хранение, гарантия изготовителя
Приложение 1 (обязательное). Эталоны микроструктур сплавов на основе олова и свинца для подшипников скольжения судовых
Приложение 2 (рекомендуемое). Деграфитизация чугунных заготовок подшипников
Приложение 3 (рекомендуемое). Приготовление флюсов для лужения
Приложение 4 (рекомендуемое). Типовые инструкции по наплавке антифрикционного слоя
   1. Газопламенные методы наплавки
   2. Аргоно-дуговая наплавка
   3. Наплавка угольным (графитовым) электродом
Приложение 5 (обязательное). Контроль качества соединения (приставания) баббита с основой подшипника
Приложение 6 (рекомендуемое). Нанесение приработочного покрытия
Приложение 7 (справочное). Основной состав некоторых зарубежных антифрикционных сплавов на основе олова и свинца
   1. Сплавы с содержанием слова 79 - 85 %
   2. Сплавы с содержанием олова 85 - 92 %
   3. Сплавы свинцовые типа БН
   4. Сплавы свинцовые типа Б16
Разработан: ЗАО ЦНИИМФ
Техномарин
Утверждён:07.09.1993 ЦНИИМФ
Принят:01.10.1993 Техническая инспекция труда СФНПР ВТ по Санкт-Петербургскому бассейну
Расположен в:Техническая документация Экология СУДОСТРОЕНИЕ И МОРСКИЕ СООРУЖЕНИЯ Судостроение и морские сооружения в целом Судостроение и морские сооружения, прочие аспекты
Заменяет собой:
  • ОСТ 31.003.0-74
  • ОСТ 31.003.1-74
  • ОСТ 31.003.2-74
  • ОСТ 31.003.3-74
  • ОСТ 31.003.4-74
  • ОСТ 31.003.5-74
  • ОСТ 31.003.6-74
Нормативные ссылки:
РД 31.28.09-93РД 31.28.09-93РД 31.28.09-93РД 31.28.09-93РД 31.28.09-93РД 31.28.09-93РД 31.28.09-93РД 31.28.09-93РД 31.28.09-93РД 31.28.09-93РД 31.28.09-93РД 31.28.09-93РД 31.28.09-93РД 31.28.09-93РД 31.28.09-93РД 31.28.09-93РД 31.28.09-93РД 31.28.09-93РД 31.28.09-93РД 31.28.09-93РД 31.28.09-93РД 31.28.09-93РД 31.28.09-93РД 31.28.09-93РД 31.28.09-93РД 31.28.09-93РД 31.28.09-93РД 31.28.09-93РД 31.28.09-93РД 31.28.09-93РД 31.28.09-93РД 31.28.09-93РД 31.28.09-93РД 31.28.09-93РД 31.28.09-93РД 31.28.09-93РД 31.28.09-93РД 31.28.09-93РД 31.28.09-93РД 31.28.09-93РД 31.28.09-93РД 31.28.09-93РД 31.28.09-93РД 31.28.09-93РД 31.28.09-93РД 31.28.09-93РД 31.28.09-93РД 31.28.09-93РД 31.28.09-93РД 31.28.09-93РД 31.28.09-93РД 31.28.09-93РД 31.28.09-93РД 31.28.09-93РД 31.28.09-93РД 31.28.09-93РД 31.28.09-93РД 31.28.09-93РД 31.28.09-93РД 31.28.09-93РД 31.28.09-93РД 31.28.09-93РД 31.28.09-93РД 31.28.09-93РД 31.28.09-93РД 31.28.09-93РД 31.28.09-93РД 31.28.09-93РД 31.28.09-93РД 31.28.09-93РД 31.28.09-93РД 31.28.09-93РД 31.28.09-93РД 31.28.09-93РД 31.28.09-93РД 31.28.09-93РД 31.28.09-93РД 31.28.09-93РД 31.28.09-93РД 31.28.09-93РД 31.28.09-93РД 31.28.09-93РД 31.28.09-93РД 31.28.09-93РД 31.28.09-93

© 2013 Ёшкин Кот :-) Карта сайта