| ||||||||||||||||||||||||||||||||||||
Скачать СН 460-74 Раздел 4. Конструкции железобетонныеДата актуализации: 10.08.2017
|
| Обозначение: | СН 460-74 |
| Обозначение англ: | SN 460-74 |
| Статус: | не действует |
| Название рус.: | Раздел 4. Конструкции железобетонные |
| Дата добавления в базу: | 01.09.2013 |
| Дата актуализации: | 05.05.2017 |
| Дата введения: | 12.08.1986 |
| Область применения: | Документ устанавливает состав и правила оформления рабочих чертежей бетонных и железобетонных конструкций зданий и сооружений |
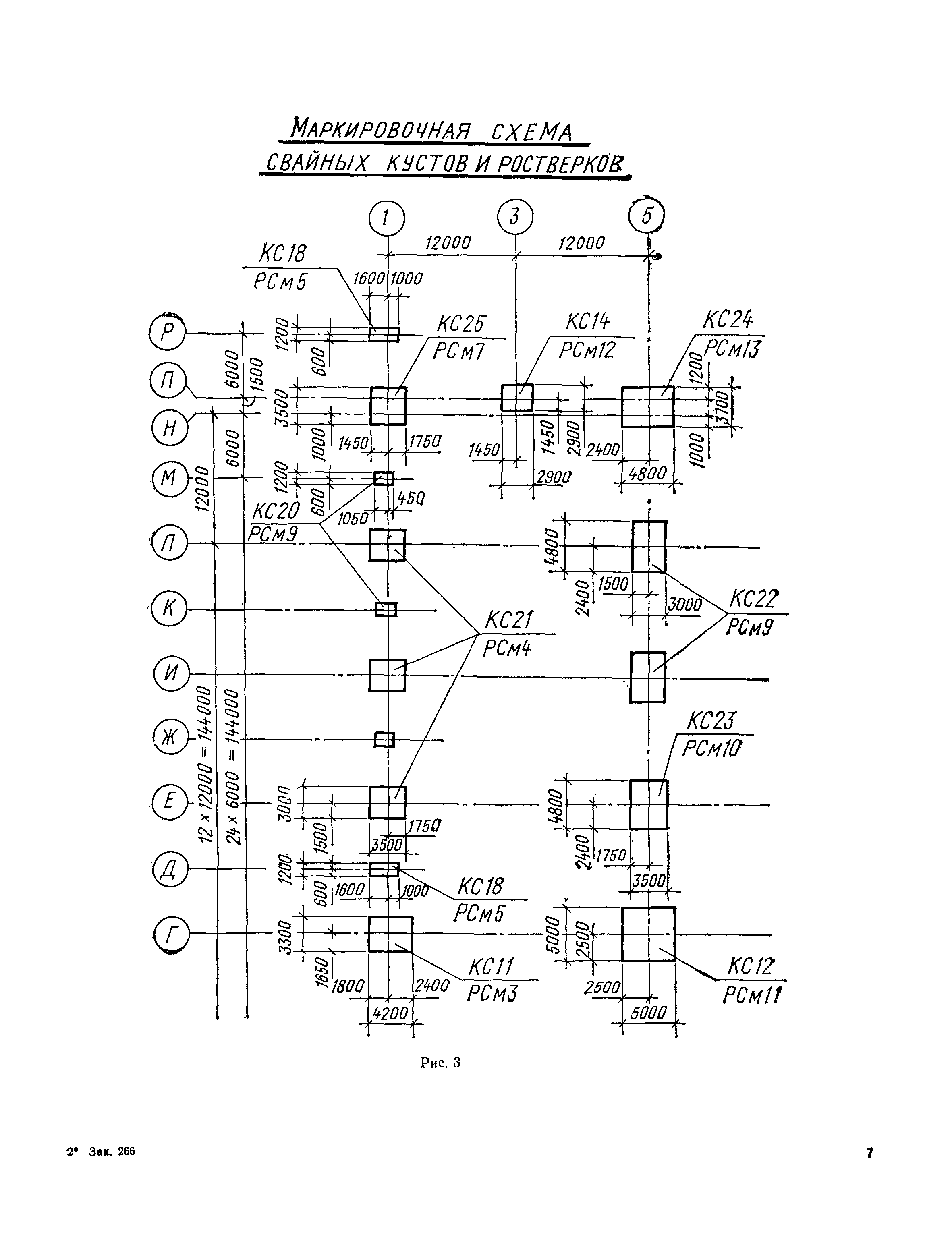
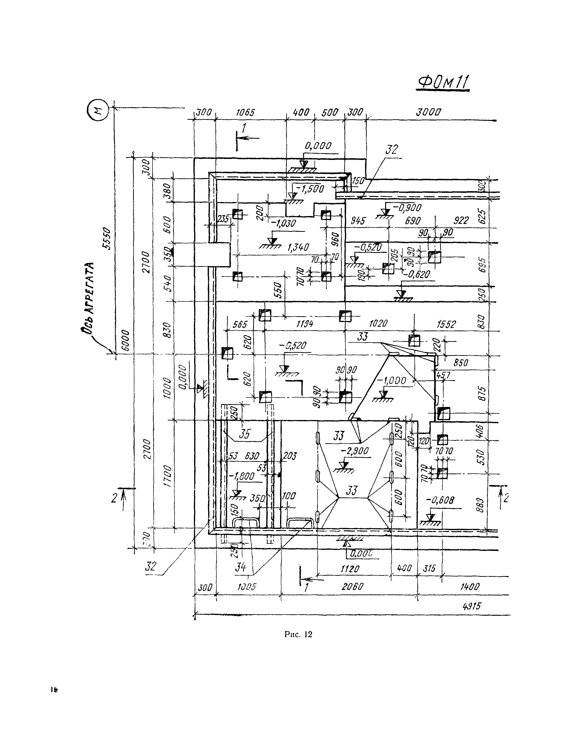
| Оглавление: | 1. Область применения 2. Состав основного комплекта рабочих чертежей и масштабы изображений 3. Общие данные (заглавный лист) 4. Маркировочные схемы 5. Сборочные чертежи элементов железобетонных конструкций 6. Чертежи арматурных, закладных и соединительных изделий |
| Разработан: | Промстройпроект |
| Утверждён: | 29.05.1974 Госстрой СССР (Государственный комитет Совета Министров СССР по делам строительства) (USSR Gosstroy 111) |
| Издан: | Стройиздат (1975 г. ) |
| Расположен в: | |
| Список изменений: |
|
| Чем заменён: |
|
| Нормативные ссылки: |









































Текстовое изменение № 1 от 01.07.1979
Текстовое изменение № 2 от 01.01.1981
Текстовое изменение № 3 от 01.01.1981
Текстовое изменение № 4 от 01.01.1981
Текстовое изменение № 5 от 01.01.1981