| ||||||||||||||||||||||||
Скачать Руководство по наблюдениям за деформациями оснований и фундаментов зданий и сооруженийДата актуализации: 10.08.2017 |
| Статус: | действует |
| Название рус.: | Руководство по наблюдениям за деформациями оснований и фундаментов зданий и сооружений |
| Дата добавления в базу: | 01.09.2013 |
| Дата актуализации: | 05.05.2017 |
| Область применения: | Настоящее Руководство является пособием при проектировании наблюдений за деформациями оснований и фундаментов зданий и сооружений. |
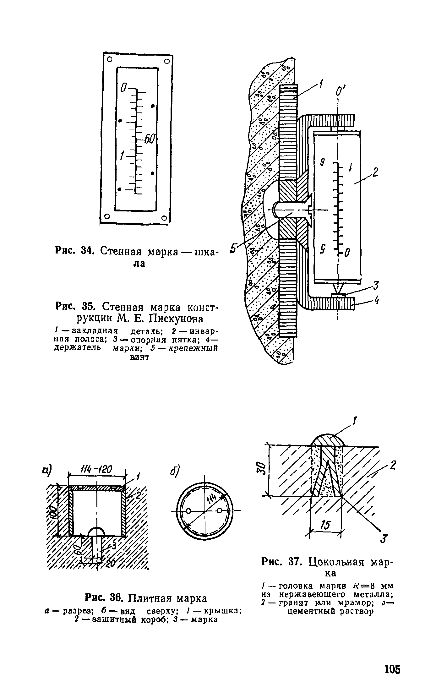
| Оглавление: | Предисловие 1. Общие положения 2. Составление рабочей программы 3. Измерение вертикальных перемещений оснований и фундаментов зданий и сооружений 4. Особенности измерения осадок фундаментов зданий и сооружений, основанных на насыпных, просадочных, заторфованных, вечномерзлых, засоленных, набухающих грунтах 5. Особенности наблюдений за осадками фундаментов на тепловых электростанциях 6. Измерение сдвигов фундаментов зданий и сооружений 7. Измерение кренов сооружений 8. Наблюдения за трещинами 9. Особенности наблюдений за оползнями 10. Техника безопасности при выполнении работ по измерению деформаций оснований, фундаментов зданий и сооружений Приложение |
| Разработан: | Фундаментпроект НИИОСП им. Герсеванова Госстроя России |
| Издан: | Стройиздат (1975 г. ) |
| Расположен в: | |
| Нормативные ссылки: |
































































































































































