Информационная система
«Ёшкин Кот»

Скачать базу одним архивом
Скачать обновления
История создания базы
Карта сайта

Скачать Рекомендации по проектированию гидроизоляции подземных частей зданий и сооружений. Конструктивные детали гидроизоляции

Дата актуализации: 10.08.2017

Рекомендации по проектированию гидроизоляции подземных частей зданий и сооружений. Конструктивные детали гидроизоляции

Статус:действует
Название рус.:Рекомендации по проектированию гидроизоляции подземных частей зданий и сооружений. Конструктивные детали гидроизоляции
Дата добавления в базу:01.09.2013
Дата актуализации:05.05.2017
Область применения:Рекомендации распространяются на защиту подземных частей зданий и сооружений, а также заглубленных помещений и фундаментов колонн, стен и оборудования от подземных вод
Оглавление:1. Общая часть
2. Типы гидроизоляции
   - Окрасочная гидроизоляция
   - Штукатурная гидроизоляция
   - Оклеечная гидроизоляция
   - Облицовочная гидроизоляция
3. Гидроизоляция деформационных швов и пропуска труб
4. Конструкция гидроизоляции
   - Тоннели, каналы
   - Подвалы
   - Подпорные стены
   - Фундаменты
5. Гидроизоляция подземных сооружений, возводимых специальными способами
   - Способ "стена в грунте"
   - Способ "секущих свай"
   - Способ "опускного колодца"
   - Способ продавливания объемных железобетонных элементов
   - Способ щитовой проходки
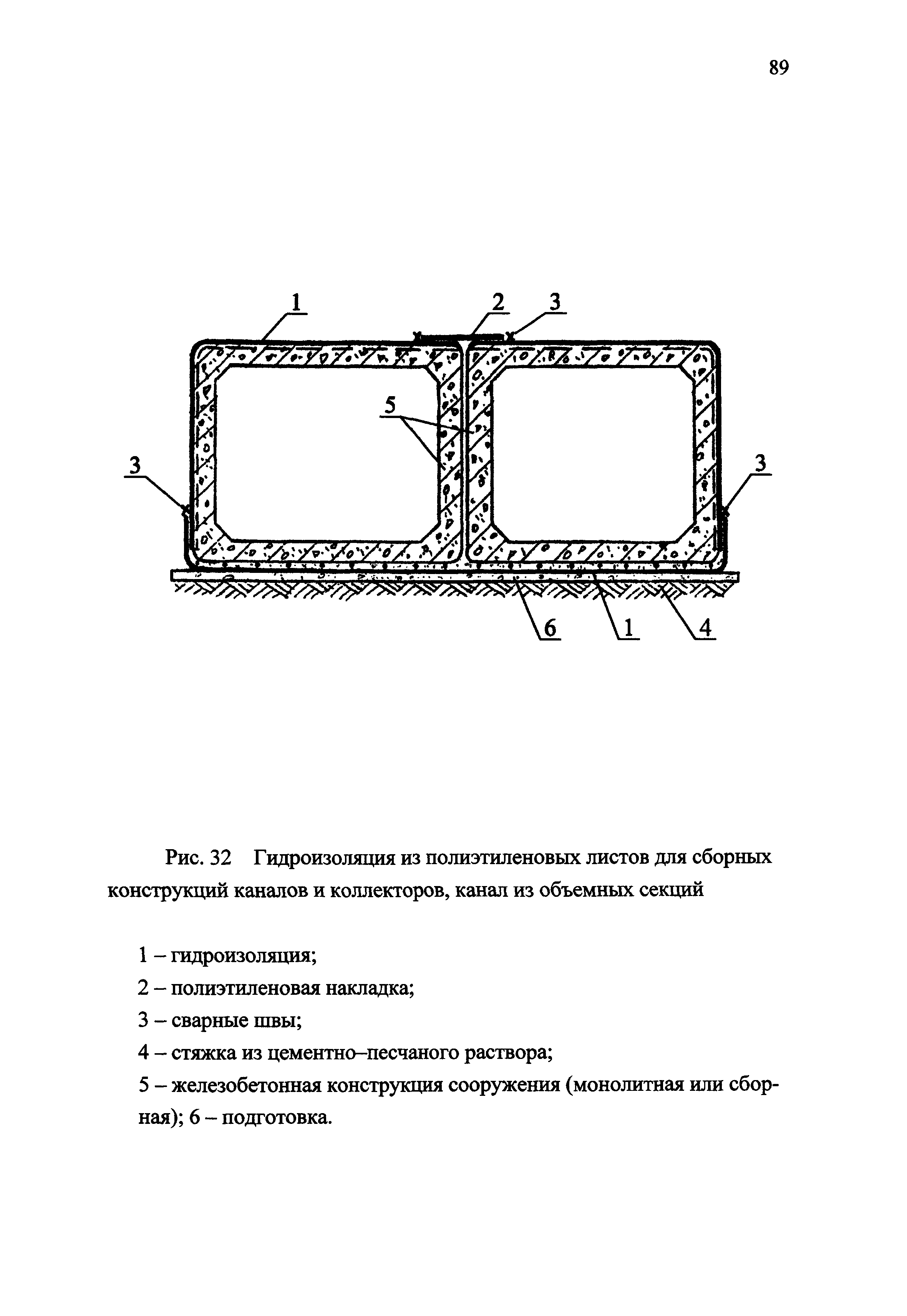
Приложение 1. Примеры устройства гидроизоляции подземных сооружений, деформационных швов, сопряжений закладных изделий с гидроизоляцией
Приложение 2. Примеры устройства гидроизоляции фундаментов при воздействии агрессивных подземных вод
Разработан: ОАО ЦНИИпромзданий
Утверждён: ОАО ЦНИИпромзданий (TsNIIpromzdaniy OAO )
Издан: ОАО ЦНИИпромзданий (2009 г. )
Расположен в:Техническая документация Экология ГРАЖДАНСКОЕ СТРОИТЕЛЬСТВО Земляные работы. Выемка грунта. Сооружение фундаментов. Подземные работы Фундаменты СТРОИТЕЛЬНЫЕ МАТЕРИАЛЫ И СТРОИТЕЛЬСТВО Защита зданий снаружи и внутри Паро- и водонепроницаемость Строительство Справочные документы Директивные письма, положения, рекомендации и др. Национальные стандарты Проектирование, строительство, ремонт и содержание искусственных сооружений на автомобильных дорогах Реконструкция, ремонт и содержание искусственных сооружений Ремонт элементов мостового полотна
Заменяет собой:
Нормативные ссылки:

© 2013 Ёшкин Кот :-) Карта сайта