Информационная система
«Ёшкин Кот»

Скачать базу одним архивом
Скачать обновления
История создания базы
Карта сайта

Скачать Рекомендации Рекомендации по проектированию гидроизоляции подземных частей зданий и сооружений

Дата актуализации: 10.08.2017

Рекомендации

Рекомендации по проектированию гидроизоляции подземных частей зданий и сооружений

Обозначение: Рекомендации
Обозначение англ: Recommendations
Статус:действует
Название рус.:Рекомендации по проектированию гидроизоляции подземных частей зданий и сооружений
Дата добавления в базу:01.09.2013
Дата актуализации:05.05.2017
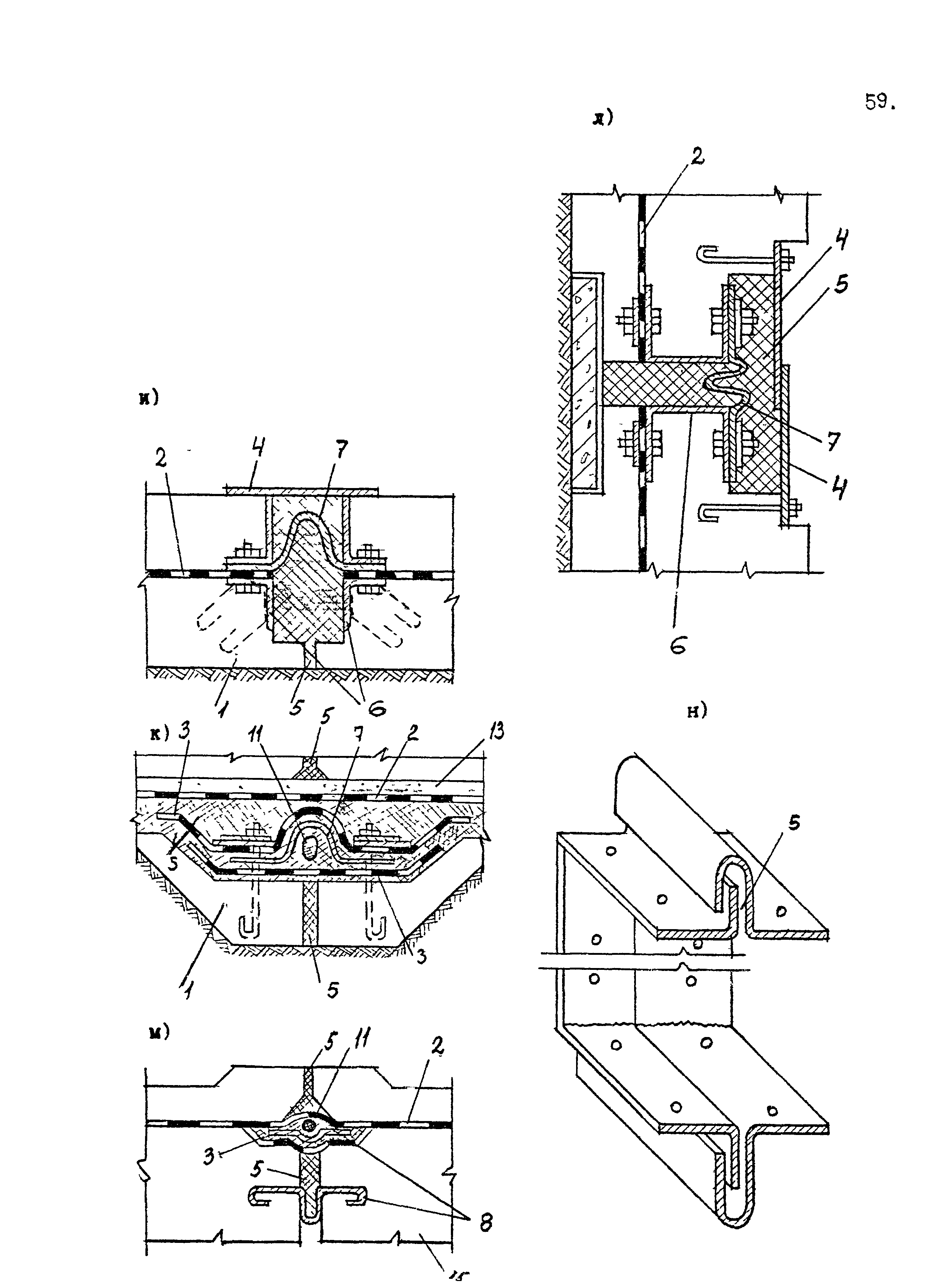
Область применения:Рекомендации по проектированию гидроизоляции распространяются на защиту подземных частей зданий и сооружений, а также заглубленных помещений и фундаментов колонн, стен и оборудования от подземных вод с помощью следующих видов гидроизоляции: окрасочной (битумной, битумно-полимерной, полимерной); штукатурной (холодной асфальтовой, горячей асфальтовой, цементной); оклеечной (рулонной, листовой); облицовочной (из стальных или полиэтиленовых листов).
Оглавление:1 Общая часть
2 Типы гидроизоляции
   окрасочная гидроизоляция
   штукатурная гидроизоляция
   оклеечная гидроизоляция
   облицовочная гидроизоляция
3 Гидроизоляция деформационных швов и пропуск труб
4 Конструкция гидроизоляции
   тоннели, каналы
   подвалы
   подпорные
   фундаменты
5 Гидроизоляция подземных сооружений, возводимых специальными способами
   способ "стена в грунте"
   способ "секущихся свай"
   способ "опускного колодца"
   способ продавливания объемных железобетонных элементов
   способ щитовой проходки
Приложение 1 Примеры устройства гидроизоляции подземных сооружений, деформационных швов, сопряжений закладных изделий с гидроизоляцией
Приложение 2 Примеры устройства гидроизоляции фундаментов при воздействии агрессивных подземных вод
Дополнение
Разработан: ЦНИИпромзданий
Утверждён:01.01.1996 ЦНИИ промзданий (TsNII promzdaniy )
Издан: ЦНИИпромзданий (1998 г. )
Расположен в:Техническая документация Экология ГРАЖДАНСКОЕ СТРОИТЕЛЬСТВО Земляные работы. Выемка грунта. Сооружение фундаментов. Подземные работы Фундаменты Строительство Справочные документы Директивные письма, положения, рекомендации и др.
Чем заменён:
Нормативные ссылки:
Рекомендации Рекомендации Рекомендации Рекомендации Рекомендации Рекомендации Рекомендации Рекомендации Рекомендации Рекомендации Рекомендации Рекомендации Рекомендации Рекомендации Рекомендации Рекомендации Рекомендации Рекомендации Рекомендации Рекомендации Рекомендации Рекомендации Рекомендации Рекомендации Рекомендации Рекомендации Рекомендации Рекомендации Рекомендации Рекомендации Рекомендации Рекомендации Рекомендации Рекомендации Рекомендации Рекомендации Рекомендации Рекомендации Рекомендации Рекомендации Рекомендации Рекомендации Рекомендации Рекомендации Рекомендации Рекомендации Рекомендации Рекомендации Рекомендации Рекомендации Рекомендации Рекомендации Рекомендации Рекомендации Рекомендации Рекомендации Рекомендации Рекомендации Рекомендации Рекомендации Рекомендации Рекомендации Рекомендации Рекомендации Рекомендации Рекомендации Рекомендации Рекомендации Рекомендации Рекомендации Рекомендации Рекомендации Рекомендации Рекомендации Рекомендации Рекомендации Рекомендации Рекомендации Рекомендации Рекомендации Рекомендации Рекомендации Рекомендации Рекомендации Рекомендации Рекомендации Рекомендации Рекомендации Рекомендации Рекомендации Рекомендации Рекомендации Рекомендации Рекомендации Рекомендации Рекомендации Рекомендации Рекомендации Рекомендации Рекомендации Рекомендации Рекомендации Рекомендации Рекомендации Рекомендации Рекомендации

© 2013 Ёшкин Кот :-) Карта сайта