Информационная система
«Ёшкин Кот»

Скачать базу одним архивом
Скачать обновления
История создания базы
Карта сайта

Скачать ГОСТ Р 53295-2009 Средства огнезащиты для стальных конструкций. Общие требования. Метод определения огнезащитной эффективности

Дата актуализации: 10.08.2017

ГОСТ Р 53295-2009

Средства огнезащиты для стальных конструкций. Общие требования. Метод определения огнезащитной эффективности

Обозначение: ГОСТ Р 53295-2009
Обозначение англ: GOST R 53295-2009
Статус:введен впервые
Название рус.:Средства огнезащиты для стальных конструкций. Общие требования. Метод определения огнезащитной эффективности
Название англ.:Fire retardant compositions for steel constructions. General requirement. Method for determining fire retardant efficiency
Дата добавления в базу:01.09.2013
Дата актуализации:05.05.2017
Дата введения:01.05.2009
Область применения:Стандарт является нормативным документом по пожарной безопасности в области стандартизации и устанавливает общие требования к средствам огнезащиты для стальных конструкций, а также метод определения огнезащитной эффективности этих средств.
Оглавление:1 Область применения
2 Нормативные ссылки
3 Термины и определения
4 Общие требования
5 Метод определения огнезащитной эффективности
6 Контрольный метод испытаний средств огнезащиты
7 Техника безопасности
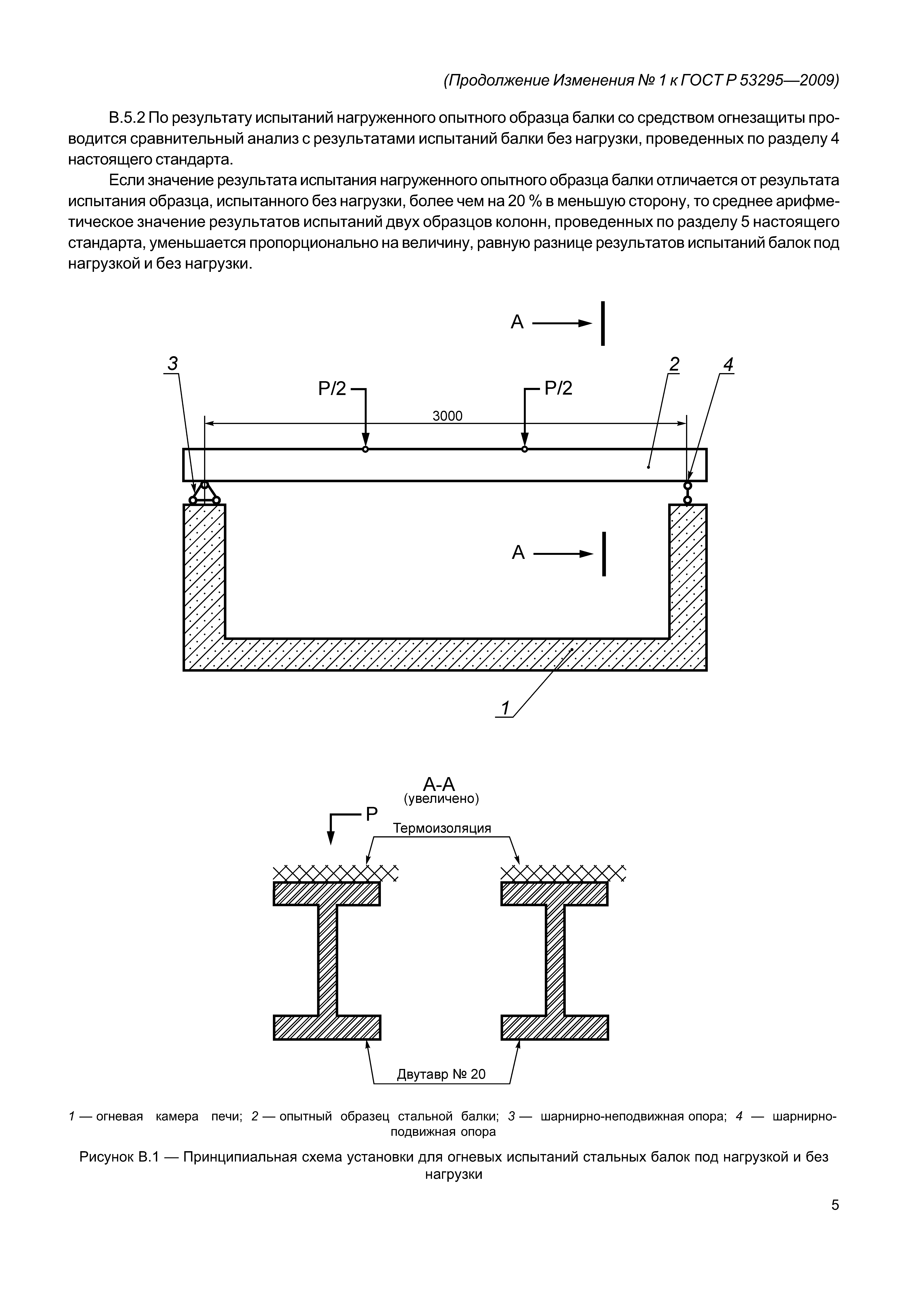
Приложение А (обязательное) Установки для проведения испытаний
Приложение Б (рекомендуемое) Метод огневого испытания стальной колонны с огнезащитной при воздействии нагрузки
Приложение В (рекомендуемое) Метод огневого испытания стальной балки с огнезащитой при воздействии нагрузки
Приложение Г (рекомендуемое) Метод огневого испытания стальных конструкций с тонкослойными вспучивающимися огнезащитными покрытиями (красками) при температурном режиме медленно развивающегося (тлеющего) пожара
Приложение Д (обязательное) Оценка и пример вычисления среднего квадратического отклонения результата измерений
Разработан: ТК 274 Пожарная безопасность
ФГУ ВНИИПО МЧС России
Утверждён:18.02.2009 Федеральное агентство по техническому регулированию и метрологии (71-ст)
Издан: Стандартинформ (2009 г. )
Расположен в:Техническая документация Электроэнергия СТРОИТЕЛЬНЫЕ МАТЕРИАЛЫ И СТРОИТЕЛЬСТВО Установки в зданиях Лифты. Эскалаторы ОХРАНА ОКРУЖАЮЩЕЙ СРЕДЫ, ЗАЩИТА ЧЕЛОВЕКА ОТ ВОЗДЕЙСТВИЯ ОКРУЖАЮЩЕЙ СРЕДЫ. БЕЗОПАСНОСТЬ Защита от пожаров Огнестойкость строительных материалов и элементов Экология СТРОИТЕЛЬНЫЕ МАТЕРИАЛЫ И СТРОИТЕЛЬСТВО Установки в зданиях Лифты. Эскалаторы ОХРАНА ОКРУЖАЮЩЕЙ СРЕДЫ, ЗАЩИТА ЧЕЛОВЕКА ОТ ВОЗДЕЙСТВИЯ ОКРУЖАЮЩЕЙ СРЕДЫ. БЕЗОПАСНОСТЬ Защита от пожаров Огнестойкость строительных материалов и элементов Строительство Нормативные документы Документы Системы нормативных документов в строительстве Общие технические нормативные документы к.21 Пожарная безопасность
Список изменений:
  • № 1 от 01.11.2014 (ИУС 11-2014, Текстовое изменение. Изменены ссылочные нормативные документы. Изменен код ОКС)
Нормативные ссылки:
ГОСТ Р 53295-2009ГОСТ Р 53295-2009ГОСТ Р 53295-2009ГОСТ Р 53295-2009ГОСТ Р 53295-2009ГОСТ Р 53295-2009ГОСТ Р 53295-2009ГОСТ Р 53295-2009ГОСТ Р 53295-2009ГОСТ Р 53295-2009ГОСТ Р 53295-2009ГОСТ Р 53295-2009ГОСТ Р 53295-2009ГОСТ Р 53295-2009ГОСТ Р 53295-2009ГОСТ Р 53295-2009ГОСТ Р 53295-2009ГОСТ Р 53295-2009ГОСТ Р 53295-2009ГОСТ Р 53295-2009ГОСТ Р 53295-2009ГОСТ Р 53295-2009

Текстовое изменение № 1 от 01.11.2014

№ 1№ 1№ 1№ 1№ 1№ 1№ 1№ 1

© 2013 Ёшкин Кот :-) Карта сайта