Скачать ОСТ 26.260.462-99 Устройства для установки приборов измерения температуры на Ру от 0,6 до 16 МПа. Типы, конструкция, размеры и общие технические требованияДата актуализации: 10.08.2017 ОСТ 26.260.462-99
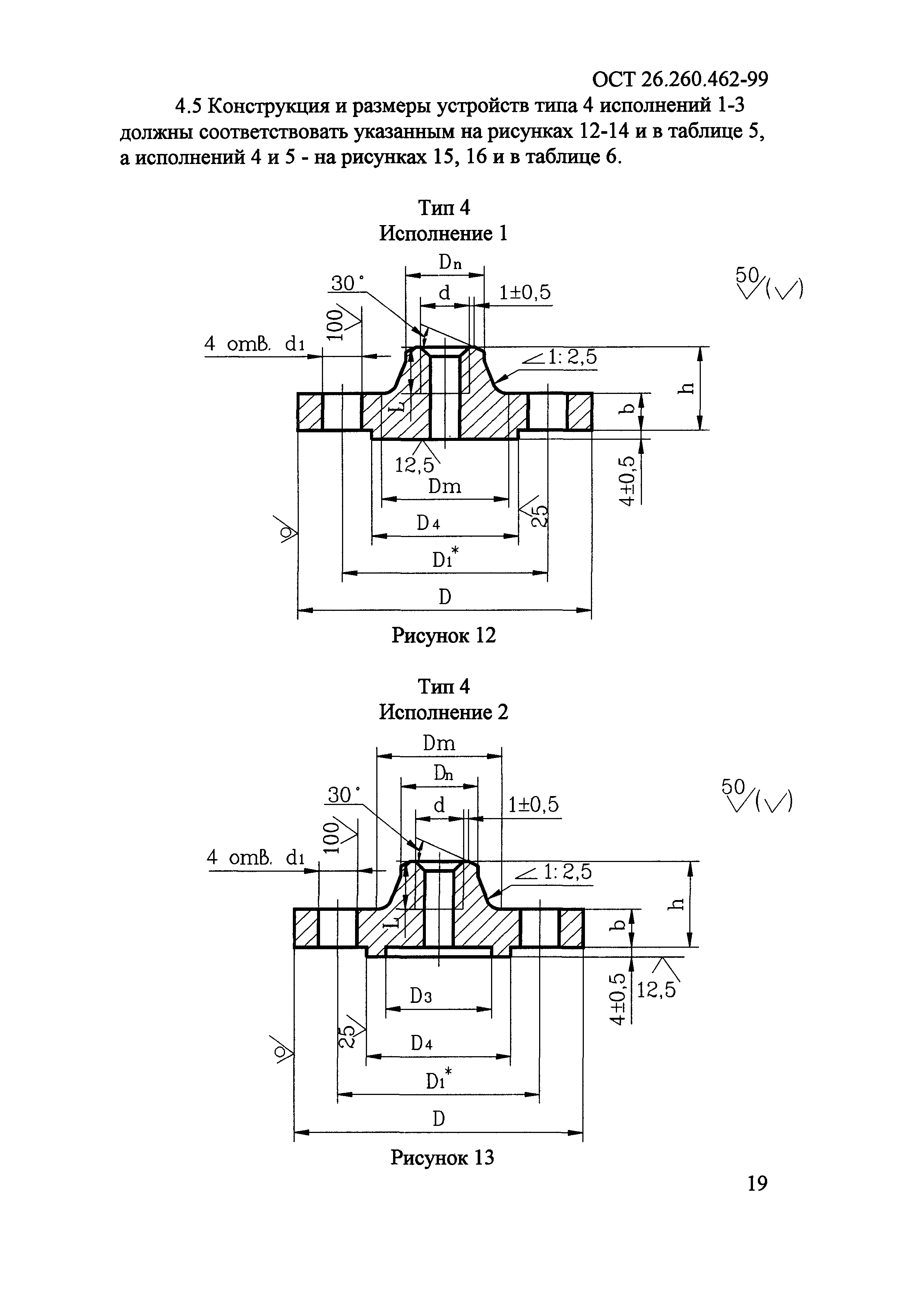
Устройства для установки приборов измерения температуры на Ру от 0,6 до 16 МПа. Типы, конструкция, размеры и общие технические требования| Обозначение: | ОСТ 26.260.462-99 | | Обозначение англ: | OST 26.260.462-99 | | Статус: | не определен законодательством | | Название рус.: | Устройства для установки приборов измерения температуры на Ру от 0,6 до 16 МПа. Типы, конструкция, размеры и общие технические требования | | Дата добавления в базу: | 01.09.2013 | | Дата актуализации: | 05.05.2017 | | Дата введения: | 30.06.2003 | | Область применения: | Стандарт устанавливает типы, пределы применения, конструкцию и основные размеры устройств для установки приборов измерения температуры на сосудах, аппаратах и трубопроводах, применяемых в газовой, нефтехимической, химической и других отраслях промышленности на условное давление от 0,6 до 16,0 МПа и температуру не ниже минус 60 град. С | | Оглавление: | 1. Область применения 2. Нормативные ссылки 3. Типы и основные параметры 4. Конструкция и размеры 5. Общие технические требования | | Разработан: | ДАО ЦКБН
| | Утверждён: | ТК 260 Оборудование химическое и нефтегазоперерабатывающее (Technical Committee 260, Chemical and Petroleum and Gas Refining Equipment )
| | Расположен в: |
| | Список изменений: | | | Заменяет собой: | - ОСТ 26-01-1349-81 «Устройства для установки приборов измерения температуры и сигнализаторов уровня. Типы, конструкция и размеры»
- ОСТ 26-01-1350-75 «Штуцера для установки указателей уровня. Конструкция и размеры»
- ОСТ 26-01-1356-81 «Устройства для установки приборов измерения температуры, уровня и давления на стальных сосудах и аппаратах. Технические требования»
- АТК 24.201.01-90 «Устройства для установки приборов измерения температуры и сигнализаторов уровня. Типы, конструкция и размеры»
- АТК 24.201.07-90 «Устройства для установки приборов измерения температуры, уровня и давления на стальных сосудах и аппаратах. Технические требования»
| | Нормативные ссылки: |   ГОСТ 1050-88 «Прокат сортовой, калиброванный, со специальной отделкой поверхности из углеродистой качественной конструкционной стали. Общие технические условия»  ГОСТ 5264-80 «Ручная дуговая сварка. Соединения сварные. Основные типы, конструктивные элементы и размеры»  ГОСТ 8479-70 «Поковки из конструкционной углеродистой и легированной стали. Общие технические условия»  ГОСТ 12815-80 «Фланцы арматуры, соединительных частей и трубопроводов на Ру от 0,1 до 20,0 МПа (от 1 до 200 кгс/см кв.). Типы. Присоединительные размеры и размеры уплотнительных поверхностей»  ГОСТ 12816-80 «Фланцы арматуры, соединительных частей и трубопроводов на Ру от 0,1 до 20,0 МПа (от 1 до 200 кгс/см2). Общие технические требования»  ГОСТ 4543-71 «Прокат из легированной конструкционной стали. Технические условия»  ГОСТ 495-92 «Листы и полосы медные. Технические условия»  ГОСТ 10549-80 «Выход резьбы. Сбеги, недорезы, проточки и фаски»  ГОСТ 16093-2004 «Основные нормы взаимозаменяемости. Резьба метрическая. Допуски. Посадки с зазором»  ГОСТ 24705-2004 «Основные нормы взаимозаменяемости. Резьба метрическая. Основные размеры» ОСТ 26.291-87 «Сосуды и аппараты сварные. Общие технические условия»  ОСТ 26-18-5-88 «Блоки технологические газовой и нефтяной промышленности. Общие технические требования»  ГОСТ 16037-80 «Соединения сварные стальных трубопроводов. Основные типы, конструктивные элементы и размеры»  ГОСТ 21631-76 «Листы из алюминия и алюминиевых сплавов. Технические условия»  ГОСТ 24705-81 «Основные нормы взаимозаменяемости. Резьба метрическая. Основные размеры»  ГОСТ 12820-80 «Фланцы стальные плоские приварные на Ру от 0,1 до 2,5 МПа (от 1 до 25 кгс/см2). Конструкция и размеры»  ГОСТ 12821-80 «Фланцы стальные приварные встык на Ру от 0,1 до 20,0 МПа (от 1 до 200 кгс/см2). Конструкция и размеры»  ОСТ 26.260.460-99 «Бобышки, пробки и прокладки. Конструкция, размеры и общие технические требования»  ОСТ 26-291-94 «Сосуды и аппараты стальные сварные. Общие технические условия» РД 26-02-63-87 «Технические требования к конструированию и изготовлению сосудов, аппаратов и технологических блоков установок подготовки нефти и газа, работающих в средах, вызывающих сероводородное коррозионное растрескивание»
|
                                     
Текстовое изменение № 1 от 01.04.2002
|