Информационная система
«Ёшкин Кот»

Скачать базу одним архивом
Скачать обновления
История создания базы
Карта сайта

Скачать Технологическая карта Операционно-технологическая карта на монтаж железобетонных конструкций по территориальному каталогу КТ1-3021 для строительства в г. Москве

Дата актуализации: 10.08.2017

Технологическая карта

Операционно-технологическая карта на монтаж железобетонных конструкций по территориальному каталогу КТ1-3021 для строительства в г. Москве

Обозначение: Технологическая карта
Статус:не установлен срок действия
Название рус.:Операционно-технологическая карта на монтаж железобетонных конструкций по территориальному каталогу КТ1-3021 для строительства в г. Москве
Дата добавления в базу:01.09.2013
Дата актуализации:05.05.2017
Дата введения:01.01.1989
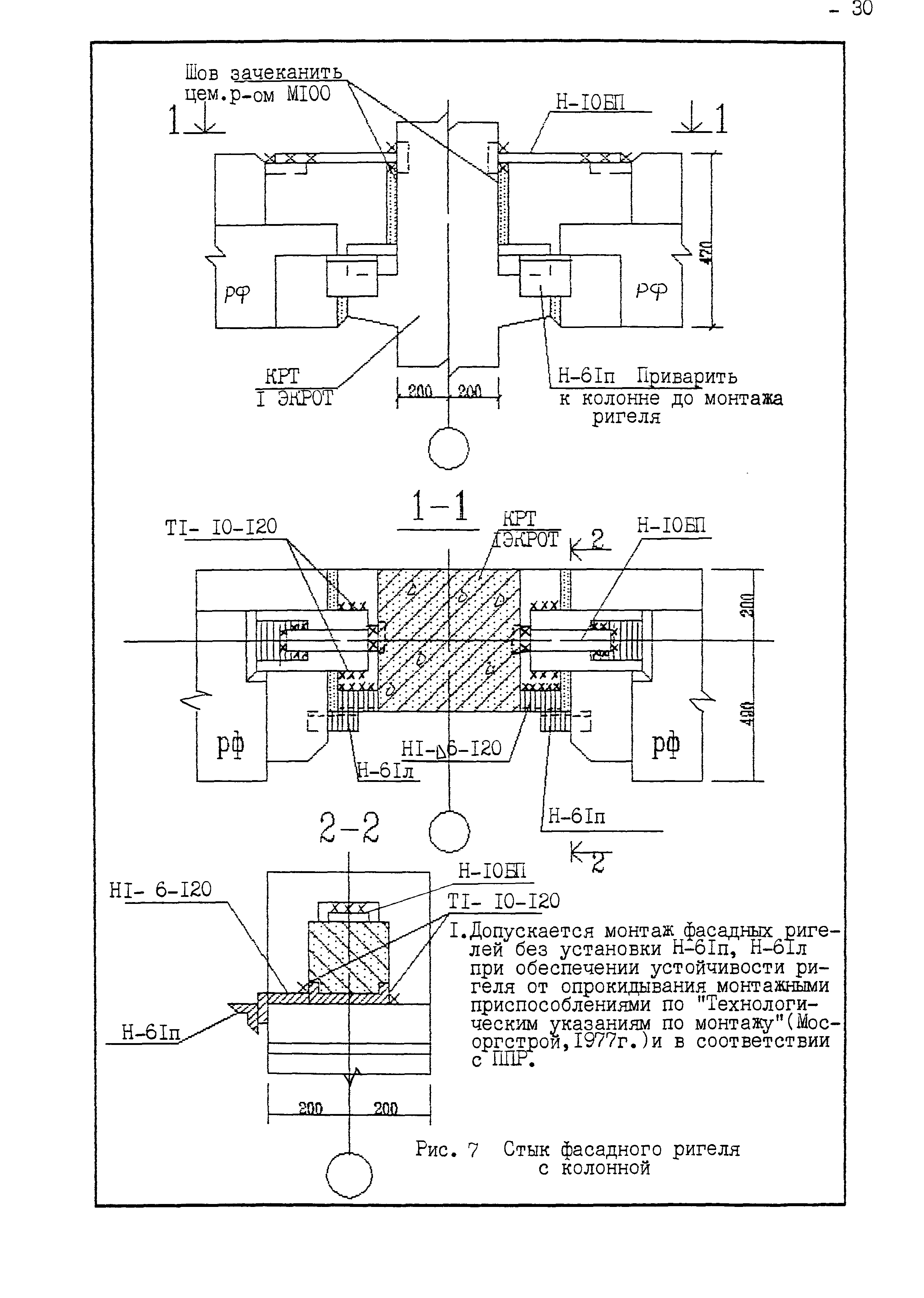
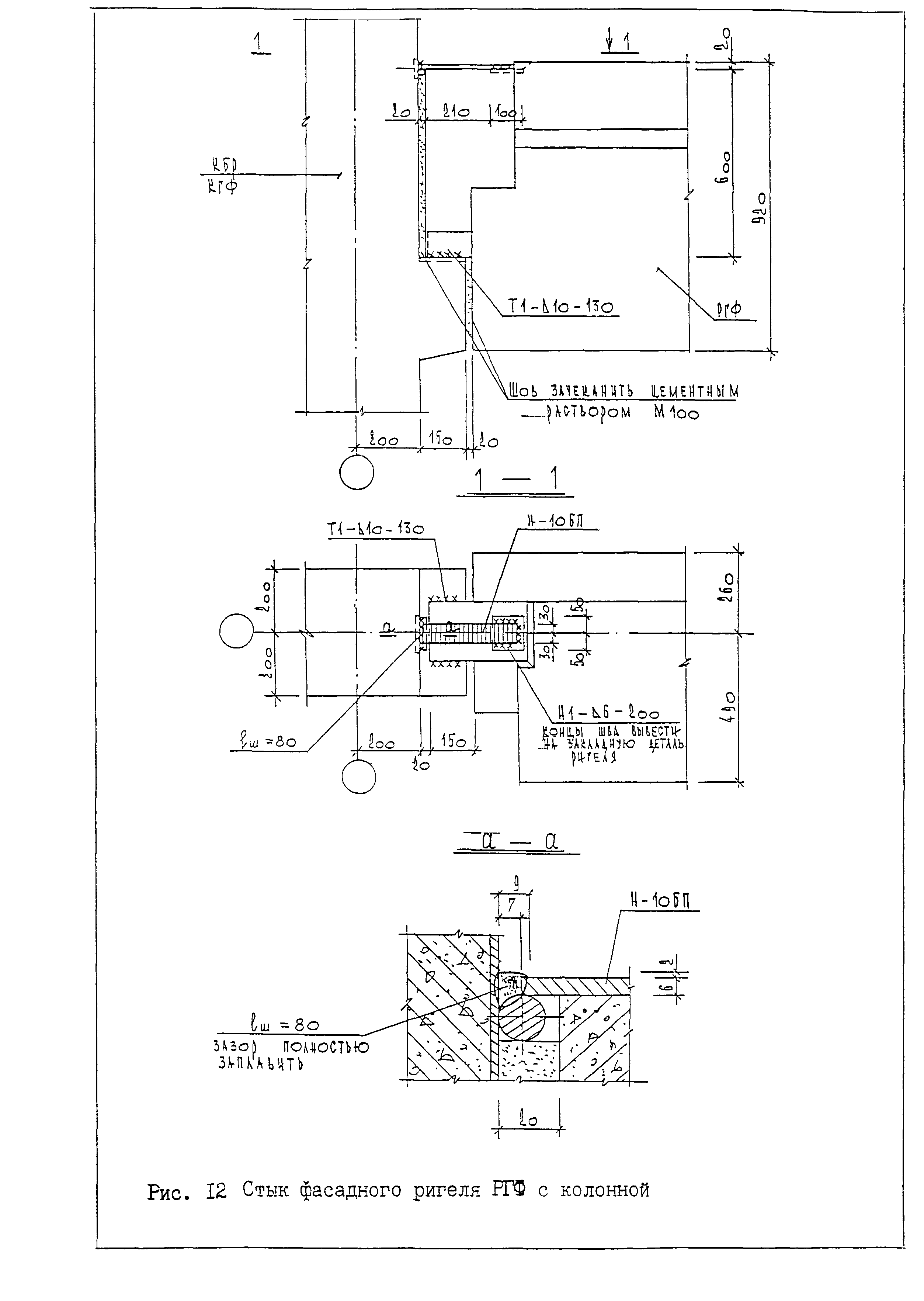
Область применения:Представлена технология монтажа каркаса из изделий по номенклатуре ТК1-3021 часть 3, даны указания по производству работ, освещены вопросы качества и техники безопасности, приведены организация рабочего места и приемы труда. Карта предназначена для привязки ее в ППР и как руководство для мастеров и прорабов, ведущих монтаж каркасных зданий, а также для контролирующих организаций.
Оглавление:1. Область применения
2. Общие указания
3. Организация и технология производства работ. Монтажные узлы сопряжения элементов каркаса
4. Контроль качества
5. Техника безопасности
6. Машины, механизмы, инструменты и приспособления
7. Организация рабочего места и приемы труда
8. Схемы строповок
Разработан: ОАО ПКТИпромстрой
Утверждён:01.01.1989 ОАО ПКТИпромстрой (PKTIpromstroy OAO )
Издан: ОАО ПКТИпромстрой (1989 г. )
Расположен в:Техническая документация Экология СТРОИТЕЛЬНЫЕ МАТЕРИАЛЫ И СТРОИТЕЛЬСТВО Конструкции зданий Бетонные конструкции Строительство Торговые и промышленные здания Строительство Справочные документы Технологические карты Монтаж бетонных и железобетонных конструкций сборных
Нормативные ссылки:
Технологическая карта Технологическая карта Технологическая карта Технологическая карта Технологическая карта Технологическая карта Технологическая карта Технологическая карта Технологическая карта Технологическая карта Технологическая карта Технологическая карта Технологическая карта Технологическая карта Технологическая карта Технологическая карта Технологическая карта Технологическая карта Технологическая карта Технологическая карта Технологическая карта Технологическая карта Технологическая карта Технологическая карта Технологическая карта Технологическая карта Технологическая карта Технологическая карта Технологическая карта Технологическая карта Технологическая карта Технологическая карта Технологическая карта Технологическая карта Технологическая карта Технологическая карта Технологическая карта Технологическая карта Технологическая карта Технологическая карта Технологическая карта Технологическая карта Технологическая карта Технологическая карта Технологическая карта Технологическая карта Технологическая карта Технологическая карта Технологическая карта Технологическая карта Технологическая карта Технологическая карта Технологическая карта Технологическая карта Технологическая карта Технологическая карта Технологическая карта Технологическая карта Технологическая карта Технологическая карта Технологическая карта Технологическая карта Технологическая карта Технологическая карта Технологическая карта Технологическая карта Технологическая карта Технологическая карта Технологическая карта Технологическая карта Технологическая карта Технологическая карта Технологическая карта Технологическая карта Технологическая карта Технологическая карта Технологическая карта Технологическая карта Технологическая карта Технологическая карта Технологическая карта Технологическая карта Технологическая карта Технологическая карта Технологическая карта Технологическая карта Технологическая карта Технологическая карта

© 2013 Ёшкин Кот :-) Карта сайта