| ||||||||||||||||||||||||||||||
 Скачать Р 3112199-1094-03 Руководство по организации эксплуатации газобаллонных автомобилей, работающих на сжиженном нефтяном газеДата актуализации: 10.08.2017
 | 
| Обозначение: |     Р 3112199-1094-03 | 
| Обозначение англ: |     R 3112199-1094-03 | 
| Статус: | действует | 
| Название рус.: | Руководство по организации эксплуатации газобаллонных автомобилей, работающих на сжиженном нефтяном газе | 
| Дата добавления в базу: | 01.09.2013 | 
| Дата актуализации: | 05.05.2017 | 
| Область применения: | Руководство предназначено для руководящих, инженерно-технических работников, обслуживающего и водительского персонала, связанных с техническим обслуживанием и эксплуатацией автомобилей на ГСН; освидетельствованием автомобильных газовых баллонов для сжиженного нефтяного газа; с необходимой реконструкцией технической базы или мест хранения газобаллонных автомобилей на ГСН, обеспечивающих безопасные условия для обслуживающего персонала и охрану окружающей среды. | 
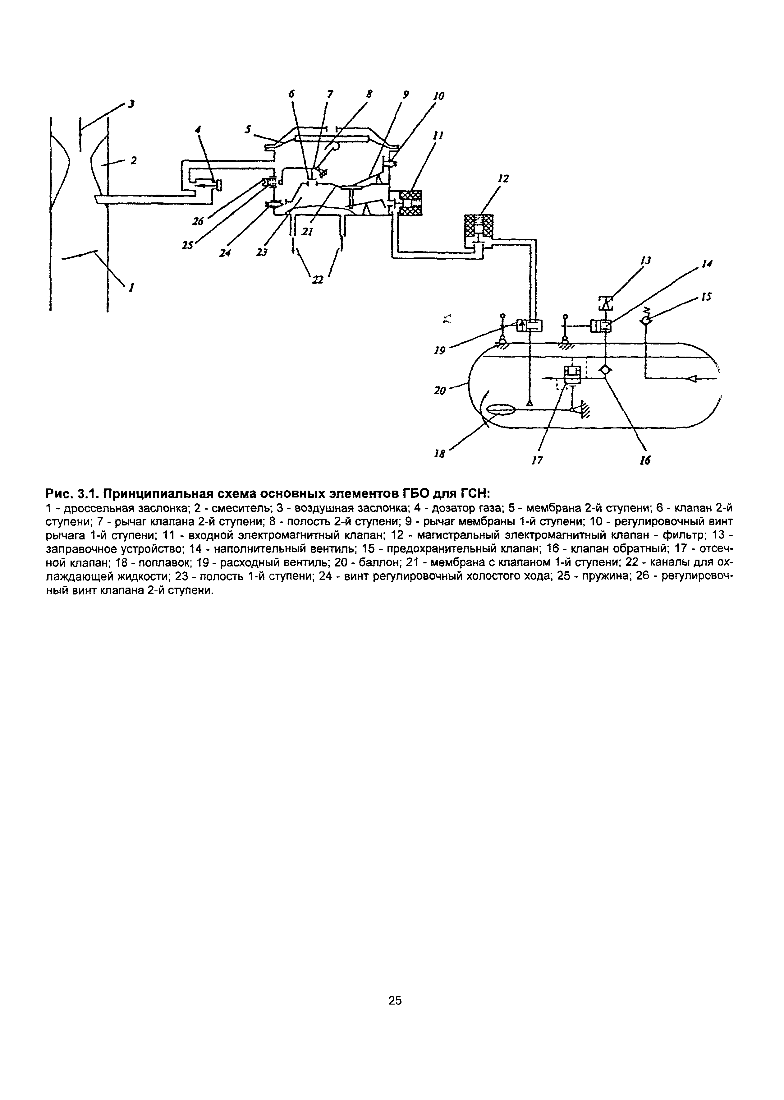
| Оглавление: | Обозначения принятых в тексте сокращений и их расшифровка Введение 1 Конструктивные схемы и технико-эксплуатационные показатели автомобилей, работающих на сжиженном нефтяном газе, выпускавшихся автомобильной промышленностью в 1975-1992 годах 2 Сжиженный нефтяной газ как моторное топливо для автотранспортных средств 3 Конструктивные особенности газобаллонного оборудования ГБА, работающих на СПГ 4 Особенности эксплуатации ГБА, работающих на газе сжиженном нефтяном 5 Организация технического обслуживания и текущего ремонта газобаллонных автомобилей, работающих на ГСН 6 Технологическое оборудование для проведения диагностирования, ТО и ТР газовой аппаратуры 7 Средства и порядок заправки баллонов автомобилей сжиженным нефтяным газом 8 Контроль (испытания) газо-топливной системы питания на герметичность 9 Освидетельствование автомобильных газовых баллонов для ГСН 10 Требования техники безопасности при эксплуатации газобаллонных автомобилей, работающих на ГСН Приложение 1. Предприятия и организации, выпускающие автомобильный подвижной состав, работающий на газовом топливе и т.п. Приложение 2. Технологическое оборудование для технического освидетельствования автомобильных газовых баллонов для ГСН  | 
| Разработан: |  НИИАТ | 
| Утверждён: |  Минтранс России (Russian Federation Mintrans ) | 
| Расположен в: | |
| Заменяет собой: | 
  | 
| Нормативные ссылки: | 
  | 














































































