Скачать ГОСТ 11586-2005 Изделия огнеупорные для сифонной разливки стали. Технические условияДата актуализации: 10.08.2017 ГОСТ 11586-2005
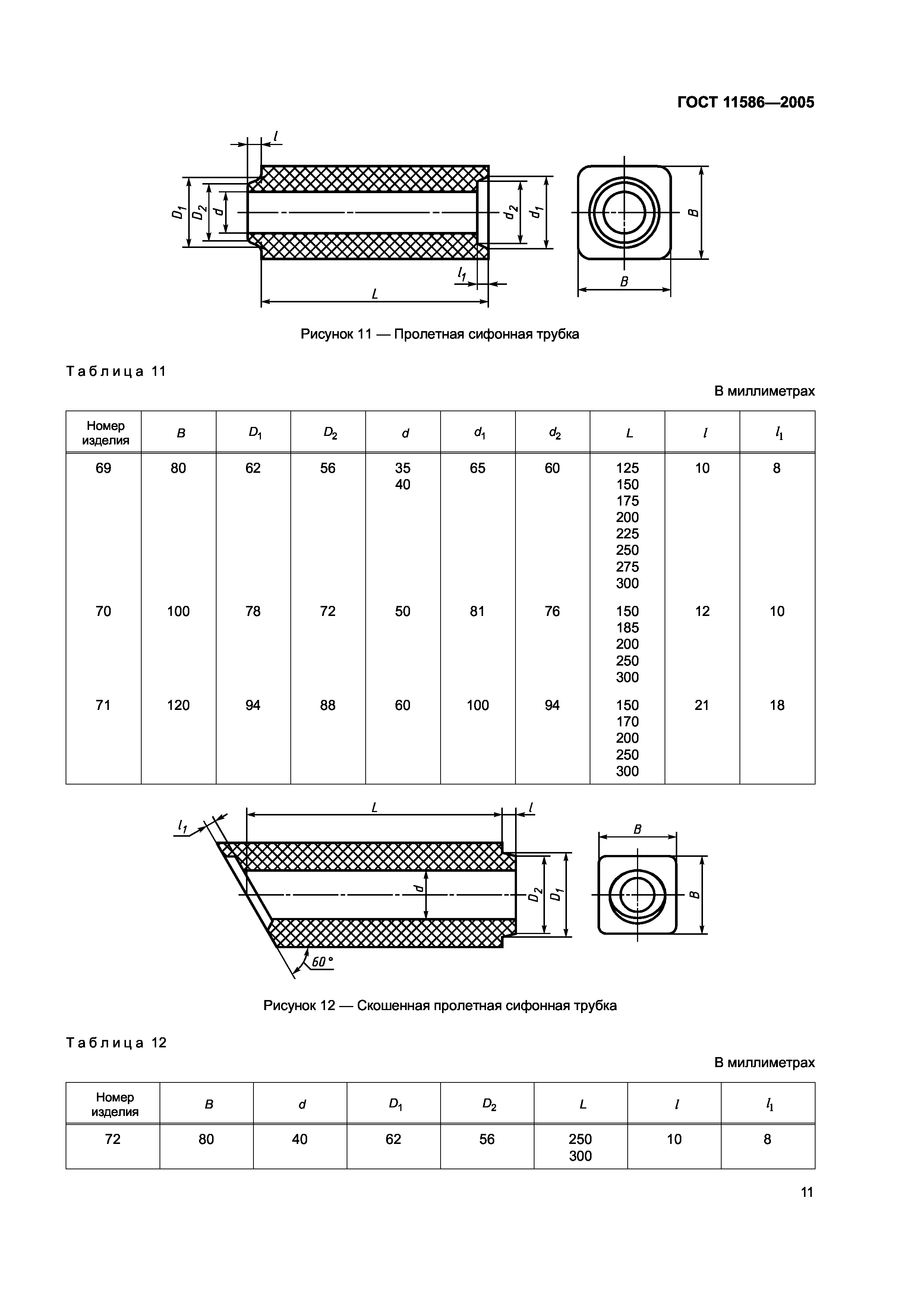
Изделия огнеупорные для сифонной разливки стали. Технические условияОбозначение: | ГОСТ 11586-2005 | Обозначение англ: | GOST 11586-2005 | Статус: | взамен | Название рус.: | Изделия огнеупорные для сифонной разливки стали. Технические условия | Название англ.: | Refractories for bottom pouring of steel. Specifications | Дата добавления в базу: | 01.09.2013 | Дата актуализации: | 05.05.2017 | Дата введения: | 01.01.2006 | Область применения: | Стандарт распространяется на изделия огнеупорные шамотные и муллитовые для разливки стали сифонным способом в изложницы и литейные формы (центровые трубки, звездочки, сифонные трубки, стаканчики для изложниц), а также для разливки стали сверху (промежуточные воронки, стаканчики для промежуточных воронок, вкладыши). | Оглавление: | 1 Область применения 2 Нормативные ссылки 3 Термины и определения 4 Форма и размеры 5 Технические требования 6 Правила приемки 7 Метод контроля 8 Хранение и транспортирование Приложение А (справочное) Объем и расчетная масса изделий Приложение Б (обязательное) Методика определения термической стойкости Приложение В (обязательное) Рабочие, нерабочие и торцовые поверхности, кромки и ребра изделий для сифонной разливки стали Приложение Г (справочное) Примеры расчета скошенности изделий Библиография | Разработан: | ОАО Санкт-Петербургский институт огнеупоров
| Утверждён: | 11.03.2005 Межгосударственный Совет по стандартизации, метрологии и сертификации (Inter-Governmental Council on Standardization, Metrology, and Certification 20) 23.06.2005 Федеральное агентство по техническому регулированию и метрологии (164-ст)
| Издан: | Стандартинформ (2005 г. )
| Расположен в: |
| Список изменений: | | Заменяет собой: | | Нормативные ссылки: |   ГОСТ 2850-95 «Картон асбестовый. Технические условия»  ГОСТ 3749-77 «Угольники поверочные 90°. Технические условия»  ГОСТ 2642.0-86 «Огнеупоры и огнеупорное сырье. Общие требования к методам анализа»  ГОСТ 10994-74 «Сплавы прецизионные. Марки» ГОСТ 15136-78 «Изделия огнеупорные. Метод измерения глубины отбитости углов и ребер» ГОСТ 2409-95 «Огнеупоры. Метод определения кажущейся плотности, открытой и общей пористости, водопоглощения»  ГОСТ 25714-83 «Контроль неразрушающий. Акустический звуковой метод определения открытой пористости, кажущейся плотности, плотности и предела прочности при сжатии огнеупорных изделий» ГОСТ 2642.4-86 «Огнеупорны и огнеупорное сырье. Методы определения окиси алюминия» ГОСТ 28833-90 «Дефекты огнеупорных изделий. Термины и определения» ГОСТ 4069-69 «Огнеупоры и огнеупорное сырье. Методы определения огнеупорности» ГОСТ 6616-94 «Преобразователи термоэлектрические. Общие технические условия»  ГОСТ 8179-98 «Изделия огнеупорные. Отбор образцов и приемочные испытания»  ГОСТ 30762-2001 «Изделия огнеупорные. Методы измерений геометрических размеров, дефектов формы и поверхностей»  ГОСТ 5402.1-2000 «Изделия огнеупорные с общей пористостью менее 45%. Метод определения остаточных изменений размеров при нагреве»  ГОСТ 24717-2004 «Огнеупоры и огнеупорное сырье. Маркировка, упаковка, транспортирование и хранение» ГОСТ Р 53788-2010 «Огнеупоры и огнеупорное сырье. Методы определения огнеупорности»  ГОСТ 1.2-97 «Межгосударственная система стандартизации. Стандарты межгосударственные, правила и рекомендации по межгосударственной стандартизации. Порядок разработки, принятия, применения, обновления и отмены»  ГОСТ Р 54528-2011 «Изделия огнеупорные с общей пористостью менее 45 %. Метод определения остаточных изменений размеров при нагреве» ГОСТ 11586-69 «Изделия огнеупорные для сифонной разливки стали. Технические условия»  ГОСТ 1.0-92 «Межгосударственная система стандартизации. Основные положения» ГОСТ Р 8.585-2001 «Государственная система обеспечения единства измерений. Термопары. Номинальные статические характеристики преобразования»  ГОСТ 2642.5-97 «Огнеупоры и огнеупорное сырье. Методы определения оксида железа (III)»  ГОСТ 2642.4-97 «Огнеупоры и огнеупорное сырье. Методы определения оксида алюминия»
|
                                     
Текстовое изменение № 1 от 01.03.2015
    
|