Информационная система
«Ёшкин Кот»

Скачать базу одним архивом
Скачать обновления
История создания базы
Карта сайта

Скачать РД 34.35.305 Инструкция по проверке трансформаторов напряжения и их вторичных цепей

Дата актуализации: 10.08.2017

РД 34.35.305

Инструкция по проверке трансформаторов напряжения и их вторичных цепей

Обозначение: РД 34.35.305
Обозначение англ: RD 34.35.305
Статус:действует
Название рус.:Инструкция по проверке трансформаторов напряжения и их вторичных цепей
Название англ.:Guidelines for Testing Voltage Transformers and Their Secondary Circuits
Дата добавления в базу:01.09.2013
Дата актуализации:05.05.2017
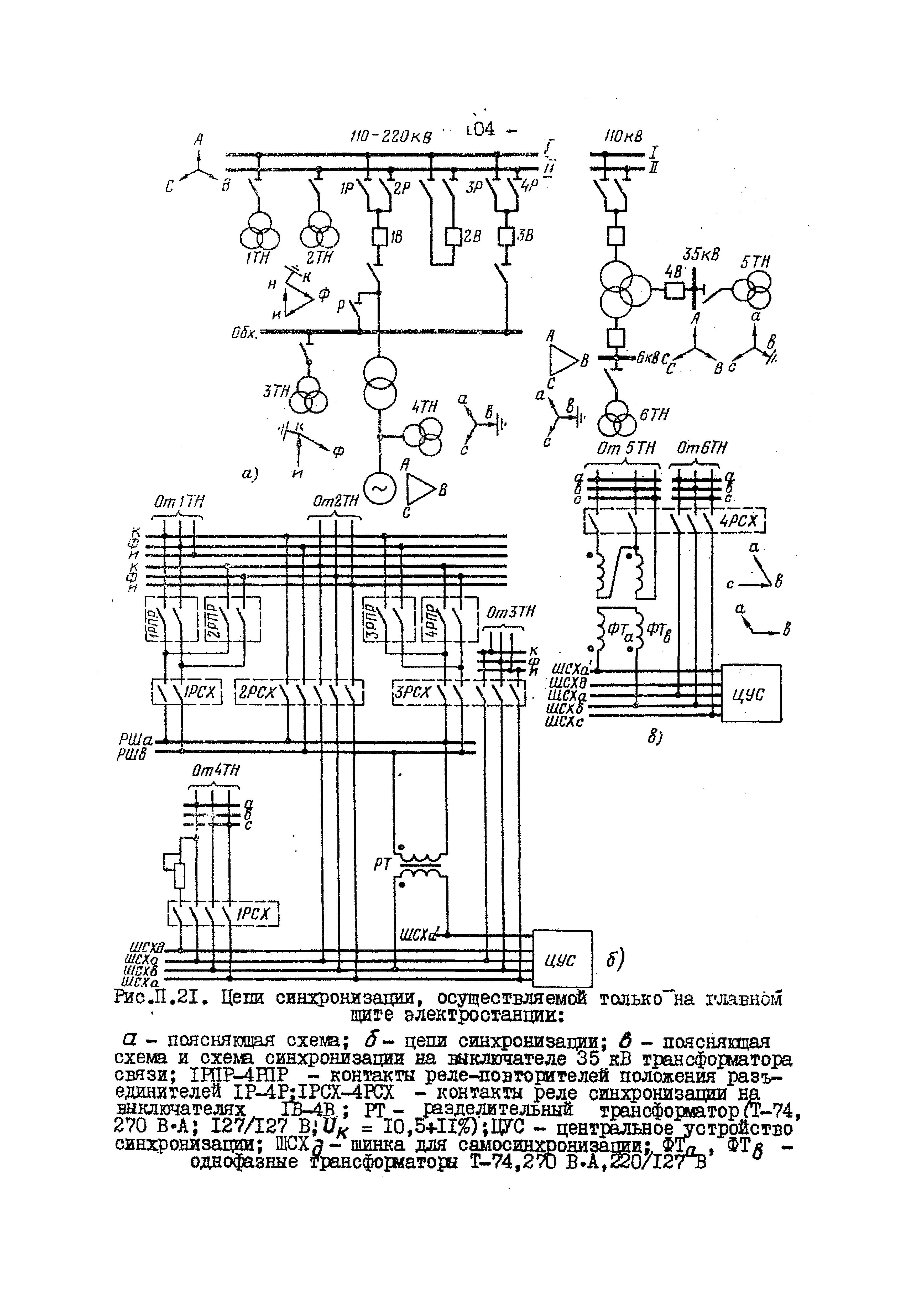
Область применения:В инструкции приведены программа и методы проверки трансформаторов напряжения и их вторичных цепей. Даны основные сведения о трансформаторах напряжения и рекомендации по их применению, а также указания по расчетам и способам выполнения цепей напряжения.
Оглавление:Введение
1 Общие указания по применению ТН
2 Основные требования к схемам ТН и их вторичных цепей
3 Указания по расчетной проверке ТН и их вторичных цепей
4 Виды, периодичность и объемы проверок
5 Методы проверок
Приложение 1 Основные сведения о ТН
Приложение 2 Схемы ТН и их вторичных цепей
Приложение 3 Расчетная проверка вторичных цепей
Приложение 4 Паспорт -протокол ТН и его вторичных цепей
Разработан: Мосэнерго
Утверждён:17.02.1979 Союзглавэнерго (Soyuzglavenergo )
Издан: СПО Союзтехэнерго (1979 г. )
Расположен в:Техническая документация Экология ЭЛЕКТРОТЕХНИКА Трансформаторы. Реакторы Коммутационная аппаратура и аппаратура управления Коммутационная аппаратура и аппаратура управления в целом ЭНЕРГЕТИКА И ТЕПЛОТЕХНИКА Электростанции в целом Мостостроение Автоматика, защита, блокировки, средства измерений (включая ИИС АСУ ТП)
Нормативные ссылки:
РД 34.35.305РД 34.35.305РД 34.35.305РД 34.35.305РД 34.35.305РД 34.35.305РД 34.35.305РД 34.35.305РД 34.35.305РД 34.35.305РД 34.35.305РД 34.35.305РД 34.35.305РД 34.35.305РД 34.35.305РД 34.35.305РД 34.35.305РД 34.35.305РД 34.35.305РД 34.35.305РД 34.35.305РД 34.35.305РД 34.35.305РД 34.35.305РД 34.35.305РД 34.35.305РД 34.35.305РД 34.35.305РД 34.35.305РД 34.35.305РД 34.35.305РД 34.35.305РД 34.35.305РД 34.35.305РД 34.35.305РД 34.35.305РД 34.35.305РД 34.35.305РД 34.35.305РД 34.35.305РД 34.35.305РД 34.35.305РД 34.35.305РД 34.35.305РД 34.35.305РД 34.35.305РД 34.35.305РД 34.35.305РД 34.35.305РД 34.35.305РД 34.35.305РД 34.35.305РД 34.35.305РД 34.35.305РД 34.35.305РД 34.35.305РД 34.35.305РД 34.35.305РД 34.35.305РД 34.35.305РД 34.35.305РД 34.35.305РД 34.35.305РД 34.35.305РД 34.35.305РД 34.35.305РД 34.35.305РД 34.35.305РД 34.35.305РД 34.35.305РД 34.35.305РД 34.35.305РД 34.35.305РД 34.35.305РД 34.35.305РД 34.35.305РД 34.35.305РД 34.35.305РД 34.35.305РД 34.35.305РД 34.35.305РД 34.35.305РД 34.35.305РД 34.35.305РД 34.35.305РД 34.35.305РД 34.35.305РД 34.35.305РД 34.35.305РД 34.35.305РД 34.35.305РД 34.35.305РД 34.35.305РД 34.35.305РД 34.35.305РД 34.35.305РД 34.35.305РД 34.35.305РД 34.35.305РД 34.35.305РД 34.35.305РД 34.35.305РД 34.35.305РД 34.35.305РД 34.35.305РД 34.35.305РД 34.35.305РД 34.35.305РД 34.35.305РД 34.35.305РД 34.35.305РД 34.35.305РД 34.35.305РД 34.35.305РД 34.35.305РД 34.35.305РД 34.35.305РД 34.35.305РД 34.35.305РД 34.35.305РД 34.35.305РД 34.35.305РД 34.35.305РД 34.35.305РД 34.35.305РД 34.35.305РД 34.35.305РД 34.35.305РД 34.35.305РД 34.35.305РД 34.35.305РД 34.35.305РД 34.35.305РД 34.35.305РД 34.35.305РД 34.35.305РД 34.35.305РД 34.35.305РД 34.35.305РД 34.35.305РД 34.35.305РД 34.35.305РД 34.35.305РД 34.35.305РД 34.35.305РД 34.35.305РД 34.35.305РД 34.35.305

© 2013 Ёшкин Кот :-) Карта сайта