| ||||||||||||||||||||||||||||||||||
Скачать ГОСТ Р МЭК 60335-2-77-99 Безопасность бытовых и аналогичных электрических приборов. Дополнительные требования к управляемым вручную газонокосилкам и методы испытанийДата актуализации: 10.08.2017
|
| Обозначение: | ГОСТ Р МЭК 60335-2-77-99 |
| Обозначение англ: | GOST R IEC 60335-2-77-99 |
| Статус: | отменен |
| Название рус.: | Безопасность бытовых и аналогичных электрических приборов. Дополнительные требования к управляемым вручную газонокосилкам и методы испытаний |
| Название англ.: | Safety of household and similar electrical appliances. Particular requirements for pedestrian controlled mains-operated lawnmowers and test methods |
| Дата добавления в базу: | 01.09.2013 |
| Дата актуализации: | 05.05.2017 |
| Дата введения: | 01.01.2013 |
| Область применения: | Стандарт содержит нормы, правила и методы испытаний, которые дополняют, заменяют или исключают соответствующие разделы и (или) пункты ГОСТ Р МЭК 335-1 |
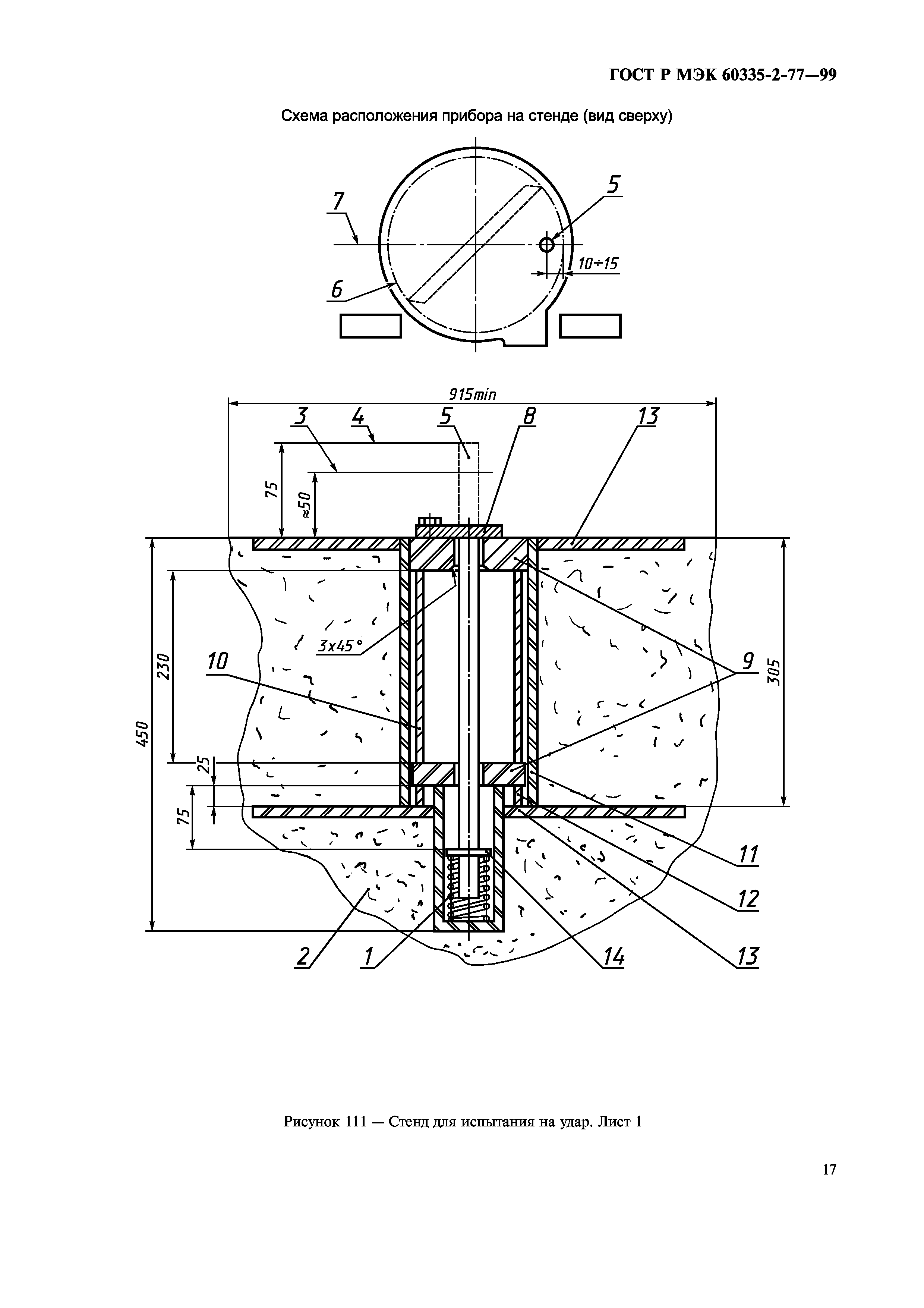
| Оглавление: | 1 Область применения 2 Определение 3 Общие требования 4 Общие условия испытаний 5 В стадии рассмотрения 6 Классификация 7 Маркировка и инструкции 8 Защита от контакта с токоведущими частями 9 Пуск электромеханических приборов 10 Потребляемая мощность и ток 11 Нагрев 12 В стадии рассмотрения 13 Ток утечки и электрическая прочность при рабочей температуре 14 В стадии рассмотрения 15 Влагостойкость 16 Ток утечки и электрическая прочность 17 Защита от перегрузки трансформаторов и соединенных с ними цепей 18 Износостойкость 19 Ненормальная работа 20 Устойчивость и механические опасности 21 Механическая прочность 22 Конструкция 23 Внутренняя проводка 24 Комплектующие изделия 25 Присоединение к источнику питания и внешние гибкие шнуры 26 Зажимы внешних проводов 27 Заземление 28 Винты и соединения 29 Пути утечки тока, воздушные зазоры и расстояния по изоляции 30 Теплостойкость, огнестойкость и стойкость к образованию токоведущих мостиков 31 Стойкость к коррозии 32 Радиация, токсичность и подобные опасности Приложение А Нормативные ссылки Приложение В Приборы, питающиеся от перезаряжаемых батарей Приложение С Испытание двигателей на старение Приложение D Варианты требований для двигателей с защитными устройствами Приложение Е Измерение путей утечки тока и воздушных зазоров Приложение F Двигатели, не изолированные от сети питания и имеющие основную изоляцию, которая не рассчитана на номинальное напряжение прибора Приложение G Схема цепи для измерения тока утечки Приложение Н Порядок проведения испытаний по разделу 30 Приложение I Испытание горением Приложение К Испытание раскаленной проволокой Приложение L Испытание дефектных соединений с помощью нагревателей Приложение М Испытание игольчатым пламенем Приложение N Испытание на образование токоведущих мостиков Приложение Р Жесткость условий эксплуатации изоляционных материалов относительно опасности трекинга Приложение 1 Пружинное устройство для испытаний на удар и его калибровка Приложение АА Принципы устройства ограждения Приложение ВВ Конструкция испытательного ограждения Приложение СС Основание ограждения для испытания выбрасываемыми предметами Приложение DD Повышающиеся зоны панели-мишени и рекомендуемый отчет по испытанию на выбрасываемый предмет |
| Разработан: | ТК 19 Электрические приборы бытового и аналогичного назначения |
| Утверждён: | 16.11.1999 Госстандарт России (Russian Federation Gosstandart 406-ст) |
| Издан: | ИПК Издательство стандартов (2000 г. ) |
| Расположен в: | |
| Нормативные ссылки: |
|








































