| ||||||||||||||||||||||||||||||||||||
Скачать ГОСТ 28190-89 Соединители бытового и аналогичного назначения. Технические требования и методы испытанийДата актуализации: 10.08.2017
|
| Обозначение: | ГОСТ 28190-89 |
| Обозначение англ: | GOST 28190-89 |
| Статус: | отменен в рф |
| Название рус.: | Соединители бытового и аналогичного назначения. Технические требования и методы испытаний |
| Название англ.: | Appliance couplers for household and similar general purposes. Requirements and methods of tests |
| Дата добавления в базу: | 01.10.2014 |
| Дата актуализации: | 05.05.2017 |
| Дата введения: | 01.01.2001 |
| Область применения: | Стандарт распространяется на электрические двухполюсные соединители к приборам классов I и II, на номинальное напряжение не выше 250 В и на номинальный ток не более 16 А, для бытовых и аналогичных целей, предназначенные для присоединения гибкого провода к электрическим приборам и аппаратам, работающим на частоте 50 или 60 Гц. |
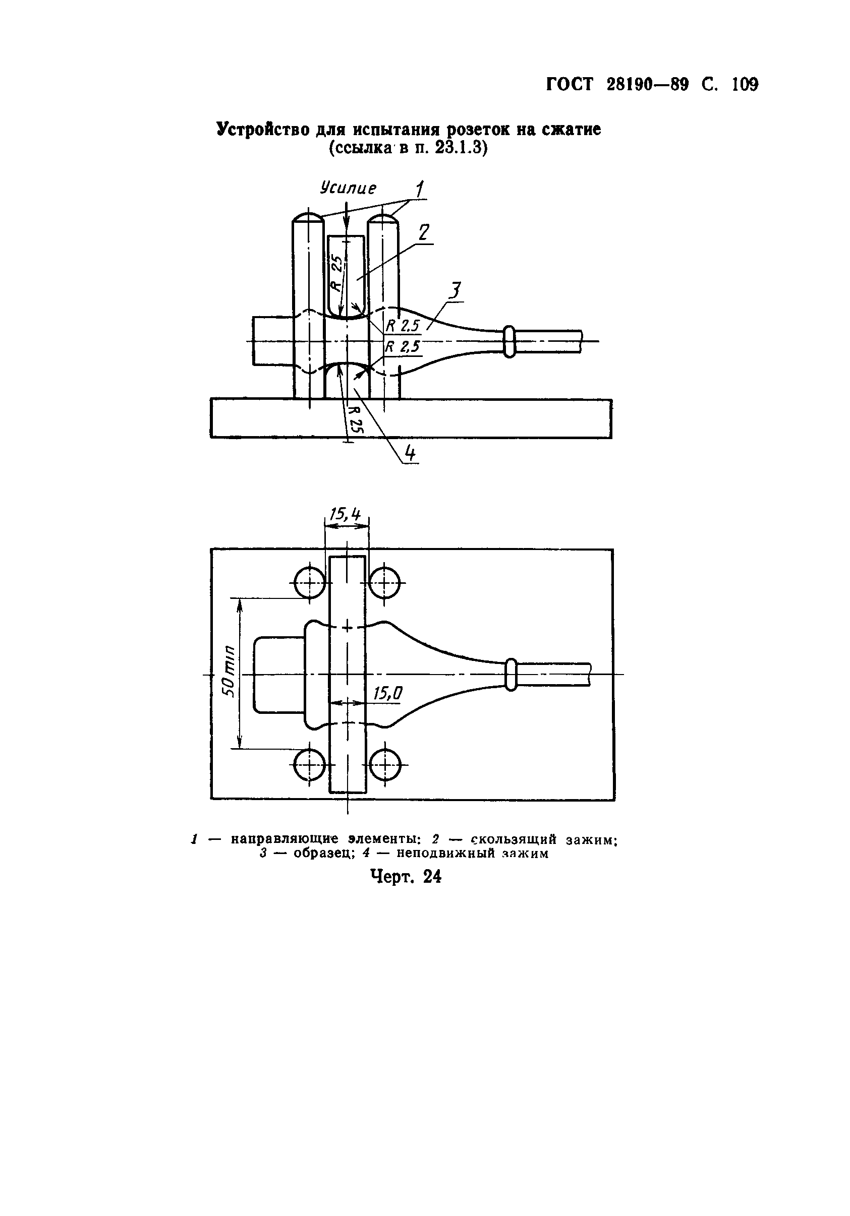
| Оглавление: | 1 Область распространения 2 Определения 3 Общие требования 4 Общие требования к испытаниям 5 Номинальные значения тока и напряжения 6 Классификация 7 Маркировка 8 Размеры и соответствие 9 Защита от поражения электрическим током 10 Заземление 11 Зажимы и выводы 12 Конструкция 13 Влагостойкость 14 Сопротивление изоляции и электрическая прочность 15 Усилия, необходимые для включения и выключения приборной розетки 16 Работа контактов и сопротивление цепей 17 Нагревостойкость соединителей для горячих и очень горячих условий 18 Коммутационная способность 19 Работоспособность соединителей 20 Превышение температуры токоведущих частей 21 Гибкие провода или шнуры и их присоединение 22 Механическая стойкость 23 Сопротивление теплу и старению 24 Винты, токоведущие детали и соединения 25 Пути утечки тока, расстояния по изоляционному материалу и воздушные зазоры 26 Теплостойкость, огнестойкость и стойкость к токам поверхностного разряда 27 Защита от коррозии Стандартные листы соединителей Стандартные листы калибровки Чертежи |
| Разработан: | Министерство электротехнической промышленности СССР |
| Утверждён: | 14.07.1989 Госстандарт СССР (USSR Gosstandart 2380) |
| Издан: | Издательство стандартов (1990 г. ) |
| Расположен в: | |
| Список изменений: |
|
| Нормативные ссылки: |
|






















































































































Текстовое изменение № 1 от 01.07.1990
Текстовое изменение № 2 от 01.01.1993