| ||||||||||||||||||||||||||||||||||||||
Скачать ГОСТ 7396.0-89 Соединители электрические штепсельные бытового и аналогичного назначения. Общие технические условияДата актуализации: 10.08.2017
|
| Обозначение: | ГОСТ 7396.0-89 |
| Обозначение англ: | GOST 7396.0-89 |
| Статус: | отменен в рф |
| Название рус.: | Соединители электрические штепсельные бытового и аналогичного назначения. Общие технические условия |
| Название англ.: | Plugs and socket-outlets for household and similar purposes. General specifications |
| Дата добавления в базу: | 01.09.2013 |
| Дата актуализации: | 05.05.2017 |
| Дата введения: | 01.07.2002 |
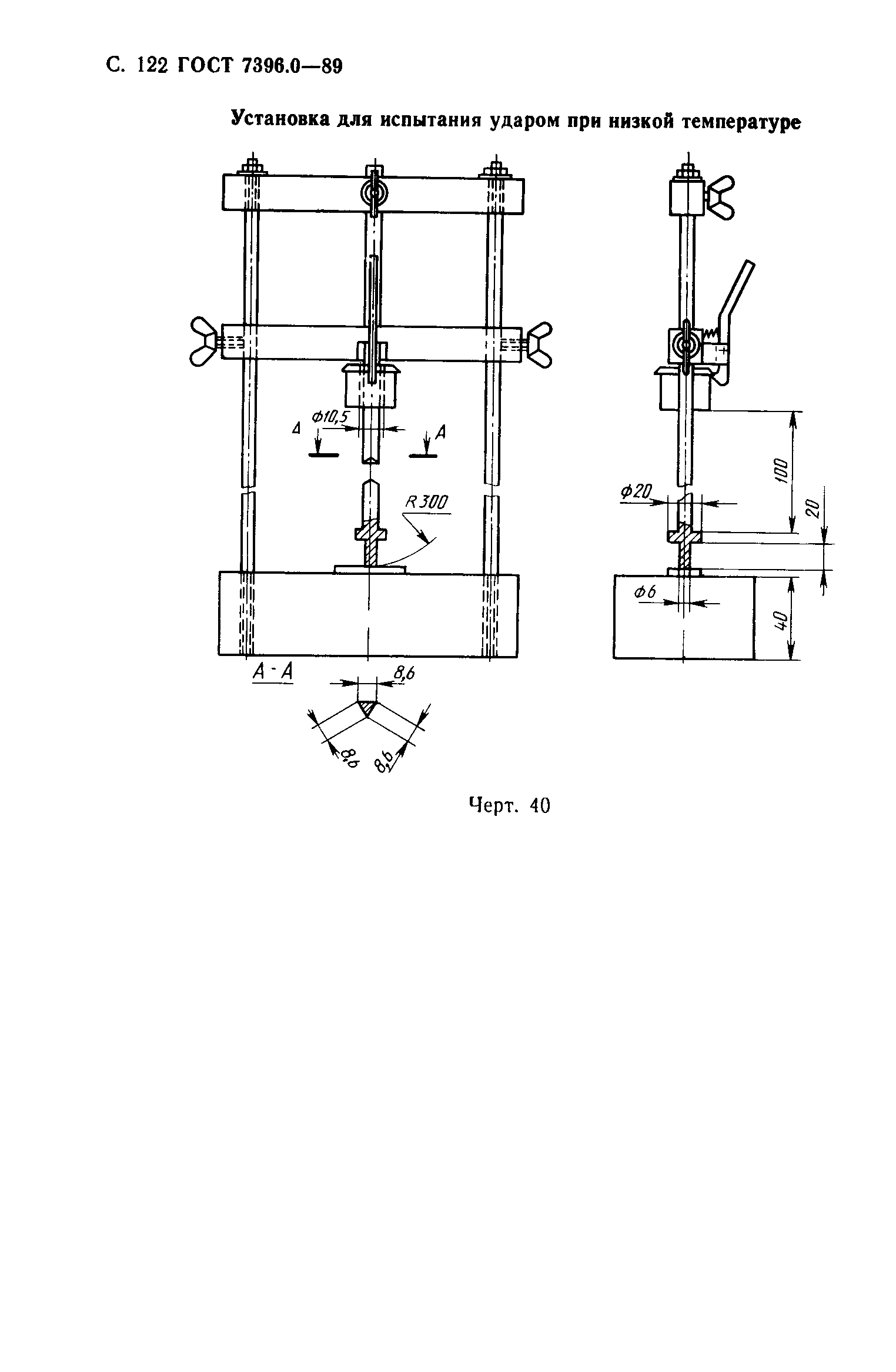
| Область применения: | Стандарт распространяется на вилки и розетки как стационарные, так и переносные, бытового и аналогичного назначения, предназначенные для присоединения электрических приемников с номинальным напряжением св. 50 В, но не выше 440 в и номинальными токами не более 32 А к электрической сети переменного при внутренней и наружной установки в зданиях. Стандарт распространяется также на разветвители. |
| Оглавление: | 1. Область распространения 2. Определения 3. Общие требования 4. Общие требования к испытаниям 5. Номинальные величины 6. Классификация 7. Маркировка 8. Проверка размеров 9. Защита от поражения электрическим током 10. Заземление 11. Контактные зажимы 12. Конструкция стационарных розеток 13. Конструкция вилок и переносных розеток 14. Сблокированные розетки 15. Устойчивость к старению, защита от проникновения воды и влагоустойчивость 16. Сопротивление изоляции и электрическая прочность изоляции 17. Работа заземляющего контакта 18. Превышение температуры 19. Индуктивная нагрузка 20. Нормальная работа 21. Усилие при разъеме штырей вилки с гнездами розетки 22. Гибкие кабели и шнуры и их присоединение 23. Механическая прочность 24. Нагревостойкость 25. Винты, токоведущие части и соединения 26. Пути утечки тока, воздушные зазоры и расстояния через заливочную массу 27. Теплостойкость, огнестойкость и устойчивость к токам поверхностного разряда 28. Коррозиеустойчивость 29. Дополнительные испытания частично опрессованных штырей вилки 30. Дополнительные требования для нужд народного хозяйства и экспорта 31. Упаковка, транспортирование и хранение 32. Система условных обозначений 33. Правила приемки 34. Гарантии изготовителя |
| Разработан: | Министерство электротехнической промышленности СССР |
| Утверждён: | 03.10.1989 Государственный комитет СССР по управлению качеством продукции и стандартам (USSR National Committee on Standards and Product Quality Management 3008) |
| Издан: | Издательство стандартов (1990 г. ) |
| Расположен в: | |
| Список изменений: |
|
| Заменяет собой: |
|
| Нормативные ссылки: |
|



































































































































Текстовое изменение № 1 от 01.01.1993
