Скачать ГОСТ 3124-77 Соединения шланговые для гибких шлангов гидромониторов. Технические условияДата актуализации: 10.08.2017 ГОСТ 3124-77
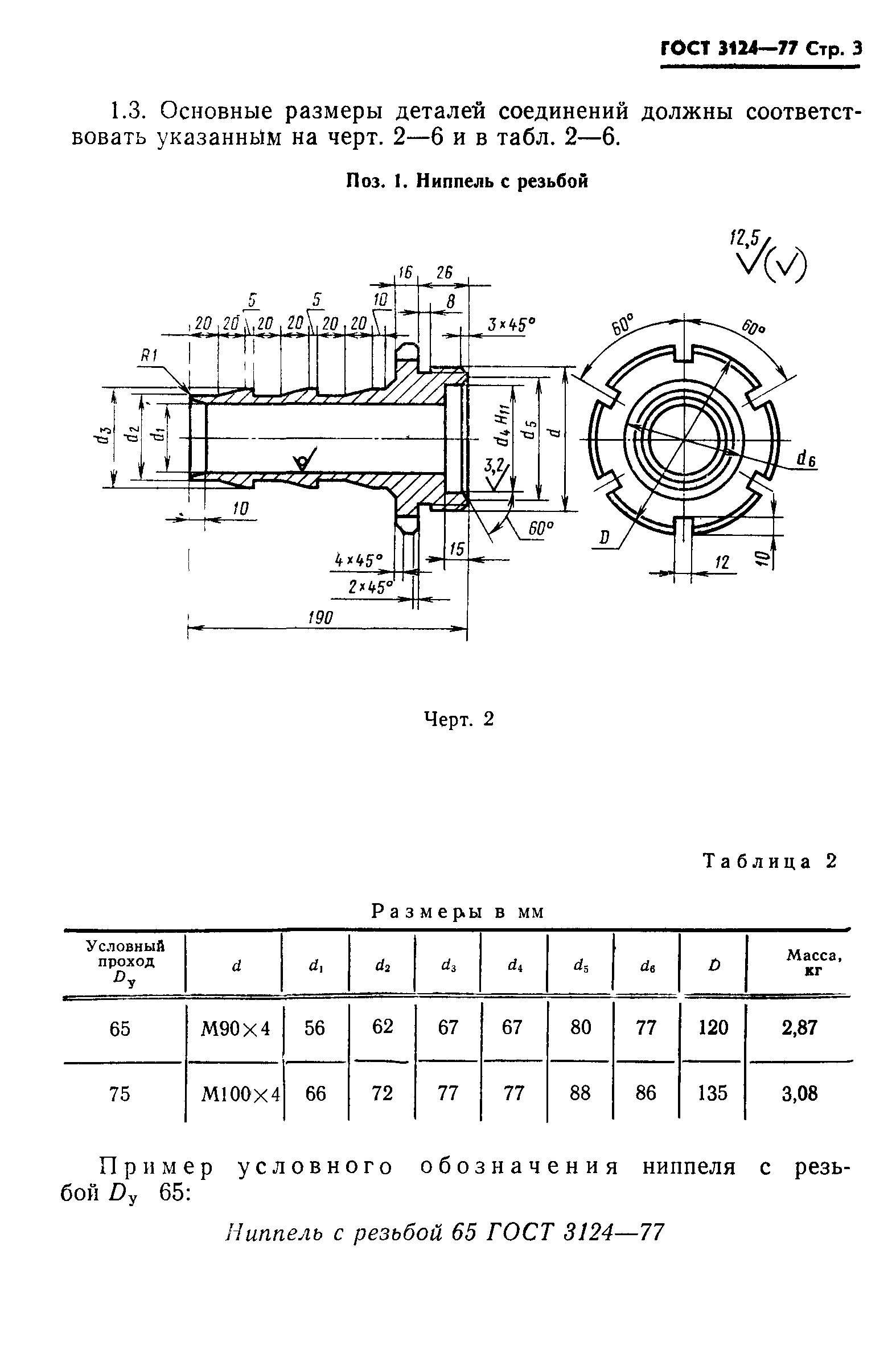
Соединения шланговые для гибких шлангов гидромониторов. Технические условия| Обозначение: | ГОСТ 3124-77 | | Обозначение англ: | GOST 3124-77 | | Статус: | действует | | Название рус.: | Соединения шланговые для гибких шлангов гидромониторов. Технические условия | | Название англ.: | Hose connections for flexible hoses of monitors. Specifications | | Дата добавления в базу: | 01.09.2013 | | Дата актуализации: | 05.05.2017 | | Дата введения: | 01.01.1979 | | Область применения: | Стандарт распространяется на шланговые соединения, работающие при давлении до 2,5 МПа ( 25 кгс/см2), предназначенные для герметичного соединения напорных шлангов между собой, а также для присоединения их к гидромониторам. | | Оглавление: | 1 Типы, основные параметры и размеры 2 Технические требования 3 Правила приемки 4 Методы контроля и испытаний 5 Маркировка, упаковка, транспортирование и хранение 6 Гарантии изготовителя | | Утверждён: | 10.11.1977 Госстандарт СССР (USSR Gosstandart 2597)
| | Издан: | Издательство стандартов (1984 г. )
| | Расположен в: |
| | Заменяет собой: | ГОСТ 3124-57 «Соединения шланговые для гибких шлангов гидромониторов» | | Нормативные ссылки: | |
            
|