Информационная система
«Ёшкин Кот»

Скачать базу одним архивом
Скачать обновления
История создания базы
Карта сайта

Скачать ГОСТ 24342-80 Блоки съемных многоместных пресс-форм для изготовления шевронных резинотканевых уплотнений. Конструкция и размеры

Дата актуализации: 10.08.2017

ГОСТ 24342-80

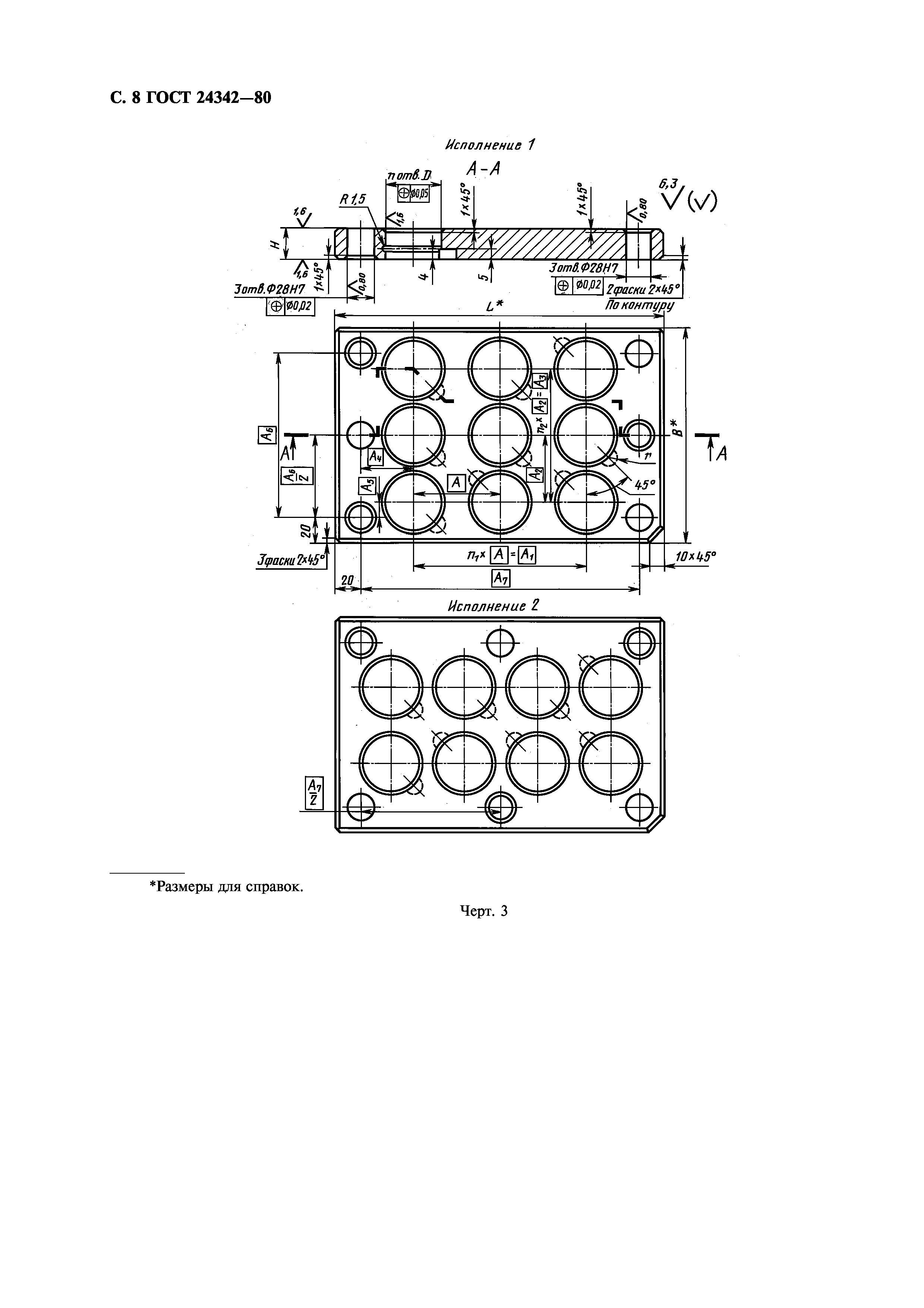
Блоки съемных многоместных пресс-форм для изготовления шевронных резинотканевых уплотнений. Конструкция и размеры

Обозначение: ГОСТ 24342-80
Обозначение англ: GOST 24342-80
Статус:действует
Название рус.:Блоки съемных многоместных пресс-форм для изготовления шевронных резинотканевых уплотнений. Конструкция и размеры
Название англ.:Units of portable multi-impressions press moulds for manufacturing rubber-fabric chevron seals. Design and dimensions
Дата добавления в базу:01.09.2013
Дата актуализации:05.05.2017
Дата введения:01.01.1982
Область применения:Стандарт устанавливает конструкцию и размеры блоков.
Утверждён:31.07.1980 Государственный комитет СССР по стандартам (USSR National Committee on Standards 3940)
Издан: Издательство стандартов (1980 г. )
ИПК Издательство стандартов (2003 г. )
Расположен в:Техническая документация Электроэнергия РЕЗИНОВАЯ, РЕЗИНОТЕХНИЧЕСКАЯ, АСБЕСТОТЕХНИЧЕСКАЯ И ПЛАСТМАССОВАЯ ПРОМЫШЛЕННОСТЬ Оборудование для производства резины и пластмасс Экология РЕЗИНОВАЯ, РЕЗИНОТЕХНИЧЕСКАЯ, АСБЕСТОТЕХНИЧЕСКАЯ И ПЛАСТМАССОВАЯ ПРОМЫШЛЕННОСТЬ Оборудование для производства резины и пластмасс
Список изменений:
Нормативные ссылки:
ГОСТ 24342-80ГОСТ 24342-80ГОСТ 24342-80ГОСТ 24342-80ГОСТ 24342-80ГОСТ 24342-80ГОСТ 24342-80ГОСТ 24342-80ГОСТ 24342-80ГОСТ 24342-80ГОСТ 24342-80ГОСТ 24342-80ГОСТ 24342-80ГОСТ 24342-80

Текстовое изменение № 1 от 01.03.1993

№ 1№ 1

© 2013 Ёшкин Кот :-) Карта сайта