Информационная система
«Ёшкин Кот»

Скачать базу одним архивом
Скачать обновления
История создания базы
Карта сайта

Скачать ГОСТ 21332-75 Винты с накатанной низкой головкой. Конструкция и размеры

Дата актуализации: 10.08.2017

ГОСТ 21332-75

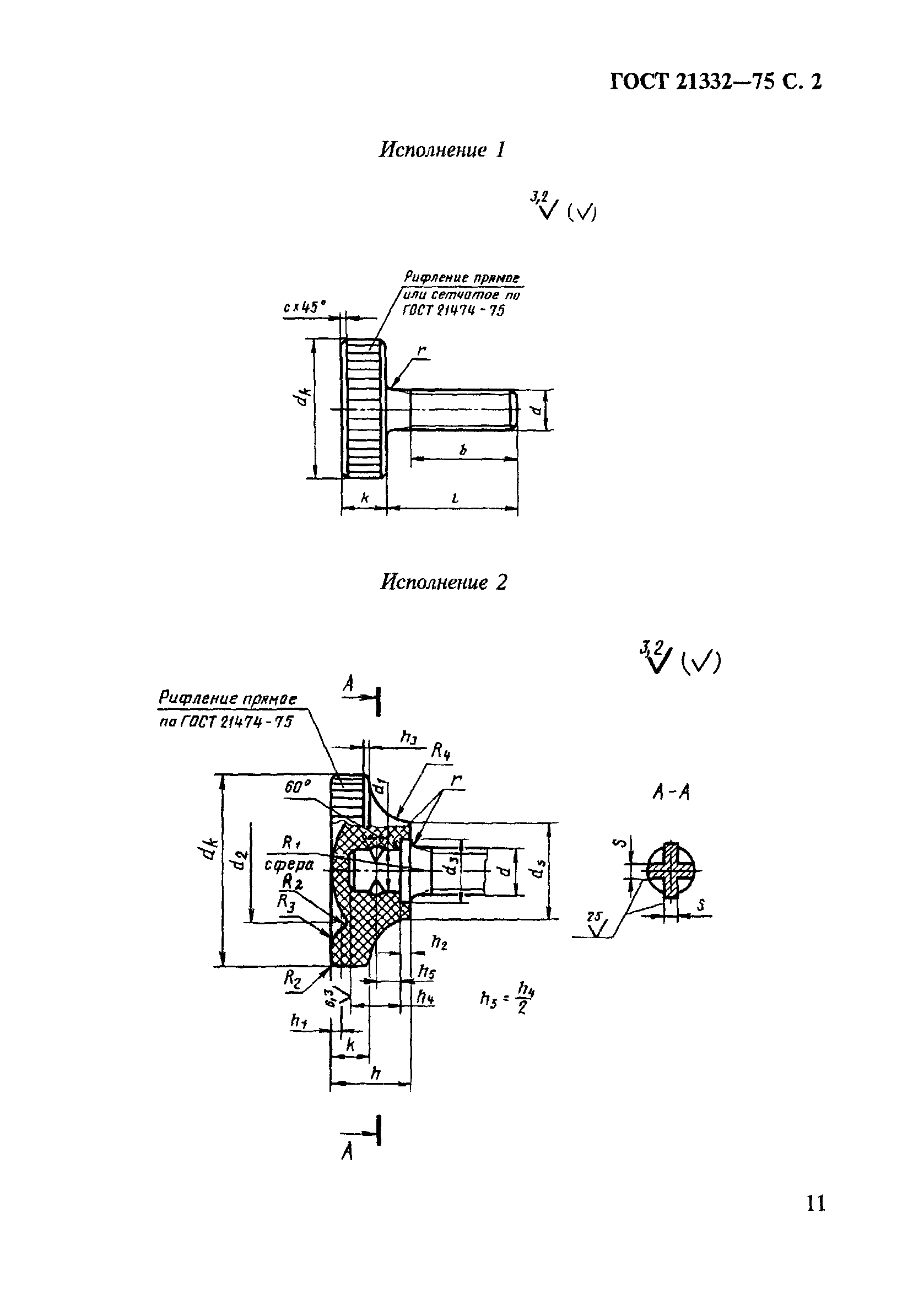
Винты с накатанной низкой головкой. Конструкция и размеры

Обозначение: ГОСТ 21332-75
Обозначение англ: GOST 21332-75
Статус:действует
Название рус.:Винты с накатанной низкой головкой. Конструкция и размеры
Название англ.:Screws with low knurled heads. Construction and dimensions
Дата добавления в базу:01.09.2013
Дата актуализации:05.05.2017
Дата введения:01.01.1977
Область применения:Стандарт распространяется на цельные и составные винты с металлической или пластмассовой накатанной низкой головкой классов точности А и В с диаметром резьбы от 1 до 12 мм.
Оглавление:Приложение 1
Приложение 2
Утверждён:08.12.1975 Госстандарт СССР (USSR Gosstandart 3800)
Издан: ИПК Издательство стандартов (1997 г. )
Расположен в:Техническая документация Электроэнергия МЕХАНИЧЕСКИЕ СИСТЕМЫ И УСТРОЙСТВА ОБЩЕГО НАЗНАЧЕНИЯ Крепежные изделия Болты, винты, шпильки Экология МЕХАНИЧЕСКИЕ СИСТЕМЫ И УСТРОЙСТВА ОБЩЕГО НАЗНАЧЕНИЯ Крепежные изделия Болты, винты, шпильки
Заменяет собой:
  • ГОСТ 10492-63 «Винты с накатанной низкой головкой. Размеры» (в части варианта с плоским концом)
Нормативные ссылки:
ГОСТ 21332-75ГОСТ 21332-75ГОСТ 21332-75ГОСТ 21332-75ГОСТ 21332-75ГОСТ 21332-75ГОСТ 21332-75ГОСТ 21332-75ГОСТ 21332-75

© 2013 Ёшкин Кот :-) Карта сайта