Скачать РД 45.120-2000 Нормы технологического проектирования. Городские и сельские телефонные сетиДата актуализации: 10.08.2017 РД 45.120-2000
Нормы технологического проектирования. Городские и сельские телефонные сети| Обозначение: | РД 45.120-2000 | | Обозначение англ: | RD 45.120-2000 | | Статус: | действует | | Название рус.: | Нормы технологического проектирования. Городские и сельские телефонные сети | | Название англ.: | Engineering Design Standards - Urban and Rural Telephone Networks | | Дата добавления в базу: | 01.09.2013 | | Дата актуализации: | 05.05.2017 | | Дата введения: | 12.10.2000 | | Область применения: | Нормы технологического проектирования (НТП) являются обязательными при проектировании городских и сельских телефонных сетей.
Данные НТП являются обязательными и при проектировании телефонных сетей (ведомственных и частных), присоединенных к телефонной сети общего пользования.
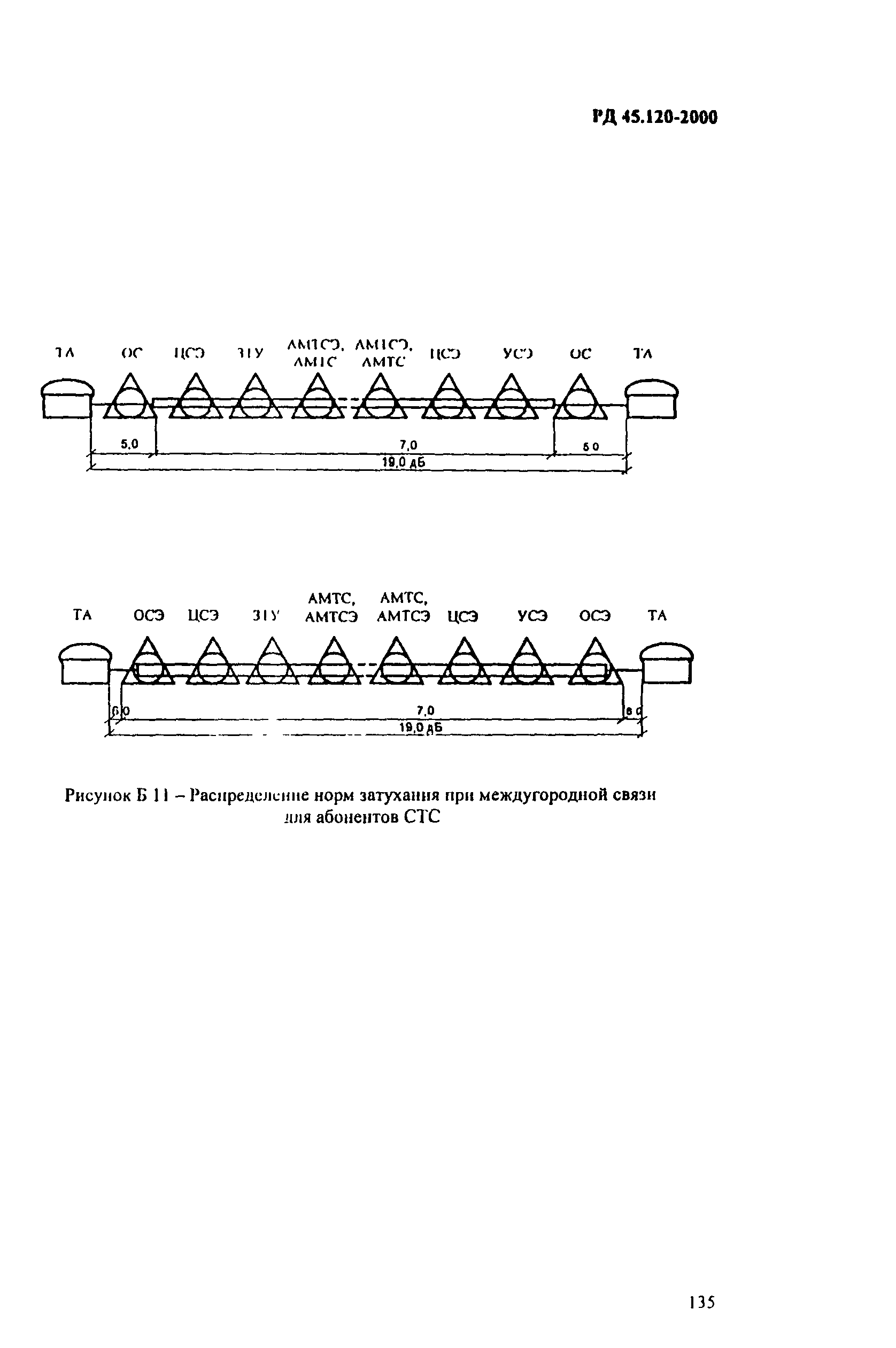
НТП не применимы к проектированию специальных и уникальных сетей. | | Оглавление: | 1. Область применения 2. Нормативные ссылки 3. Определения и список сокращений 4. Общие положения 5. Технология проектирования 6. Определения, классификация и основные принципы построения ГТС и СТС 7. Нормы и требования к параметрам ГТС и СТС 8. Нормативы определения мощности 9. Особенности проектирования станций с функциями ЦСИС 10. Нормы на отдельные виды оборудования 11. Фонд времени, режим работы оборудования и нормы обслуживающего персонала 12. Требования и нормы по проектированию линейных сооружений 13. Измерительная и проверочная аппаратура 14. Номенклатура и нормы площади помещений телефонных станций 15. Требования к технологической взаимосвязи цехов и служб АТС и их размещение 16. Нормы размещения 17. Технологические требования к зданиям и помещениям 18. Требования к внутристанционной проводке, заземлениям и защите 19. Охрана окружающей природной среды 20. Техника безопасности 21. Требования к технико-экономическим показателям Приложение А. (Обязательное). Максимально допустимые потери Приложение Б. (Обязательное). Распределение норм затухания Приложение В. (Справочное) Приложение Г. (Справочное) Приложение Д. (Справочное) Приложение Е. (Информационное). Положение по проектированию ИС. Технологические нормы проектирования интеллектуальной сети Приложение Ж. (Информационное). Положение по проектированию доступа к сети интернет Приложение З. (Информационное). Список руководящих технических и нормативных материалов, подлежащих разработке развития НТП Приложение И. (Информационное) | | Разработан: | ЛОНИИС ОАО Гипросвязь СПб
| | Утверждён: | 12.10.2000 Минсвязи России (Russian Federation Minsvyazi )
| | Издан: | ЦНТИ Информсвязь (2000 г. )
| | Расположен в: |
| | Заменяет собой: | | | Нормативные ссылки: |   СНиП 11-01-95 «Инструкция о порядке разработки, согласования, утверждения и составе проектной документации на строительство предприятий, зданий и сооружений»  СНиП 2.01.07-85* «Нагрузки и воздействия» СНиП 2.04.09-84 «Пожарная автоматика зданий и сооружений»  СНиП II-3-79* «Строительная теплотехника»  СНиП II-12-77 «Защита от шума»  СНиП 23-05-95* «Естественное и искусственное освещение» СНиП 2.09.02-85* «Производственные здания»  СНиП 2.09.04-87* «Административные и бытовые здания»  СНиП 2.05.03-84* «Мосты и трубы»  СНиП 2.04.05-91* «Отопление, вентиляция и кондиционирование» СНиП 4.02-91 «Базисные сметные нормы и расценки. Сборники сметных норм и расценок на строительные работы» СП 11-101-95 «Порядок разработки, согласования, утверждения и состав обоснований инвестиций в строительство предприятий, зданий и сооружений»  СНиП 21-01-97* «Пожарная безопасность зданий и сооружений» НПБ 104-95 «Проектирование систем оповещения людей о пожаре в зданиях и сооружениях»  НПБ 105-95 «Определение категорий помещений и зданий по взрывопожарной и пожарной опасности» РД 78.147-93 «Единые требования по технической укрепленности и оборудованию сигнализацией охраняемых объектов»  ПУЭ «Правила устройства электроустановок»  ГОСТ 2.105-95 «Единая система конструкторской документации. Общие требования к текстовым документам»  ГОСТ 12.1.003-83 «Система стандартов безопасности труда. Шум. Общие требования безопасности»  ГОСТ 16350-80 «Климат СССР. Районирование и статистические параметры климатических факторов для технических целей»  ОСТН 600-93 «Отраслевые строительно-технологические нормы на монтаж сооружений и устройств связи, радиовещания и телевидения»  СанПиН 2.2.4/2.1.8.055-96 «Электромагнитные излучения радиочастотного диапазона (ЭМИ РЧ)» ВНТП 111-93 «Проводные средства связи. Станции междугородные телефонные» ВНТП 113-93 «Проводные средства связи. Станции и узлы телеграфные» ВСН 116-93 «Инструкция по проектированию линейно-кабельных сооружений связи» ВСН 332-93 «Инструкция по проектированию электроустановок предприятий и сооружений электросвязи, проводного вещания, радиовещания и телевидения» ВСН 45.122-77 «Инструкция по проектированию искусственного освещения предприятий связи»  НПБ 110-99 «Перечень зданий, сооружений, помещений и оборудования, подлежащих защите автоматическими установками пожаротушения и автоматической пожарной сигнализацией»  ГОСТ 464-79 «Заземления для стационарных установок проводной связи, радиорелейных станций, радиотрансляционных узлов проводного вещания и антенн систем коллективного приема телевидения. Нормы сопротивления»  ГОСТ 5238-81 «Установки проводной связи. Схемы защиты от опасных напряжений и токов, возникающих на линиях. Технические требования»  ГОСТ Р 50889-96 «Сооружения местных телефонных сетей линейные. Термины и определения» ВНТП 112-92 «Том 1. Городские и сельские телефонные сети»  ГОСТ 21655-87 «Каналы и тракты магистральной первичной сети единой автоматизированной системы связи. Электрические параметры и методы измерений» ГОСТ 22498-88 «Кабели городские телефонные с полиэтиленовой изоляцией в пластмассовой оболочке. Технические условия»  ГОСТ Р 50932-96 «Совместимость технических средств электромагнитная. Устойчивость оборудования проводной связи к электромагнитным помехам. Требования и методы испытаний» ОСТ 45.68-96 «Классификация и условные обозначения стыков (интерфейсов) цифровых станций местных телефонных сетей» ОСТ 45.81-97 «Совместимость электромагнитная цепей передачи дискретных и аналоговых сигналов линий местных сетей электросвязи. Нормы эксплуатационные» ОСТ 45.82-96 «Сеть телефонная городская. Линии абонентские кабельные с металлическими жилами. Нормы эксплуатационные» ОСТ 45.83-96 «Сеть телефонная сельская. Линии абонентские кабельные с металлическими жилами. Нормы эксплуатационные» ОСТ 45.88-96 «Отраслевая система стандартизации. Порядок разработки руководящих документов отрасли»
|
                                                                                                                                                                          
|