| ||||||||||||||||||||||||||||||||||||
 Скачать ГОСТ Р 40.003-2000 Система сертификации ГОСТ Р. Регистр систем качества. Порядок проведения сертификации систем качества и сертификации производствДата актуализации: 10.08.2017
 | 
| Обозначение: |     ГОСТ Р 40.003-2000 | 
| Обозначение англ: |     GOST R 40.003-2000 | 
| Статус: | отменен | 
| Название рус.: | Система сертификации ГОСТ Р. Регистр систем качества. Порядок проведения сертификации систем качества и сертификации производств | 
| Название англ.: | GOST R certification system. Quality systems register. Procedure of systems certification and of productions certifications | 
| Дата добавления в базу: | 01.09.2013 | 
| Дата актуализации: | 05.05.2017 | 
| Дата введения: | 01.12.2004 | 
| Область применения: | Стандарт устанавливает цели, порядок и процедуры сертификации систем качества и сертификации производств в Регистре систем качества. Стандарт предназначен для применения: организациями-заявителями; участниками Регистра. | 
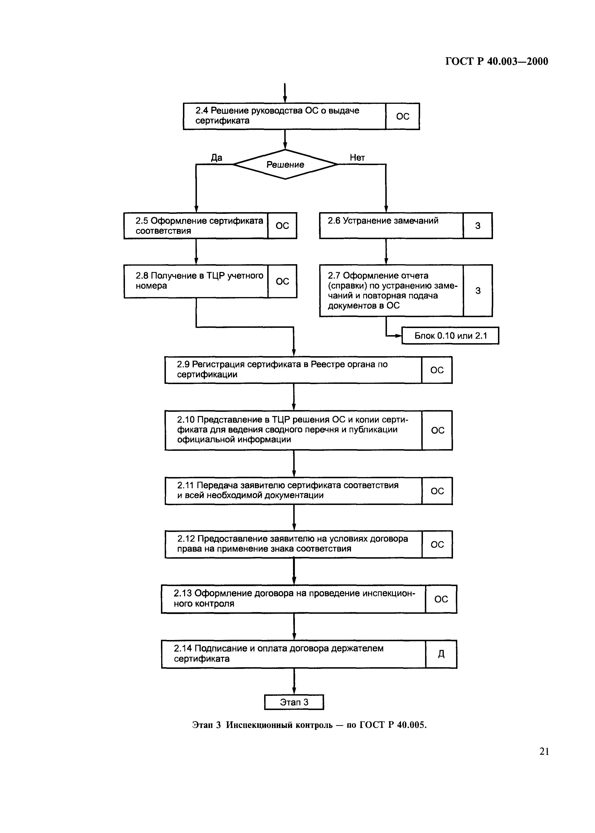
| Оглавление: | 1 Область применения 2 Нормативные ссылки 3 Определения 4 Цели и условия проведения сертификации систем качества 5 Объекты проверки 6 Участники проверки 7 Проведение сертификации систем качества (сертификации производств) 8 Порядок проведения сертификации систем качества малых предприятий 9 Порядок проведения работ по сертификации систем качества организаций, имеющих филиалы с различным местонахождением 10 Порядок ресертификации систем качества (производств) 11 Расширение (сужение) области сертификации 12 Оплата работ 13 Рабочий язык 14 Конфиденциальность информации Приложение А Последовательность проведения процедур сертификации систем качества (сертификации производств) Приложение Б Форма заявки на проведение сертификации системы качества Приложение В Форма заявки на проведение сертификации производства Приложение Г Форма извещения о результатах рассмотрения заявки на сертификацию системы качества (сертификацию производства) Приложение Д Содержание перечня исходных данных, представляемых в орган по сертификации для предварительной оценки системы качества (производства) Приложение Е Форма программы проверки и оценки системы качества (производства) Приложение Ж Форма регистрации несоответствий Приложение И Форма регистрации уведомлений Приложение К Форма акта о результатах проверки и оценки системы качества (производства) Приложение Л Форма решения о выдаче сертификата соответствия системы качества (производства) Приложение М Субъекты малого предпринимательства (из "Закона "О государственной поддержке малого предпринимательства в Российской Федерации") Приложение Н Форма решения о расширении области сертификации Приложение П Форма решения о сужении области сертификации Приложение Р Библиография  | 
| Разработан: |  ВНИИНМАШ Госстандарта России ВНИИС  | 
| Утверждён: | 13.04.2000 Госстандарт России (Russian Federation Gosstandart 108-ст) | 
| Издан: |  ИПК Издательство стандартов (2000 г. ) | 
| Расположен в: | |
| Заменяет собой: | |
| Нормативные ссылки: | 
  | 











































