| ||||||||||||||||||||||||||||||||||
Скачать ГОСТ Р 21.1702-96 Система проектной документации для строительства. Правила выполнения рабочей документации железнодорожных путейДата актуализации: 10.08.2017
|
| Обозначение: | ГОСТ Р 21.1702-96 |
| Обозначение англ: | GOST R 21.1702-96 |
| Статус: | отменен |
| Название рус.: | Система проектной документации для строительства. Правила выполнения рабочей документации железнодорожных путей |
| Название англ.: | System of building design documents. Rules of executing of working documentation for rail ways |
| Дата добавления в базу: | 01.09.2013 |
| Дата актуализации: | 05.05.2017 |
| Дата введения: | 01.01.2015 |
| Область применения: | Стандарт устанавливает состав и правила оформления рабочей документации на строительство новых и реконструируемых железнодорожных путей различного назначения, выполняемой с применением средств автоматизации. |
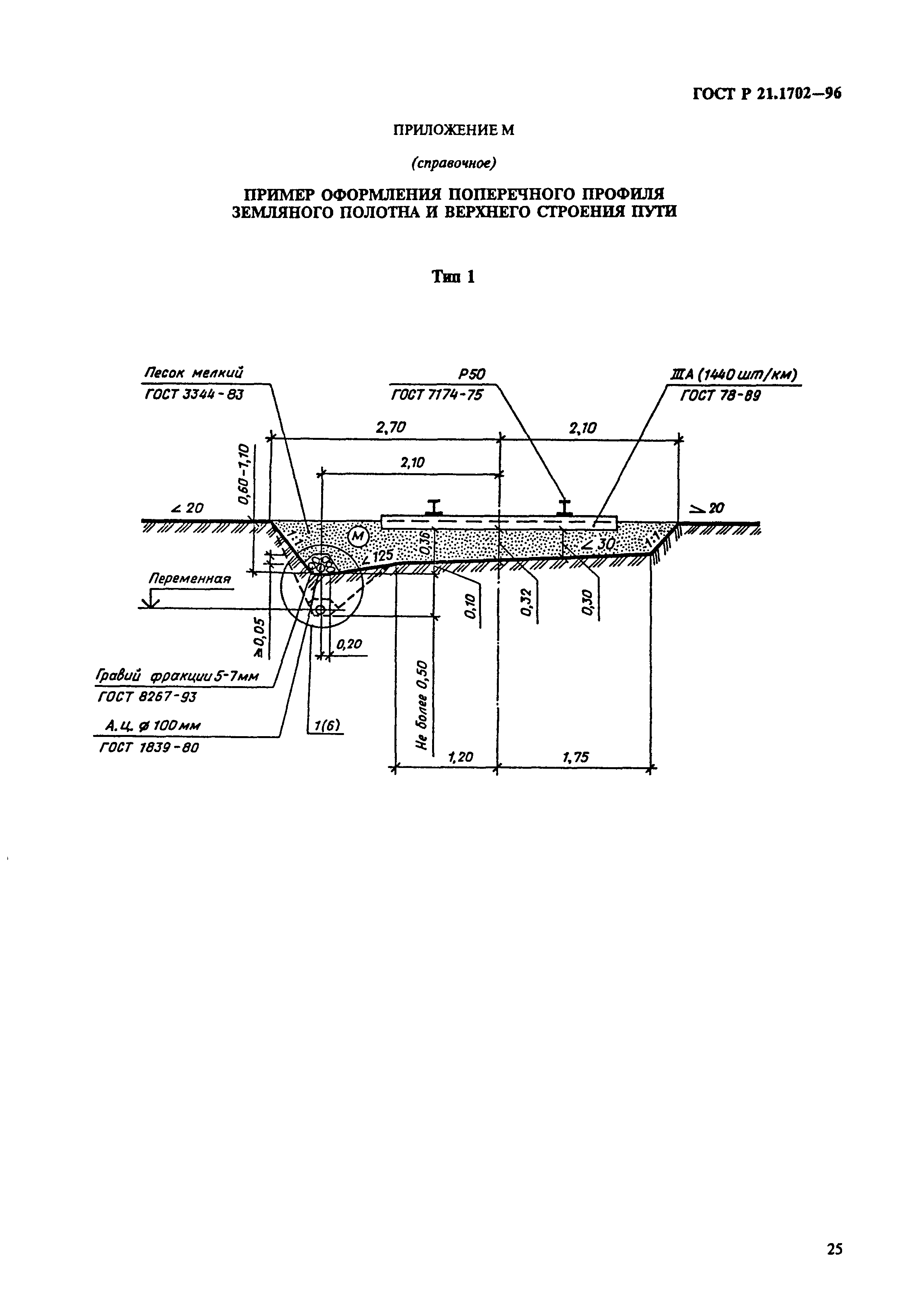
| Оглавление: | 1 Область применения 2 Нормативные ссылки 3 Общие положения 4 Общие данные по рабочим чертежам 5 Планы железнодорожных путей 6 Продольные профили железнодорожных путей 7 Продольные профили водоотводных и нагорных канав 8 Поперечные профили земляного полотна железнодорожных путей 9 Поперечные профили земляного полотна железнодорожных путей на застроенной территории 10 Эскизные чертежи общих видов нетиповых изделий и устройств 11 Спецификация оборудования, изделий и материалов Приложение А Пример оформления плана и продольного профиля новой однопутной железной дороги общего пользования (совмещенный чертеж) Приложение Б Пример оформления плана путевого развития раздельного пункта Приложение В Пример оформления плана железнодорожных путей на застроенной территории Приложение Г Примеры заполнения ведомости железнодорожных путей и ведомости стрелочных переводов Приложение Д Пример заполнения ведомости зданий и сооружений, привязанных к железнодорожному пути общего пользования Приложение Е Пример оформления продольного профиля реконструируемого железнодорожного пути Приложение Ж Пример оформления продольного профиля железнодорожного пути на непланированной застроенной территории Приложение И Пример оформления продольного профиля водоотводной канавы Приложение К Пример оформления поперечного профиля земляного полотна нового железнодорожного пути Приложение Л Пример оформления поперечного профиля земляного полотна реконструируемых железнодорожных путей Приложение М Пример оформления поперечного профиля земляного полотна верхнего строения пути |
| Разработан: | ГП ЦНС Госстроя России АО Ленгипротранс АО Промтрансниипроект |
| Утверждён: | 29.07.1996 Минстрой России (Russian Federation Minstroy 18-52) |
| Издан: | ГУП ЦПП (CPP GUP 1996 г. ) |
| Расположен в: | |
| Нормативные ссылки: |
|





























