Информационная система
«Ёшкин Кот»

XXXecatmenu

ГОСТ Р 51326.1-99
(МЭК 61008-1-96)

ГОСУДАРСТВЕННЫЙ СТАНДАРТ РОССИЙСКОЙ ФЕДЕРАЦИИ

ВЫКЛЮЧАТЕЛИ АВТОМАТИЧЕСКИЕ,
УПРАВЛЯЕМЫЕ ДИФФЕРЕНЦИАЛЬНЫМ
ТОКОМ, БЫТОВОГО И АНАЛОГИЧНОГО
НАЗНАЧЕНИЯ БЕЗ ВСТРОЕННОЙ ЗАЩИТЫ
ОТ СВЕРХТОКОВ

Часть 1

Общие требования и методы испытаний

Москва
Стандартинформ
2010

Предисловие

1 ПОДГОТОВЛЕН И ВНЕСЕН Техническим комитетом по стандартизации ТК 330 «Электроустановочные изделия»

2 УТВЕРЖДЕН И ВВЕДЕН В ДЕЙСТВИЕ Постановлением Госстандарта России от 30 ноября 1999 г. № 478-ст

3 Настоящий стандарт содержит полный аутентичный текст международного стандарта МЭК 61008-1-96, издание 2.0 (1996-12) «Выключатели автоматические, управляемые дифференциальным током, бытового и аналогичного назначения без встроенной защиты от сверхтоков. Часть 1. Общие требования» с дополнительными требованиями, учитывающими потребности экономики страны

4 ВВЕДЕН ВПЕРВЫЕ

5 ПЕРЕИЗДАНИЕ. Ноябрь 2009 г.

СОДЕРЖАНИЕ

Предисловие

Введение

1 Область применения. 3

2 Нормативные ссылки. 4

3 Определения. 5

4 Классификация. 10

5 Характеристики ВДТ. 12

6 Маркировка и другая информация об изделии. 16

7 Номинальные условия эксплуатации и монтажа. 17

8 Требования к конструкции и функционированию.. 18

9 Испытания. 26

Приложение а.. 69 Испытательные циклы и число образцов, подлежащих испытаниям для целей сертификации

Приложение в.. 72 Определение воздушных зазоров и расстояний утечки

Приложение с.. 74 Устройство для испытания при коротком замыкании

Приложение d.. 75 Приемо-сдаточные испытания

Приложение е. 76 Перечень испытаний, дополнительных циклов испытаний и число образцов для проверки соответствия ВДТ требованиям электромагнитной совместимости (ЭМС)

Приложение f. 77 Дополнительные требования, учитывающие потребности экономики страны и требования действующих государственных стандартов, а также рекомендации по их учету при разработке, изготовлении и эксплуатации ВДТ

Приложение .. 79 Методы определения коэффициента мощности при коротком замыкании

Приложение 1В Условное обозначение номинальных параметров и характеристик

Приложение .. 80 Примеры конструкции выводов

Приложение 1d.. 82 Соотношение между размерами медных проводников в системах ISO и AWG

Приложение 1e. 83 Периодический контроль качества ВДТ

Приложение 1f. 85 Отличия европейского стандарта EN 61008-1 от международного стандарта МЭК 61008-1-96

Приложение к.. 87 Библиография. 87

Введение

Настоящий стандарт содержит определения, технические требования и методы испытаний автоматических выключателей всех типов, управляемых дифференциальным током, бытового и аналогичного назначения без встроенной защиты от сверхтоков, эксплуатируемых неквалифицированным персоналом.

Дополнительные требования к выключателям без встроенной защиты от сверхтоков, функционально независящих и зависящих от напряжения сети, установлены в ГОСТ Р 51326.2-99 (МЭК 61008-2-1-91) и ГОСТ Р 51326.3-99 (МЭК 61008-2-2-91) соответственно.

Стандарт распространяется на автоматические выключатели, управляемые дифференциальным током, выполняющие одновременно функцию обнаружения дифференциального тока, сравнения его со значением дифференциального тока срабатывания и отключения защищаемой цепи в случае, когда дифференциальный ток превосходит это значение.

Выключатели предназначены для защиты людей при косвенном контакте с открытыми проводящими частями электроустановок, соединенными с соответствующим заземляющим устройством. Они могут быть использованы для обеспечения защиты от пожаров, возникающих вследствие длительного протекания тока повреждения при несрабатывании устройств защиты от сверхтоков.

В настоящем стандарте принято сокращенное обозначение автоматических выключателей, управляемых дифференциальным током бытового и аналогичного назначения без встроенной защиты от сверхтоков - ВДТ.

Сокращенные обозначения ВДТ, используемые в зарубежных нормативных документах и технической литературе:

ID - Франция, RCCDs - Англия.

Сокращенные обозначения последовательно включенных защитных устройств от коротких замыканий, используемых в настоящем стандарте (см. 3.4.8) и зарубежных нормативных документах и технической литературе:

ПЗУ - Россия, SCPD - Англия, DPCC - Франция.

В Европейском экономическом сообществе на ВДТ действует европейский стандарт EN 61008-1. Наиболее существенные отличия EN 61008-1 от международного стандарта МЭК 61008-1 приведены в приложении 1F.

Информацию о нормативной документации по стандартизации и консультации при разработке, изготовлении и эксплуатации ВДТ представляют:

- АООТ «НИИЭлектроаппарат» - 355049, Ставрополь, пр. Кулакова, 7;

- Ассоциация производителей УЗО - 355103, Ставрополь, ул. Ленина, 415, корп. 2;

- Всероссийский научно-исследовательский институт по стандартизации и сертификации в машиностроении (ВНИИНМАШ) - 123007, Москва, ул. Шеногина, 4.

Информацию и консультации по применению ВДТ при проектировании, монтаже и эксплуатации электроустановок зданий представляют:

- ОАО ВНИПИ «Тяжпромэлектропроект» - 105187, Москва, ул. Щербаковская, 57а;

- АООТ по проектированию сетевых и энергетических объектов (АО «РОСЭП») - 111395, Москва, аллея Первой Маевки, 15/8;

- Всероссийский научно-исследовательский институт противопожарной обороны (ВНИИПО) - 142900, Московская обл., Балашихинский р-н, пос. ВНИИПО, 12.

ГОСТ Р 51326.1-99
(МЭК 61008-1-96)

ГОСУДАРСТВЕННЫЙ СТАНДАРТ РОССИЙСКОЙ ФЕДЕРАЦИИ

ВЫКЛЮЧАТЕЛИ АВТОМАТИЧЕСКИЕ, УПРАВЛЯЕМЫЕ ДИФФЕРЕНЦИАЛЬНЫМ ТОКОМ,
БЫТОВОГО И АНАЛОГИЧНОГО НАЗНАЧЕНИЯ БЕЗ ВСТРОЕННОЙ ЗАЩИТЫ
ОТ СВЕРХТОКОВ

Часть 1

Общие требования и методы испытаний

Residual current operated circuit-breakers without integral overcurrent protection for household and similar uses
(RCCBs). Part 1. General requirements and test methods

Дата введения

для импортируемых изделий 2000-07-01

для вновь разрабатываемых и модернизированных изделий 2001-01-01

для изготавливаемых изделий 2002-01-01

1 Область применения

Настоящий стандарт распространяется на управляемые дифференциальным током автоматические выключатели без встроенной защиты от сверхтоков, функционально независящие или зависящие от напряжения сети, бытового и аналогичного применения (далее - ВДТ) с номинальными напряжениями, не превышающими 440 В переменного тока, и номинальными токами, не превышающими 125 А, применяемые главным образом для защиты от поражения электрическим током.

ВДТ предназначены для защиты людей при косвенном контакте с открытыми проводящими частями электроустановок, соединенными с соответствующим заземляющим устройством электроустановок зданий, и аналогичного применения. Они могут быть использованы для обеспечения защиты от пожаров, возникающих вследствие длительного протекания тока повреждения.

ВДТ, имеющий номинальный отключающий дифференциальный ток не более 30 мА, могут быть также использованы в качестве средства дополнительной защиты в случае отказа защитных устройств, предназначенных для защиты от поражения электрическим током.

Стандарт распространяется на ВДТ, выполняющие одновременно функцию обнаружения дифференциального тока, сравнения его со значением дифференциального тока срабатывания и отключения защищаемой цепи в случае, когда дифференциальный ток превосходит это значение.

Примечания

1 Требования настоящего стандарта в части основных требований соответствуют ГОСТ Р 50807, при этом следует иметь ввиду, что ВДТ, по существу, предназначены для эксплуатации необученным персоналом, а их конструкция не требует обслуживания.

2 Требования по установке и применению ВДТ приведены в комплексе стандартов на электроустановки зданий ГОСТ Р 50571.

3 ВДТ по настоящему стандарту могут быть пригодными для выполнения функции отключения (см. 8.1.3).

В случаях, когда возможны перенапряжения на стороне питания (например, при питании от воздушных линий электропередач), могут быть необходимы специальные меры защиты (например, грозовые разрядники) (см. МЭК 60364-4-443) [1].

ВДТ общего типа устойчивы к нежелательному срабатыванию, включая случаи, когда импульсы напряжения (в результате переходных помех, возникающих в процессе коммутации или индуктируемых грозовыми разрядами), вызывают появление в установке токов нагрузки без возникновения тока замыкания на землю.

Считают, что ВДТ типа S достаточно защищены против нежелательного срабатывания, если импульсное напряжение вызовет ток замыкания на землю и возникнет сопровождающий ток.

Примечания

4 Разрядники, установленные после ВДТ общего типа, подсоединенные обычным способом, могут вызывать нежелательное срабатывание ВДТ.

5 Для АВДТ, имеющих степень защиты выше IP20, может потребоваться специальная конструкция.

Особые требования необходимы для:

- ВДТ, управляемых дифференциальным током, со встроенной защитой от сверхтоков по ГОСТ Р 51327.1;

- ВДТ, встраиваемых или предназначенных только для объединения с вилками, розетками или электрическими соединителями бытового и аналогичного применения по ГОСТ Р 51328.

Требования настоящего стандарта применимы для нормальных условий окружающей среды (см. 7.1).

Для ВДТ, используемых в условиях окружающей среды, отличных от настоящего стандарта, могут потребоваться дополнительные требования.

На ВДТ с автономными источниками питания настоящий стандарт не распространяется.

Дополнительные требования, учитывающие потребности экономики страны и требования государственных стандартов на электротехнические изделия, а также рекомендации по их учету при разработке, изготовлению и эксплуатации ВДТ, приведены в приложении F.

Требования настоящего стандарта являются обязательными.

Стандарт пригоден для целей сертификации.

Текст непосредственно примененного стандарта МЭК 61008-1-96 набран: технические требования - светлым шрифтом, методы испытаний - курсивом, примечания - петитом.

2 Нормативные ссылки

В настоящем стандарте использованы ссылки на следующие стандарты:

ГОСТ 14254-96 (МЭК 529-89) Степени защиты, обеспечиваемые оболочками (Код IP)

ГОСТ 27483-87 (МЭК 695-2-1-80) Испытания на пожароопасность. Методы испытаний. Испытания нагретой проволокой

ГОСТ 28214-89 (МЭК 68-2-28-81) Основные методы испытаний на воздействие внешних факторов. Часть 2. Испытания. Руководство по испытаниям на влажное тепло

ГОСТ 28216-89 (МЭК 68-2-30-82) Основные методы испытаний на воздействие внешних факторов. Часть 2. Испытания. Испытания Db и руководство: влажное тепло циклическое (12 + 12 - часовой цикл)

ГОСТ 28312-89 (МЭК 417-73) Аппаратура радиоэлектронная профессиональная. Условные графические обозначения

ГОСТ 29322-92 (МЭК 38-83) Стандартные напряжения

ГОСТ 30012.1-2002 (МЭК 60051-1-97) Приборы аналоговые показывающие электроизмерительные прямого действия и вспомогательные части к ним. Часть 1. Определения и основные требования, общие для всех частей

ГОСТ Р 50345-99 (МЭК 60898-95) Аппаратура малогабаритная электрическая. Автоматические выключатели для защиты от сверхтоков бытового и аналогичного назначения

ГОСТ Р 50571 Электроустановки зданий

ГОСТ Р 50807-95 (МЭК 755-83) Устройства защитные, управляемые дифференциальным (остаточным) током. Общие требования и методы испытаний

ГОСТ Р 51318.14.1-2006 (СИСПР 14-1:2005) Совместимость технических средств электромагнитная. Бытовые приборы, электрические инструменты и аналогичные устройства. Радиопомехи индустриальные. Нормы и методы измерений

ГОСТ Р 51322.1-99 (МЭК 60884-1-94) Соединители электрические штепсельные бытового и аналогичного назначения. Часть 1. Общие требования и методы испытаний

ГОСТ Р 51327.1-99 (МЭК 61009-1-96) Выключатели автоматические, управляемые дифференциальным током, бытового и аналогичного назначения со встроенной защитой от сверхтоков. Часть 1. Общие требования и методы испытаний

ГОСТ Р 51328-99 (МЭК 61540-97) Устройства защитного отключения переносные бытового и аналогичного назначения, управляемые дифференциальным током, без встроенной защиты от сверхтоков (УЗО-ДП). Общие требования и методы испытаний

ГОСТ Р 51329-99 (МЭК 61543-95) Совместимость технических средств электромагнитная. Устройства защитного отключения, управляемые дифференциальным током (УЗО-Д), бытового и аналогичного назначения. Требования и методы испытаний

3 Определения

В настоящем стандарте использованы следующие термины с соответствующими определениями.

При применении терминов «напряжение» или «ток» имеется в виду их среднеквадратичное значение, если не оговорено иное.

3.1 Термины и определения, относящиеся к токам, стекающим с токоведущих частей в землю

3.1.1 ток замыкания на землю: Ток, проходящий в землю через место замыкания при повреждении изоляции.

3.1.2 ток утечки: Ток, который протекает в землю или на сторонние проводящие части в электрически неповрежденной цепи.

3.1.3 пульсирующий (выпрямленный) постоянный ток: Волнообразные импульсы тока длительностью (в угловой мере) не менее 150° за один период пульсации, следующие периодически с номинальной частотой и разделенные промежутками времени, в течение которых ток принимает нулевое значение или значение, не превышающее 0,006 величины постоянного тока.

3.1.4 угол задержки тока: Промежуток времени, выраженный в угловой мере, в течение которого устройство фазного управления задерживает момент протекания тока.

3.2 Термины и определения, относящиеся к подводимым к ВДТ величинам

3.2.1 подводимая величина: Электрическая величина, которая сама или совместно с другими электрическими величинами должна быть приложена к ВДТ, чтобы обеспечить его функционирование в заданных условиях.

3.2.2 подводимая входная величина: Электрическая величина, вызывающая отключение ВДТ в заданных условиях.

Эти условия могут, например, заключаться в обеспечении электропитания некоторых вспомогательных органов.

3.2.3 дифференциальный ток (I): Действующее значение векторной суммы токов, протекающих в первичной цепи ВДТ (выраженное в среднеквадратичном значении).

3.2.4 отключающий дифференциальный ток: Значение дифференциального тока, вызывающего отключение ВДТ в заданных условиях эксплуатации (ток срабатывания).

3.2.5 неотключающий дифференциальный ток: Значение дифференциального тока, при котором и ниже которого ВДТ не отключается в заданных условиях эксплуатации (ток несрабатывания).

3.3 Термины и определения, относящиеся к работе и различным функциям ВДТ

3.3.1 автоматический выключатель, управляемый дифференциальным током: Механический коммутационный аппарат, предназначенный для включения, проведения и отключения токов при нормальных условиях работы, а также разъединения контактов в случае, когда значение дифференциального тока достигает заданной величины в определенных условиях.

3.3.2 автоматический выключатель, управляемый дифференциальным током, без встроенной защиты от сверхтоков (ВДТ): Управляемый дифференциальным током выключатель, не предназначенный для выполнения функций защиты от сверхтоков.

3.3.3 автоматический выключатель, управляемый дифференциальным током, со встроенной защитой от сверхтоков (АВДТ): Управляемый дифференциальным током автоматический выключатель, предназначенный для выполнения функций защиты от сверхтоков.

3.3.4 ВДТ, функционально не зависящие от напряжения сети: ВДТ, для которых функции обнаружения, сравнения и отключения не зависят от напряжения сети.

Примечание - Эти ВДТ определены в 2.3.2 ГОСТ Р 50807 как УЗО-Д без вспомогательных источников питания.

3.3.5 ВДТ, функционально зависящие от напряжения сети: ВДТ, для которых функции обнаружения, сравнения и отключения зависят от напряжения сети.

Примечания

1 Эти ВДТ определены в 2.3.3 ГОСТ Р 50807 как УЗО-Д с вспомогательными источниками питания.

2 Подразумевается, что напряжение сети прикладывается к ВДТ для обнаружения функций определения, сравнения или отключения.

3.3.6 коммутационный аппарат: Аппарат, предназначенный для включения или отключения тока в одной или нескольких электрических цепях.

3.3.7 механический коммутационный аппарат: Аппарат, предназначенный для замыкания и размыкания одной или нескольких электрических цепей с помощью размыкаемых контактов.

3.3.8 ВДТ со свободным расцеплением: ВДТ, подвижные контакты которого возвращаются в разомкнутое положение и остаются в этом положении, если команда на отключение поступает после начала операции по включению, даже в случае, когда операция по включению продолжается.

Примечание - Для обеспечения надежного отключения тока, который мог бы установиться, может быть необходимым, чтобы контакты кратковременно заняли замкнутое положение.

3.3.9 время отключения ВДТ: Промежуток времени между моментом внезапного возникновения отключающего дифференциального тока и моментом гашения дуги на всех полюсах.

3.3.10 предельное время неотключения: Максимальный промежуток времени, в течение которого через ВДТ может быть пропущен дифференциальный ток, значение которого больше значения максимального неотключающего дифференциального тока, не вызывая срабатывания ВДТ.

3.3.11 ВДТ с выдержкой времени отключения: ВДТ, специально предназначенные для обеспечения заранее установленного значения предельного времени неотключения, соответствующего данному значению дифференциального тока.

3.3.12 замкнутое состояние: Положение, при котором предусмотренная непрерывность главной цепи ВДТ обеспечена.

3.3.13 разомкнутое состояние: Положение, при котором обеспечен предусмотренный зазор между разомкнутыми контактами главной цепи ВДТ.

3.3.14 полюс: Часть ВДТ, непосредственно связанная с одним электрически отделенным токопроводящим путем его главной цепи, снабженная контактами, предназначенными для соединения и разъединения главной цепи. За исключением частей, предназначенных для монтажа и оперирования всеми полюсами совместно.

3.3.15 коммутирующий нейтральный полюс: Полюс, предназначенный только для коммутаций нейтрали и не рассчитанный на обеспечение коммутационной способности аппарата.

3.3.16 главная цепь (ВДТ): Все токоведущие части ВДТ, входящие в цепь, которую он предназначен замыкать и размыкать (см. 4.3).

3.3.17 цепь управления (ВДТ): Цепь (отличная от части главной цепи), предназначенная для операции включения или отключения ВДТ, или для обеих операций.

Примечание - Цепь, предназначенная для контрольного устройства, входит в это определение.

3.3.18 вспомогательная цепь (ВДТ): Все токоведущие части ВДТ, предназначенные для включения в цепь, кроме главной цепи ВДТ и цепи управления.

3.3.19 ВДТ типа АС: ВДТ, срабатывание которого обеспечивается дифференциальным синусоидальным переменным током путем или внезапного его приложения, или при медленном нарастании.

3.3.20 ВДТ типа А: ВДТ, срабатывание которого обеспечивается и синусоидальным переменным и пульсирующим постоянным дифференциальными токами путем или внезапного приложения, или медленного нарастания.

3.3.21 устройство эксплуатационного контроля: Устройство, встроенное в ВДТ, имитирующее условия дифференциального тока для срабатывания ВДТ в определенных условиях.

3.4 Определения, относящиеся к значениям и диапазонам подводимых величин

3.4.1 номинальное значение: Количественное значение, установленное изготовителем для определенных условий работы ВДТ.

3.4.2 Сверхтоки неотключения в главной цепи

Определения предельных значений сверхтоков неотключения приведены в 3.4.2.1 и 3.4.2.2.

Примечание - При наличии сверхтока в главной цепи и в отсутствии дифференциального тока, срабатывание устройства обнаружения дифференциального тока возможно вследствие асимметрии, существующей в самом устройстве обнаружения.

3.4.2.1 предельное значение сверхтока неотключения в случае нагрузки ВДТ с двумя токовыми путями (в двухфазных или в фазном и нулевом рабочем проводниках): Максимальное значение сверхтока неотключения нагрузки, который при отсутствии какого-либо замыкания на корпус или землю, или в отсутствие тока утечки на землю может протекать через ВДТ с двумя токовыми путями без его отключения.

3.4.2.2 предельное значение сверхтока неотключения в случае однофазной нагрузки трех- или четырехполюсного ВДТ: Максимальное значение однофазного сверхтока, который, при отсутствии какого-либо замыкания на корпус или землю, или в отсутствие тока утечки на землю может протекать через трех- или четырехполюсный ВДТ без его отключения.

3.4.3 неповреждающий дифференциальный ток при коротком замыкании: Максимальное значение дифференциального тока, при котором обеспечивается отключение ВДТ в определенных условиях, превышение которого может привести АВД к неработоспособному состоянию.

3.4.4 ожидаемый ток: Ток, который протекал бы в цепи, если бы каждый полюс ВДТ или устройства защиты от сверхтоков (если оно есть) был бы заменен проводником с пренебрежимо малым полным сопротивлением.

Примечание - Ожидаемый ток может быть классифицирован так же, как и существующий ток, например: ожидаемый ток отключения, ожидаемый пиковый ток, ожидаемый дифференциальный ток и т.д.

3.4.5 номинальная наибольшая включающая способность: Значение переменной составляющей ожидаемого тока, которое ВДТ способно включить при заданном напряжении в заданных условиях эксплуатации без нарушения его работоспособности.

3.4.6 номинальная наибольшая отключающая способность: Значение переменной составляющей ожидаемого тока, которое ВДТ, способно отключить при заданном напряжении в заданных условиях эксплуатации без нарушения его работоспособности.

3.4.7 номинальная наибольшая включающая и отключающая дифференциальная способность: Значение переменной составляющей ожидаемого дифференциального тока, при которой ВДТ способен включать, проводить в течение своего времени размыкания и отключать ток в заданных условиях эксплуатации без нарушения его работоспособности.

3.4.8 условный ток короткого замыкания: Значение переменной составляющей ожидаемого тока, которое ВДТ, защищенный соответствующим устройством от короткого замыкания, включенным последовательно (далее - ПЗУ) может выдержать в заданных условиях эксплуатации без нарушения его работоспособности.

3.4.9 условный дифференциальный ток короткого замыкания: Значение переменной составляющей ожидаемого дифференциального тока, которое ВДТ, защищенный соответствующим ПЗУ, может выдержать в заданных условиях эксплуатации без нарушения его работоспособности.

3.4.10 Предельные значения напряжения сети (Ux и Uy) для ВДТ, функционально зависящих от напряжения сети

3.4.10.1 Ux: Минимальное значение напряжения сети, при котором ВДТ, функционально зависящий от напряжения сети, сохраняет свою работоспособность в заданных условиях эксплуатации в случае понижения напряжения сети (см. 9.17.1).

3.4.10.2 Uy: Минимальное значение напряжения сети, ниже которого ВДТ, функционально зависящий от напряжения сети, автоматически отключается при отсутствии дифференциального тока (см. 9.17.2).

3.4.11 I2t (интеграл Джоуля): Интеграл квадрата силы тока по данному интервалу времени (t0, t1):

3.4.12 восстанавливающееся напряжение: Напряжение, которое появляется на выводах полюса ВДТ после отключения тока.

Примечания

1 Это напряжение можно рассматривать в виде двух последовательных интервалов времени, на первом из которых существует переходное напряжение, а на следующем за ним втором интервале - только напряжение промышленной частоты.

2 Это определение относится к однополюсным ВДТ. Для многополюсных ВДТ восстанавливающееся напряжение - это напряжение на входных зажимах выключателя.

3.4.12.1 переходное восстанавливающееся напряжение: Напряжение в период времени, когда оно носит выраженный переходный характер.

Примечание - Переходное напряжение может быть колебательным и неколебательным или иметь смешанный характер, в зависимости от характеристик цепи и ВДТ. Оно содержит и напряжение сдвига нейтрали в многофазной цепи.

3.4.12.2 восстанавливающееся напряжение промышленной частоты: Напряжение после завершения переходного процесса.

3.5 Определения, относящиеся к значениям и диапазонам влияющих величин

3.5.1 влияющая величина: Любая величина, способная изменить определенное функционирование ВДТ.

3.5.2 контрольное значение влияющей величины: Значение влияющей величины, при котором определены установленные изготовителем характеристики.

3.5.3 контрольные условия влияющих величин: Совокупность контрольных значений влияющих величин.

3.5.4 диапазон влияющей величины: Диапазон значений одной отдельной влияющей величины, который позволяет ВДТ выполнять свои функции при заданных условиях, другие влияющие величины при этом имеют свои контрольные значения.

3.5.5 предельный диапазон влияющей величины: Диапазон значений одной влияющей величины, внутри которого ВДТ испытывает только произвольные обратимые изменения, хотя при этом нет необходимости удовлетворять все требования настоящего стандарта.

3.5.6 температура окружающего воздуха: Температура воздуха, окружающего ВДТ, определенная в заданных условиях (для ВДТ, имеющего оболочку, это температура воздуха вне оболочки).

3.6 Определения, относящиеся к выводам

3.6.1 вывод: Токопроводящая часть ВДТ, предназначенная для многократного присоединения (и отсоединения) электрических цепей к внешним цепям (от внешних цепей).

3.6.2 вывод резьбового типа: вывод для присоединения и последующего отсоединения проводника или соединения между собой двух или нескольких проводников, осуществляемых прямо или косвенно винтами или гайками любого типа.

3.6.3 столбчатый вывод: Вывод резьбового типа, в котором проводник вставляется в отверстие или полость, где он зажимается стержнем винта (винтов). Зажимное давление может передаваться непосредственно стержнем винта или через промежуточный зажимной элемент, давление на который осуществляется стержнем винта.

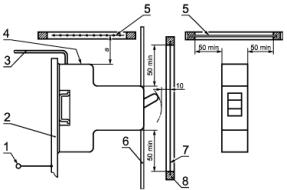
Примечание - Образцы столбчатых выводов приведены на рисунке 1С.1 приложения .

3.6.4 винтовой вывод: Вывод резьбового типа, в котором проводник зажимается головкой винта. Зажимное давление передается или непосредственно головкой винта, или через промежуточный элемент типа шайбы, пластины или приспособления, препятствующий выскальзыванию провода.

Примечание - Примеры винтовых зажимов приведены на рисунке 1С.2 приложения .

3.6.5 штыревой вывод: Вывод резьбового типа, в котором проводник зажимается под гайку. Зажимное давление может передаваться непосредственно от гайки соответствующей конфигурации или через промежуточный элемент типа шайбы, пластины или приспособления, препятствующий выскальзыванию проводника.

Примечание - Примеры штыревых выводов приведены на рисунке 1С.2 приложения .

3.6.6 пластинчатый вывод: Вывод резьбового типа, в котором проводник зажимается под изогнутой планкой двумя или несколькими винтами или гайками.

Примечание - Примеры пластинчатых выводов приведены на рисунке 1С.3 приложения .

3.6.7 выводы для кабельных наконечников: Винтовой или штыревой вывод, предназначенный для зажима кабельного наконечника или шины винтом или гайкой.

Примечание - Примеры выводов для наконечников приведены на рисунке 1С.4 приложения .

3.6.8 безрезьбовой вывод: Вывод для присоединения и последующего отсоединения одного проводника или разъемного соединения между собой двух или нескольких проводников, осуществляемые прямо или косвенно при помощи пружин, клиньев, эксцентриков, конусов и т.п., без специальной подготовки проводов, за исключением снятия изоляции.

3.6.9 самонарезающий винт: Винт, изготовленный из материала с более высоким сопротивлением деформации, внедряющийся путем вращения в отверстие, выполненное в материале с меньшим сопротивлением деформации, чем у винта.

Винт выполнен с конусной резьбой, с уменьшением диаметра резьбы на конце винта. При ввинчивании винта резьба надежно формируется только после достаточного числа оборотов, превышающего число витков резьбы на коническом участке.

3.6.10 самонарезающий формирующий винт: Винт с непрерывной резьбой, не предназначенный для удаления материала из отверстия.

Примечание - Пример самонарезающего формирующего винта приведен на рисунке 1.

3.6.11 самонарезающий режущий винт: Винт с прерывающейся резьбой, предназначенный для удаления материала из отверстия.

Примечание - Пример самонарезающего режущего винта приведен на рисунке 2.

3.7 Условия оперирования

3.7.1 операция: Перевод подвижного контакта (контактов) из разомкнутого положения в замкнутое и наоборот.

Примечание - Различают электрическое оперирование (т.е. включение и отключение) как коммутирующее и механическое оперирование (т.е. замыкание и размыкание).

3.7.2 операция замыкания: Операция, при которой ВДТ переводится из разомкнутого состояния в замкнутое.

3.7.3 операция размыкания: Операция, при которой ВДТ переводится из замкнутого состояния в разомкнутое.

3.7.4 цикл операций: Ряд операций перевода из одного состояния в другое и обратно в первое состояние.

3.7.5 последовательность операций: Ряд определенных операций в определенных временных интервалах.

3.7.6 воздушный зазор (см. приложение В): Кратчайшее расстояние по воздуху между двумя токоведущими частями.

Примечание - При определении воздушного зазора относительно доступных частей, доступную поверхность изоляционной оболочки следует рассматривать, как если бы она была покрыта металлической фольгой во всех местах, где ее можно коснуться рукой или стандартным испытательным пальцем согласно рисунка 3.

3.7.7 расстояние утечки (см. приложение В): Кратчайшее расстояние по поверхности изоляционного материала между двумя токоведущими частями.

Примечание - При определении расстояний утечки относительно доступных частей следует рассматривать доступную поверхность изоляционной оболочки как токопроводящую, как если бы она была покрыта металлической фольгой во всех местах, где ее можно коснуться рукой или стандартным испытательным пальцем согласно рисунка 3.

3.8. Испытания

3.8.1 типовое испытание: Испытание одного или более ВДТ, изготовленных по определенной документации (проекту) с целью установить, что ВДТ соответствует определенным требованиям.

3.8.2 приемо-сдаточные испытания: Испытания, которым подвергают каждый образец изделия в течение или после изготовления с целью установления соответствия его определенным требованиям.

4 Классификация

ВДТ подразделяют:

4.1 По способу управления

Примечание - Разделение ВДТ на различные типы выполнено в соответствии с требованиями МЭК 60364-5-53 [2].

4.1.1 ВДТ, функционально не зависящие от напряжения сети (см. 3.3.4);

4.1.2 ВДТ, функционально зависящие от напряжения сети (см. 3.3.5):

4.1.2.1 размыкающиеся автоматически в случае исчезновения напряжения сети, с задержкой или без задержки по времени (см. 8.12):

a) автоматически повторно замыкающиеся при восстановлении напряжения сети,

b) автоматически повторно не замыкающиеся при восстановлении напряжения сети;

4.1.2.2 не размыкающиеся автоматически в случае исчезновения напряжения сети:

a) способные расцепляться в случае аварийной ситуации (например, при замыкании на землю), возникающей вследствие аварии в электросети,

b) не способные расцепляться в случае аварийной ситуации (например, при замыкании на землю), возникающей вследствие аварии в электросети.

Примечание - Условия выбора и применения ВДТ - по 532.2.2.2 МЭК 60364-5-53 [2].

4.2 По виду установки:

- ВДТ для стационарной установки при неподвижной проводке;

- ВДТ для подвижной установки (переносного типа) и шнурового присоединения (подключения) самого ВДТ к источнику питания.

4.3 В зависимости от числа полюсов и токовых путей:

- однополюсный ВДТ с двумя токовыми путями;

- двухполюсный ВДТ;

- трехполюсный ВДТ;

- трехполюсный ВДТ с четырьмя токовыми путями;

- четырехполюсный ВДТ.

4.4 По условиям регулирования отключающего дифференциального тока:

- ВДТ с одним значением номинального отключающего дифференциального тока;

- ВДТ с многопозиционной уставкой отключающего дифференциального тока с дискретными фиксированными значениями (см. примечание к 5.2.3).

4.5 По условиям устойчивости к нежелательному срабатыванию от воздействия импульсов напряжения:

- ВДТ с нормальной устойчивостью к нежелательному срабатыванию (общего типа в соответствии с таблицей 1);

- ВДТ с повышенной устойчивостью к нежелательному срабатыванию (типа S в соответствии с таблицей 1).

4.6 По условиям функционирования при наличии составляющей постоянного тока:

- ВДТ типа АС;

- ВДТ типа А.

4.7 По наличию задержки по времени (в присутствии дифференциального тока):

- ВДТ без выдержки времени - тип для общего применения;

- ВДТ с выдержкой времени - тип S для обеспечения селективности.

4.8 По способу защиты от внешних воздействующих факторов:

- ВДТ защищенного исполнения (не требующий дополнительной оболочки);

- ВДТ незащищенного исполнения (для использования с дополнительной оболочкой).

4.9 По способу монтажа:

- ВДТ поверхностного монтажа;

- ВДТ утопленного монтажа;

- ВДТ панельно-щитового монтажа (называемого также типом для распределительных щитов и щитков).

Примечание - ВДТ этих типов могут предназначаться для установки на рейках.

4.10 По способу присоединения:

- ВДТ, присоединения которых не связаны с механическими креплениями;

- ВДТ, присоединения которых связаны с механическими креплениями, например втычного и болтового типов.

Примечание - Некоторые ВДТ могут быть втычного или болтового типа только со стороны питания.

5 Характеристики ВДТ

5.1 Перечень характеристик

Наименование применяемых характеристик:

- вид установки (см. 4.2);

- число полюсов и токовых путей (см. 4.3);

- номинальный ток In (см. 5.2.2);

- номинальный отключающий дифференциальный ток IDn (см. 5.2.3);

- номинальный неотключающий дифференциальный ток IDn0 (см. 5.2.4);

- номинальное напряжение Un (см. 5.2.1);

- номинальная частота (см. 5.2.5);

- номинальная наибольшая включающая и отключающая способность Im (см. 5.2.6);

- номинальная наибольшая дифференциальная включающая и отключающая способность IDm (см. 5.2.7);

- временная задержка, если она применяется (см. 5.2.8);

- рабочие характеристики в случае дифференциальных токов с составляющими постоянного тока (см. 5.2.9);

- координация изоляции, включая воздушные зазоры и расстояния утечки (см. 5.2.10);

- степень защиты (см. ГОСТ 14254);

- номинальный условный ток короткого замыкания Inc (см. 5.4.2);

- номинальный условный дифференциальный ток короткого замыкания IDс (см. 5.4.3).

Для ВДТ, функционально зависящих от напряжения сети, - поведение ВДТ в случае исчезновения напряжения сети (см. 4.1.2).

5.2 Номинальные величины и другие характеристики

5.2.1 Номинальное напряжение

5.2.1.1 Номинальное рабочее напряжение (Uc)

Номинальное рабочее напряжение (далее - «номинальное напряжение») ВДТ есть значение напряжения, установленное изготовителем для заданных условий эксплуатации, при котором обеспечивается его работоспособность.

Примечание - Для одного и того же ВДТ может быть установлено несколько номинальных напряжений.

5.2.1.2 Номинальное напряжение изоляции (Ui)

Номинальное напряжение изоляции ВДТ есть установленное изготовителем значение напряжения, при котором определяется испытательное напряжение при испытании изоляции и расстояния утечки.

В отсутствии других указаний, значение номинального напряжения изоляции - это максимальное значение номинального напряжения ВДТ. Значение максимального номинального напряжения не должно превышать значения номинального напряжения изоляции.

5.2.2 Номинальный ток (In)

Указанный изготовителем ток, который ВДТ может проводить в продолжительном режиме работы.

5.2.3 Номинальный отключающий дифференциальный ток (IDn)

Значение отключающего дифференциального тока (см. 3.2.4), указанное для ВДТ изготовителем, при котором ВДТ должен срабатывать при заданных условиях.

Примечание - Для ВДТ, имеющих несколько уставок отключающего дифференциального тока, для данного определения используется уставка с наибольшим значением.

5.2.4 Номинальный неотключающий дифференциальный ток (IDn0)

Значение неотключающего дифференциального тока (см. 3.2.5), указанное для ВДТ изготовителем, при котором ВДТ не срабатывает при заданных условиях.

5.2.5 Номинальная частота

Номинальная частота ВДТ - это промышленная частота, на которую рассчитан ВДТ и которой соответствуют значения других характеристик.

Примечание - Один ВДТ может быть рассчитан на несколько значений номинальной частоты.

5.2.6 Номинальная наибольшая включающая и отключающая способность (Im)

Среднеквадратичное значение переменной составляющей ожидаемого тока (см. 3.4.4), указанное изготовителем, которое ВДТ может включать, проводить и отключать при заданных условиях.

Такими условиями являются указанные в 9.11.2.2.

5.2.7 Номинальная наибольшая дифференциальная включающая и отключающая способность (IDm)

Среднеквадратичное значение переменной составляющей ожидаемого тока (см. 3.2.3 и 3.4.4), указанное изготовителем, которое ВДТ может включать, проводить и отключать при заданных условиях.

Такими условиями являются указанные в 9.11.2.3.

5.2.8 ВДТ типа S

ВДТ с выдержкой времени (см. 3.3.11), который отвечает требованиям соответствующей части таблицы 1.

5.2.9 Рабочие характеристики в случае дифференциальных токов с составляющими постоянного тока

5.2.9.1 ВДТ типа АС

ВДТ, который обеспечивает срабатывание при синусоидальных переменных дифференциальных токах, либо прикладываемых скачком, либо медленно растущих.

5.2.9.2 ВДТ типа А

ВДТ, который обеспечивает срабатывание при синусоидальных дифференциальных токах и дифференциальных пульсирующих постоянных токах, прикладываемых либо скачком, либо медленно растущих.

5.2.10 Координация изоляции, включающая воздушные зазоры и расстояния утечки

Воздушные зазоры и расстояния утечки приведены в 8.1.3.

5.3 Стандартные и предпочтительные значения

5.3.1 Предпочтительные значения номинального напряжения (Un)

Предпочтительными значениями номинального напряжения являются следующие:

Таблица

ВДТ

Сеть, к которой подключен ВДТ

Номинальное напряжение Un, В

Однополюсный, с двумя токовыми путями

Двухпроводная, между фазой и заземленным центральным проводником

120

Однофазная, между фазой и нулевым рабочим проводником

230

Двухполюсный с двумя токовыми путями

Двухпроводная, между фазой и заземленным центральным проводником

120

Однофазная, между фазой и нулевым рабочим проводником

230

Однофазная, между фазами

400

Трехполюсный:

 

 

- с тремя токовыми путями

Трехфазная, трехпроводная

400

- с четырьмя токовыми путями

Трехфазная, четырехпроводная

400

Четырехполюсный

Трехфазная, четырехпроводная

400

Примечания

1 По ГОСТ 29322 стандартизованы значения напряжения 230 и 400 В, которые должны постепенно заменять значения 220 и 240, а также 380 и 415 В соответственно.

2 Указанные в настоящем стандарте значения 230 и 400 В могут быть приняты как 220 или 240 В и 380 или 415 В, соответственно.

5.3.2 Предпочтительные значения номинального тока (In)

Предпочтительными значениями номинального тока являются: 10; 13; 16; 20; 25; 32; 40; 63; 80; 100; 125 А.

5.3.3 Стандартные значения номинального отключающего дифференциального тока (IDn)

Стандартными значениями номинального отключающего дифференциального тока являются: 0,006; 0,01; 0,03; 0,1; 0,3; 0,5 А.

5.3.4 Стандартное значение номинального неотключающего дифференциального тока (IDn0)

Стандартное значение номинального неотключающего дифференциального тока равно 0,5IDn.

Примечание - Для дифференциальных пульсирующих постоянных токов неотключающие дифференциальные токи зависят от угла α задержки тока (см. 3.1.4).

5.3.5 Стандартное минимальное значение сверхтока неотключения в случае многофазной равномерной нагрузки многополюсного ВДТ (см. 3.4.2.1)

Стандартное минимальное значение тока неотключения в случае многофазной равномерной нагрузки многополюсного ВДТ равно 6In.

5.3.6 Стандартное минимальное значение сверхтока неотключения в случае однофазной нагрузки трех- или четырехполюсного ВДТ (см. 3.4.2.2)

Стандартное минимальное значение тока неотключения в случае однофазной нагрузки трех- или четырехполюсного ВДТ равно 6In.

5.3.7 Предпочтительные значения номинальной частоты

Предпочтительными значениями номинальной частоты являются 50 и/или 60 Гц.

Если используют другие значения, номинальная частота должна быть указана на ВДТ, и испытания должны проводиться при этой частоте.

5.3.8 Минимальное значение номинальной наибольшей включающей и отключающей способности (IDm)

Минимальное значение номинальной наибольшей включающей и отключающей способности IDm есть 10In или 500 А (выбирают большее значение).

Соответствующие коэффициенты мощности указаны в таблице 16.

5.3.9 Минимальное значение номинальной наибольшей дифференциальной включающей и отключающей способности (IDm)

Минимальное значение номинальной наибольшей дифференциальной включающей и отключающей способности IDm есть 10In или 500 А (выбирают большее значение).

Соответствующие коэффициенты мощности указаны в таблице 16.

5.3.10 Стандартные и предпочтительные значения номинального условного тока короткого замыкания (Inc)

5.3.10.1 Значения Inc до 10000 А включ.

Значения номинального условного тока короткого замыкания Inc стандартизованы и равны: 3000, 4500, 6000, 10000 А.

Соответствующие коэффициенты мощности указаны в таблице 16.

5.3.10.2 Значения Inc св. 10000 А

Для значений св. 10000 до 25000 А включ. предпочтительным значением является 20000 А.

Соответствующие коэффициенты мощности указаны в таблице 16.

Значения св. 25000 А не рассматривают в настоящем стандарте.

5.3.11 Стандартные значения номинального условного дифференциального тока короткого замыкания (IDc)

5.3.11.1 Значения IDc до 10000 А включ.

Значения номинального условного дифференциального тока короткого замыкания IDc стандартизованы и равны: 3000, 4500, 6000, 10000 А.

Значения 500, 1000 и 1500 А являются также стандартными для ВДТ, встраиваемых или предназначенных для компоновки со штепсельными розетками.

Соответствующие коэффициенты мощности указаны в таблице 16.

5.3.11.2 Значения IDc св. 10000 А

Для значений св. 10000 до 25000 А включ. предпочтительное значение равно 20000 А.

Соответствующие коэффициенты мощности указаны в таблице 16.

Значения св. 25000 А не рассматривают в настоящем стандарте.

5.3.12 Стандартные значения времени отключения и неотключения

Стандартные значения времени отключения (см. 3.3.9) и неотключения (см. 3.3.10) для ВДТ типа АС даны в таблице 1.

Таблица 1 - Стандартные значения времени отключения и неотключения для работы при наличии дифференциального тока

Ток в амперах

Тип

In

IDn

Стандартные значения времени отключения и неотключения, с, при дифференциальном токе

 

IDn

2IDn

5IDn*

500 А

Общий

Любое значение

Любое значение

0,30

0,150

0,04

0,04

Максимальное время отключения

S

Св. 25

Св. 0,030

0,50

0,200

0,15

0,15

0,13

0,006

0,05

0,04

Минимальное время неотключения

______

* Для ВДТ общего типа, встраиваемых или предназначенных только для компоновки со штепсельными розетками и вилками, и для ВДТ общего типа с IDn < 30 мА ток 0,25 А может быть использован как альтернатива 5IDn

Максимальное время отключения, установленное в таблице 1, распространяется также на ВДТ типа А, однако значения тока IDn, 2IDn, 5IDn, 0,25 и 500 А принимают для испытаний по 9.2.1.1 с коэффициентом 1,4 для ВДТ с IDn > 0,01 А и с коэффициентом 2 для ВДТ с IDn < 0,01 А.

5.4 Согласование с устройствами защиты от короткого замыкания (ПЗУ)

5.4.1 Общие положения

ВДТ должны быть защищены от короткого замыкания посредством автоматических выключателей или предохранителей согласно правилам установки, отвечающих требованиям соответствующих стандартов серии ГОСТ 50571.

Согласование между ВДТ и ПЗУ должно быть проверено при общих условиях 9.11.2.1 посредством испытаний, приведенных в 9.11.2.4, которые предназначены для проверки работоспособности защиты ВДТ от токов короткого замыкания, вплоть до условного тока короткого замыкания Inc и условного дифференциального тока короткого замыкания IDc.

Примечание - Изготовитель ВДТ может привести указания о подходящих для этих целей ПЗУ в технических условиях и своих каталогах.

5.4.2 Номинальный условный ток короткого замыкания (Inc)

Среднеквадратичное значение ожидаемого тока, указанное изготовителем, которое ВДТ, защищенное ПЗУ, может выдержать при заданных условиях без нарушения его работоспособности.

Эти условия приведены в 9.11.2.4а).

5.4.3 Номинальный условный дифференциальный ток короткого замыкания (IDc)

Значение дифференциального ожидаемого тока, указанное изготовителем, которое ВДТ, защищенное ПЗУ, может выдержать при заданных условиях без нарушения его работоспособности.

Эти условия приведены в 9.11.2.4с).

6 Маркировка и другая информация об изделии

Каждый ВДТ должен иметь стойкую маркировку с указанием всех или, при малых размерах, части следующих данных:

a) наименование изготовителя или торгового знака (марки);

b) обозначение типа, каталожного номера или номера серии;

c) номинальное (ые) напряжение (я);

d) номинальная частота, если ВДТ разработан для частоты, отличной от 50 и/или 60 Гц (см. 5.3.7);

e) номинальный ток;

f) номинальный отключающий дифференциальный ток (IDn);

g) уставки отключающего дифференциального тока для ВДТ с несколькими значениями отключающего дифференциального тока;

h) номинальная наибольшая включающая и отключающая коммутационная способность (IDm);

j) степень защиты (только в случае ее отличия от IP20);

k) рабочее положение (символ см. ГОСТ 30012.1), при необходимости;

l) номинальная наибольшая дифференциальная включающая и отключающая способность (IDm), если она отличается от номинальной наибольшей включающей и отключающей способности;

m) символ  для устройств типа S;

n) указание, что ВДТ функционально зависит от напряжения сети, если это имеет место;

o) обозначение органа управления контрольным устройством - буквой Т;

p) схема подключения;

r) рабочая характеристика при наличии дифференциальных токов с составляющими постоянного тока:

- ВДТ типа АС - символ ;

- ВДТ типа А - символ .

Маркировка должна быть нанесена либо непосредственно на ВДТ, либо на табличке (ах), прикрепленной (ных) к ВДТ, и должна быть расположена так, чтобы быть видимой после установки ВДТ.

Если габариты устройств не позволяют нанести все указанные выше данные, то по крайней мере маркировка по подпунктам е), f), о) должна быть видимой после монтажа. Информация по подпунктам а), b), c), k), l) и p) может быть нанесена на боковых или задней поверхностях устройства и быть видимой только до установки. Информация по пункту p) может быть нанесена на внутреннюю поверхность любой крышки, которую нужно снимать для присоединения питающих проводов.

Информация по остальным подпунктам должна быть приведена в эксплуатационной документации и каталогах изготовителя.

Изготовитель должен сообщить выдерживаемые ВДТ значения интеграла Джоуля I2t и пикового тока Ip. В случае, если они не определены, применяют минимальные значения, приведенные в таблице 15.

Изготовитель должен указать сведения об одном или более подходящих ПЗУ в своих каталогах или эксплуатационной документации, прикладываемых к каждому ВДТ.

Для ВДТ, классифицируемых согласно 4.1.2.1 и размыкающихся с задержкой в случае падения напряжения сети, изготовитель должен указать диапазон такой задержки.

Для ВДТ, отличных от управляемых нажимными кнопками, разомкнутое положение должно быть обозначено символом , а замкнутое положение - символом  (короткая вертикальная линия). Допускается использование дополнительных символов, приведенных в действующих нормативных электротехнических документах по стандартизации. Эти обозначения должны быть хорошо видны на установленном ВДТ.

Для ВДТ, управляемых двумя нажимными кнопками, кнопка, предназначенная только для отключения должна быть красного цвета и/или обозначаться символом .

Красный цвет не допускается использовать ни для какой другой кнопки ВДТ. Если кнопка служит для замыкания контактов и ясно распознается как таковая, то для указания замкнутого положения контактов достаточно ее утопленного положения.

Если одну и ту же кнопку используют и для замыкания, и для размыкания контактов, и она идентифицируется как таковая, то для указания замкнутого положения контактов достаточно, что кнопка остается в утопленном положении. С другой стороны, если кнопка не остается утопленной, следует предусмотреть дополнительные средства указания положения контактов.

Если необходимо различить входные и выходные выводы, они должны быть ясно обозначены (например, словами «линия» и «нагрузка», расположенными около соответствующих выводов, или стрелками, указывающими направление протекания тока).

Выводы, предназначенные исключительно для соединения цепи рабочего нулевого проводника, должны быть обозначены буквой N.

Выводы, предназначенные для нулевого защитного проводника, если он имеется, должны обозначаться символом  (по ГОСТ 29322).

Примечание - Символ , ранее применяемый, должен заменяться указанным выше символом.

Маркировка должна быть нестираемой, хорошо видимой и не должна наноситься на винтах, шайбах и других съемных частях.

Соответствие проверяют осмотром и испытанием по 9.3.

7 Номинальные условия эксплуатации и монтажа

7.1 Номинальные условия эксплуатации

ВДТ, удовлетворяющие требованиям настоящего стандарта, должны быть работоспособны при нормальных условиях, приведенных в таблице 2 с учетом требований приложения F.

Таблица 2 - Нормальные условия эксплуатации

Внешние воздействующие факторы

Нормальный диапазон эксплуатации

Контрольное значение

Допустимые отклонения

Температура окружающего воздуха (см. примечания 1 и 7)

От -5 до +40 °С (см. примечание 2)

20 °С

+5 °С

Высота над уровнем моря

Не более 2000 м

-

-

Относительная влажность, максимальное значение при 40 °С

50 % (см. примечание 3)

-

-

Внешние магнитные поля

Не более пятикратного значения магнитного поля Земли в любом направлении

Значение магнитного поля Земли

См. примечание 4

Рабочее положение

Указанные изготовителем

Указанное изготовителем

2° в любом направлении

Частота

Основные значения +5 % (см. примечание 6)

Номинальное значение

+2 %

Искажения синусоидальной формы кривой

Не более 5 %

Ноль

5 %

1 Максимальное значение среднесуточной температуры 35 °С.

2 Значения, выходящие за пределы указанных диапазонов, относящиеся к районам с более суровыми климатическими условиями, устанавливаются по согласованию между изготовителем и потребителем.

3 Более высокая относительная влажность допускается при меньших значениях температуры (например, 90 % при 20 °С).

4 При установке ВДТ вблизи сильного магнитного поля могут быть необходимы дополнительные требования.

5 Установка ВДТ должна обеспечить отсутствие деформаций корпуса, при которых может быть нарушено функционирование ВДТ.

6 Приведенные допуски применяют, если иное не указано в методах испытаний.

7 Предельные значения температур минус 20 и плюс 60 °С допустимы при хранении и транспортировании, и должны быть учтены при разработке ВДТ.

7.2 Условия монтажа

ВДТ должны быть смонтированы в соответствии с указаниями, приведенными в инструкциях изготовителя.

8 Требования к конструкции и функционированию

8.1 Механическая конструкция

8.1.1 Общие положения

Устройство для обнаружения дифференциального тока и расцепитель дифференциального тока должны быть размещены между входными и выходными выводами ВДТ.

Должна быть исключена возможность изменения функциональных характеристик ВДТ путем внешнего воздействия, за исключением специально предусмотренных средств изменения уставки отключающего дифференциального тока.

В случае наличия у ВДТ нескольких значений уставок отключающего дифференциального тока, в качестве номинального тока указывают наибольшую уставку.

8.1.2 Механизм

Подвижные контакты всех полюсов многополюсных ВДТ должны быть соединены между собой механически таким образом, чтобы все полюса, за исключением отключающего нулевой защитный проводник, если имеется, включались и отключались практически одновременно, независимо от того, осуществляется оперирование вручную или автоматически.

Полюс, отключающий нулевой защитный проводник (см. 3.3.15), должен отключаться позже и включаться раньше других полюсов.

ВДТ должен иметь механизм свободного расцепления.

Должна быть предусмотрена возможность включения и отключения ВДТ вручную. Для ВДТ втычного типа, не имеющих рукоятки управления, это требование не может быть удовлетворено возможным снятием ВДТ с основания вручную.

ВДТ должны быть сконструированы так, чтобы подвижные контакты могли находиться в состоянии покоя только в замкнутом (см. 3.3.12) или разомкнутом (см. 3.3.13) положении, даже тогда, когда органы управления находятся в промежуточном положении.

ВДТ должны быть оснащены указателями замкнутого и разомкнутого положений, легко различимыми спереди ВДТ, когда они закрыты своими крышками или панелями, если таковые имеются.

Если для указания положения контактов используют органы управления, они должны после перемещения автоматически занимать положение, соответствующее положению подвижных контактов. В этом случае органы управления должны иметь два четко различающихся положения покоя, соответствующих положению контактов, но при автоматическом отключении может быть предусмотрено третье отдельное положение органов управления, при котором ВДТ необходимо взвести вручную перед повторным включением.

Для ВДТ, функционально зависящего от напряжения сети, автоматически повторно включающегося (см. 4.1.2.1а) при восстановлении напряжения сети после его падения, органы управления должны оставаться в положении «ВКЛ.» во время автоматического отключения контактов; когда напряжение восстановится, контакты должны автоматически замкнуться, при этом органы управления не должны занимать положение «ОТКЛ.».

Примечание - Для ВДТ этого типа органы управления не могут использоваться для указания замкнутого и разомкнутого положений контактов.

Если для указания положения контактов используют световой указатель, он должен светиться при включенном положении ВДТ и быть яркого цвета. Световой индикатор не может быть единственным средством указания включенного положения.

Работоспособность ВДТ не должна зависеть от положения оболочек или крышек, или любой съемной части.

Крышку, опломбированную при сборке изготовителем, рассматривают как несъемную часть.

Если крышку используют в качестве направляющей для нажимных кнопок, снятие кнопок снаружи ВДТ должно быть невозможным.

Органы управления должны быть надежно закреплены на своих осях, и снятие их без помощи инструмента должно быть невозможным.

Допускается крепление органов управления непосредственно к крышкам. Если органы управления подвижны в вертикальном направлении «снизу - вверх», когда ВДТ установлены как при нормальном использовании, контакты должны замыкаться при движении органа управления вверх.

Примечание - В некоторых странах допускается замыкание контактов при движении органа управления сверху - вниз.

Соответствие вышеуказанным требованиям проверяют внешним осмотром, испытанием вручную и, для механизма свободного расцепления, испытанием по 9.15.

8.1.3 Воздушные зазоры и расстояния утечки (см. приложение В)

Значения воздушных зазоров и расстояний утечки для ВДТ, смонтированных как для нормальной эксплуатации, приведены в таблице 3.

Таблица 3 - Воздушные зазоры и расстояния утечки

Наименование

Значение, мм, не менее

Воздушные зазорыа)

 

1 Между находящимися под напряжением частями, разъединенными, когда ВДТ разомкнутb)

3

2 Между находящимися под напряжением частями различной полярностис), d)

3

3 Между находящимися под напряжением частями и:

 

- металлическими органами управления

3

- винтами и другими средствами крепления крышек, которые должны удаляться при монтаже ВДТ

3

- поверхностью, на которой монтируется основаниее)

6(3)

- винтами и другими средствами крепления ВДТе)

6(3)

- металлическими крышками или коробкамие)

6(3)

- прочими доступными металлическими частямиf)

3

- металлическими опорными рамами ВДТ утопленного монтажа

3

4 Между металлическими частями механизма и:

 

- доступными металлическими частямиf)

3

- винтами и другими средствами крепления ВДТ

3

- металлическими опорными рамами ВДТ утопленного монтажа

3

Расстояние утечкиа)

 

1 Между находящимися под напряжением частями, разъединенными, когда ВДТ разомкнутb)

3

2 Между находящимися под напряжением частями различной полярностис), d)

 

- для ВДТ с номинальным напряжением не выше 250 В

3

- для других ВДТ

4

3 Между токоведущими частями и:

 

- металлическими органами управления

3

- винтами и другими средствами крепления крышек, которые должны удаляться при монтаже ВДТ

3

- винтами и другими средствами крепления ВДТе)

6(3)

- доступными металлическими частямиf)

3

а) Воздушные зазоры и расстояния утечки вторичной цепи и между первичными обмотками трансформатора не рассматриваются.

b) Не применимо к вспомогательным контактам и контактам цепей управления.

с) Следует быть внимательным при определении необходимого пространства между находящимися под напряжением частями разной полярности ВДТ втычного типа, смонтированных близко друг от друга. Значения находятся на рассмотрении.

d) В некоторых странах в соответствии с национальной практикой применяют большие расстояния между выводами.

е) Если воздушные зазоры и расстояния утечки между находящимися под напряжением частями аппарата и металлическим экраном или поверхностью, на которой монтируют ВДТ, зависят только от его конструкции так, что не могут быть уменьшены, когда ВДТ устанавливают в самых неблагоприятных условиях (даже в металлической оболочке), достаточно значений, заключенных в скобки.

f) Включая металлическую фольгу, соприкасающуюся с поверхностями из изоляционного материала, доступными после монтажа, как при нормальной эксплуатации. Фольгу помещают в углы, пазы и т.п. с помощью прямого сочлененного испытательного пальца согласно 9.6.

8.1.4 Винты, токопроводящие части и соединения

8.1.4.1 Соединения, электрические или механические, должны выдерживать механические нагрузки, характерные для нормальных условий эксплуатации.

Винты, используемые для монтажа ВДТ в ходе установки, не должны быть самонарезающегося типа.

Примечание - К винтам (или гайкам), используемым для монтажа ВДТ, относят винты для крепления крышек и закрывающих панелей, но не для соединения привинчиваемых труб и для крепления оснований ВДТ.

Соответствие данному требованию проверяют внешним осмотром и испытанием по 9.4.

Примечание - Резьбовые соединения проверяют в ходе испытаний по 9.8, 9.11 - 9.14 и 9.23.

8.1.4.2 Для винтов, входящих в зацепление с резьбой в изоляционных материалах, которые используют для монтажа ВДТ при установке, должен быть обеспечен правильный ввод винта в резьбовое отверстие или гайку.

Соответствие проверяют внешним осмотром и проверкой вручную.

Примечание - Требование правильного ввода винта удовлетворяется если, например, исключить перекос винта на входе, используя в качестве направляющей для него на закрепляющей части фаску на внутренней резьбе, в которую он ввинчивается, или снять часть резьбы с заходной части винта.

8.1.4.3 Электрические соединения должны быть сконструированы так, чтобы контактное давление не передавалось через изоляционные материалы, кроме керамики, чистой слюды или других материалов с аналогичными характеристиками, за исключением случаев, когда металлические части достаточно упруги, чтобы компенсировать любые возможные усадки или деформации изоляционных материалов.

Соответствие проверяют осмотром.

Примечание - Пригодность материалов оценивают по стабильности размеров.

8.1.4.4 Токоведущие части, включая предназначенные для защитных проводников, если они имеются, должны выполняться из:

- меди;

- сплава, содержащего не менее 58 % меди для частей, работающих в холодных условиях, или не менее 50 % для других частей;

- другого металла или металла с соответствующим покрытием, не менее устойчивого к коррозии, чем медь, и с нехудшими механическими свойствами.

Примечание - Новые требования и испытания для определения сопротивления коррозии находятся на рассмотрении. Эти требования должны допускать применение других материалов с подходящими покрытиями.

Требования данного пункта не применяют к контактам, магнитным системам, нагревательным элементам, биметаллам, шунтам, частям электронных устройств, а также винтам, гайкам, шайбам, зажимным пластинам, аналогичным частям выводов и частям контрольного устройства.

8.1.5 Выводы для внешних проводников

8.1.5.1 Выводы для внешних проводников должны обеспечивать такое присоединение проводников, чтобы постоянно поддерживалось необходимое контактное давление.

В настоящем стандарте рассматривают только резьбовые выводы для медных внешних проводников.

Примечание - Требования к плоским быстросочленяемым и безвинтовым выводам, а также к выводам для присоединения алюминиевых проводников находятся на рассмотрении.

Допускается применение устройств, предназначенных для присоединения шин, при условии, что они не используются для присоединения кабелей.

Такие устройства могут быть втычного или болтового типа.

Выводы должны быть легко доступны в заданных условиях эксплуатации.

Проверку соответствия этим требованиям осуществляют осмотром и испытаниями по 9.5.

8.1.5.2 ВДТ должны быть оснащены выводами, допускающими присоединения медных проводников, имеющих номинальную площадь поперечного сечения как указано в таблице 4.

Примечание - Примеры возможных конструкций выводов приведены в приложении .

Соответствие проверяют путем осмотра, измерениями и поочередным вводом одного проводника с минимальной и одного с максимальной указанной площадью поперечного сечения.

Таблица 4 - Поперечное сечение медных проводников присоединяемых к резьбовым выводам*

Номинальный ток, А

Диапазон номинальных поперечных сечений присоединяемых проводников*, мм2

Жесткие (одно- и многопроволочные) провода

Гибкие провода

До 13 включ.

1,0 - 2,5

1,0 - 2,5

От  13  до   16   включ.

1,0 - 4,0

1,0 - 4,0

  »   16    »    25        »

1,5 - 6,0

1,5 - 6,0

  »   25    »    32        »

2,5 - 10,0

2,5 - 6,0

  »   32    »    50        »

4,0 - 16,0

4,0 - 10,0

  »   50    »    80        »

10,0 - 25,0

10,0 - 16,0

  »   80    »    100      »

16,0 - 35,0

16,0 - 25,0

  »   100 »    125      »

24,0 - 50,0

25,0 - 35,0

* Требуется, чтобы при номинальных токах до 50 А включ. выводы были рассчитаны на зажим как однопроволочных, так и жестких многопроволочных проводников.

В то же время допускается, чтобы выводы для проводников с поперечным сечением от 1 до 6 мм2 были рассчитаны на зажим только однопроволочных проводников.

Примечание - Площади поперечных сечений в системе AWG см. приложение 1D.

8.1.5.3 Средства для закрепления проводников в выводах не должны служить для закрепления каких-либо других элементов, хотя они могут удерживать выводы на месте или препятствовать их проворачиванию.

Проверку соответствия этим требованиям осуществляют осмотром и испытаниями по 9.5

8.1.5.4 Выводы для номинальных токов до 32 А включ. должны позволять присоединение проводников без специальной подготовки.

Соответствие проверяют осмотром.

Примечание - Термин «специальная подготовка» подразумевает пропаивание жилы проводника, использование кабельных наконечников, формовку петель и т.п., но не восстановление формы проводника перед вводом его в зажим или скручивание гибкого проводника для укрепления его конца.

8.1.5.5 Выводы должны иметь необходимую механическую прочность.

Винты и гайки для зажима проводников должны иметь метрическую резьбу ISO или другую резьбу, сопоставимую по шагу и механической прочности.

Соответствие проверяют осмотром и испытанием по 9.4 и 9.5.1.

8.1.5.6 Выводы должны быть сконструированы так, чтобы зажимать проводник без чрезмерных повреждений.

Соответствие проверяют осмотром и испытанием по 9.5.2.

8.1.5.7 Выводы должны быть сконструированы так, чтобы зажимать проводник надежно и между металлическими поверхностями.

Соответствие проверяют осмотром и испытаниями по 9.4 и 9.5.1.

8.1.5.8 Выводы должны быть сконструированы так, чтобы ни жесткий однопроволочный проводник, ни проволока многопроволочного проводника не могли выскользнуть во время затяжки винтов или гаек.

Это требование не применяют к шинным выводам.

Соответствие проверяют испытанием по 9.5.3.

8.1.5.9 Выводы должны быть закреплены и расположены таким образом, чтобы при затяжке или отпуске зажимных винтов или гаек крепления выводов не ослаблялись.

Это требование не означает, что зажимы должны быть сконструированы таким образом, чтобы не допускалось их вращение или перемещение, однако любое движение должно быть определенным образом ограничено, чтобы предотвратить несоответствие требованиям настоящего стандарта.

Применение заливочных компаундов и смол для предотвращения ослабления выводов считают достаточным при условии, что:

- заливочные компаунды и смолы не подвергаются нагрузкам при нормальной эксплуатации.

- эффективность заливочного компаунда и смолы не снижается при воздействии температур, достигаемых выводом при наиболее неблагоприятных условиях, указанных в настоящем стандарте.

Соответствие проверяют осмотром, измерениями и испытанием по 9.4.

8.1.5.10 Зажимные винты или гайки выводов, предназначенных для присоединения защитных проводников, должны быть надежно защищены от случайного ослабления, и не должно быть возможности освобождения их без помощи инструмента.

Соответствие проверяют испытанием вручную.

Конструкции выводов в целом, примеры которых приведены в приложении , достаточно упруги и удовлетворяют этому требованию. Для других конструкций могут потребоваться дополнительные меры, например применение соответствующей упругой части, которую невозможно было бы удалить случайно.

8.1.5.11 Резьба винтов и гаек, предназначенных для присоединения внешних проводников, должна входить в зацепление с резьбой, выполненной в металле. Применение самонарезающих винтов не допускается.

8.2 Защита от поражения электрическим током

ВДТ должны быть сконструированы таким образом чтобы, после монтажа подсоединения как для нормальной эксплуатации их части, находящиеся под напряжением, были недоступны для прикосновения.

Примечание - Термин «нормальная эксплуатация» подразумевает, что ВДТ устанавливают согласно инструкциям изготовителя.

Часть считают доступной для прикосновения, если ее можно коснуться стандартным испытательным пальцем (см. 9.6).

В ВДТ, кроме втычного исполнения, наружные части, за исключением винтов или других средств для крепления крышек и табличек, доступные после монтажа и присоединения ВДТ как для нормальной эксплуатации, должны либо изготавливаться из изоляционного материала, либо полностью покрываться изоляционным материалом, кроме случаев, когда части, находящиеся под напряжением, заключены во внутреннюю оболочку из изоляционного материала.

Покрытие изоляционным материалом должно быть закреплено таким образом, чтобы оно не могло быть легко нарушено при установке ВДТ. Изоляционное покрытие должно иметь необходимую толщину, механическую прочность и обеспечивать эффективную защиту на участках с острыми углами.

Вводные отверстия для кабелей или кабелепроводов должны выполняться либо из изоляционного материала, либо снабжаться втулками или другими аналогичными устройствами из изоляционного материала.

Такие устройства должны быть надежно закреплены и обладать достаточной механической прочностью.

В ВДТ втычного исполнения наружные части, за исключением винтов и других средств крепления крышек, доступные при нормальных условиях эксплуатации, должны выполняться из изоляционного материала.

Металлические органы управления должны быть изолированы от частей, находящихся под напряжением, а их проводящие части должны быть покрыты изоляционным материалом, кроме частей, обеспечивающих связь изолированных органов управления нескольких полюсов.

Металлические части механизма должны быть недоступными. Кроме того, они должны быть изолированными от доступных металлических частей, металлических опорных рам для оснований ВДТ утопленного монтажа, винтов и других средств крепления оснований к опорам и металлических плит, используемых в качестве опор.

Должна быть возможность легкой замены ВДТ втычного исполнения без касания частей, находящихся под напряжением.

Лак и эмаль не считают обеспечивающими необходимую изоляцию для защиты от поражения электрическим током.

Соответствие проверяют осмотром и испытанием по 9.6.

8.3 Электроизоляционные свойства

ВДТ должны обладать необходимыми электроизоляционными свойствами.

Цепи управления ВДТ, связанные с главной цепью, не должны повреждаться высоким напряжением постоянного тока, используемым при изоляционных измерениях, которые обычно проводят после установки ВДТ.

Соответствие проверяют испытаниями по 9.7 и 9.20.

8.4 Превышение температуры

8.4.1 Пределы превышения температуры

Превышение температуры частей ВДТ, приведенных в таблице 5, измеренные при условиях, определенных в 9.8.2, не должны превосходить предельных значений, установленных в данной таблице.

ВДТ не должны иметь повреждений, препятствующих выполнению его функций и безопасности эксплуатации.

Таблица 5 - Значения превышения температуры

Частиа), b)

Превышение температуры, К

Выводы для внешних соединенийс)

65

Наружные части, к которым приходится прикасаться во время ручного управления ВДТ, включая органы управления, выполненные из изоляционного материала, и металлические связи для соединения между собой изолированных органов управления нескольких полюсов

40

Наружные металлические части органов управления

25

Другие наружные части, включая поверхность АВДТ, непосредственно соприкасающуюся с монтажной поверхностью

60

а) Значения для контактов не устанавливают, так как конструкция большей части ВДТ не допускает прямого измерения их температуры без риска вызвать изменения или смещение деталей, способные повлиять на воспроизводимость результатов.

Испытание на надежность (см. 9.22) считают достаточным для проверки косвенным образом поведения контактов в отношении чрезмерного превышения температуры при эксплуатации.

b) Для других частей, кроме перечисленных в таблице, значения превышения температуры не указывают, но они не должны вызывать повреждений соседних частей из изоляционного материала, снижающих работоспособность ВДТ.

с) Для ВДТ втычного типа - выводы основания, на котором устанавливают ВДТ.

8.4.2 Температура окружающего воздуха

Предельные превышения температуры, приведенные в таблице 5, применимы, если температура окружающего воздуха находится в пределах значений по таблице 2.

8.5 Рабочие характеристики

Рабочие характеристики ВДТ должны соответствовать требованиям 9.9.

8.6 Механическая и коммутационная износостойкость

ВДТ должны быть способны выполнять установленное количество механических и электрических операций.

Соответствие проверяют испытанием по 9.10.

8.7 Работоспособность при токах короткого замыкания

ВДТ должны быть способными выдержать установленное количество циклов оперирования при коротком замыкании, в течение которых они не должны подвергать опасности оператора и вызывать перекрытие между находящимися под напряжением проводящими частями либо между этими частями и землей.

Соответствие проверяют испытаниями по 9.11.

8.8 Стойкость к механическим толчку и удару

ВДТ должны обладать соответствующими механическими характеристиками, чтобы противостоять механическим нагрузкам, возникающим при монтаже и эксплуатации.

Соответствие проверяют испытанием по 9.12.

8.9 Теплостойкость

ВДТ должны быть достаточно теплостойкими.

Соответствие проверяют испытанием по 9.13.

8.10 Стойкость к аномальному нагреву и огню

Наружные части ВДТ, выполненные из изоляционного материала, не должны быть предрасположены к воспламенению и распространению огня, если близлежащие токопроводящие части достигли высокой температуры из-за повреждения или перегрузки.

Сопротивление аномальному нагреву и огню других частей, выполненных из изоляционного материала, считают проверенным в ходе других испытаний по настоящему стандарту.

Соответствие проверяют осмотром и испытанием по 9.14.

8.11 Контрольное устройство

ВДТ должны быть снабжены контрольным устройством, имитирующим прохождение дифференциального тока, при его обнаружении, через устройство для обеспечения периодического контроля работоспособности ВДТ.

Примечание - Контрольное устройство предназначено для проверки функции расцепления, но не величин, при которых эта функция выполняется, в отношении номинального отключающего дифференциального тока и времени отключения.

Ампер-витки, создаваемые при работе контрольного устройства ВДТ, питаемого номинальным напряжением или наибольшим значением из ряда напряжений, на которые он рассчитан (при наличии), не должны превосходить 2, 5-кратного значения ампер-витков, создаваемых дифференциальным током, равным IDn, проходящим через один из полюсов ВДТ.

Если ВДТ имеют несколько уставок отключающего дифференциального тока (см. 4.4), то должна приниматься при расчете минимальная из уставок, на которые рассчитан ВДТ.

Контрольное устройство должно отвечать требованиям испытания по 9.16.

Защитный проводник установки не должен оказываться под напряжением при работе контрольного устройства.

Не должно быть возможности попадания напряжения в цепь, подключенную к выходным выводам ВДТ, при использовании контрольного устройства, когда ВДТ находится в разомкнутом состоянии и подключен как при нормальной эксплуатации.

Контрольное устройство не должно быть единственным средством для выполнения операции размыкания, и не предназначено для использования в этом качестве.

8.12 Требования к ВДТ, функционально зависящим от напряжения сети

ВДТ, функционально зависящие от напряжения сети, должны четко работать при любом значении напряжения сети 0,85 до 1,1 номинального напряжения, для чего многополюсные ВДТ должны иметь все токовые пути, подключенные к фазным проводам и нейтрали, если она имеется.

Соответствие проверяют испытанием по 9.17 при дополнительных условиях испытаний, указанных в 9.9.2.

Согласно их классификации ВДТ должны соответствовать требованиям таблицы 6.

Таблица 6 - Требования к ВДТ, функционально зависящим от напряжения сети

Классификация устройств согласно 4.1

Функционирование в случае падения напряжения сети

ВДТ, размыкающиеся автоматически в случае исчезновения напряжения сети (4.1.2.1)

Без выдержки времени

Размыкание без выдержки времени согласно условиям, установленным в 9.17.2а

С выдержкой времени

Размыкание с выдержкой времени согласно 9.17.2b.

Правильную работу при наличии выдержки времени проверяют по 9.17.3

ВДТ, которые не размыкаются автоматически в случае исчезновения напряжения сети (4.1.2.2)

Не размыкаются

8.13 Поведение ВДТ при наличии сверхтоков в главной цепи

ВДТ не должны срабатывать при определенных условиях наличия сверхтоков.

Соответствие проверяют испытаниями по 9.18.

8.14 Устойчивость ВДТ к нежелательному срабатыванию от импульсов напряжения

ВДТ должны адекватно выдерживать броски тока на землю, вызванные емкостной нагрузкой электроустановки. ВДТ с повышенной устойчивостью к нежелательному срабатыванию (типа S по таблице 1) должны дополнительно выдерживать броски тока на землю, вызванные коротким замыканием в установке.

Соответствие проверяют испытанием по 9.19.

8.15 Функционирование ВДТ в случае тока замыкания на землю, содержащего составляющую постоянного тока

ВДТ должны быть соответственно работоспособными при наличии токов замыкания на землю, содержащих составляющую постоянного тока согласно их классификации.

Соответствие проверяют испытаниям по 9.21.

8.16 Надежность

ВДТ должны надежно функционировать даже после длительной эксплуатации, с учетом старения их компонентов.

Соответствие проверяют испытаниями по 9.22 и 9.23.

9 Испытания

9.1 Общие положения

9.1.1 Характеристики ВДТ проверяют при проведении типовых испытаний.

Перечень типовых испытаний приведен в таблице 7.

Таблица 7 - Перечень типовых испытаний

Испытание

Пункт настоящего стандарта

1 Стойкость маркировки

9.3

2 Надежность винтов, токоведущих частей и соединений

9.4

3 Надежность выводов для внешних соединений

9.5

4 Защита от поражения электрическим током

9.6

5 Электроизоляционные свойства

9.7

6 Превышение температуры

9.8

7 Рабочие характеристики

9.9

8 Механическая и электрическая износостойкость

9.10

9 Поведение ВДТ в условиях короткого замыкания

9.11

10 Стойкость к механическим толчку и удару

9.12

11 Теплостойкость

9.13

12 Стойкость к аномальному нагреву и огню

9.14

13 Механизм свободного расцепления

9.15

14 Работа контрольного устройства при продельных значениях номинального напряжения

9.16

15 Поведение ВДТ в случае падения напряжения сети для ВДТ, классифицируемых согласно 4.1.2.1

9.17

16 Предельные значения тока несрабатывания в условиях токов короткого замыкания

9.18

17 Устойчивость к нежелательному срабатыванию от импульсов напряжения

9.19

18 Устойчивость изоляции к импульсному напряжению

9.20

19 Поведение ВДТ в случае тока пробоя на землю, содержащего составляющую постоянного тока

9.21

20 Надежность

9.22

21 Старение электронных компонентов

9.23

9.1.2 Для целей сертификации типовые испытания проводят циклами.

Примечание - Термин «сертификация» означает:

- либо декларацию изготовителя о соответствии,

- либо сертификацию третьей стороной, например независимым органом по сертификации.

Циклы испытаний и число используемых образцов приведены в приложении А.

Если не оговорено иное, каждому типовому испытанию (или циклу типовых испытаний) подвергают вновь изготовленные ВДТ при нормальном диапазоне и контрольных значениях внешних воздействующих факторах, приведенных в таблице 2).

9.1.3 Приемо-сдаточные испытания, выполняемые изготовителем для каждого ВДТ, приведены в приложении D

9.2 Условия испытаний

ВДТ устанавливают отдельно в соответствии с инструкциями изготовителя, на открытом воздухе при температуре окружающей среды от 20 до 25 °С, если не указано иное, в месте, защищенном от чрезмерного внешнего нагрева или охлаждения.

ВДТ, разработанные для установки в индивидуальных оболочках, испытывают в наименьшей из указанных изготовителем оболочке.

Примечание - Индивидуальная оболочка - это оболочка, предназначенная для размещения только одного прибора.

Если не указано иное, ВДТ подключают подходящим кабелем с площадью поперечного сечения, указанной в таблице 8, и крепят к фанерной плите толщиной около 20 мм, окрашенной матовой черной краской; метод крепления должен соответствовать предписаниям изготовителя в отношении монтажа ВДТ.

Таблица 8 - Испытательные медные проводники, соответствующие номинальным токам

Номинальный ток In, А

In < 6

6 < In ≤ 13

13 < In ≤ 20

20 < In ≤ 25

25 < In ≤ 32

32 < In ≤ 50

50 < In ≤ 63

63 < In ≤ 80

80 < In ≤ 100

100 < In ≤ 125

Площадь поперечного сечения кабеля S, мм2

1,0

1,5

2,5

4,0

6,0

10,0

16,0

25,0

35,0

50,0

Примечание - Для медных проводников системы AWG см. приложение 1D.

Если допускаемые отклонения не указаны, типовые испытания проводят при значениях не менее жестких, чем приведенные в настоящем стандарте. Если иное не указано, испытания проводят при номинальной частоте с допустимым отклонением ±5 %.

В течение испытаний не допускается разборка или обслуживание образцов.

Для испытаний по 9.8 - 9.10 и 9.23 ВДТ готовят следующим образом:

- соединения производят одножильными медными проводами в ПВХ изоляции;

- соединения размещают на открытом воздухе и на расстоянии не меньшем, чем расстояние между выводами;

- длина, с допуском +5 см, каждого временного соединения от вывода до вывода должна быть:

1 м для сечений до 10 мм2 включ.;

2 м для сечений св. 10 мм2.

Затягивающий крутящий момент, прикладываемый к винтам выводов, должен составлять 2/3 от значений, указанных в таблице 9.

9.3 Проверка стойкости маркировки

Проверку проводят вручную трением маркировки в течение 15 с ватой, смоченной водой, затем в течение 15 с - ватой, смоченной растворителем - алифатическим гексаном (с содержанием ароматических углеводородов не более 0,1 % по объему, каурибутаноловым числом 29, начальной температурой кипения ≈ 65 °С, конечной температурой кипения ≈ 69 °С и плотностью 0,68 г/см3).

Маркировку, выполненную тиснением, литьем или гравировкой, не подвергают данному испытанию.

После этого испытания маркировка должна быть легкоразличимой. Маркировка также должна оставаться легкоразличимой и после всех испытаний по настоящему стандарту.

Таблички не должны легко отделяться или скручиваться.

9.4 Проверка надежности винтов, токопроводящих частей и соединений

Соответствие требованиям 8.1.4 проверяют внешним осмотром, а также, для винтов и гаек, используемых для монтажа и соединения ВДТ, следующим испытанием.

Винты и гайки затягивают и отпускают:

- десять раз - при зацеплении винтов с резьбой в изоляционном материале;

- пять раз - для всех других случаев.

Винты и гайки, зацепляющиеся с резьбой в изоляционном материале, каждый раз вынимают полностью и вставляют заново.

Испытание проводят с использованием соответствующей испытательной отвертки или гаечного ключа с приложением крутящего момента согласно таблице 9.

Винты и гайки не следует затягивать рывками.

Испытания проводят только с жесткими проводниками, имеющими наибольшую площадь поперечного сечения из указанных в таблице 4, одно- или многопроволочными, выбирая наименее благоприятный из них. Проводник двигают каждый раз, когда винт или гайку освобождают.

Графу I применяют для винтов без головки, если винт в затянутом положении не выступает из гнезда, и к другим винтам, которые не могут быть затянуты отверткой с шириной лезвия большей, чем диаметр винта.

Графу II применяют для других винтов, которые затягивают при помощи отвертки.

Таблица 9 - Диаметры резьбы и прилагаемые крутящие моменты

Номинальный диаметр резьбы, мм

Крутящий момент, Н · м

I

II

III

До   2,8  включ.

0,20

0,4

0,4

Св.   2,8  до   3,0   включ.

0,25

0,5

0,5

  »     3,0    »    3,2         »

0,30

0,6

0,6

  »     3,2    »    3,6         »

0,40

0,8

0,8

  »     3,6    »    4,1         »

0,70

1,2

1,2

  »     4,1    »    4,7         »

0,80

1,8

1,8

  »     4,7    »    5,3         »

0,80

2,0

2,0

  »     5,3    »    6,0         »

1,20

2,5

3,0

  »     6,0    »    8,0         »

2,50

3,5

6,0

  »     8,0    »    10,0      »

-

4,0

10,0

Графу III применяют для винтов или гаек, затягиваемых другими способами, без отверток.

Если винт снабжен шестигранной головкой «под ключ» со шлицем для отвертки, а значения в графах II и III различны, то испытания проводят дважды: сначала прикладывают к шестигранной головке ключом момент, указанный в графе III, а затем к другому образцу прикладывают крутящий момент, указанный в графе II, при помощи отвертки. Если значения в графах II и III одинаковы, проводят испытание только с отверткой.

В течение испытаний винтовые соединения не должны ослабляться, и не должно быть повреждений, таких как: поломка винтов, повреждение шлицев, резьб, шайб и хомутиков, ухудшающих дальнейшую эксплуатацию ВДТ.

Кроме того, не должно быть повреждений крышек и оболочек.

9.5 Испытания надежности выводов для внешних соединений

Соответствие требованиям 8.1.5 проверяют осмотром, испытаниями по 9.4, для чего в зажим вывода помещают жесткий медный проводник наибольшего сечения из указанных в таблице 4 (при номинальной площади поперечного сечения более 6 мм2, используют жесткий многопроволочный провод, для других сечений - однопроволочный), и испытаниями по 9.5.1 - 9.5.3.

Испытания по 9.5.1 - 9.5.3 проводят при помощи соответствующей испытательной отвертки или гаечного ключа.

9.5.1 Выводы оснащают медными проводниками наименьшего и наибольшего сечений из указанных в таблице 4, одно- или многопроволочными, выбирая наименее благоприятные.

Проводник вставляют в вывод на минимальное предписанное расстояние или, в отсутствие предписаний, до появления конца провода с противоположной стороны зажима и в положении, наиболее благоприятном для выскальзывания однопроволочного проводника или проволоки (проволок) многопроволочного.

Затем зажимные винты затягивают моментом, равным 2/3 от указанного в соответствующей графе таблицы 9.

Затем каждый проводник подвергают вытягиванию с усилием, указанным в таблице 10.

Вытягивание производят без рывков, в течение 1 мин, в направлении оси канала вывода для проводника.

Таблица 10 - Усилия вытягивания

Сечение проводника, помещаемого в вывод, мм2

До 4

До 6

До 10

До 16

До 50

Вытягивающее усилие, Н

50

60

80

90

100

Во время испытаний проводник не должен заметно сдвигаться в выводе.

9.5.2 Выводы оснащают медными проводниками с наименьшим и наибольшим сечениям из указанных в таблице 4, одно- или многопроволочными, выбирая наименее благоприятный, и винты вывода затягивают моментом, равным 2/3 указанного в соответствующей графе таблице 9.

Затем винты вывода отпускают и часть проводника, которая может быть повреждена, осматривают.

Не должно быть чрезмерных повреждений или оборванных проволок.

Примечание - Проводники считают чрезмерно поврежденными, если имеются глубокие вмятины или надрезы.

В течение испытаний выводы не должны ослабляться, и не должно быть их повреждений, таких как поломки винтов, повреждение шлицев, резьб, шайб, хомутиков, могущих ухудшить дальнейшую эксплуатацию вывода.

9.5.3 Выводы оснащают жесткими многопроволочными проводниками из меди, имеющими конструкцию, указанную в таблице 11.

Таблица 11 - Размеры проводников

Номинальное сечение зажимаемых проводников, мм2

Многопроволочный проводник

Число проволок

Диаметр проволок, мм

От  1         до    2,5*

7

0,67

   »    1          »     4,0*

7

0,85

   »    1,5       »     6,0*

7

1,04

   »    2,5       »     10,0

7

1,35

   »    4,0       »     16,0

7

1,70

   »    10,0     »     25,0

7

2,14

   »    16,0     »     35,0

19

1,53

   »    25,0     »     50,0

На рассмотрении

* Если вывод предназначен для зажима только однопроволочных проводников (см. примечание к таблице 4), испытание не проводят.

Перед вводом в зажим проволокам проводника по возможности восстанавливают форму, нарушенную зачисткой.

Проводник вводят в зажим до упора в его дно или до выхода конца проводника с противоположной стороны зажима и в положении, наиболее благоприятном для выскальзывания проволоки (проволок).

Зажимные болты или гайки затем затягивают моментом, равным 2/3 от указанного в соответствующей графе таблицы 9.

После испытания ни одна проволока проводника не должна оказаться вне зажима.

9.6 Проверка защиты от поражения электрическим током

Это требование применимо к частям ВДТ, которые видимы оператору после монтажа ВДТ как для нормальной эксплуатации.

Испытание проводят с применением стандартного испытательного пальца (см. рисунок 3) на ВДТ, смонтированном как для нормальной эксплуатации (см. примечание к 8.2), оснащенном проводниками с наименьшим и наибольшим сечениями, которые могут быть присоединены к ВДТ.

Палец должен быть спроектирован так, чтобы каждая из его сочлененных секций могла поворачиваться под углом 90° по отношению к оси пальца, только в одном направлении.

Стандартный испытательный палец прикладывают в каждом возможном изогнутом положении, как у настоящего пальца. Для определения его контакта с частями, находящимися под напряжением, следует использовать электрический контактный индикатор.

Для индикации контакта рекомендуется использовать электрическую лампочку на напряжение не менее 40 В. Стандартный испытательный палец не должен касаться частей, находящихся под напряжением.

ВДТ с оболочками или крышками из термопластичных материалов, подвергают следующему дополнительному испытанию при температуре окружающего воздуха (35 ± 2) °С и такой же температуре ВДТ.

К ВДТ в течение 1 мин прикладывают с усилием 75 Н кончик прямого неизогнутого испытательного пальца таких же размеров, как и стандартный испытательный палец. Этот палец прикладывают во всех местах, где податливость изоляционного материала может влиять на целостность ВДТ, кроме пробивных диафрагм.

При испытании оболочки или крышки не должны деформироваться в такой степени, чтобы находящихся под напряжением частей можно было коснуться жестким испытательным пальцем.

ВДТ открытого исполнения, имеющие части, которые не предполагается защищать оболочками, и смонтированные как для нормальной эксплуатации, подвергают испытанию с металлической передней панелью.

9.7 Проверка электроизоляционных свойств

9.7.1 Влагостойкость

9.7.1.1 Подготовка ВДТ к испытанию

Части ВДТ, которые могут быть сняты без помощи инструмента, снимают и подвергают влажной обработке вместе с главной частью; подпружиненные крышки при обработке держат открытыми.

Кабельные вводы, при наличии, оставляют открытыми; если предусмотрены пробивные диафрагмы, одну из них вскрывают.

9.7.1.2 Условия испытания

Влажную обработку проводят в камере с относительной влажностью воздуха 91 - 95 %.

Температуру воздуха в камере, в которой находится образец, поддерживают с погрешностью +1 ºС на любом подходящем значении Т от 20 до 30 ºС.

Перед помещением в камеру температура образца должна быть от Т до (Т + 4) ºС.

9.7.1.3 Методика испытания

Образцы выдерживают в камере 48 ч.

Примечания

1 Относительную влажность 91 - 95 % можно обеспечить, поместив в камеру насыщенный водный раствор сульфата натрия (Na2SO4) или нитрата калия (KNO3), имеющий достаточно большую поверхность контакта с воздухом.

2 Для достижения предписанных условий в камере рекомендуется обеспечить постоянную циркуляцию воздуха и использовать камеру с теплоизоляцией.

9.7.1.4 Состояние ВДТ после испытания

После обработки по 9.7.1.3 образец должен быть исправным в соответствии с требованиями настоящего стандарта и выдерживать испытания по 9.7.2 и 9.7.3.

9.7.2 Сопротивление изоляции главной цепи

ВДТ обрабатывают, как указано в 9.7.1, а затем извлекают из камеры влаги. Спустя 30 - 60 мин после этой обработки измеряют сопротивление изоляции в течение 5 ºС при напряжении постоянного тока ≈ 500 В, в следующей последовательности:

a) при ВДТ в разомкнутом состоянии - между каждой парой выводов, электрически соединенных между собой, когда ВДТ замкнут, в каждом полюсе поочередно;

b) при замкнутом ВДТ - между каждым полюсом поочередно и остальными полюсами, соединенными вместе, при этом электронные компоненты, включенные между токовыми путями, на время испытания должны быть отключены;

c) при замкнутом ВДТ - между всеми полюсами, соединенными вместе и корпусом, включая металлическую фольгу, контактирующую с наружной поверхностью внутренней оболочки из изоляционного материала, при ее наличии;

d) между металлическими частями механизма и корпусом.

Примечание - Доступ к металлическим частям механизма может быть специально обеспечен для данного испытания;

e) для ВДТ в металлической оболочке, выложенной изнутри обшивкой из изоляционного материала, - между корпусом и металлической фольгой, соприкасающейся с внутренней поверхностью обшивки из изоляционного материала, включая втулки и другие аналогичные устройства.

Измерения а) - с) выполняют после подключения к корпусу всех вспомогательных цепей.

Термин «корпус» включает:

- все доступные металлические части и металлическую фольгу, соприкасающуюся с поверхностями из изоляционного материала, которые доступны после установки ВДТ как для нормальной эксплуатации;

- поверхность, на которой основание ВДТ устанавливают при монтаже, покрытую, при необходимости, металлической фольгой;

- винты и другие устройства для крепления основания ВДТ к опоре;

- винты для крепления крышек, которые должны сниматься во время монтажа ВДТ;

- металлические части органов управления, упомянутые в 8.2.

Если ВДТ снабжен выводом, предназначенным для присоединения защитных проводников, он должен быть присоединенным к корпусу.

Для измерений b) - е) металлическая фольга должна накладываться таким образом, чтобы можно было эффективно испытать заливочный компаунд, при его наличии.

Сопротивление изоляции должно быть не менее:

- 2 МОм для измерений а), b);

- 5 МОм для других измерений.

9.7.3 Электрическая прочность изоляции главной цепи

После испытания по 9.7.2 оговоренное испытательное напряжение прикладывают на 1 мин между частями, указанными в 9.7.2, при этом электронные компоненты, при их наличии, на время испытания отключают.

Испытательное напряжение должно иметь практически синусоидальную форму волны и частоту 45 и 65 Гц.

Источник испытательного напряжения должен быть в состоянии обеспечить ток короткого замыкания не менее 0,2 А.

Токовое защитное устройство трансформатора не должно срабатывать, если ток в выходной цепи менее 100 мА.

Значения испытательного напряжения должны быть следующие:

- 2000 В для испытаний по 9.7.2 а) - с);

- 2500 В для испытания 9.7.2 е).

Вначале прикладывают не более половины указанного напряжения, затем его повышают до полного значения за 5 с.

Во время испытания не допускаются перекрытия и пробои.

Тлеющие разряды, не вызывающие падения напряжения, во внимание не принимают.

9.7.4 Сопротивление изоляции и электрическая прочность изоляции вспомогательных цепей

a) Измерения сопротивления изоляции и испытание электрической прочности изоляции вспомогательных цепей проводят немедленно после измерения сопротивления изоляции и испытания электрической прочности изоляции главной цепи в условиях b), с), приведенных ниже.

Если в ВДТ имеются электронные компоненты, соединенные при нормальной работе с главной цепью, следует выполнить временные соединения на период испытания таким образом, чтобы в течение испытания между входными и выходными выводами компонентов напряжения не было бы.

b) Измерения сопротивления изоляции проводят:

- между соединенными между собой вспомогательными цепями и корпусом;

- между каждой частью вспомогательных цепей, которая может быть изолирована от других частей при нормальной эксплуатации, и всеми остальными частями, соединенными вместе, при напряжении около 500 В постоянного тока, затем это напряжение прикладывают на 1 мин.

Сопротивление изоляции должно быть не менее 2 МОм.

c) Практически синусоидальное напряжение номинальной частоты прикладывают в течение 1 мин между частями, перечисленными в b).

Значения прикладываемого напряжения указаны в таблице 12.

Таблица 12 - Испытательное напряжение вспомогательных цепей

В вольтах

Номинальное напряжение вспомогательной цепи (переменное или постоянное)

Испытательное напряжение

До 30    включ.

600

Св. 30  до    50   включ.

1000

  »   50    »     110      »

1500

  »   110 »     250      »

2000

  »   250 »     500      »

2500

В начале испытания испытательное напряжение не должно превышать половины указанного в таблице 12 значения. Затем напряжение постепенно увеличивают до полного значения за время не менее 5 с, но не более 20 с.

Во время испытания не должно быть перекрытий и пробоя.

Примечания

1 Тлеющие разряды, не вызывающие снижения напряжения, во внимание не принимают.

2 Для ВДТ, вспомогательная цепь которых не доступна для проверки требований, указанных в подпункте b), испытания должны быть проведены на образцах, специально подготовленных изготовителем, либо в соответствии с его инструкциями.

3 К вспомогательным цепям не относятся управляющие цепи ВДТ, функционально зависящих от напряжения сети.

4 Цепи управления, отличные от указанных в 9.7.5 и 9.7.6, подлежат таким же испытаниям, как и вспомогательные цепи.

9.7.5 Вторичные цепи трансформаторных датчиков

Цепи, включающие вторичные цепи трансформаторных датчиков, не подлежат какому-либо испытанию изоляции, при условии, что эти цепи не соединяют с доступными металлическими частями или защитным проводником, или частями, находящимися под напряжением.

9.7.6 Способность цепей управления, связанных с главной цепью, выдерживать действие высокого напряжения постоянного тока при испытаниях изоляции

Испытание проводят на ВДТ, установленном на металлической опоре, в замкнутом положении, со всеми управляющими цепями, соединенными как при нормальной эксплуатации.

Используют источник напряжения постоянного тока со следующими характеристиками:

- напряжение холостого хода ... 600+25 В

Примечание - Это значение временное.

- наибольшие пульсации ... 5 %

- ток короткого замыкания ... 12+2 мА.

Это испытательное напряжение прикладывают в течение 1 мин поочередно между каждым полюсом и другими полюсами, соединенными вместе и с корпусом.

После этой процедуры ВДТ должен быть в состоянии удовлетворительно выдержать испытания, указанные в 9.9.2.3.

9.8 Проверка превышения температуры

9.8.1 Температура окружающего воздуха должна быть измерена в течение последней четверти периода испытания при помощи не менее двух термометров или термопар, симметрично расположенных относительно ВДТ, приблизительно на половине его высоты и на расстоянии около 1 м от ВДТ.

Термометры и термопары должны быть защищены от сквозняков и теплового излучения.

Примечание - Следует принять меры для избежания ошибок, вызванных неожиданными изменениями температуры.

9.8.2 Методика испытания

Ток, равный In, пропускают одновременно через все полюса ВДТ в течение времени, достаточного для того, чтобы превышение температуры достигло установившегося значения. Практически это условие достигается, когда изменение превышения температуры не превосходит 1 К за 1 ч.

Для четырехполюсных ВДТ испытание вначале проводят пропусканием заданного тока только через три фазных полюса.

Затем испытание повторяют, пропуская ток через полюс, предназначенный для присоединения нейтрали, и соседний полюс.

В течение этих испытаний значения превышения температуры не должны превосходить величин, указанных в таблице 5.

9.8.3 Измерение превышения температуры частей

Температуру различных частей, приведенную в таблице 5, измеряют при помощи тонкопроволочных термопар или эквивалентными приборами, установленными по возможности как можно ближе к наиболее горячим точкам.

Следует обеспечить хорошую теплопроводность между термопарой и поверхностью испытуемой части.

9.8.4 Превышение температуры частей

Превышение температуры части есть разница между температурой этой части, измеренной в соответствии с 9.8.3, и температурой окружающего воздуха, измеренной в соответствии с 9.8.1.

9.9 Проверка функциональных характеристик

9.9.1 Испытательная цепь

ВДТ устанавливают как для нормальной эксплуатации.

Испытательная цепь должна обладать пренебрежимо малой индуктивностью и соответствовать рисунку 4а.

Приборы для измерения дифференциального тока должны иметь класс точности не менее 0,5 и показывать (или давать возможность определять) истинное действующее значение.

Приборы для измерения времени должны иметь относительную погрешность не более 10 % от измеряемого значения.

9.9.2 Испытания без нагрузки при дифференциальном синусоидальном переменном токе при контрольной температуре (20 ± 2) ºС

ВДТ должен выдержать испытания согласно 9.9.2.1 - 9.9.2.3 (каждый включает по пять измерений), выполненные только на одном полюсе, выбранном случайным образом.

Для ВДТ, имеющих несколько уставок дифференциального тока срабатывания, испытания проводят на каждой уставке.

9.9.2.1 Проверка правильной работы в случае постепенного роста дифференциального тока

При замкнутых ВДТ и испытательных выключателях S1 и S2 дифференциальный ток плавно увеличивают, начиная от значения не выше 0,2IDn, стараясь достигнуть значения IDn в течение не более 30 с; ток расцепления измеряют каждый раз.

Все пять измеренных значений должны находиться от In0 до IDn.

9.9.2.2 Проверка правильной работы при включении на дифференциальный ток

При откалиброванной на номинальное значение отключающего дифференциального тока IDn испытательной цепи и включенных испытательных выключателях S1 и S2 ВДТ включают на цепь, настолько близкую к характеристикам рабочей цепи, насколько это возможно. Время выключения измеряют пять раз. Не должно быть значений, превосходящих предельное значение, указанное в таблице 1 для IDn, соответственно типу ВДТ.

Для ВДТ, функционально зависящих от напряжения сети, классифицируемых согласно 4.1.2.2а), управляющая цепь которых питается от линейной стороны главной цепи, эта проверка не учитывает время, необходимое для активизации ВДТ. В этом случае, в силу вышесказанного, проверку выполняют подачей дифференциального тока замыканием выключателя S1, при ранее замкнутых ВДТ и S2.

9.9.2.3 Проверка правильной работы при внезапном появлении дифференциального тока

a) Все типы

Испытательную цепь последовательно калибруют на каждое из значений дифференциального тока, указанных в таблице 1, и при включенных S1 и ВДТ дифференциальный ток подают внезапно замыканием выключателя S2.

ВДТ должны расцепляться при каждом испытании.

Для каждого значения дифференциального тока проводят по пять измерений времени срабатывания. Не должно быть ни одного значения, превышающего соответствующую указанную предельную величину.

b) Дополнительные испытания для типa S

Испытательную цепь последовательно калибруют на каждое из значений дифференциального тока, указанных в таблице 1, и при включенных S1 и ВДТ дифференциальный ток подают внезапно при замыкании выключателя S2 на время, равное соответствующему минимальному времени несрабатывания с погрешностью 5 %.

Между предыдущей и последующей подачей дифференциального тока должен быть интервал не менее 1 мин.

ВДТ не должен расцепляться ни при одном испытании.

Затем испытание повторяют, исключая значения испытательного тока 500 А, при температуре окружающего воздуха от минус 5 до плюс 40 ºС.

ВДТ не должен расцепляться ни при одном испытании.

9.9.3 Проверка правильной работы ВДТ под нагрузкой при контрольной температуре

Испытания по 9.9.2.2 и 9.9.2.3 повторяют при ВДТ, нагруженном номинальным током как при нормальной эксплуатации, в течение времени, достаточного для достижения установившегося состояния.

На практике это состояние достигается, когда изменение превышения температуры не превосходит 1 К за 1 ч.

Для ВДТ, имеющих несколько значений уставки дифференциального тока срабатывания, испытания проводят для каждого значения.

9.9.4 Испытания при предельных значениях температуры

ВДТ должны выдерживать испытания, указанные в 9.9.2.3, при следующих условиях, последовательно одно за другим:

a) окружающая температура минус 5 ºС, без нагрузки;

b) окружающая температура 40 ºС, ВДТ должен быть предварительно нагружен номинальным током при любом подходящем напряжении до достижения установившегося теплового состояния.

Практически это состояние достигается, когда изменение превышения температуры не превосходит 1 К за 1 ч.

Для ВДТ с несколькими значениями уставок дифференциального тока срабатывания испытания проводят для каждого значения уставки.

Примечание - Предварительный нагрев может производиться на пониженном напряжении, но вспомогательные цепи должны быть подключены на их нормальное рабочее напряжение (особенно для компонентов, зависящих от напряжения сети).

9.9.5 Специфические условия испытаний для ВДТ, функционально зависящих от напряжения сети

Для ВДТ, функционально зависящих от напряжения сети, каждое испытание проводят для каждого из следующих значений напряжения сети, приложенного к соответствующим выводам: 1,1 и 0,85 номинального напряжения сети.

9.10 Проверка механической и коммутационной износостойкости

9.10.1 Общие условия испытаний

ВДТ устанавливают на металлическом основании.

Испытание проводят при номинальном рабочем напряжении и токе, равном номинальному, что обеспечивается с помощью резисторов и реакторов, включенных последовательно и присоединенных к выходным выводам.

Если используют реакторы без сердечников, то параллельно каждому из них подсоединяют резистор, отводящий на себя около 0,6 % тока, проходящего через реактор.

Если используют реакторы с железным сердечником, потери в сердечниках не должны ощутимо влиять на восстанавливающееся напряжение.

Ток должен иметь практически синусоидальную форму волны, а коэффициент мощности должен иметь значение от 0,85 до 0,9.

ВДТ подсоединяют к цепи проводниками с параметрами, указанными в таблице 8.

9.10.2 Методика испытания

ВДТ с током IDn > 0,010 А должны совершить 2000 циклов оперирования. Каждый цикл оперирования состоит из замыкания и последующего размыкания.

ВДТ следует оперировать как при нормальной эксплуатации.

Операции размыкания должны проводиться в следующем порядке:

- для первых 1000 циклов - с использованием ручных средств оперирования;

- для следующих 500 циклов - с использованием контрольного устройства;

- для последних 500 циклов - путем пропускания через один полюс отключающего дифференциального тока IDn.

Для ВДТ, имеющих ток IDn < 0,010 А, число операций отключения должно быть 500-750-750 соответственно приведенным выше циклам испытаний.

Дополнительно ВДТ подвергают без нагрузки с использованием ручных средств оперирования:

- 2000 циклам для ВДТ, имеющих In25 А;

- 1000 циклам для ВДТ, имеющих In > 25 А.

Частота оперирования должна быть:

- четыре цикла в минуту для ВДТ с In ≤ 25 А, с длительностью периода «Вкл.» от 1,5 до 2 с.

- два цикла в минуту для ВДТ с In > 25 А, с длительностью периода «Вкл.» от 1,5 до 2 с.

Примечание - Для ВДТ, имеющих несколько значений дифференциального тока срабатывания, испытания проводят для наименьшего значения.

9.10.3 Состояние ВДТ после испытания

После испытания по 9.10.2 ВДТ не должен иметь:

- чрезмерного износа;

- повреждений оболочки, дающих возможность проникновения стандартного испытательного пальца к частям, находящимся под напряжением;

- ослабления электрических и механических соединений;

- вытекания заливочного компаунда, если такой имеется.

При условиях испытаний по 9.9.2.3а ВДТ должен отключаться при испытательном токе 1,25IDn.

Проводят только одно испытание без измерения времени отключения.

Затем ВДТ должен удовлетворительно выдержать испытание электрической прочности по 9.7.3 при напряжении, равном его номинальному напряжению, но не менее 900 В, в течение 1 мин, без предварительной влажной обработки.

9.11 Проверка поведения ВДТ в условиях короткого замыкания

9.11.1 Перечень испытаний на короткое замыкание

Различные испытания для проверки поведения ВДТ в условиях короткого замыкания приведены в таблице 13.

Таблица 13  - Испытания, проводимые для проверки поведения ВДТ в условиях короткого замыкания

Проверка

Пункт настоящего стандарта

Наибольшая номинальная включающая и отключающая способность Im

9.11.2.2

Наибольшая номинальная дифференциальная включающая и отключающая способность IDm

9.11.2.3

Координация номинального условного тока короткого замыкания Inc

9.11.2.4а

Координация наибольшей номинальной включающей и отключающей способности Im

9.11.2.4b

Координация номинального условного дифференциального тока короткого замыкания IDc

9.11.2.4с

9.11.2 Испытания на короткое замыкание

9.11.2.1 Общие условия испытания

Условия по 9.11.2 применимы ко всем испытаниям, предназначенным для проверки поведения ВДТ в условиях короткого замыкания.

Примечание - Для ВДТ, имеющих несколько уставок, испытания проводят при наименьшей уставке.

а) Испытательная цепь

На рисунках 5 - 9, соответственно, приведены схемы цепей, предназначенных для испытаний, относящихся к:

- однополюсному ВДТ с двумя токовыми путями;

- двухполюсному ВДТ;

- трехполюсному ВДТ;

- трехполюсному ВДТ с четырьмя токовыми путями;

- четырехполюсному ВДТ.

Источник S питает цепь, включающую резисторы R, реакторы L, ПЗУ (последовательное защитное устройство, если имеется, см. 3.4.8), испытуемый ВДТ (D) и дополнительный резистор R2 и/или R3, что конкретно применимо.

Величины резисторов и реакторов должны быть регулируемые для обеспечения заданных условий испытания.

Реакторы L должны быть без сердечника. Они должны всегда соединяться последовательно с резисторами R, а их величина (индуктивность) должна достигаться последовательным соединением отдельных реакторов. Параллельное соединение реакторов допустимо в случае, если их постоянные времени практически равны.

Поскольку переходные характеристики восстанавливающегося напряжения испытательных цепей, содержащих большие воздушные реакторы, не соответствуют нормальным условиям эксплуатации, воздушный реактор каждой фазы должен быть зашунтирован резистором, отводящим около 0,6 % тока, протекающего через реактор, если иное не оговорено между изготовителем и пользователем.

В каждой испытательной цепи резисторы R и реакторы L включают между источником питания S и ВДТ.

ПЗУ или эквивалентное ему сопротивление (см. 9.11.2.2а и 9.11.2.3а) включают между резисторами R и ВДТ.

Дополнительные резисторы R3, если используются, должны быть включены на нагрузочной стороне ВДТ.

Для испытаний по 9.11.2.4а,с ВДТ должны присоединяться проводниками, имеющими длину по 0,75 м на полюс и наибольшее сечение, соответствующее номинальному току, согласно таблице 4.

Примечание - Рекомендуется, чтобы 0,5 м провода подсоединялись к входной, а 0,25 м - к нагрузочной стороне испытуемого ВДТ.

Схема испытательной цепи должна быть приведена в протоколе испытаний. Она должна быть выполнена согласно соответствующему рисунку.

Должна быть одна и только одна точка испытательной цепи, непосредственно заземленная; это может быть короткозамыкающая перемычка испытательной цепи или нейтральная точка источника питания, либо другая оговоренная точка.

Метод заземления должен быть указан в протоколе испытания.

Резистор R2, соответственно калиброванный, используют для получения одного из следующих токов:

- дифференциального тока 10IDn как в случае срабатывания ВДТ в пределах соответствующего минимального времени срабатывания, указанного в таблице 1;

- номинальной дифференциальной наибольшей включающей и отключающей способности IDm;

- номинального условного дифференциального тока короткого замыкания IDc.

S1 является вспомогательным выключателем.

ПЗУ, если имеется, может быть автоматическим выключателем или плавким предохранителем, имеющим интеграл Джоуля I2t и пиковый ток Ip, не превосходящий способности выдерживать I2t и пиковый ток Ip, установленные для ВДТ изготовителем.

Для проверки минимальных значений I2t и Ip, выдерживаемых ВДТ для достижения воспроизводимости результатов испытаний, ПЗУ, если имеется, должен быть выполнен с серебряной проволокой, используя испытательное устройство, показанное на рисунке 10.

Серебряная проволока должна быть из серебра как минимум 99,9 % чистоты и иметь диаметр, указанный в таблице 14, в соответствии с номинальным током In и токами короткого замыкания Inc и IDc.

Таблица 14  - Диаметр серебряной проволоки в функции от номинального тока и токов короткого замыкания

Ток в амперах

Inc и IDс

Диаметр* серебряной проволоки, мм, при токе

In < 16

16 < In < 32

32 < In < 40

40 < In < 63

63 < In < 80

80< In < 125

500

0,30

0,35

-

-

-

-

1000

0,50

1500

0,35

0,65

0,85

3000

0,60

0,80

0,95

1,15

4500

0,90

6000

0,75

1,00

* Значение диаметра серебряной проволоки по существу основано на рассмотрении величины пикового тока Ip (см. таблицу 15).

Соответствующие приближенные значения пропускаемой энергии I2t и пикового тока даны в таблице 15 и согласованно рассматриваются как минимальные справочные величины.

Таблица 15 - Минимальные значения I2t и Ip

In, Inc и IDc в амперах

Inc и IDc

Ip, кА; I2t, кА2 · с

In < 16

16 < In < 32

32 < In < 40

40 < In < 63

63 < In < 80

80 < In < 125

500

Ip

0,45

0,57

-

-

-

-

 

I2t

0,40

0,68

-

-

-

-

1000

Ip

0,65

1,18

-

-

-

-

 

I2t

0,50

2,70

-

-

-

-

1500

Ip

1,02

1,50

1,90

2,10

-

-

 

I2t

1,00

4,10

9,75

22,00

-

-

3000

Ip

1,10

1,85

2,35

3,30

3,7

3,95

 

I2t

1,20

4,50

8,70

22,50

36,0

72,50

4500

Ip

1,15

2,05

2,70

3,90

4,8

5,60

 

I2t

1,45

5,00

9,70

28,00

40,0

82,00

6000

Ip

1,30

2,30

3,00

4,05

5,1

5,80

 

I2t

1,60

6,00

11,50

25,00

47,0

65,00

Примечания

1 По требованию изготовителя серебряная проволока большего диаметра может быть использована для проверки координации значений I2t и Iр выше минимальных.

2 Для промежуточных значений испытательных токов короткого замыкания диаметр серебряной проволоки выбирают соответствующим следующему более высокому току в таблице.

3 Если другой защитный аппарат дает такие же результаты, как соответствующая серебряная проволока в данном испытательном устройстве, этот аппарат может использоваться для испытаний, например плавкий предохранитель может использоваться по согласию изготовителя, если соответствующие значения I2t и Iр близки, но ни в коем случае не менее чем для серебряной проволоки, используемой с испытательным устройством. В сомнительных случаях испытание повторяют с испытательным устройством.

Серебряная проволока должна быть помещена в надлежащем месте испытательного устройства и натянута горизонтально.

Серебряная проволока должна заменяться после каждого испытания.

Проверка минимальных значений I2t и Ip не является необходимой, если изготовителем установлены для ВДТ значения более высокие, чем минимальные. В этом случае проверке подлежат установленные величины.

Для координации с автоматическими выключателями испытания при таком сочетании необходимы.

Все проводящие части ВДТ, заземленные при нормальной эксплуатации, включая металлическое основание, на котором монтируется ВДТ, или любую металлическую оболочку (см. 9.11.2.1f), должны быть соединены с нейтральной точкой источника питания или с фактически безындуктивной искусственной нейтралью, допускающей ожидаемый ток пробоя как минимум 100 А.

Это соединение должно включать в себя медную проволоку F диаметром 0,1 мм и длиной не менее 50 мм для обнаружения тока пробоя и, если необходимо, резистор R1, ограничивающий значение ожидаемого тока пробоя на уровне ≈ 100 А.

Датчики тока О1 подключают к нагрузочной стороне ВДТ.

Датчики напряжения O2 подключают:

- между выводами полюса для однополюсных ВДТ;

- между выводами на стороне питания для многополюсных ВДТ.

Если иное не оговорено протоколом испытания, сопротивление измерительной цепи должно быть как минимум 100 Ом на 1 В восстанавливающегося напряжения промышленной частоты.

ВДТ, функционально зависящие от напряжения сети, запитывают по линейной стороне на номинальное напряжение (или, если уместно, на напряжение, имеющее наименьшее значение из его ряда номинальных напряжений).

В случае ВДТ, соответствующих 4.1.2.1, для обеспечения возможности выполнения операции отключения необходимо либо поместить аппарат Т, создающий короткое замыкание на нагрузочной стороне ВДТ, либо ввести дополнительный короткозамыкающий аппарат в это место.

b) Допуски на испытательные величины

Все испытания, относящиеся к проверке номинальной наибольшей включающей и отключающей способности и правильной координации между ВДТ и ПЗУ, должны быть выполнены при значениях влияющих величин и факторов, установленных изготовителем, в соответствии с таблицей 1 настоящего стандарта, если не указано иное.

Испытания признают имеющими силу, если величины, указанные в протоколе испытания, находятся в пределах следующих допусков для установленных значений:

- ток ... +5 %

- частота ... согласно 9.2

- коэффициент мощности ... - 0,05

- напряжение (включая восстанавливающее) ... ±5 %

c) Коэффициент мощности испытательной цепи

Коэффициент мощности каждой фазы испытательной цепи должен быть определен признанным методом, который должен быть указан в протоколе испытания.

Два примера таких методов даны в приложении .

Коэффициент мощности многофазной цепи рассматривают как среднее значение коэффициентов мощности каждой фазы.

Коэффициенты мощности должны соответствовать таблице 16.

Таблица 16 - Коэффициенты мощности для испытаний на короткое замыкание

Ток короткого замыкания Ic, А

Коэффициент мощности

Ic 500

0,95 - 1,00

500 < Ic 1500

0,93 - 0,98

1500 < Ic 3000

0,85 - 0,90

3000 < Ic 4500

0,75 - 0,80

4500 < Ic 6000

0,65 - 0,70

6000 < Ic 10000

0,45 - 0,50

10000 < Ic 25000

0,20 - 0,25

d) Восстанавливающееся напряжение промышленной частоты

Значение восстанавливающегося напряжения промышленной частоты должно быть равно величине, соответствующей 105 % номинального напряжения испытуемого ВДТ.

Примечание - Значение 105 % номинального напряжения предполагается перекрывающим влияние колебаний напряжения сети при нормальных условиях эксплуатации. Верхний предел значения может быть повышен по согласованию с изготовителем.

После каждого погасания дуги восстанавливающееся напряжение промышленной частоты должно поддерживаться не менее 0,1 с.

e) Калибровка испытательной цепи

ВДТ и ПЗУ, если имеется, заменяют временными перемычками G1, имеющими пренебрежимо малое по сравнению с испытательной цепью сопротивление.

Для испытания по 9.11.2.4а при замкнутых накоротко нагрузочных выводах ВДТ при помощи перемычек G2 с пренебрежимо малым сопротивлением резисторы R и реакторы L должны быть отрегулированы таким образом, чтобы достигнуть при испытательном напряжении значения тока, равного номинальному условному току короткого замыкания с предписанным коэффициентом мощности; испытательная цепь запитывается одновременно во всех полюсах, а кривая тока записывается датчиком тока 01.

Кроме того, для испытаний по 9.11.2.2, 9.11.2.3, 9.11.2.4b,с используют, если необходимо, дополнительные резисторы R2 и/или R3, чтобы получить требуемые значения испытательного тока (Im, IDm и IDс соответственно).

f) Условия испытания ВДТ

ВДТ должны испытываться на открытом воздухе согласно f1) данного подпункта, кроме случаев, если они разработаны для использования только в оболочках, указанных изготовителем, или предназначены для использования только в индивидуальных оболочках; в этих случаях они должны быть испытаны согласно f2) данного подпункта или, по взаимному соглашению с изготовителем, согласно f1) данного подпункта.

Примечание - Индивидуальная оболочка - это оболочка, разработанная для размещения только одного устройства.

ВДТ должен управляться с максимально близкой имитацией нормальной эксплуатации.

f1) Испытание на открытом воздухе

Испытуемый ВДТ монтируют как показано на рисунке С.1 приложения С.

Полиэтиленовый лист и барьер из изоляционного материала, указанные в приложении С, устанавливают согласно рисунку С.1 только для операции размыкания (О).

Сетка (и), указанная (ые) в приложении С, должна (ы) быть установлена (ы) так, чтобы основная масса выделяющихся ионизированных газов проходила через нее (них). Сетка (и) должна (ы) быть расположена (ы) в самом неблагоприятном месте (ах).

Примечание 1 - Если расположение отверстий для выхлопа газов не ясно или они отсутствуют, надлежащая информация должна быть представлена изготовителем.

Цепь сетки (ок) должна быть соединена (ы) с точками В и С (см. рисунок С.3), как указано в схемах испытательных цепей на рисунках 5 - 9. Резистор R должен иметь сопротивление 1,5 Ом. Медная проволока плавкого предохранителя (см. рисунок С.3) должна иметь длину 50 мм и диаметр 0,12 мм для ВДТ, имеющих номинальное напряжение 230 В, и 0,16 мм - для АВДТ с номинальным напряжением 400 В.

Примечание 2 - Данные для других напряжений рассматривают.

Для испытательных токов до 1500 А включ. расстояние «а» должно быть 35 мм.

Для более высоких значений токов короткого замыкания, вплоть до Inc, расстояние «а» может быть увеличено и/или могут быть установлены дополнительные барьеры, или изоляционные средства, как будет установлено изготовителем, и в этом случае увеличение должно выбираться из ряда 40, 45, 50, 55... мм по согласованию с изготовителем.

f2) Испытание в оболочках

Сетку и барьер из изоляционного материала, показанные на рисунке С.1, исключают.

Испытание должно выполняться с ВДТ, помещенным в оболочку, имеющую наиболее неблагоприятную конфигурацию, при наиболее неблагоприятных условиях.

Примечание - Это означает, что если другие ВДТ (или другие устройства) нормально устанавливают в направлении (ях), в которых должна быть установлена сетка (и), то они должны быть установлены там. ВДТ (или другие устройства) должны быть запитаны, как при нормальной эксплуатации, но через F' и R' как определено в f1) этого подпункта, и соединены, как показано на рисунках 5 - 9.

Согласно инструкциям изготовителя могут потребоваться барьеры или другие средства, или соответствующие зазоры для предотвращения ионизации газов из-за повреждения установки.

Полиэтиленовый лист, описанный в приложении С, размещают, как показано на рисунке С.1, на расстоянии 10 мм от органов управления только для операции «О».

g) Циклы операций

Процедура испытаний представляет собой циклы операций.

Следующие буквы используют для обозначения циклов операций:

О - операция размыкания, при созданном предварительно в цепи коротком замыкании выключателем Т с ВДТ и ПЗУ, если имеется, в замкнутом положении;

СО - операция замыкания ВДТ, при замкнутых выключателях Т и ПЗУ, если имеется, за которой следует автоматическое размыкание (в случае ПЗУ см. 9.11.2.4);

t - временной интервал между двумя последовательными операциями при коротком замыкании, который должен быть 3 мин или настолько дольше, сколько потребуется для восстановления или обновления ПЗУ, если оно имеется.

h) Поведение ВДТ в течение испытаний

В ходе испытаний ВДТ не должен представлять опасности для оператора.

Кроме того, не должно быть устойчивой дуги, перекрытия между полюсами и между полюсами и видимыми проводящими частями, не должен расплавляться плавкий предохранитель F и, если применен, плавкий предохранитель F'.

i) Состояние ВДТ после испытаний

После каждого испытания по 9.11.2.2, 9.11.2.3, 9.11.2.4а - с ВДТ не должен иметь повреждений, ухудшающих дальнейшую эксплуатацию, и должен быть способен без обслуживания:

- выполнять требования 9.7.3, но при напряжении, равном его удвоенному номинальному напряжению, в течение 1 мин, без предварительной влажной обработки;

- включать и отключать свой номинальный ток на номинальном напряжении.

При условиях испытания по 9.9.2.3а ВДТ должен расцепиться при испытательном токе 1,25IDn. Проводится одно испытание на одном полюсе, выбранном случайным образом, без измерения времени выключения.

Полиэтиленовый лист не должен иметь отверстий, видимых нормальным или корректированным зрением без дополнительного увеличения.

В дополнение, ВДТ, функционально зависящие от напряжения сети, должны быть способны удовлетворять испытанию по 9.17, если оно применимо.

9.11.2.2 Проверка номинальной наибольшей включающей и отключающей способности (Im)

Это испытание предназначено для проверки способности ВДТ включать, проводить указанное время и выключать токи короткого замыкания в то время, как дифференциальный ток заставляет ВДТ сработать.

a) Условия испытания

ВДТ испытывают в цепи в соответствии с общими условиями испытаний, предписанными в 9.11.2.1, без включения ПЗУ в цепь.

Перемычки G1 с пренебрежимо малым импедансом заменяют на ВДТ и на перемычки, имеющие импеданс, близкий к импедансу ПЗУ.

Вспомогательный выключатель S1 оставляют замкнутым.

b) Процедура испытания

При дифференциальном токе срабатывания, равном 10IDn, проходящем через выключатель S1 и резистор R2, выполняют следующий цикл операций: СО-t-CO-t-CO.

9.11.2.3 Проверка номинальной дифференциальной наибольшей включающей и отключающей способности (IDm).

Данное испытание предназначено для проверки способности ВДТ включать, проводить в течение указанного времени и отключать дифференциальные токи короткого замыкания.

a) Условия испытания

ВДТ должен испытываться в соответствии с основными условиями испытаний, предписанными в 9.11.2.1, без введения ПЗУ в цепь, но включенным таким образом, что ток короткого замыкания является дифференциальным.

Для данного испытания резисторы R3 не используют, цепь остается разомкнутой.

К токовым путям, которые не должны нести дифференциальный ток короткого замыкания, подсоединяют напряжение источника питания к их линейным выводам.

Перемычки G1 с пренебрежимо малым импедансом заменяют на ВДТ и на перемычки, имеющие импеданс, близкий к импедансу ПЗУ.

Вспомогательный выключатель S1 остается замкнутым.

Испытание проводят на каждом полюсе поочередно, за исключением полюса, коммутирующего нейтраль, если имеется.

b) Процедура испытания

Выполняют следующий цикл операций: О-t-CO-t-CO.

Для операции отключения вспомогательный выключатель Т синхронизируют по отношению к волне напряжения так, чтобы момент начала операции был (45 ± 5)°. Один и тот же полюс должен быть использован как контрольный для целей синхронизации на разных образцах.

9.11.2.4 Проверка координации между ВДТ и ПЗУ

Эти испытания предназначены для проверки того, что ВДТ, защищенный ПЗУ, способен выдержать без повреждения токи короткого замыкания вплоть до его номинального условного тока короткого замыкания (см. 5.3.10).

Ток короткого замыкания прерывается совокупностью ВДТ и ПЗУ.

В течение испытания либо ВДТ и ПЗУ вместе, либо только ПЗУ могут сработать. Однако если выключится только ВДТ, испытание также рассматривают как удовлетворительное.

ПЗУ обновляют или вновь взводят, что применимо, после каждого срабатывания.

Следующие испытания (см. также таблицу 13) выполняют при общих условиях по 9.11.2.1:

- испытание (см. 9.11.2.4а) для проверки, что при номинальном условном токе короткого замыкания Inc ПЗУ защитит ВДТ.

Испытание проводят без установки какого-либо дифференциального тока;

- испытание (см. 9.11.2.4b) для проверки, что при токах короткого замыкания, соответствующих номинальной наибольшей включающей и отключающей способности Im, ПЗУ сработает и защитит ВДТ.

Испытание проводят без установки какого-либо дифференциального тока;

- испытание (см. 9.11.2.4с) для проверки, что в случае короткого замыкания фазы на землю с токами вплоть до номинального условного дифференциального тока короткого замыкания IDс, ВДТ в состоянии выдержать соответствующие нагрузки.

Для операций отключения вспомогательный выключатель Т синхронизируют относительно волны напряжения так, чтобы момент начала операции для одного полюса был (45 ± 5)°. Один и тот же полюс должен быть использован как контрольный для целей синхронизации разных образцов.

a) Проверка координации при номинальном условном токе короткого замыкания (Inc)

1) Условия испытания

Перемычки G1 с пренебрежимо малым импедансом заменяют на ВДТ и ПЗУ.

Вспомогательный выключатель S1 остается разомкнутым: дифференциальный ток не устанавливают.

2) Процедура испытания

Выполняют следующий цикл операций: О-t-CO.

b) Проверка координации на номинальной наибольшей включающей и отключающей способности (Im)

1) Условия испытания

Перемычки G1 с пренебрежимо малым импедансом заменяют на ВДТ и ПЗУ.

Вспомогательный выключатель S1 остается разомкнутым: дифференциальный ток не устанавливают.

2) Процедура испытания

Выполняют следующий цикл операций: О-t-CO-t-CO.

c) Проверка координации при номинальном условном дифференциальном токе короткого замыкания (IDc)

1) Условия испытания

ВДТ должен испытываться согласно общих испытаний, предписанных в 9.11.2.1, но подключенным таким образом, что ток короткого замыкания становится дифференциальным.

Испытание выполняют только на одном полюсе, которым не может быть полюс, коммутирующий нейтраль ВДТ.

Токовые пути, которые не должны нести дифференциальный ток короткого замыкания, подключают к напряжению источника питания своими линейными проводами.

Перемычки G1 с пренебрежимо малым сопротивлением заменяют на ВДТ и ПЗУ.

Вспомогательный выключатель S1 оставляют замкнутым.

2) Процедура испытания

Выполняют следующий цикл испытаний: О-t-CO-t-CO.

9.12 Проверка стойкости к механическому толчку и удару

9.12.1 Механический толчок

9.12.1.1 Испытательное устройство

ВДТ подвергают механическим толчкам с использованием устройства, показанного на рисунке 11.

К бетонному блоку крепят деревянное основание А, к нему на шарнире крепят платформу В. На этой платформе устанавливают плиту С, которая изготовлена из дерева, может фиксироваться на разных расстояниях от шарнира и иметь два вертикальных положения.

Конец платформы В снабжен металлическим пластинчатым упором D, который опирается на спиральную пружину с коэффициентом упругости 25 Н/мм.

ВДТ надежно закрепляют на плите С так, что расстояние горизонтальной оси образца от платформы В составляет 180 мм; плиту С, в свою очередь, крепят так, что расстояние от монтажной поверхности до шарнира составляет 200 мм.

На поверхности плиты С, противоположной монтажной поверхности ВДТ, крепят дополнительную массу таким образом, что на упоре D создают статическое усилие, равное 25 Н, для того, чтобы обеспечить практически постоянный момент инерции скомплектованной системы.

9.12.1.2 Процедура испытания

При ВДТ, находящимся в замкнутом положении, но не подключенном к какому-либо источнику энергии, платформу В 50 раз поднимают за свободный конец и сбрасывают с высоты 40 мм с такими интервалами между последовательными падениями, чтобы образец имел возможность прийти в состояние покоя.

Затем ВДТ крепят на противоположной поверхности плиты С и снова 50 раз сбрасывают, как указано выше.

После этого испытательную плиту С поворачивают на 90° вокруг вертикальной оси и, при необходимости, перемещают так, чтобы вертикальная ось симметрии образца находилась на расстоянии 200 мм от шарнира.

Затем плиту С сбрасывают на платформу В: 50 раз с ВДТ, установленным на одной стороне плиты, и 50 раз с ВДТ, установленным с противоположной стороны плиты.

Перед каждым изменением положения ВДТ вручную размыкают и замыкают.

В ходе испытаний ВДТ не должен размыкаться.

9.12.2 Механический удар

Проверку открытых частей ВДТ, установленного как для нормальной эксплуатации (см. примечание в 8.2), которые могут быть подвержены механическому удару при нормальной эксплуатации, проводят по 9.12.2.1 для ВДТ всех типов и дополнительно:

- по 9.12.2.2 - для ВДТ, предназначенных для монтажа на рейке;

- по 9.12.2.3 - для ВДТ втычного типа.

Примечание - ВДТ, предназначенные для использования только в полностью закрытых оболочках, не подлежат данному испытанию.

9.12.2.1 Образцы проверяют ударами с помощью испытательного устройства, приведенного на рисунках 12 - 14.

Головку ударного элемента выполняют полусферической формы, радиусом 10 мм, из полиамида, имеющего твердость 100HRC.

Ударный элемент имеет массу (150 ± 1) г и жестко закреплен на нижнем конце стальной трубы наружным диаметром 9 мм и толщиной стенки 0,5 мм, шарнирно подвешенной верхним концом таким образом, чтобы она могла качаться только в вертикальной плоскости.

Ось шарнира находится на высоте (1000 ± 1) мм над осью ударного элемента.

Для определения твердости полиамида головки ударного элемента по шкале Роквелла используют следующие условия:

- диаметр шарика (12,7 ± 0,0025) мм;

- начальная нагрузка (100 ± 2) Н;

- дополнительная нагрузка (500 ± 2,5) Н.

Конструкция испытательного устройства такова, что для удержания трубы в горизонтальном положении к лицевой поверхности ударного элемента необходимо приложить усилие от 1,9 до 2 Н.

ВДТ поверхностного монтажа устанавливают на фанерном листе размерами 175×175 мм и толщиной 8 мм, закрепленном своими верхней и нижней кромками в жестких кронштейнах, являющихся частью монтажной опоры, как показано на рисунке 14.

Монтажная опора должна иметь массу (10 ± 1) кг и быть установлена в жесткой раме при помощи шарниров. Раму крепят к массивной стене.

ВДТ утопленного монтажа монтируют в испытательном устройстве, которое закрепляют на монтажной опоре, как показано на рисунке 15.

ВДТ, монтируемые на панели, устанавливают в испытательном устройстве, как показано на рисунке 16, которое закрепляют на монтажной опоре.

ВДТ втычного типа устанавливают на своих собственных основаниях, которые закрепляют на фанерном листе, или в испытательных устройствах, как показано на рисунках 15 или 16, что более применимо.

ВДТ для крепления на рейке монтируют на их соответствующей рейке, которую жестко закрепляют к монтажной опоре.

Конструкция испытательного устройства такова, что:

- образец может быть перемещен горизонтально и повернут вокруг оси, перпендикулярной поверхности фанерного листа;

- фанерный лист может быть повернут вокруг вертикальной оси.

ВДТ с крышками, если они имеются, монтируют как для нормальной эксплуатации на фанерном листе или в надлежащем испытательном устройстве, что более применимо, так, чтобы точка удара лежала в вертикальной плоскости, проходящей через ось маятника.

Кабельные вводы, которые не снабжены пробивными диафрагмами, оставляют открытыми. Если они снабжены пробивными диафрагмами, то две из них пробивают.

Перед нанесением ударов винты для крепления оснований, крышек и т.д. затягивают моментом, равным 2/3 от указанного в таблице 9.

Ударный элемент сбрасывают с высоты 10 см на поверхности ВДТ, которые видимы, когда ВДТ смонтирован как для нормальной эксплуатации.

Высоту падения определяют как вертикальное расстояние между положениями контрольной точки в момент отпускания маятника и в момент удара. Контрольную точку отмечают на поверхности ударного элемента в месте пересечения с ней линии, проходящей через точку пересечения осей стальной трубы маятника и ударного элемента и перпендикулярной плоскости, проходящей через эти оси.

Примечание - Теоретически, контрольной точкой должен быть центр тяжести ударного элемента, но поскольку центр тяжести трудно определить, контрольную точку выбирают, как указано выше.

Каждый ВДТ подвергают 10 ударам, два из которых наносят на органы управления, а остальные равномерно распределяют по тем частям образца, которые предположительно наиболее подвержены ударам.

Удары не наносят по пробивным диафрагмам или по каким-либо отверстиям, закрытым прозрачным материалом.

Как правило, один удар наносят по каждой боковой стенке образца, повернутого вокруг вертикальной оси насколько возможно, но не более чем на 60°, и два удара - приблизительно посередине между точкой удара по боковой стенке и точками ударов по органам управления.

Остальные удары наносят подобным образом после поворота образца на 90° вокруг оси, перпендикулярной фанерному листу.

Если предусмотрены кабельные выводы или пробивные диафрагмы, то образец устанавливают так, чтобы обе линии нанесения ударов располагались по возможности на равных расстояниях от этих отверстий.

Из двух ударов по органу управления один наносят, когда орган управления находится в положении «Вкл.», а второй - в положении «Откл.».

После испытания образцы не должны иметь повреждений, в особенности крышек, которые, будучи сломаны, делают доступными части под напряжением или препятствуют дальнейшей эксплуатации ВДТ. Органы управления, обшивка и перегородки из изоляционного материала и тому подобное также не должны иметь повреждений.

В сомнительных случаях проверяют возможность удаления или замены внешних частей, таких как оболочки или крышки, без повреждения этих частей или их обшивки.

Примечание - Ухудшением внешнего вида, небольшими вмятинами, не уменьшающими расстояний утечки или воздушных зазоров до значений ниже указанных в 8.1.3, и мелкими сколами, не снижающими защиты от электрического удара, пренебрегают.

Для ВДТ, разработанных для крепления в равной степени и винтами, и на рейке, испытания проводят на двух комплектах ВДТ, один из которых крепят винтами, а другой - на рейке.

9.12.2.2 ВДТ, предназначенные для крепления на рейке, монтируют как для нормальной эксплуатации на рейке, жестко закрепленной на твердой вертикальной стене, но без подключенных кабелей, крышек или защитных пластин.

К передней поверхности ВДТ без рывков в течение 1 мин прикладывают направленную сверху вниз вертикальную силу 50 Н, затем немедленно в течение 1 мин прилагают снизу вверх вертикальную силу 50 Н (см. рисунок 17).

Во время испытания крепление ВДТ не должно расслабляться, после испытания ВДТ не должен иметь повреждений, препятствующих его дальнейшему использованию.

9.12.2.3 ВДТ втычного типа

Примечание - Дополнительные испытания находятся на рассмотрении.

9.13 Проверка теплостойкости

Образцы без съемных крышек, если они имеются, выдерживают 1 ч в термокамере при температуре (100 ± 2) ºС; съемные крышки, если имеются, выдерживают в течение 1 ч при (70 ± 2) ºС.

Во время испытаний образцы не должны претерпевать изменений, препятствующих их дальнейшему использованию, а заливочный компаунд, при наличии, не должен вытечь настолько, чтобы открылись части, находящиеся под напряжением.

После испытания и охлаждения образцов приблизительно до комнатной температуры не должны быть доступными части, находящиеся под напряжением, которые нормально недоступны, когда образцы смонтированы как при нормальной эксплуатации, даже если применяют стандартный испытательный палец, прикладываемый с усилием не более 5 Н.

При условиях испытаний по 9.9.2.3а ВДТ должен расцепиться при испытательном токе, равном 1,25IDn. Проводят только одно испытание на одном полюсе, выбранном случайным образом, без измерения времени размыкания.

Маркировка после испытания должна оставаться четкой.

Обесцвечивание, вздутие или некоторые смещения заливочного компаунда не принимают во внимание, если при этом не снижается безопасность, требования к которой установлены данным стандартом.

9.13.2 Наружные части ВДТ, выполненные из изоляционного материала и необходимые для удержания в нужном положении токоведущих частей или частей защитной цепи, подвергают испытанию давлением шарика при помощи устройства, приведенного на рисунке 18, исключая, где это применимо, изоляционные части, необходимые для удержания в нужном положении выводов защитных проводников в коробке, которые должны испытываться согласно 9.13.3.

Подлежащую испытанию часть устанавливают на стальной опоре так, чтобы предназначенная для испытания поверхность находилась в горизонтальном положении, и к этой поверхности с усилием 20 Н прижимают стальной шарик диаметром 5 мм.

Испытание проводят в термокамере при температуре (125 ± 2) ºС.

Через 1 ч шарик снимают с образца, образец охлаждают в течение не более 10 с до приблизительно комнатной температуры путем погружения в холодную воду.

Измеренный отпечаток шарика не должен превышать 2 мм в диаметре.

9.13.3 Наружные части ВДТ из изоляционных материалов, не предназначенные для удержания в заданном положении токоведущих частей и частей защитной цепи, даже если они находятся в контакте с последними, подвергают испытаниям давлением шарика в соответствии с 9.13.2, но при температуре (70 ± 2) ºС или (40 ± 2) ºС плюс наибольшее превышение температуры соответствующей части, определенное при испытании по 9.8.

Примечание - Для целей испытаний по 9.13.2 и 9.13.3 основания ВДТ поверхностного монтажа считают наружными частями.

Испытаниям по 9.13.2 и 9.13.3 не подвергают части, изготовленные из керамических материалов.

Если две или более изоляционные части, упомянутые в 9.13.2 и 9.13.3, выполнены из одного и того же материала, то испытанию подвергают только одну из этих частей по 9.13.2 или 9.13.3, что применимо.

9.14 Испытание на стойкость к аномальному нагреву и огню

Испытание раскаленной проволокой проводят в соответствии с разделами 4 - 10 ГОСТ 27483 при следующих условиях:

- для наружных частей ВДТ, выполненных из изоляционного материала и необходимых для удержания в заданном положении токоведущих частей и частей защитной цепи, - при температуре (960 ± 15) °С;

- для всех других наружных частей, выполненных из изоляционного материала,- при температуре (650 ± 10) °С.

Примечание - Для целей данного испытания основания ВДТ поверхностного монтажа причисляют к наружным частям.

Если наружные части из изоляционного материала, входящие в указанные группы, сделаны из одного материала, испытанию подвергают только одну из них при соответствующей температуре раскаленной проволоки.

Испытаниям не подвергают части из керамических материалов.

Испытания раскаленной проволокой проводят для гарантии того, что нагретая электрическим током испытательная проволока, в определенных условиях испытания, не вызовет воспламенения изоляционных частей, или эти части, в случае возможного воспламенения, будет гореть ограниченное время без распространения открытого пламени или выделения горючих частиц, или образования расплавленных капель.

Испытание проводят на одном образце.

В сомнительных случаях испытание должно быть повторено еще на двух образцах.

Испытание проводят с приложением раскаленной проволоки один раз. В течение испытания образец должен быть установлен в самое неблагоприятное положение из возможных при его предполагаемом использовании (испытуемой поверхностью в вертикальном положении).

Конец раскаленной проволоки прикладывают к поверхности испытуемого образца с учетом предполагаемых условий эксплуатации, при которых нагретый или раскаленный элемент может войти в контакт с поверхностью.

Образец считают выдержавшим испытание раскаленной проволокой, если:

- или нет видимого пламени и длительного тления,

- или пламя и тление на образце самостоятельно гаснут в течение 30 ºС после удаления раскаленной проволоки.

Не должно быть загорания папиросной бумаги или подпаливания сосновой доски, которые подкладывают под образец во время испытания.

9.15 Проверка механизма свободного расцепления

9.15.1 Основные условия испытания

ВДТ монтируют и подключают как при нормальной эксплуатации.

Испытание проводят в фактически безындуктивной цепи, схема которой показана на рисунке 4а.

9.15.2 Процедура испытания

Дифференциальный ток, равный 1,5IDn, пропускают замыканием выключателя S2 при замкнутом ВДТ и его органе управления, удерживаемом во включенном положении рукой. ВДТ должен расцепиться.

Затем испытание повторяют при медленном движении органов управления ВДТ с периодом примерно 1 с до тех пор, пока они займут положение, при котором начинает течь ток. Должно произойти расцепление без дальнейшего движения органов управления.

Оба испытания выполняют по три раза, по крайней мере однажды на каждом полюсе, предназначенном для коммутации фазы.

Примечания

1 Если ВДТ снабжен более чем одним органом управления, операцию свободного расцепления проводят на всех органах.

2 Если ВДТ имеет несколько уставок, испытания проводят для каждой уставки.

9.16 Проверка работы устройства эксплуатационного контроля при предельных значениях номинального напряжения

a) ВДТ подключают на напряжение, равное 0,85 номинального значения, контрольное устройство мгновенно приводят в действие 25 раз с интервалом 5 с, ВДТ возвращают в замкнутое положение перед каждой операцией.

b) Испытание а) затем повторяют при напряжении, равном 1,1 номинального.

c) Испытание b) затем повторяют, но только однажды, орган управления контрольного устройства удерживают 30 с во включенном положении.

При каждом испытании ВДТ должен срабатывать.

После испытания не должно быть повреждений, препятствующих дальнейшей эксплуатации ВДТ.

Для того чтобы проверить, что ампер-витки, создаваемые при включении контрольного устройства меньше 2,5-кратного значения ампер-витков, создаваемых дифференциальным током, равным IDn при номинальном напряжении, проводят измерение импеданса цепи контрольного устройства и рассчитывают испытательный ток, исходя из схемы контрольного устройства.

Если для этой проверки требуется разборка ВДТ, для этого используют отдельный образец.

Примечание - Проверку стойкости контрольного устройства считают выполненной при испытаниях по 9.10.

9.17 Проверка поведения ВДТ, функционально зависящих от напряжения сети, классифицируемых по 4.1.2.1, в случае исчезновения напряжения сети

9.17.1 Определение предельного значения напряжения сети (Ux)

Напряжение, равное номинальному, прикладывают к входным выводам ВДТ и затем постепенно уменьшают с такой скоростью, чтобы достичь нуля за время около 30 с или в пределах периода достаточной длительности, принимая во внимание отключение с задержкой, если такое предусмотрено (см. 8.12), выбирая большее из них, до достижения автоматического срабатывания.

Соответствующее значение напряжения измеряют.

Проводят пять измерений.

Все измеренные значения должны быть меньше, чем 0,85 номинального напряжения (или, если уместно, 0,85 от минимального из ряда номинальных напряжений).

По окончанию этих измерений должно быть установлено, что ВДТ работает в соответствии с таблицей 1, когда действует дифференциальный ток, равный IDn, в случае падения напряжения сети, при условиях, указанных в данном пункте, при этом до автоматического отключения приложенное напряжение определенно будет больше наибольшего из измеренных выше значений.

Затем должно быть проверено, что для любого значения линейного напряжения, меньшего минимального измеренного значения, не должно быть возможности включения ВДТ вручную.

9.17.2 Проверка автоматического отключения в случае исчезновения напряжения сети

На входную сторону ВДТ подают напряжение номинальной величины (или, если применимо, любое напряжение из ряда номинальных напряжений) и ВДТ включают.

Затем напряжение отключают.

Замеряют время между отключением напряжения и размыканием контактов главной цепи.

Проводят пять измерений.

a) Для ВДТ, отключающихся без выдержки времени, не должно быть значений более 0,5 с.

b) Для ВДТ, отключающихся с выдержкой времени, максимальное и минимальное значения должны находиться в пределах, указанных изготовителем.

Примечание - Проверку значения Uy (см. 3.4.10.2) не рассматривают в настоящем стандарте.

9.17.3 Проверка правильной работы при наличии дифференциального тока для ВДТ, размыкающихся с выдержкой времени в случае исчезновения напряжения сети

ВДТ подключают согласно рисунка 4а и подают на входную сторону напряжение номинальной величины (или, если применимо, любое напряжение из ряда номинальных напряжений).

Затем все фазы, кроме одной, отключают при помощи выключателя S3.

В течение выдержки времени (см. таблицу 6), указанной изготовителем, ВДТ подвергают испытаниям по 9.9.2. Перед каждым измерением производят замыкание выключателя S3 с последующим его размыканием.

Примечание - Если время выдержки превышает 30 с, то проводят проверку только по 9.9.2.1.

9.17.4 Проверка правильной работы ВДТ с тремя или четырьмя токовыми путями при наличии дифференциального тока и питании только через один линейный вывод

В случае ВДТ с тремя или четырьмя токовыми путями (см. 4.3) испытания проводят согласно 9.9.2.3, но с подключением нейтрали и только одного фазного вывода поочередно, при этом соединения выполняют согласно рисунка 4.

9.17.5 Проверка функции повторного включения для ВДТ с автоматическим повторным включением

На рассмотрении.

9.18 Проверка предельных значений тока несрабатывания в условиях сверхтоков

Примечание - Для ВДТ с несколькими уставками испытание проводят при наименьшей уставке.

9.18.1 Проверка предельного значения сверхтока при нагрузке ВДТ с двумя токовыми путями

ВДТ соединяют как при нормальной эксплуатации с практически безындуктивной нагрузкой, равной 6In.

Нагрузку включают при помощи двухполюсного испытательного выключателя, а затем через 1 с выключают.

Испытание повторяют три раза, интервал между последовательными операциями замыкания должен быть как минимум 1 мин.

ВДТ не должен размыкаться.

ВДТ, функционально зависящие от напряжения сети, подключают на входных выводах на номинальное напряжение (или, если применимо, на любое напряжение из ряда номинальных напряжений, указанных для данного ВДТ).

9.18.2 Проверка предельного значения сверхтока при однофазной нагрузке трех- или четырехполюсного ВДТ

ВДТ соединяют согласно рисунка 19.

Резистор R регулируют так, чтобы получить в цепи ток, равный 6In.

Примечание - Для регулировки тока ВДТ может быть заменен перемычками с ничтожно малым сопротивлением.

Испытательный выключатель S1, будучи первоначально разомкнутым, замыкают и вновь размыкают через 1 с.

Испытание повторяют трижды для каждой возможной комбинации токовых путей; интервал между двумя последовательными операциями замыкания должен быть не менее 1 мин.

ВДТ не должен размыкаться.

ВДТ, функционально зависящие от напряжения сети, подключают на входных выводах на номинальное напряжение (или, если применимо, на любое напряжение из ряда номинальных напряжений, указанных для данного ВДТ).

9.19 Проверка устойчивости к нежелательным срабатываниям от импульса напряжения

9.19.1 Испытание импульсом тока для всех ВДТ (испытание звенящей волной 0,5 мкс/100 кГц)

ВДТ испытывают с использованием генератора импульсов, способного подавать волну затухающего колебательного тока, показанную на рисунке 19а.

Пример схемы соединения ВДТ приведен на рисунке 19б.

К одному из полюсов ВДТ, выбранному наугад, должны прикладываться десять импульсов тока. Полярность волны импульса должна меняться после каждых двух импульсов. Интервал между двумя последовательными импульсами должен составлять ≈ 30 с.

Импульс тока должен измеряться соответствующим способом и калиброваться при помощи дополнительного ВДТ такого же типа, при таком же In и IDn, отвечая следующим требованиям:

- пиковое значение..................................................... 200 А + 10 % или

25А + 10 % для ВДТ с IDn ≤ 10 мА

- действующая длительность фронта................... 0,5 мкс ± 30 %

- период переходящей волны.................................... 10 мкс ± 30 %

- каждый последующий пик импульса..................... около 60 % предыдущего пика

Во время испытаний ВДТ не должен срабатывать. После испытания звенящей волной правильность оперирования ВДТ проверяют испытанием по 9.9.2.3 при IDn, только с измерением времени расцепления.

Примечание - Методика испытаний и схемы испытательных цепей для ВДТ со встроенной или присоединенной защитой от перенапряжения - на рассмотрении.

9.19.2 Проверка повышенной устойчивости к нежелательному срабатыванию (испытание импульсным током 8/20 мкс, применяемое только для ВДТ типa S)

Для испытания ВДТ используют генератор тока, способный подавать затухающий импульсный ток 8/20 мкс (МЭК 60060-2) [3], как приведено на рисунке 23.

Пример схемы соединений ВДТ приведен на рисунке 24.

К одному из полюсов ВДТ, выбранному наугад, должны прикладываться десять импульсов тока. Полярность волны импульса должна меняться после каждых двух импульсов. Интервал между двумя последовательными импульсами должен составлять ≈ 30 с.

Импульс тока должен измеряться соответствующим способом и калиброваться дополнительным ВДТ такого же типа при тех же In и IDn, отвечая следующим требованиям:

- пиковое значение.............................................................. 3000 А + 10 %

- действующая длительность фронта............................ 80 мкс ± 20 %

- действующая длительность полупериода.................... 20 мкс ± 20 %

- пик обратного тока......................................................... менее 30 % пикового значения

Ток должен регулироваться до асимптотной формы. Для испытаний на других образцах такого же типа при тех же In и IDn обратный ток, если он есть, не должен превышать 30 % пикового значения.

Во время испытаний ВДТ не должен срабатывать. После испытания импульсом тока правильность оперирования ВДТ проверяют испытанием по 9.9.2.3 при IDn, только с измерением времени расцепления.

9.20 Проверка стойкости изоляции при импульсах напряжения

Испытания проводят на ВДТ, закрепленных на металлическом основании, подключенных как для нормальной эксплуатации и находящихся в замкнутом положении.

Импульсы получают при помощи генератора, дающего положительные и отрицательные импульсы, имеющие длительность фронта 1,2 мкс, длительность на уровне 0,5 величины - 50 мкс с погрешностью:

+5 % для пикового значения;

+30 % для длительности фронта;

+20 % для длительности на уровне 0,5.

Первую серию испытаний проводят при пиковом напряжении импульсов 6 кВ. Импульсы прикладывают между фазным полюсом (полюсами), соединенным (ми) вместе, и нейтральным полюсом (или путем) ВДТ.

Вторую серию испытаний проводят при пиковом напряжении импульсов 8 кВ. Импульсы прикладывают между металлическим основанием, соединенным с выводом (выводами), предназначенным (ми) для защитного проводника (проводников), если имеется таковой, и соединенными вместе фазным полюсом (полюсами) и нейтральным полюсом (или путем).

Примечания

1 Волновое сопротивление испытательного прибора должно быть 500 Ом,

2 Значения 6 и 8 кВ являются временными.

В обоих случаях прикладывают по пять положительных и отрицательных импульсов с интервалом между последующими импульсами не менее 10 с.

Не должно быть непреднамеренного разрушительного разряда.

Если, однако, имел место только один такой разрушительный разряд, то дополнительно прикладывают десять импульсов той же полярности, что и разрушительный разряд, соединения при этом должны быть такими же, как при разряде.

Не должно быть дальнейших разрушительных разрядов.

Примечания

3 «Непреднамеренный разрушительный разряд» означает явление, объединяющее электрический пробой изоляции, падение напряжения и протекание тока.

4 «Преднамеренные разряды» относятся к разрядам во встроенных ограничителях напряжения.

Форму импульсов устанавливают при подключенном к генератору испытуемом ВДТ. Для этой цели должны использоваться соответствующие делители напряжения и датчики напряжения.

Допускаются незначительные колебания импульсов при условии, что их амплитуда вблизи пика импульсов не более 5 % амплитудного значения импульса.

Допустимы колебания в первой половине фронта импульса амплитудой не более 10 % от пикового значения импульса.

9.21 Проверка правильной работы ВДТ при дифференциальных токах, содержащих составляющие постоянного тока

Применяют условия испытаний по 9.9.1 и 9.9.5 с тем исключением, что испытательные цепи должны быть, как указано на рисунках 4b и 4с, что более применимо.

9.21.1 ВДТ дифференциального тока типа А

9.21.1.1 Проверка работы в случае постепенного роста дифференциального пульсирующего постоянного тока

Испытание должно проводиться согласно рисунка 4b.

Вспомогательные выключатели S1, S2 и ВДТ должны быть включены. Соответствующий тиристор должен управляться таким образом, чтобы получить углы задержки тока 0, 90 и 135°. Каждый полюс ВДТ должен испытываться дважды на каждом из значений угла задержки тока: как в положении I, так и в положении II вспомогательного выключателя S3.

При каждом испытании ток должен равномерно нарастать от нуля со скоростью около 1,4IDn/30 А в секунду для ВДТ с IDn > 0,01 А и со скоростью около 2IDn/30 А в секунду для ВДТ с IDn < 0,01 А.

Ток расцепления должен соответствовать таблице 17.

Таблица 17 - Диапазоны тока расцепления ВДТ типа А

Угол a

Ток расцепления

Нижний предел

Верхний предел

0,35IDn

1,4IDn или 2IDn (см. 5.3.12)

90°

0,2IDn

135°

0,11IDn

9.21.1.2 Проверка нормального функционирования в случае внезапного появления дифференциального пульсирующего постоянного тока

ВДТ подвергают испытаниям по схеме рисунка 4b.

Цепь последовательно калибруют при значениях, которые указаны ниже. Вспомогательный выключатель S1 и ВДТ находятся в замкнутом положении. Дифференциальный ток внезапно подают путем замыкания выключателя S2.

Примечание - Для ВДТ, функционально зависящих от напряжения сети, классифицируемых согласно 4.1.2.2а), управляющая цепь которых подключена к линейной стороне главной цепи, при этом испытании не принимают в расчет время, необходимое для активизации ВДТ. В этом случае проверку проводят с подачей дифференциального тока путем замыкания выключателя S1. ВДТ и выключатель S2 предварительно включают.

Испытание проводят при каждом значении дифференциального тока, указанном в таблице 1, соответственно типу ВДТ.

Проводят по два измерения времени отключения при каждом значении IDn, умноженном на коэффициент 1,4 для ВДТ с IDn > 0,01 А и на коэффициент 2 для ВДТ с IDn < 0,01 А, с углом задержки тока a = 0, с выключателем S2 в положении I для первого измерения и в положении II - для второго.

Не должно быть значений, превосходящих указанные предельные значения.

9.21.1.3 Проверка нормального функционирования под нагрузкой при контрольной температуре

Испытания по 9.21.1.1 повторяют, испытуемый полюс и один из других полюсов ВДТ при этом нагружают номинальным током, который кратковременно устанавливают перед испытанием.

Примечание - Нагрузка номинальным током не показана на рисунке 4b.

9.21.1.4 Проверка нормального функционирования в случае дифференциальных пульсирующих постоянных токов с наложением гладкого постоянного тока 0,006 А

ВДТ испытывают согласно рисунка 4с при полуволновом выпрямленном дифференциальном токе (угол токовой задержки a = 0) с наложенным гладким постоянным током 0,006 А.

Каждый полюс ВДТ испытывают по очереди, дважды на каждой из позиций I и II.

Полуволновой ток I1, начиная с нуля, плавно увеличивают со скоростью примерно 1,4IDn/30 А в секунду для ВДТ с IDn > 0,01 А и 2IDn/30 А в секунду для ВДТ с IDn < 0,01 А. Устройство должно сработать прежде, чем ток достигнет величины, не превышающей 1,4IDn + 6 мА или 2IDn + 6 мА, соответственно.

9.22 Проверка надежности

Соответствие проверяют испытаниями по 9.22.1 и 9.22.2.

Примечание - Для ВДТ, имеющих несколько уставок, испытания проводят на наименьшей уставке.

9.22.1 Климатическое испытание

Испытание основано на ГОСТ 28216 с учетом ГОСТ 28214.

9.22.1.1 Испытательная камера

Камера должна быть разработана согласно раздела 2 ГОСТ 28216. Конденсирующаяся вода должна постоянно удаляться из камеры; повторное ее использование без очистки не допускается. Допускается использовать только дистиллированную воду.

Перед подачей в камеру дистиллированная вода должна иметь сопротивление не менее 500 Ом, значение рН = 7+0,2

Во время и после испытания сопротивление должно быть не менее 100 Ом, а значение рН должно быть 7,0+1.

9.22.1.2 Условия испытаний

Циклы выполняют при следующих условиях:

- верхнее значение температуры...................... (55 ± 2) °С

- число циклов....................................................... 28

9.22.1.3 Процедура испытания

Процедура испытания должна соответствовать требованиям раздела 4 ГОСТ 28216 и ГОСТ 28214.

a) Предварительная проверка

Предварительную проверку ВДТ осуществляют согласно испытаниям по 9.9.2.3, но только при IDn.

b) Условия

1) ВДТ, смонтированный и подключенный как для нормальной эксплуатации, помещают в камеру.

Он должен быть включен.

2) Период стабилизации (см. рисунок 20).

Температура ВДТ должна стабилизироваться при значении (25 ± 3) °С:

a) либо при размещении ВДТ в отдельной камере перед помещением в испытательную камеру,

b) или путем установления температуры в испытательной камере (25 ± 3) °С после помещения в нее ВДТ и поддержанием температуры на этом уровне до достижения температурной стабилизации.

В ходе стабилизации температуры тем или иным способом относительная влажность должна находиться в пределах, определенных для стандартных атмосферных условий испытаний (таблица 2).

В течение последнего часа пребывания ВДТ в испытательной камере относительная влажность должна быть увеличена до значения не менее 95 % при температуре окружающего воздуха (25 ± 3) ºС.

3) Описание 24-часового цикла (см. рисунок 21).

a) Температура в камере должна постепенно нарастать вплоть до достижения значения верхней температуры, указанного в 9.22.1.2.

Верхнее значение температуры должно быть достигнуто за 3,5 ч со скоростью, определенной согласно заштрихованной зоне на рисунке 21.

В течение этого периода относительная влажность не должна быть менее 95 %, а на ВДТ должна иметь место конденсация.

Примечание - Конденсация достигается при условии, что температура поверхности ВДТ ниже «точки росы» атмосферы камеры. Это значит, что относительная влажность должна быть выше 95 %, если температурная постоянная времени ниже.

Необходимо следить, чтобы капли конденсата не падали на ВДТ.

b) Далее температура должна поддерживаться на практически постоянном значении внутри указанных пределов отклонения +2 ºС для верхнего значения температуры, в течение 12,5 ч от начала цикла.

В течение этого периода относительная влажность должна быть (93 ± 3) %, исключая первые и последние 15 мин, когда она должна быть от 90 до 100 %.

Конденсации не должно быть на ВДТ в течение последних 15 мин.

c) Затем температура должна быть снижена в течение 3 - 6 ч до значения (25 ± 3) ºС.

Скорость снижения для первых 1,5 ч должна быть такой, что если ее поддерживать, как указано на рисунке 21, то значение (25 ± 3) °С можно было бы достигнуть за 3 ч 15 мин.

В течение периода падения температуры относительная влажность должна быть не менее 95 %, исключая первые 15 мин, когда она не должна быть менее 90 %.

d) Далее температура должна поддерживаться на уровне (25 ± 3) °С с относительной влажностью не менее 95 %, вплоть до истечения 24-часового цикла.

9.22.1.4 Восстановление

По окончании циклов ВДТ не должен удаляться из испытательной камеры.

Дверь испытательной камеры должна быть открыта, а регулирование температуры и влажности прекращено.

Затем в течение 4 - 6 ч дают возможность окружающим условиям (температуре и относительной влажности) вернуться в исходное состояние перед проведением заключительных измерений.

В течение 28 циклов ВДТ не должен расцепляться.

9.22.1.5 Заключительная проверка

При условиях испытания по 9.9.2.3 ВДТ должен расцепиться при испытательном токе 1,25IDn.

Проводят только одну проверку одного полюса, выбранного случайным образом, без измерения времени выключения.

9.22.2 Испытания при температуре 40 °С

ВДТ устанавливают как для нормальной эксплуатации на фанерной стенке, окрашенной в матовый черный цвет, толщиной около 20 мм.

Однопроволочные кабели (проводники) длиной 1 м и номинальной площадью поперечного сечения, как указано в таблице 4, присоединяют к каждому полюсу ВДТ на обоих его сторонах, винты или гайки выводов затягивают с крутящим моментом, равным 2/3 от указанного в таблице 9.

ВДТ в сборе помещают в испытательную термокамеру.

ВДТ нагружают током, равным номинальному, при любом удобном напряжении и подвергают при температуре (40 ± 2) °С 28 циклам. Каждый цикл включает пребывание в течение 21 ч под током и 3 ч без тока. Ток выключают вспомогательным выключателем, ВДТ не оперируют. Для четырехполюсных ВДТ нагружают только три полюса.

В конце последнего 21-часового периода пребывания под током определяют превышение температуры выводов при помощи тонкопроволочных термопар; его значение не должно быть более 65 К.

После этого испытания ВДТ (без тока) в камере дают возможность остыть до примерно комнатной температуры.

При условиях испытаний, указанных в 9.9.2.3, ВДТ должен срабатывать при испытательном токе 1,25IDn. Проводят только одно испытание на одном полюсе, выбранном случайным образом, без измерения времени отключения.

9.23 Проверка старения электронных компонентов

Примечание - Данное испытание находится на рассмотрении.

ВДТ помещают в камеру на 168 ч при температуре окружающего воздуха (40 ± 2) °С и нагружают номинальным током.

Напряжение на электронных частях должно быть равным 1,1 номинального напряжения.

После этого испытания ВДТ (без тока) дают возможность остыть в камере до примерно комнатной температуры. Электронные части не должны иметь повреждений.

При условиях испытаний по 9.9.2.3 ВДТ должен срабатывать при испытательном токе 1,25IDn. Проводят только одно испытание на одном полюсе, выбранном случайным образом, без измерения времени выключения.

Примечание - Пример испытательной цепи для этой проверки приведен на рисунке 22.

Рисунок 1 - Самонарезающий формующий винт (3.6.10)

Рисунок 2 - Самонарезающий режущий винт (3.6.11)

1 - шарниры; 2 - фаски; 3 - упорная поверхность; 4 - ручка; 5 - защитная шайба; 6 - изоляционный материал

Материал: металл, кроме поз. 6.

Неуказанные допуски на размеры:

- угловые ... 0 ... -10°

- линейные:

до 25 мм ... 0 ... -0,05 мм

св. 25 мм ... 0 ... +0,2 мм

Оба шарнира должны позволять движение в одной плоскости, в одном направлении и на угол 90+10°.

Рисунок 3 - Сочлененный испытательный палец (9.6)

S - источник питания; V - вольтметр; А - амперметр; S1 - выключатель для всех полюсов; S2 - однополюсный выключатель; S3 - выключатель, коммутирующий все фазы кроме одной; D - испытуемый АВДТ; R - регулируемый резистор

Примечание - S3 остается замкнутым, кроме испытания по 9.17.3.

Рисунок 4а - Испытательная цепь для проверки:

- рабочих характеристик (9.9);

- механизма свободного расцепления (9.15);

- поведения в случае исчезновения напряжения сети (9.17.3 и 9.17.4) для ВДТ, функционально зависящих от напряжения сети

S - источник питания; V - вольтметр; А - амперметр (измерение действующего значения); D - испытуемый ВДТ; D1 - диоды; R - регулируемый резистор; S1 - выключатель для всех полюсов; S2 - однополюсный выключатель; S3 - переключатель на два положения

Рисунок 4b - Испытательная цепь для проверки правильности функционирования ВДТ в случае дифференциального пульсирующего постоянного тока

S - источник питания; V - вольтметр; А - амперметр (измерение действующего значения); D - испытуемый ВДТ; D1 - тиристоры; R1, R2 - регулируемые резисторы; S1 - выключатель для всех полюсов; S2 - однополюсный выключатель; S3 - переключатель на два положения, два направления

Рисунок 4с - Испытательная цепь для проверки правильной работы в случае пульсирующего постоянного тока с наложением сглаженного постоянного тока (9.21.1.4)

Условные обозначения, используемые в рисунках 5 - 9:

N - нулевой рабочий проводник; S - источник питания; R - регулируемые резисторы; L - регулируемые реакторы; Р - устройство защиты от коротких замыканий (ПЗУ); D - испытуемый ВДТ; G1 - временные перемычки для калибровки; G2 - перемычки для испытания на номинальном условном токе короткого замыкания; Т - устройство, создающее короткое замыкание; O1 - регистрирующий датчик (датчики) тока; O2 - регистрирующий датчик (датчики) напряжения; F - устройство для обнаружения тока замыкания; R1 - резистор, ограничивающий ток в устройстве F; R2 - регулируемый резистор для калибровки тока; R3 - дополнительный регулируемый резистор для получения тока ниже номинального условного тока короткого замыкания; S1 - вспомогательный выключатель; В и С - точки для присоединения сетки (сеток), указанные в приложении С.

Рисунок 5 - Испытательная цепь для проверки номинальной наибольшей включающей и отключающей способности и координации с ПЗУ однополюсного ВДТ с двумя токовыми путями (9.11)

Рисунок 6 - Испытательная цепь для проверки номинальной наибольшей включающей и отключающей способности и координации с ПЗУ двухполюсного ВДТ в случае однофазной сети (9.11)

Рисунок 7 - Испытательная цепь для проверки номинальной наибольшей включающей и отключающей способности и координации с ПЗУ трехполюсного ВДТ в трехфазной сети (9.11)

Рисунок 8 - Испытательная цепь для проверки номинальной наибольшей включающей и отключающей способности и координации с ПЗУ трехполюсного ВДТ с четырьмя токовыми путями в трехфазной сети с нейтралью (9.11)

Рисунок 9 - Испытательная цепь для проверки номинальной наибольшей включающей и отключающей
способности и координации с ПЗУ четырехполюсного ВДТ в трехфазной сети с нейтралью (9.11)

1 - серебряная проволока; 2 - скользящие пластины; 3 - упор для скользящей пластины

Рисунок 10 - Испытательное устройство для проверки минимальных значений I2t и Ip, выдерживаемых ВДТ (9.11.2.1а)

1 - шарнир; 2 - дополнительная масса; 3 - образец; 4 - металлический пластинчатый упор;
5 - бетонный блок; А - деревянное основание; В - платформа; С - плита; D - упор

Рисунок 11 - Аппарат для испытания на механический толчок (9.12.1)

1 - рама; 2 - образец; 3 - монтажная опора; 4 - ударный элемент

Рисунок 12 - Аппарат для испытаний на механический удар (9.12.2.1)

Материал деталей: 1 - полиамид; 2 - 5 - сталь 35

Рисунок 13 - Ударный элемент для маятникового аппарата для испытаний на механический удар (9.12.2.1)

1 - шарнир; 2 - лист фанеры

Рисунок 14 - Монтажное основание аппарата для испытаний на механический удар (9.12.2.1)

1 - съемная стальная пластина толщиной 1 мм; 2 - алюминиевые пластины; 3 - монтажная плита;
4 - планка для ВДТ; 5 - окно в стальной пластине для ВДТ;
6 - ВДТ; а - расстояние между краями окна и внешними поверхностями ВДТ, должно быть от 1 до 2 мм;
b - высота алюминиевых пластин, должна быть такой, чтобы стальная пластина покоилась на упорах ВДТ, или,
в случае отсутствия таких упоров, расстояние от частей, находящихся под напряжением,
которые должны защищаться дополнительными пластинами, до внутренней стороны стальной пластины, должно быть 8 мм

Рисунок 15 - Пример монтажа ВДТ открытого исполнения для испытания на механический удар (9.12.2.1)

1 - съемная стальная пластина; 2 - алюминиевые пластины; 3 - монтажная пластина;
4 - окно в стальной пластине для ВДТ; 5 - ВДТ

Примечание - В особых случаях размеры могут быть увеличены.

Рисунок 16 - Пример монтажа ВДТ, монтируемых на панели, для испытаний на механический удар (9.12.2.1)

Рисунок 17 - Приложение силы для испытания на механический удар ВДТ, монтируемых на планке (9.12.2.2)

1 - стальной шарик диаметром 5 мм; 2 - образец

Рисунок 18 - Аппарат для испытания давлением шарика (9.14.2)

S - источник питания; S1 - двухполюсный выключатель; V - вольтметр; А - амперметр; D - испытуемый ВДТ; R - переменный резистор

Рисунок 19 - Испытательная цепь для проверки предельной величины сверхтока при однофазной нагрузке трех- или четырехполюсного ВДТ (9.18.2)

Рисунок 19а - Ток звенящей волны 0,5 мкс/100 кГц

G - генератор затухания колебаний волны; S1 - выключатель; D - ВДТ;
S - источник питания; L - фазный проводник; N - нулевой рабочий проводник

Если ВДТ имеет зажим заземления, он должен быть соединен с нейтральным зажимом (при наличии), и если знак заземления маркирован на ВДТ или (за неимением его) - с одним из фазных зажимов.

Рисунок 19b - Испытательная цепь для испытания ВДТ звенящей волной

t1 - время, требуемое для достижения 95 - 100 % относительной влажности (не превышающее 1 ч);
t2 - время, требуемое испытуемому образцу, чтобы достичь температурной стабильности

Рисунок 20 - Период стабилизации для испытаний на надежность (9.22.1.3)

1 - конец повышения температуры; 2 - начало снижения температуры;
3 - нижнее значение температуры; 4 - верхнее значение температуры

Рисунок 21 - Цикл испытаний на надежность (9.22.1.3)

U - источник напряжения 1,1Un; S - источник тока; D - испытуемый ВДТ

Рисунок 22 - Пример испытательной цепи для проверки старения электронных компонентов (9.23)

Рисунок 23 - Звенящая волна

G - генератор звенящей волны; D - ВДТ; S - источник питания Если ВДТ имеет зажим заземления,
он должен быть соединен с нейтральным зажимом (при наличии), и если знак заземления маркирован на ВДТ
или (за неимением его) - с одним из фазовых зажимов.

Рисунок 24 - Схема испытания ВДТ звенящей волной

ПРИЛОЖЕНИЕ А

(обязательное)

Испытательные циклы и число образцов, подлежащих испытаниям для целей сертификации

Термин «сертификация» означает:

- либо декларацию изготовителя о соответствии, либо

- сертификацию третьей стороной, например независимым органом по сертификации.

А.1 Испытательные циклы

Испытания проводят согласно таблицы А.1, в порядке, указанном для каждого цикла.

Таблица А.1 - Циклы испытаний

Цикл испытаний

Раздел или пункт настоящего стандарта

Испытание (или проверка)

А

6

Маркировка

 

8.1.1

Общие требования

 

8.1.2

Механизм

 

9.3

Стойкость маркировки

 

8.1.3

Воздушные зазоры и расстояния утечки (только внешних частей)

 

9.15

Механизм свободного расцепления

 

9.4

Надежность винтов, токоведущих частей и соединений

 

9.5

Надежность выводов для внешних проводников

 

9.6

Защита от поражения электрическим током

 

9.13

Теплостойкость

 

8.1.3

Воздушные зазоры и расстояния утечки (внутренние части)

 

9.14

Стойкость к аномальному нагреву и огню

 

9.8

Превышение температуры

 

9.20

Стойкость изоляции к импульсному напряжению

 

9.22.2

Надежность при 40 ºС

 

9.23

Старение электронных компонентов

С

9.10

Механическая и коммутационная износостойкость

D0

9.9

Дифференциальные рабочие характеристики

D1

9.17

Поведение в случае исчезновения напряжения сети

 

9.19

Нежелательное срабатывание

 

9.21

Составляющие постоянного тока

 

9.11.2.3

Работоспособность при Im

 

9.16

Устройство эксплуатационного контроля

 

9.12

Стойкость к механическому толчку и удару

 

9.18

Ток несрабатывания в условиях сверхтока

Е

9.11.2.4а

Координация при Inc

 

9.11.2.2

Работоспособность при Im

F

9.11.2.4b

Координация при Im

 

9.11.2.4с

Координация при IDc

G

9.22.1

Надежность (климатические испытания)

А.2 Число образцов, подлежащих испытаниям по полной программе

Если испытанию подлежат ВДТ одного типа (число полюсов, тип мгновенной защиты), при одном значении номинального тока и одном значении номинального дифференциального тока срабатывания, число образцов, которые подлежат различным испытательным циклам, указано в таблице А.2, где также приведены минимальные критерии оценки работоспособности.

Если все образцы, подлежащие испытаниям, указанные в графе 2 таблицы А.2, прошли испытания, соответствие настоящему стандарту достигнуто. Если только минимальное число образцов, приведенное в графе 3, прошло испытание, должно быть испытано дополнительное число образцов, как указано в 4-й графе, и все они должны удовлетворять требованиям настоящего стандарта.

Для ВДТ, имеющих только один номинальный ток, но более одного значения дифференциального тока срабатывания, каждому испытательному циклу должны подвергаться две отдельные выборки образцов: одна, отрегулированная на наивысший дифференциальный ток срабатывания, другая - на наинизший ток.

Таблица А.2

Цикл испытанияа)

Число образцов

Минимальное число образцов, которые прошли испытанияb)

Минимальное число образцов для дополнительных испытанийс)

1

2

3

4

А

1

1

-

В

3

2

3

С

3

2

3

D

3

2d)

3

Е

3

2d)

3

F

3

2d)

3

G

3

2

3

а) В общей сложности могут быть проведены максимум три испытательных цикла.

b) Предполагается, что образцы, не прошедшие испытания, не удовлетворяют требованиям по причинам дефектов отделки или сборки, не характерных для конструкции.

с) В случае повторных испытаний отказы не допускаются.

d) Все образцы должны быть подвергнуты испытаниям по 9.9.2, 9.9.3 и 9.11.2.3. Так же не должно быть ни в одном образце постоянной дуги или перекрытия между полюсами, или между полюсами и корпусом в течение испытаний по 9.11.2.2, 9.11.2.4.1а, 9.11.2.4.2b или 9.11.2.4.3с.

А.3 Число образцов, подлежащих упрощенной испытательной процедуре при одновременном испытании серии с принципиально одинаковой конструкцией

А.3.1 Если испытаниям в целях сертификации подвергают серию ВДТ с принципиально одинаковой конструкцией или проводят дополнительные испытания такой серии, то число образцов для испытаний может быть уменьшено согласно таблице А.3.

Примечание - Для целей данного приложения термин «принципиально одинаковая конструкция» распространяется на серию ВДТ, имеющих ряды номинальных токов (In), ряды номинальных отключающих дифференциальных токов (IDn) и/или разное число полюсов.

ВДТ могут считаться имеющими принципиально одинаковую конструкцию, если:

1) они имеют одну базовую конструкцию; зависящие от напряжения и не зависящие от напряжения типы не могут быть вместе в одной серии;

2) устройства, управляемые дифференциальным током, имеют одинаковый механизм расцепления и идентичное реле или соленоид, исключая отличия, допускаемые в подпунктах с) и d);

3) материалы, отделка и размеры внутренних токоведущих частей одинаковы, допускаемые отклонения приведены в подпункте а);

4) выводы имеют одинаковую конструкцию (см. подпункт b);

5) размеры контактов, материал, конфигурация, способ крепления одинаковы;

6) механизм ручного управления, материал и физические характеристики одинаковы;

7) литьевые и изоляционные материалы одинаковы;

8) способ, материал и конструкция дугогасительных устройств одинаковы;

9) базовая конструкция датчика дифференциального тока одинакова для данного типа характеристики, допускаемые отклонения см. в подпункте с);

10) базовая конструкция устройства расцепления от дифференциального тока одинакова, кроме отклонений, допускаемых в подпункте d);

11) базовая конструкция контрольного устройства одинакова, исключая отклонения, допускаемые в подпункте е).

Допускаются следующие отклонения при условии, что ВДТ соответствует во всех других отношениях требованиям, приведенным в 1) - 11):

a) сечений внутренних токоведущих частей и длины соединений тороидального трансформатора;

b) размеров выводов;

c) числа витков и сечений, размеров и материалов сердечника дифференциального трансформатора;

d) чувствительности реле и/или подсоединенных электронных цепей, если они имеются;

e) значений сопротивления средств для создания наибольших ампер-витков, необходимых для выполнения испытаний по 9.16. Цепь может быть подключена между фазами или между фазой и нейтралью.

А.3.2 Для ВДТ, имеющих одинаковую классификацию согласно поведению, обусловленному составляющими постоянного тока (4.6), и одинаковую классификацию согласно временной задержке (4.7), число образцов для испытаний может быть уменьшено согласно таблице А.3.

Таблица А.3

Цикл испытаний

Число образцов, соответствующих числу полюсова)

Два полюсаb), с)

Три полюсаd), f)

Четыре полюсае)

А

1

1

1

 

In max

In max

In max

 

IDn min

IDn min

IDn min

В

3

3

3

 

In max

In max

In max

 

IDn min

IDn min

IDn min

С

3

3

3

 

In max

In max

In max

 

IDn min

IDn min

IDn min

D0 + D1

3

3

3

 

In max

In max

In max

 

IDn min

IDn min

IDn min

D0

Один для всех других значений IDn

Е

3

3

3

 

In max

In max

In max

 

IDn min

IDn min

IDn min

F

3

3

3

 

In max

In max

In max

 

IDn min

IDn min

IDn min

 

3g)

3g)

3g)

 

In max

In max

In max

 

IDn min

IDn min

IDn min

G

3

3

3

 

In max

In max

In max

 

IDn min

IDn min

IDn min

 

3g)

3g)

3g)

 

In max

In max

In max

 

IDn min

IDn min

IDn min

а) Если испытания согласно минимальным критериям работоспособности, указанные в А.2, должны быть повторены, новая выборка образцов должна быть использована для соответствующих испытаний. При повторных испытаниях все образцы должны выдерживать испытания.

b) Если испытаниям подлежат только трех- или четырехполюсные АВДТ, эта графа должна применяться также к выборке образцов с наименьшим числом полюсов.

с) Также применима к однополюсному АВДТ с некоммутируемой нейтралью и двухполюсному АВДТ с одним защищенным полюсом.

d) Также применима для трехполюсного АВДТ с двумя защищенными полюсами.

е) Также применима к трехполюсному АВДТ с некоммутируемой нейтралью и четырехполюсному АВДТ с тремя защищенными полюсами.

f) Значение этой графы не используют при испытаниях четырехполюсных АВДТ.

g) Если имеет место только одна величина IDn, эти образцы не требуются.

ПРИЛОЖЕНИЕ В

(обязательное)

Определение воздушных зазоров и расстояний утечки

При определении воздушных зазоров и расстояний утечки рекомендуется учесть следующее.

Если на воздушный зазор или расстояние утечки влияют одна или несколько металлических частей, сумма отрезков должна быть не меньше установленной минимальной величины.

Отдельные отрезки длиной менее 1 мм при расчете полной длины воздушных зазоров и расстояний утечки учитывать не следует.

При определении расстояний утечки:

- канавки шириной и глубиной не менее 1 мм следует измерять по контуру;

- канавками, имеющими любой размер меньшей величины, следует пренебречь;

- ребра высотой не менее 1 мм:

измеряют по контуру, если они составляют неотъемлемую часть детали из изоляционного материала (например, литые, приваренные или прикрепленные);

измеряют по более короткому из двух путей: по стыку или профилю гребня, если они не составляют неотъемлемую часть детали из изоляционного материала.

Применение - Эти рекомендации иллюстрируются на следующих рисунках:

- рис В.1 - В.3 - показано включение или исключение канавки при расчете расстояния утечки;

- рис В.4 и В.5 - показано включение или исключение ребра при расчете расстояния утечки;

- рис В.6 - при расчете стыка, когда ребро образуется введением изоляционного барьера, наружный профиль которого длиннее;

- рис В.7 - В.10 - при расчете расстояние утечки для крепежа, расположенного в углублениях изолирующих частей из изоляционного материала.

Рисунок В.1

Рисунок В.2

Рисунок В.3

Рисунок В.4

Рисунок В.5

Рисунок В.6

Рисунок В.7

Рисунок В.8

Рисунок В.9

Рисунок В.10

Размеры в миллиметрах

А - изоляционный материал; С - проводящая часть; F - расстояние утечки

Рисунки В.1 - В.10 - Иллюстрации к определению путей утечки

ПРИЛОЖЕНИЕ С

(обязательное)

Устройство для испытания при коротком замыкании

Испытуемый аппарат монтируют, как показано на рисунке С.1, при этом могут потребоваться отдельные изменения в креплении с учетом особенностей конструкции аппарата в соответствии с инструкциями изготовителя.

Если это требуется для операций О, чистый полиэтиленовый лист толщиной 0,05+0,01 мм, размером в каждом направлении по крайней мере на 50 мм больше максимальных размеров фронтальной стороны аппарата, но не менее чем 200 - 200 мм, крепят и в разумных пределах натягивают на рамке, расположенной на расстоянии 10 мм либо от наибольшего выступа органов управления для аппарата без углубления для этих органов, либо от края углубления для органов управления для аппарата с углублением для этих органов.

Полиэтиленовый лист должен иметь следующие физические характеристики:

плотность при 23 °С.................................. (0,92 ± 0,05) г/см3

точка плавления......................................... 110 - 120 °С

Если требуется, барьер из изоляционного материала толщиной как минимум 2 мм размещают, как показано на рисунке С.1, между отверстиями для выхода дуги и листом для предотвращения повреждения последнего горячими частицами, вылетающими из отверстий для выхлопа дуги. Когда требуется, сетку (и) согласно рисунку С.2 располагают на расстоянии «а» от каждого отверстия для выхлопа с двух сторон аппарата.

Цепь сетки (см. рисунок С.3) должна быть присоединена к точкам В и С. Параметры цепи сетки должны быть следующими:

резистор R'............................................................................. 1,5 Ом

медная проволока плавкого предохранителя F'.................. длина 50 мм

диаметр - как требуется в 9.11.2.1f1).

1 - к предохранителю F; 2 - металлическая пластина; 3 - кабель; 4 - отверстие для выхлопа дуги;
5 - сетка; 6 - барьер; 7 - полиэтиленовый лист; 8 - рамка

Рисунок С.1 - Испытательное устройство

1 - рамка из изоляционного материала; 2 - медные проволочки; 3 - металлическое соединение медных проволок

Рисунок С.2 - Сетка

F' - плавкий предохранитель; R' - резистор

Рисунок С.3 - Цепь сетки

ПРИЛОЖЕНИЕ D

(обязательное)

Приемо-сдаточные испытания

Испытания, приведенные в настоящем стандарте, предназначены для выявления, насколько возможно в условиях неповреждения неприемлемые отклонения в материале или изделиях.

Испытания должны проводиться для удостоверения, что ВДТ соответствуют образцам, выдерживающим испытания по данному стандарту, согласно опыту, накопленному производителем.

D.1 Проверка расцепления

Дифференциальный ток пропускают через каждый полюс ВДТ поочередно. ВДТ не должен срабатывать при токе меньшем или равным 0,5IDn, но должен срабатывать при токе, равном IDn в течение установленного времени (см. таблицу 1).

Испытательный ток должен прикладываться как минимум пять раз к каждому ВДТ и как минимум дважды к каждому полюсу.

D.2 Проверка электрической прочности

Напряжение практически синусоидальной формы волны 1500 В, частотой 50/60 Гц прикладывают в течение 1 с между следующими частями:

a) при ВДТ в разомкнутом состоянии - между каждой парой выводов, которые электрически соединены, когда ВДТ находится в замкнутом состоянии;

b) для ВДТ, не имеющих встроенных электронных компонентов, при ВДТ в замкнутом состоянии - между каждым полюсом поочередно и остальными полюсами, соединенными вместе;

c) для ВДТ со встроенными электронными компонентами, при ВДТ в разомкнутом состоянии - либо между всеми входными выводами полюсов поочередно, либо между всеми выходными выводами полюсов поочередно, в зависимости от расположения электронных компонентов.

Перекрытий и пробоев не должно быть.

D.3 Работоспособность контрольного устройства

При ВДТ в замкнутом состоянии, подключенном к источнику питания надлежащего напряжения, контрольное устройство, приведенное в действие, обязано отключить ВДТ.

Если контрольное устройство предназначено для работы на более чем одном значении номинального напряжения, испытание должно проводиться на самом низком значении номинального напряжения.

ПРИЛОЖЕНИЕ Е

(обязательное)

Перечень испытаний, дополнительных циклов испытаний и число образцов
для проверки соответствия ВДТ требованиям электромагнитной совместимости (ЭМС)

В настоящем приложении указаны все испытания и циклы испытаний, ВДТ для проверки их электромагнитной совместимости.

Испытания, циклы испытаний и минимальные критерии работоспособности указаны в приложении А.

В пункте Е.2 указаны дополнительные испытания, число образцов, циклы испытаний и минимальные критерии для проверки по полной программе соответствия ВДТ требованиям ЭМС.

Условия испытаний и критерии требований к ЭМС для ВДТ приведены в ГОСТ Р 51329.

Электромагнитная совместимость ВДТ

Е.1 Испытания на ЭМС, включенные в настоящий стандарт, ВДТ конкретных типов

В третьей графе таблицы Е.1 приведены испытания, включенные в циклы испытаний приложения А, обеспечивающие соответствующий уровень стойкости к электромагнитным помехам, указанным в графе 2.

Таблица Е.1

Ссылка на таблицы 1 и 2 ГОСТ Р 51329

Электромагнитная помеха

Пункт испытаний настоящего стандарта

1

2

3

1.3

Изменение амплитуды напряжений

9.9.5 и 9.17

1.4

Несимметрия напряжений

9.9.5 и 9.17

1.5

Изменение частоты питания

9.2

1.8

Излучение электромагнитного поля

9.11 и 9.18

2.4

Пульсация тока (колебательные помехи)

9.19

Е.2 Дополнительные испытания на ЭМС ВДТ конкретного типа

Следующие испытания в соответствии с ГОСТ Р 51329 должны проводиться по таблице Е.2.

Если не указано иное, каждый цикл испытаний проводят на трех новых образцах.

Если все образцы, представленные согласно графе 5 таблицы Е.2, выдержали испытания, соответствие стандарту достигнуто. Если минимальное число образцов, указанное в графе 6, выдержало испытания, тогда следует провести испытания дополнительных образцов, как указано в графе 7, и все они должны удовлетворительно завершить цикл испытаний.

Таблица Е.2

Цикл испытаний

Номер таблицы по ГОСТ Р 51329

Пункт ГОСТ Р 51329

Электромагнитная помеха

Число образцов

Минимальное число образцов, которые должны выдержать испытания

Максимальное число образцов для повторных испытаний

1

2

3

4

5

6

7

Е.2.1*

4

1.1

Гармоники, гармоники разной частоты (интергармоники)

3

IDn min

2

3

 

4

1.2

Сигналы, передаваемые по силовым линиям

Любое In

 

 

 

5

2.3

Микросекундные импульсные помехи большой энергии, помехи миллисекундной длительности

 

 

 

Е.2.2

5

2.1 и 2.5

Кондуктивные радиочастотное напряжение и токи. Излученное электромагнитное поле

3

2

3

 

 

 

IDn min

 

 

Е.2.2

5

2.2

Наносекундные импульсные помехи; подачи помехи по схеме «проводник - земля»

Любое In

 

 

Е.2.3

6

3.1

Электростатические разряды

3

2

3

 

 

 

 

IDn min

 

 

 

 

 

 

Любое In

 

 

Для устройств, содержащих генераторы постоянного действия, испытания на образцах по ГОСТ Р 51318.14.1 должны проводиться до испытаний по данному циклу.

Примечание - По рекомендации изготовителя один и тот же комплект образцов может использоваться в нескольких циклах испытаний.

ПРИЛОЖЕНИЕ F

(обязательное)

Дополнительные требования, учитывающие потребности экономики страны
и требования действующих государственных стандартов, а также рекомендации по их учету
при разработке, изготовлении и эксплуатации ВДТ

F.1 Требования к стойкости к внешним воздействующим факторам

F.1.1 Номинальные и предельные значения климатических факторов, отличающиеся от приведенных в настоящем стандарте, должны соответствовать ГОСТ 15543.1 и ГОСТ 15150.

F.1.2 Конкретные требования по воздействию механических факторов, отличающиеся от приведенных в настоящем стандарте, должны соответствовать группам условий эксплуатации по ГОСТ 17516.1.

F.2 Требования к консервации, упаковке, транспортированию и хранению

F.2.1 Требования к консервации и упаковке - по ГОСТ 23216.

F.2.2 Условия транспортирования устанавливают в зависимости от назначения ВДТ по ГОСТ 23216 и ГОСТ 15150.

F.3 Выводы ВДТ должны допускать присоединение алюминиевых проводов и кабелей и соответствовать ГОСТ 24753.

F.4 Требования к защитным покрытиям

Металлические детали корпуса ВДТ должны иметь защитные покрытия в соответствии со стандартами единой системы защиты от коррозии и старения материалов и изделий.

Контактные участки выводов ВДТ должны иметь защитные покрытия по ГОСТ 9.005.

F.5 Виды испытаний и правила приемки

F.5.1 В настоящем стандарте виды испытаний и их наименования приняты по МЭК 61008-1.

Программа типовых испытаний по МЭК 61008-1 является основой для установления программ контрольных испытаний любых видов по ГОСТ 16504.

F.5.2 ВДТ подвергают квалификационным, периодическим, приемо-сдаточным и типовым испытаниям; порядок их проведения должен соответствовать ГОСТ Р 15.201; периодичность испытаний, программы испытаний и условия их проведения должны устанавливаться в стандартах и технических условиях на ВДТ конкретных серий и типов.

Программы приемочных и квалификационных испытаний ВДТ должны включать в себя полную программу типовых испытаний по настоящему стандарту, а также испытания на стойкость к внешним воздействующим факторам, проверку защитных покрытий, испытания на надежность по ГОСТ 27.003 и ГОСТ 27.410.

F.5.3 Правила приемки ВДТ должны устанавливаться в стандартах и технических условиях на выключатели конкретных серий и типов.

F.6 Требования к гарантии

Изготовитель должен гарантировать надежную работу ВДТ в течение определенного срока эксплуатации, который должен быть не менее пяти лет с момента ввода в эксплуатацию.

F.7 Рекомендации по учету дополнительных требований

При разработке, изготовлении и эксплуатации ВДТ учет требований действующих государственных стандартов должен осуществляться на основе опросных листов, в которых должен быть определен и согласован с потребителем перечень дополнительных требований и требований, изменяющих положения настоящего стандарта, исходя из условий функционирования и эксплуатации ВДТ в электроустановках потребителя в соответствии с комплексом ГОСТ Р 50571 «Электроустановки зданий». В настоящем приложении использованы ссылки на следующие стандарты:

ГОСТ 9.005-72            Единая система защиты от коррозии и старения. Металлы, сплавы, металлические и неметаллические неорганические покрытия. Допустимые и недопустимые контакты с металлами и неметаллами

ГОСТ Р 15.201-2000   Система разработки и постановки продукции на производство. Продукция производственно-технического назначения. Порядок разработки и постановки продукции на производство

ГОСТ 27.003-90          Надежность в технике. Состав и общие правила задания требований по надежности

ГОСТ 27.410-87          Надежность в технике. Методы контроля показателей надежности и планы контрольных испытаний на надежность

ГОСТ 15150-69           Машины, приборы и другие технические изделия. Исполнения для различных климатических районов. Категории, условия эксплуатации, хранения и транспортирования в части воздействия климатических факторов внешней среды

ГОСТ 15543.1-89        Изделия электротехнические. Общие требования в части стойкости к климатическим внешним воздействующим факторам

ГОСТ 16504-81           Система государственных испытаний продукции. Испытания и контроль качества продукции. Основные термины и определения

ГОСТ 17516.1-90        Изделия электротехнические. Общие требования в части стойкости к механическим внешним воздействующим факторам

ГОСТ 23216-78           Изделия электротехнические. Хранение, транспортирование, временная противокоррозионная защита, упаковка. Общие требования и методы испытаний

ГОСТ 24753-81           Выводы контактные электротехнических устройств. Общие технические требования

ПРИЛОЖЕНИЕ 1А

(рекомендуемое)

Методы определения коэффициента мощности при коротком замыкании

В настоящем стандарте единого метода точного определения коэффициента мощности при коротком замыкании не установлено. В данном приложении приведены два рекомендуемых метода.

Метод I. Определение по составляющей постоянного тока

Угол j можно определить по кривой составляющей постоянного тока асимметричной волны между моментами короткого замыкания и разъединения контактов следующим способом.

1А.1 Формула составляющей постоянного тока

где id - составляющая постоянного тока в момент t;

id0 - составляющая постоянного тока в начальный момент отсчета времени;

L/R - постоянная времени цепи, с;

t - время от начального момента, с;

е - основание натурального логарифма.

Постоянная времени L/R может быть определена по вышеприведенной формуле следующим образом:

а) замерить величину id0 в момент короткого замыкания и id в другой момент t перед разделением контактов;

в) определить величину е-Rt/L, разделив id на id0;

c) по таблице значений е установить величину х, соответствующую значению соотношения id/id0;

d) величина х соответствует Rt/L, откуда рассчитывают L/R.

1А.2 Угол j рассчитывают по формуле

j = arctg wL/R,

где w = 2p фактической частоты.

Этот метод не применим, если токи измеряются трансформаторами тока.

Метод II. Определение с помощью вспомогательного генератора

Если используют вспомогательный (контрольный) генератор, расположенный на одном валу с испытательным генератором, напряжение вспомогательного генератора на осциллограмме можно сравнить по фазе вначале с напряжением испытательного генератора, а затем с током последнего.

Разность фазовых углов между напряжениями вспомогательного и главного генераторов, с одной стороны, и напряжением вспомогательного генератора и током испытательного генератора, с другой стороны, равняется фазовому углу между напряжением и током испытательного генератора, по которому можно определить коэффициент мощности.

ПРИЛОЖЕНИЕ 1B

(рекомендуемое)

Условное обозначение номинальных параметров и характеристик

Номинальный ток

In

Дифференциальный ток

ID

Номинальный отключающий дифференциальный ток

IDn

Номинальный неотключающий дифференциальный ток

IDn0

Номинальное напряжение

Un

Номинальное рабочее напряжение

Uc

Номинальное напряжение изоляции

Ui

Номинальная наибольшая включающая и отключающая способность

Im

Номинальная наибольшая дифференциальная включающая и отключающая способность

IDm

Номинальная условная наибольшая коммутационная способность (номинальный условный ток короткого замыкания)

Inc

Номинальная условная наибольшая дифференциальная коммутационная способность (номинальный условный дифференциальный ток короткого замыкания)

IDc

Предельное значение напряжения сети, при котором ВДТ, функционально зависящий от напряжения сети, не отключается

Ux

Предельное значение напряжения сети, ниже которого ВДТ, функционально зависимый от напряжения сети, автоматически отключается

Uy

ПРИЛОЖЕНИЕ 1С

(рекомендуемое)

Примеры конструкции выводов

В выводах канал для подсоединения проводника должен иметь диаметр, достаточный для размещения жесткого однопроволочного проводника, и площадь поперечного сечения, достаточную, чтобы в него можно было вставить жесткий многопроволочный проводник.

Часть вывода, снабженная резьбовым отверстием, и часть, к которой винтом прижимают провод, могут быть двумя различными частями, как в выводе с хомутиком.

Рисунок 1С.1 - Примеры столбчатых выводов

Винты, не требующие применения шайбы или прижимной пластины

Винты, требующие шайбы, прижимной пластины или приспособления, препятствующего выскальзыванию жилы

1 - необязательная часть (винтовые выводы); 2 - обязательная часть (штыревые выводы);
А - неподвижная часть; В - шайба или прижимная пластина; С - устройство, препятствующее выскальзыванию жилы;
D - канал для проводника; Е - штырь

Часть, удерживающая проводник в заданном положении, может выполняться из изоляционного материала при условии, что давление, необходимое для зажима этого проводника, не передается через этот изоляционный материал.

Рисунок 1С.2 - Примеры винтовых и штыревых выводов

А - планка; В - неподвижная часть; С - штырь; D - канал для проводника.

Обе стороны планки посредством ее переворачивания могут иметь различную форму для размещения проводников с малой или большой площадью поперечного сечения.

Выводы могут иметь более двух зажимных винтов или штырей.

Рисунок 1С.3 - Примеры пластинчатых выводов

А - запорное устройство; В - кабельный наконечник или шина; Е - неподвижная часть; F - штырь

Для выводов этого типа необходима упругая шайба или аналогичное эффективное запорное устройство, и поверхность в зоне зажима должна быть гладкой.

Для некоторых типов оборудования допускается применение выводов для кабельных наконечников и шин меньших размеров, чем требуется.

Рисунок 1С.4 - Примеры выводов для кабельных наконечников и шин

ПРИЛОЖЕНИЕ 1D

(рекомендуемое)

Соотношение между размерами медных проводников в системах ISO и AWG

Размер по ISO, мм2

Система AWG

Размер по ISO, мм2

Система AWG

Размер

Поперечное сечение, мм2

Размер

Поперечное сечение, мм2

1,0

18

0,82

10,0

8

8,4

1,5

16

1,3

16,0

6

13,3

2,5

14

2,1

25,0

3

26,7

4,0

12

3,3

35,0

2

33,6

6,0

10

5,3

50,0

0

53,5

Как правило, размеры по ISO предпочтительны.

По требованию изготовителя возможно использование размеров AWG.

(AWG - американский сортамент проволоки и проводов).

ПРИЛОЖЕНИЕ 1E

(рекомендуемое)

Периодический контроль качества ВДТ

1Е.1 Общие положения

Для обеспечения стабильности уровня качества изделий изготовителем должно быть организовано проведение периодического контроля процесса производства.

В настоящем приложении дан пример проведения периодического контроля при изготовлении ВДТ.

Периодический контроль может быть использован изготовителями в качестве руководства для внесения изменений в процедуры контроля качества с целью сохранения требуемого уровня качества ВДТ.

В частности, могут быть предприняты все необходимые меры в организации входного контроля материалов и комплектующих и в производстве ВДТ для обеспечения качества изготавливаемой продукции, от которых зависит безопасная работа ВДТ.

1Е.2 Периодический контроль

Периодический контроль включает два вида испытательных программ.

1Е.2.1 Квартальная испытательная программа

См. таблицу 1Е.1, цикл испытаний Q.

1Е.2.2 Годовая испытательная программа

См. таблицу 1Е.1, циклы испытаний Y1 - Y3.

Примечание - Годовая испытательная программа может сочетаться с квартальной испытательной программой.

Таблица 1Е.1 - Циклы испытаний во время календарного контроля

Цикл испытаний

Пункт

Испытание

Замечание

Q

9.16

Испытательное устройство

Пункты b) и с), кроме проверки ампер-витков испытательной цепи

9.9.2.1

Рабочие характеристики дифференциального тока

 

9.9.2.3

То же

 

9.20

Устойчивость электрической изоляции к импульсным напряжениям

Проводится между каждым полюсом по очереди

Y1

9.9.4

Рабочие характеристики дифференциального тока

-

9.7

Испытания электроизоляционных свойств

9.10

Механическая и коммутационная износостойкость

Y2

9.22.1

Надежность (климатические испытания)

-

Y3

9.23

Сопротивление старению

-

1Е.2.3 Методика отбора образцов

1Е.2.3.1 Квартальная испытательная программа

В рамках этой программы проводят:

- нормальный контроль;

- усиленный контроль.

Нормальный контроль применяют для первой календарной проверки.

Для последующих проверок применяют нормальный или усиленный контроль, или остановку производства, в зависимости от результатов текущих испытаний.

Для перехода от одного уровня контроля к другому должны применяться следующие критерии:

- сохранение нормального уровня контроля.

При нормальном контроле нормальный уровень сохраняют, если все шесть образцов выдержали цикл испытаний (см. таблицу 1Е.2, цикл Q). Если цикл испытаний выдержали пять образцов, последующий контроль проводят лишь спустя месяц после предыдущего с тем же числом образцов и в том же цикле испытаний;

- переход от нормального к усиленному контролю.

При нормальном контроле переход на усиленный контроль осуществляется, если только четыре образца выдержали цикл испытаний;

- переход от нормального контроля к остановке производства.

Если при нормальном контроле менее четырех образцов выдержали цикл испытаний, производство должно быть остановлено до принятия мер по улучшению качества продукции;

- переход от усиленного к нормальному контролю.

Если проводят усиленный контроль, к нормальному контролю следует переходить, если по крайней мере 12 образцов выдержали цикл испытаний (см. таблицу 1Е.2);

- сохранение уровня усиленного контроля.

Если при усиленном контроле только 10 или 11 образцов выдержали цикл испытаний, уровень усиленного контроля сохраняют и последующий контроль проводят спустя месяц после предшествующего с тем же числом образцов и в том же самом цикле испытаний;

- переход от усиленного контроля к остановке производства.

В случае, если четыре последовательных контроля проводились в режиме усиленного контроля или когда менее 10 образцов выдержали цикл испытаний, производство должно быть остановлено до улучшения качества продукции;

- возобновление производства.

Производство можно возобновить после выполнения соответствующих согласованных корректирующих действий.

Возобновление производства должно проводиться в условиях усиленного контроля.

1E.2.3.2 Годовая испытательная программа

В рамках этой программы проводят:

- нормальный контроль;

- усиленный контроль.

Для первой календарной проверки применяют нормальный контроль.

Для последующих проверок применяют нормальный или усиленный контроль, в зависимости от результатов контрольных испытаний.

Для перехода от одного уровня к другому должны применяться следующие критерии:

- сохранение нормального уровня контроля.

При нормальном контроле нормальный уровень сохраняют, если все образцы выдержали цикл испытаний. Если два образца выдержали цикл испытаний Y1 и во время испытаний по циклам Y2 и Y3 не произошло отказов, последующий контроль проводят спустя 3 мес после предыдущего с таким же числом образцов и в тех же циклах испытаний;

- переход от нормального к усиленному контролю.

При нормальном контроле должен осуществляться переход к усиленному контролю, если:

только один образец выдержал цикл испытаний Y1;

произошел один отказ во время одного из циклов испытаний Y2 или Y3.

Последующий контроль должен проводиться в спустя 3 мес от предшествующего на уровне усиленного контроля для любого цикла, в котором произошел отказ, и на уровне нормального контроля для всех других циклов испытаний;

- переход от нормального контроля к остановке производства.

Если при нормальном контроле ни один из образцов не выдержал цикл испытаний Y1 или произошло более одного отказа во время циклов испытаний Y2 и Y3, производство должно быть остановлено до улучшения качества продукции;

- от усиленного контроля к нормальному.

При усиленном контроле переход к нормальному контролю должен осуществляться, когда:

по крайней мере пять образцов выдержали цикл испытаний Y1, и

ни одного отказа не произошло во время циклов испытаний Y2 или Y3;

- сохранение усиленного контроля.

Если на уровне усиленного контроля только четыре образца выдержали цикл испытаний Y1 и не было отказов в циклах Y2 или Y3, уровень усиленного контроля сохраняют и следующую проверку проводят спустя 3 мес после предшествующей с тем же числом образцов и в тех же циклах испытаний;

- переход от усиленного контроля к остановке производства.

В случае, когда четыре последовательные проверки остаются на усиленном уровне или когда во время годового контроля произошел один из случаев отказов:

менее четырех образцов выдержали цикл испытаний Y1,

произошло более одного отказа во время испытаний Y2 или Y3, производство должно быть остановлено до улучшения качества продукции;

- возобновление производства.

Производство можно возобновить после соответствующих согласованных корректирующих мероприятий. Возобновление производства должно осуществляться в условиях усиленного контроля.

1Е.2.4 Число образцов, подлежащих испытаниям

Число образцов для разных уровней контроля приведено в таблице 1Е.2

Таблица 1Е.2 - Число образцов, подлежащих испытаниям

Контрольный цикл

Число образцов

для нормального контроля

для усиленного контроля

Q

6

13

Y1 - Y3

По 3 для каждого цикла

По 6 для каждого цикла

Из каждой серии ВДТ одной и той же базовой конструкции необходимо испытать только один комплект образцов, независимо от номинальных параметров.

В рамках периодической испытательной программы ВДТ считают принадлежащими к одному типопредставителю, если они подлежат одинаковой классификации по 4.1 и:

а) устройства, управляемые дифференциальным током, имеют идентичный механизм расцепления и идентичные реле или соленоид, за исключением:

- числа витков и сечений проводов обмоток,

- размеров и материала сердечника дифференциального трансформатора,

- номинального дифференциального тока;

б) электронная часть, если имеется, одной и той же конструкции и состоит из таких же компонентов, кроме изменений, связанных с получением разных значений IDn.

ПРИЛОЖЕНИЕ 1F

(справочное)

Отличия европейского стандарта EN 61008-1 от международного стандарта МЭК 61008-1-96

В настоящем приложении приведены основные отличия норм и требований, установленных в европейском стандарте EN 61008-1 (август 1994 г.) с изменениями и дополнениями: EN 61008-1/A11 (ноябрь 1995 г.), EN 61008-1/A2 (ноябрь 1995 г.), EN 61008-1/A13 (апрель 1998 г.), EN 61008-1/A14 (март 1998 г.), EN 61009-1/ А12 (март 1998 г.) от международного стандарта МЭК 61008-1-96.

Раздел 1. Область применения

Стандарт EN 61008-1 распространяется на ВДТ только стационарного исполнения, исключены требования к ВДТ, встраиваемых в штепсельные вилки и розетки.

Стандарт не распространяется на ВДТ, рассчитанные более чем на одно значение номинального тока.

Раздел 4. Классификация

В стандарте EN 61008-1 исключены ВДТ по 4.2.

Дополнительно включена таблица Z1, характеризующая особенности маркировки ВДТ в зависимости от их применения для обеспечения защиты от поражения электрическим током при аварийных ситуациях.

Исключены:

- однополюсные ВДТ с двумя токовыми путями;

- трехполюсные ВДТ с четырьмя токовыми путями.

Исключены ВДТ с регулированием уставок отключающего дифференциального тока (4.4).

Дополнительно включен пункт 4.11:

«4.11 В зависимости от диапазона температур окружающего воздуха:

- ВДТ для использования при температуре от минус 5 до плюс 40 °С;

- ВДТ для использования при температуре от минус 25 до плюс 40 °С.»

Раздел 5 Характеристики ВДТ

Дополнительно включен пункт 5.3.13:

«5.3.13 Стандартные диапазоны температур окружающего воздуха:

- от минус 5 до плюс 40 °С;

- от минус 25 до плюс 40 °С.»

Раздел 6 Маркировка и другая информация об изделии

Подпункт g) исключен.

Дополнительно включен подпункт s), обозначающий использование ВДТ в диапазоне температур от минус 25 до плюс 40 °С символом .

Дополнительно включены пункты 6.2 и 6.3, уточняющие содержание маркировки.

Раздел 7 Номинальные условия эксплуатации и монтажа

В таблицу 2 внесены диапазоны температур окружающего воздуха от минус 5 до плюс 40 °С.

Примечание 7 к таблице 4 изложено в новой редакции:

«7 В процессе хранения и при транспортировании допустимы предельные значения температур окружающего воздуха, равные от минус 20 до плюс 60 °С для ВДТ, предназначенных для использования при температурах от минус 25 до плюс 40 °С.

Эти условия следует учитывать в конструкции ВДТ.

Раздел 8 Требования к конструкции и функционированию

Основные отклонения связаны с изменениями области применения стандарта EN 61008-1.

Дополнительно включен пункт 8.17:

«8.17 Поведение ВДТ при низких температурах окружающего воздуха.

Соответствие этому требованию проверяют по 9.24.»

Раздел 9 «Испытания»

Перечень типовых испытаний по таблице 7 дополнительно включено испытание по 9.24.

Пункт 9.11.2.1. Подпункт d). Первый абзац. Заменено значение 105 % на 110 %.

ПРИЛОЖЕНИЕ К

(справочное)

Библиография

[1]    МЭК 60364-4-443 (1995) Электроустановки зданий. Часть 4. Требования по обеспечению безопасности. Глава 44. Защита от перенапряжений. Раздел 443. Защита от атмосферных и коммутационных перенапряжений

[2]    МЭК 60364-5-53 (1994) «Электроустановки зданий. Часть 5. Выбор и монтаж электрооборудования. Глава 53. Коммутационная аппаратура и аппаратура управления

[3]    МЭК 60060-2 (1994) Испытания высоким напряжением. Часть 2. Измерительные системы

Ключевые слова: выключатели автоматические, дифференциальный ток без встроенной защиты от сверхтока, номинальное напряжение, ток короткого замыкания, нулевой защитный проводник, вспомогательный источник питания

 

 



© 2013 Ёшкин Кот :-)