Скачать ТУ 34-38-20197-94 Вентили для пара и воды Ду 10, 20, 40, 50, 65 мм Чеховского завода энергетического машиностроения. Технические условия на капитальный ремонтДата актуализации: 10.08.2017 ТУ 34-38-20197-94
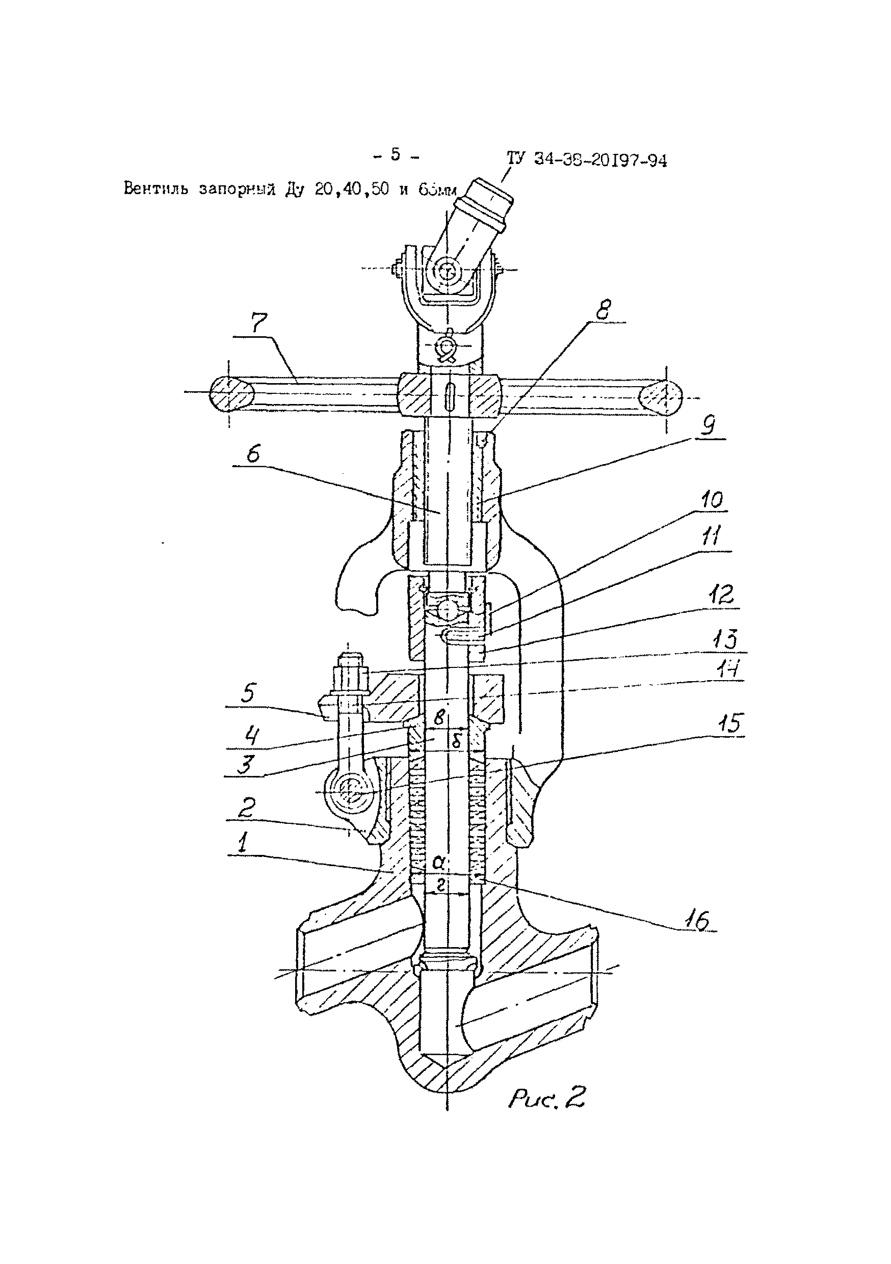
Вентили для пара и воды Ду 10, 20, 40, 50, 65 мм Чеховского завода энергетического машиностроения. Технические условия на капитальный ремонтОбозначение: | ТУ 34-38-20197-94 | Обозначение англ: | TU 34-38-20197-94 | Статус: | действует | Название рус.: | Вентили для пара и воды Ду 10, 20, 40, 50, 65 мм Чеховского завода энергетического машиностроения. Технические условия на капитальный ремонт | Дата добавления в базу: | 01.09.2013 | Дата актуализации: | 05.05.2017 | Область применения: | Технические условия распространяются на капитальный ремонт вентилей для пара и воды, изготавливаемые Чеховским заводом энергетического машиностроения, в течение полного срока службы, установленного согласно ТУ завода-изготовителя. | Оглавление: | 1. Введение 2. Общие технические требования 3. Требования к составным частям 4. Требования к собранному изделию 5. Испытания 6. Консервация 7. Маркировка 8. Упаковка, транспортирование и хранение 9. Комплектность 10. Гарантии Приложение 1. Перечень вентилей и техническая характеристика Приложение 2. Перечень документов, упомянутых в ТУ Приложение 3. Материалы составных частей и их заменители Приложение 4. Сводная таблица норм зазоров (натягов) Приложение 5. Перечень контрольно-измерительных инструментов и приборов | Разработан: | АООТ ЦКБ Энергоремонт
| Утверждён: | РАО ЕЭС России (UES of Russia RAO )
| Принят: | Главтехуправление ПО Союзтехэнерго Союзэнергоремтрест Чеховский завод энергетического машиностроения
| Расположен в: |
| Заменяет собой: | | Нормативные ссылки: | |
                                         
|