| ||||||||||||||||||||||||||||||||||||
Скачать ГОСТ 21.501-2011 Система проектной документации для строительства. Правила выполнения рабочей документации архитектурных и конструктивных решенийДата актуализации: 10.08.2017
|
| Обозначение: | ГОСТ 21.501-2011 |
| Обозначение англ: | GOST 21.501-2011 |
| Статус: | действует |
| Название рус.: | Система проектной документации для строительства. Правила выполнения рабочей документации архитектурных и конструктивных решений |
| Название англ.: | System of design documents for construction. Rules for execution of the working documentation of architectural and construction solutions |
| Дата добавления в базу: | 01.10.2014 |
| Дата актуализации: | 05.05.2017 |
| Дата введения: | 01.05.2013 |
| Область применения: | Стандарт устанавливает состав и правила оформления рабочей документации архитектурных и конструктивных решений зданий и сооружений различного назначения, а также рабочей документации на строительные изделия. Состав и правила оформления рабочей документации конструктивных решений металлических строительных конструкций установлены в ГОСТ 21.502. |
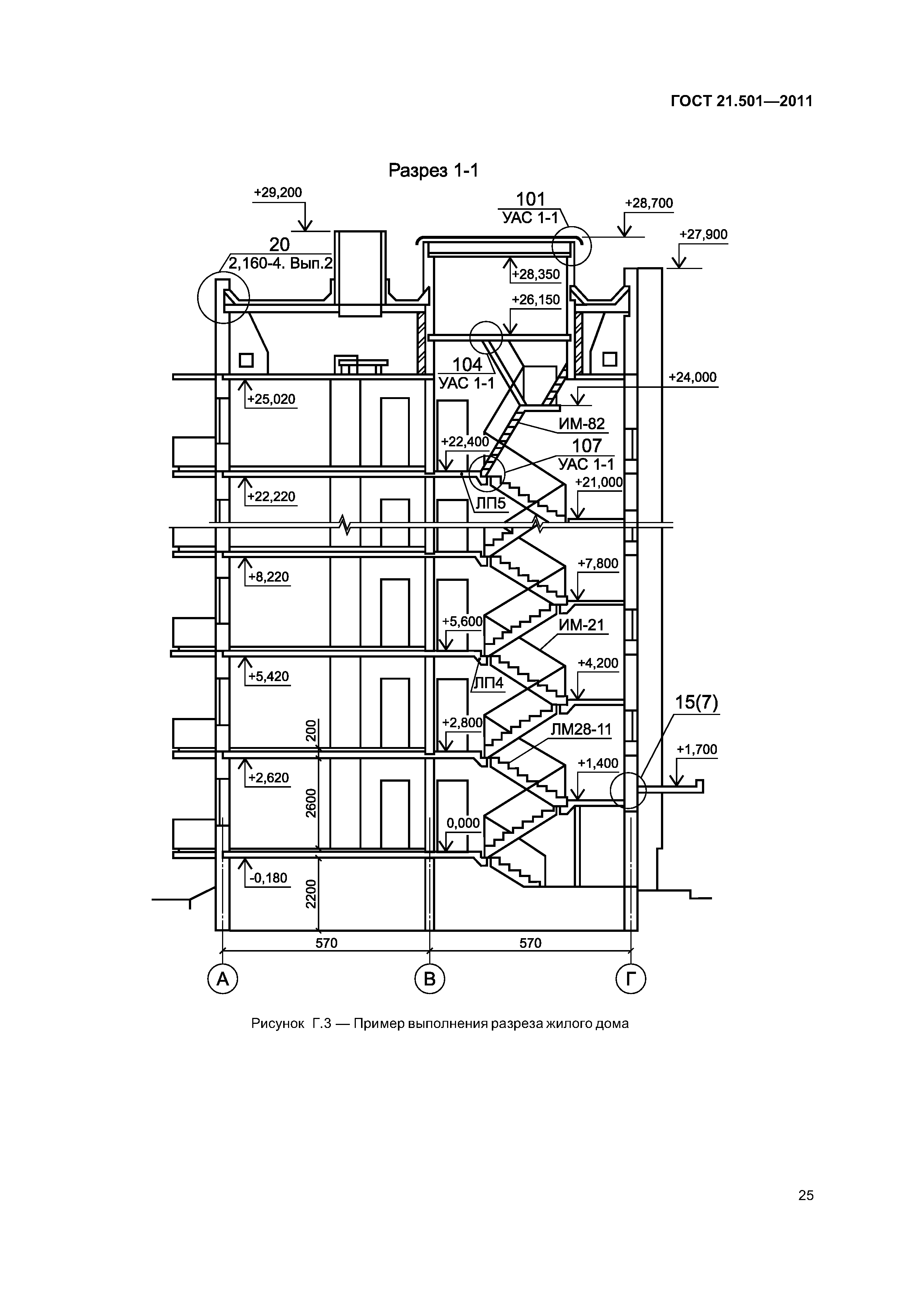
| Оглавление: | 1 Область применения 2 Нормативные ссылки 3 Термины и определения 4 Общие положения 5 Архитектурные решения 5.1 Общие требования 5.2 Общие данные по рабочим чертежам 5.3 Планы этажей 5.4 Разрезы и фасады 5.5 Планы полов и кровли (крыши) 5.6 Схемы расположения элементов сборных перегородок, заполнения оконных и других проемов 5.7 Спецификация оборудования, изделий и материалов 6 Конструктивные решения 6.1 Общие требования 6.2 Общие данные по рабочим чертежам 6.3 Схемы расположения элементов конструкций 6.4 Спецификации к схемам расположения элементов конструкций 7 Рабочая документация на строительные изделия 7.1 Общие требования 7.2 Обозначение строительных изделий 7.3 Применение рабочих чертежей типовых изделий Приложение А (рекомендуемое) Формы ведомостей, экспликаций и спецификаций и особенности их выполнения Приложение Б (справочное) Примеры выполнения планов зданий Приложение В (справочное) Примеры выполнения ведомостей и спецификаций элементов Приложение Г (справочное) Примеры выполнения разрезов зданий Приложение Д (справочное) Примеры выполнения фасадов зданий Приложение Е (справочное) Пример выполнения плана полов Приложение Ж (справочное) Пример выполнения плана кровли Приложение И (справочное) Пример выполнения схемы расположения элементов сборных перегородок Приложение К (справочное) Пример выполнения схемы расположения элементов заполнения оконного проема Приложение Л (справочное) Примеры выполнения схем расположения элементов сборных конструкций Приложение М (справочное) Пример заполнения ведомости деталей Приложение Н (справочное) Пример заполнения ведомости расхода стали Приложение П (справочное) Пример выполнения группового чертежа на сетки Приложение Р (справочное) Примерный перечень металлических изделий, на которые рабочие чертежи выполняют в составе рабочей документации железобетонных конструкций Приложение С (справочное) Пример выполнения чертежа индивидуального изделия Приложение Т (справочное) Пример выполнения чертежа типового изделия с дополнительными закладными изделиями |
| Разработан: | ОАО ЦНС |
| Утверждён: | 08.12.2011 МНТКС (MNTKS 39) 11.10.2012 Федеральное агентство по техническому регулированию и метрологии (485-ст) |
| Издан: | Стандартинформ (2013 г. ) |
| Расположен в: | |
| Заменяет собой: | |
| Нормативные ссылки: |
|












































