| ||||||||||||||||||||||||||||||||||
Скачать ГОСТ Р ИСО 8399-2-2010 Авиация и космонавтика. Присоединения агрегатов к изделию. Вспомогательные приводы и монтажные фланцы. (Метрическая серия). Часть 2. РазмерыДата актуализации: 10.08.2017
|
| Обозначение: | ГОСТ Р ИСО 8399-2-2010 |
| Обозначение англ: | GOST R ISO 8399-2-2010 |
| Статус: | действует |
| Название рус.: | Авиация и космонавтика. Присоединения агрегатов к изделию. Вспомогательные приводы и монтажные фланцы. (Метрическая серия). Часть 2. Размеры |
| Название англ.: | Aerospace. Accessory connection to the productAccessory drives and mounting flanges (Metric series). Part 2. Dimensions |
| Дата добавления в базу: | 01.09.2013 |
| Дата актуализации: | 05.05.2017 |
| Дата введения: | 01.07.2011 |
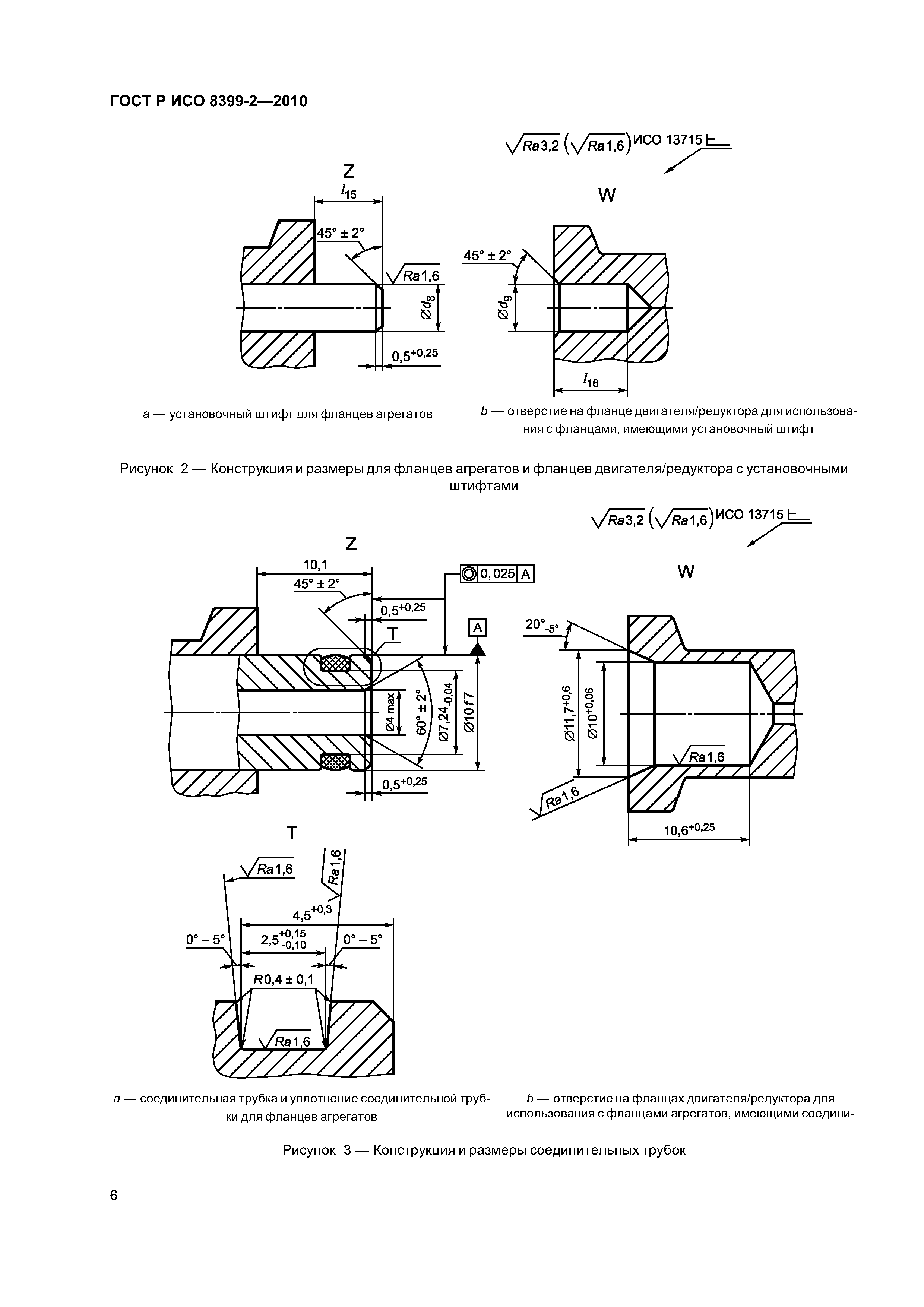
| Область применения: | В стандарте установлены размеры фланцев для агрегатов и монтажных фланцев, обеспечивающих возможности быстрого присоединения или отсоединения, предназначенных в основном для использования в авиационных двигателях/редукторах и агрегатах двигателей. |
| Оглавление: | 1 Область применения 2 Нормативные ссылки 3 Размеры 4 Центрирующая поверхность 5 Определение местоположения фланцев 6 Эвольвентные шлицы Приложение ДА (справочное) Сведения о соответствии ссылочных международных стандартов ссылочным национальным стандартам Российской Федерации |
| Разработан: | ФГУП НИИСУ |
| Утверждён: | 30.11.2010 Федеральное агентство по техническому регулированию и метрологии (743-ст) |
| Издан: | Стандартинформ (2011 г. ) |
| Расположен в: | |
| Нормативные ссылки: |
|















