Информационная система
«Ёшкин Кот»

Скачать базу одним архивом
Скачать обновления
История создания базы
Карта сайта

Скачать АТК 24.202.10-2007 Альбом типовых конструкций. Аппараты теплообменные кожухотрубчатые с неподвижными трубными решетками и кожухотрубчатые с температурным компенсатором на кожухе. Блоки. Основные размеры

Дата актуализации: 10.08.2017

АТК 24.202.10-2007

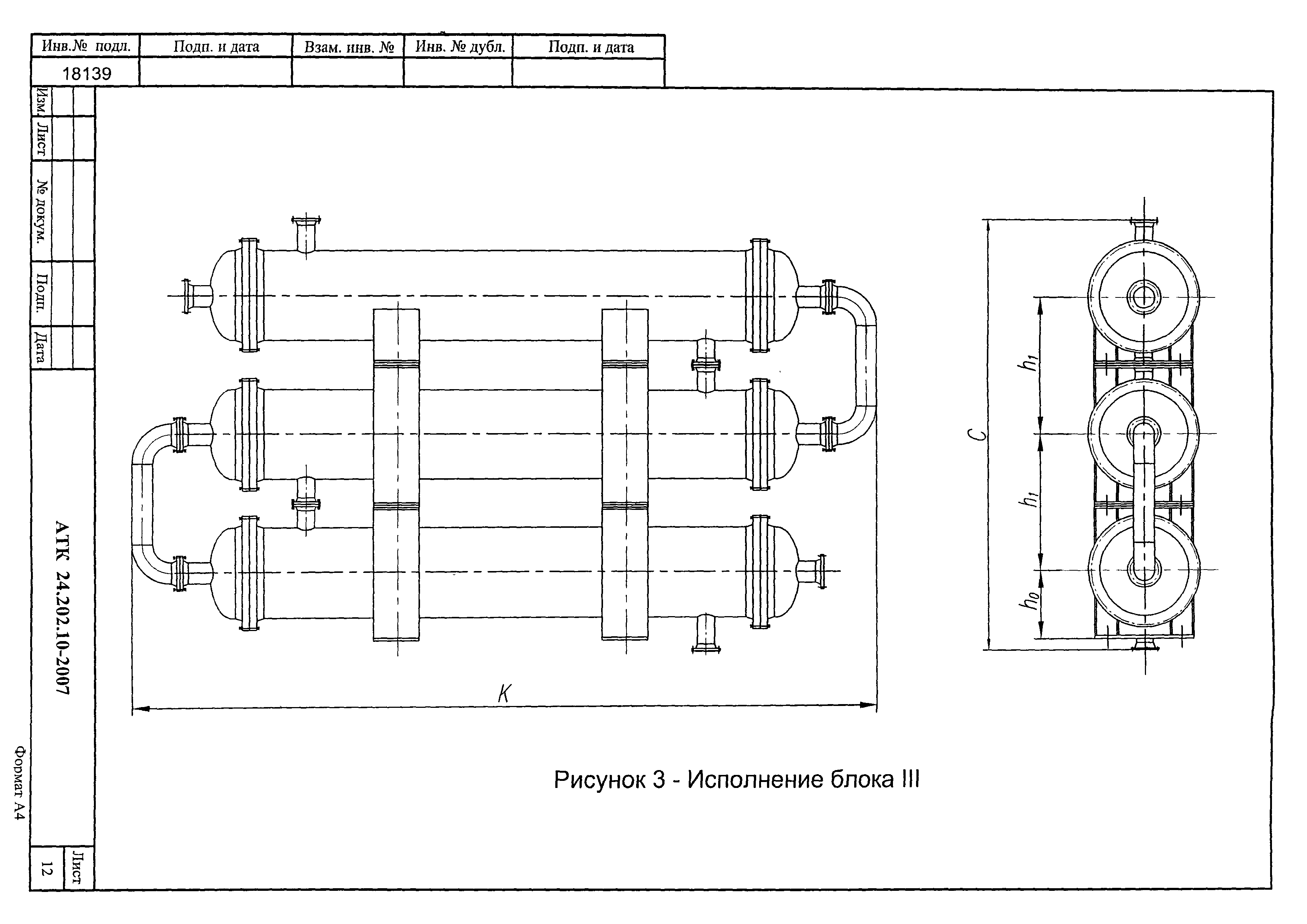
Альбом типовых конструкций. Аппараты теплообменные кожухотрубчатые с неподвижными трубными решетками и кожухотрубчатые с температурным компенсатором на кожухе. Блоки. Основные размеры

Обозначение: АТК 24.202.10-2007
Обозначение англ: ATK 24.202.10-2007
Статус:действует
Название рус.:Альбом типовых конструкций. Аппараты теплообменные кожухотрубчатые с неподвижными трубными решетками и кожухотрубчатые с температурным компенсатором на кожухе. Блоки. Основные размеры
Дата добавления в базу:01.09.2013
Дата актуализации:05.05.2017
Дата введения:01.07.2007
Область применения:Альбом типовых конструкций распространяется на блоки горизонтальных аппаратов теплообменных кожухотрубчатых с неподвижными трубными решетками и кожухотрубчатых с температурным компенсатором на кожухе
Оглавление:1. Технические требования
Перечень нормативно-технической документации, на которую дается ссылка в АТК 24.202.10-2007
Разработан: ОАО ВНИИНЕФТЕМАШ
Утверждён:03.05.2007 ОАО ВНИИНЕФТЕМАШ
Расположен в:Техническая документация Строительство Стандарты Отраслевые стандарты и технические условия Альбомы типовых конструкций и альбомы рабочих чертежей
Заменяет собой:
  • АТК 24.202.10-90 «Аппараты теплообменные кожухотрубчатые с неподвижными трубчатыми решетками и кожухотрубчатые с температурным компенсатором на кожухе. Блоки. Основные размеры»
Нормативные ссылки:
АТК 24.202.10-2007АТК 24.202.10-2007АТК 24.202.10-2007АТК 24.202.10-2007АТК 24.202.10-2007АТК 24.202.10-2007АТК 24.202.10-2007АТК 24.202.10-2007АТК 24.202.10-2007АТК 24.202.10-2007АТК 24.202.10-2007АТК 24.202.10-2007АТК 24.202.10-2007АТК 24.202.10-2007АТК 24.202.10-2007АТК 24.202.10-2007АТК 24.202.10-2007АТК 24.202.10-2007АТК 24.202.10-2007АТК 24.202.10-2007АТК 24.202.10-2007АТК 24.202.10-2007АТК 24.202.10-2007АТК 24.202.10-2007АТК 24.202.10-2007АТК 24.202.10-2007АТК 24.202.10-2007АТК 24.202.10-2007АТК 24.202.10-2007АТК 24.202.10-2007АТК 24.202.10-2007АТК 24.202.10-2007АТК 24.202.10-2007АТК 24.202.10-2007АТК 24.202.10-2007АТК 24.202.10-2007АТК 24.202.10-2007АТК 24.202.10-2007АТК 24.202.10-2007АТК 24.202.10-2007АТК 24.202.10-2007АТК 24.202.10-2007АТК 24.202.10-2007АТК 24.202.10-2007АТК 24.202.10-2007АТК 24.202.10-2007АТК 24.202.10-2007АТК 24.202.10-2007АТК 24.202.10-2007АТК 24.202.10-2007

© 2013 Ёшкин Кот :-) Карта сайта