Скачать РД 15-14-2008 Методические рекомендации о порядке проведения экспертизы промышленной безопасности карьерных одноковшовых экскаваторовДата актуализации: 10.08.2017 РД 15-14-2008
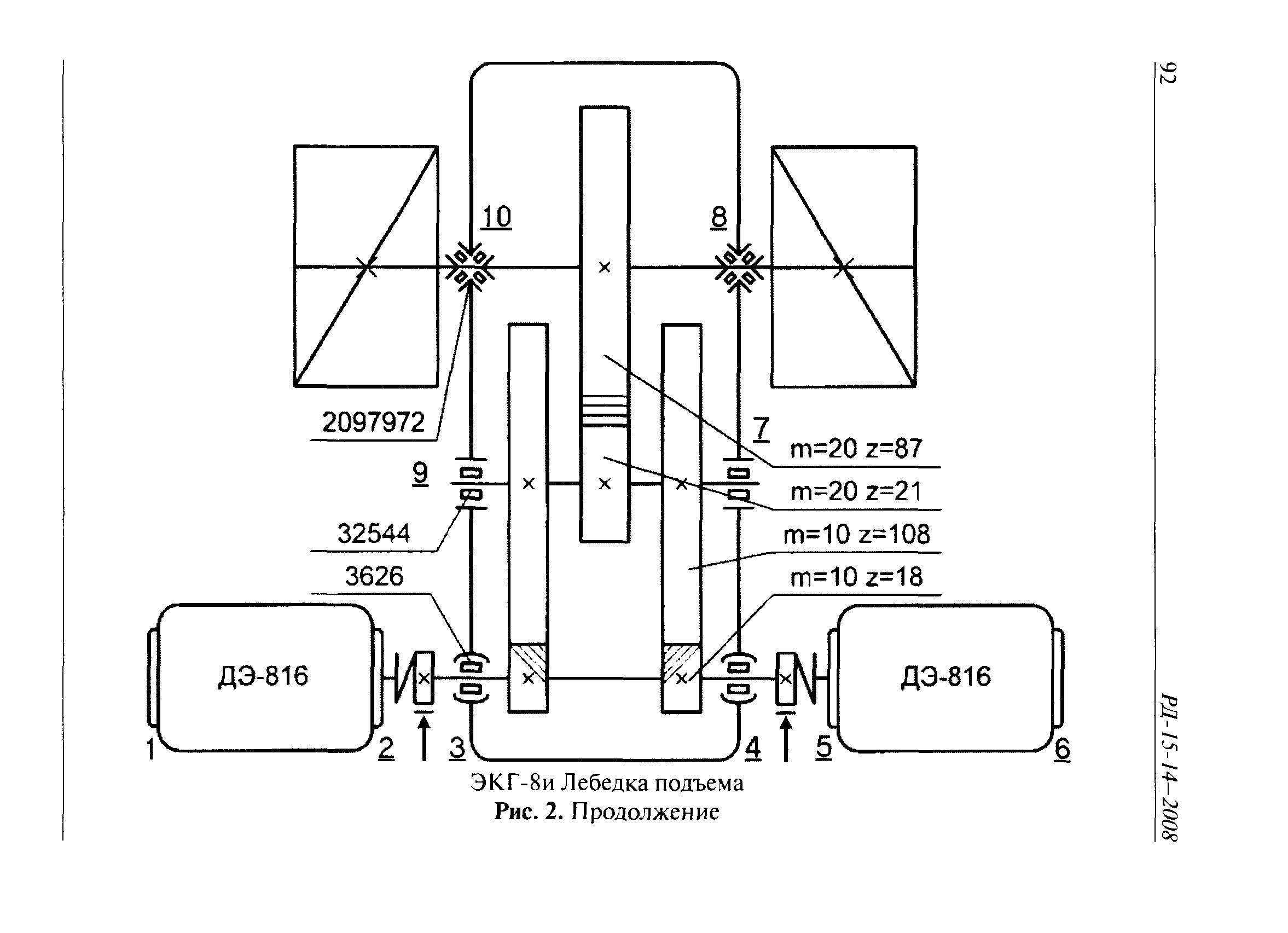
Методические рекомендации о порядке проведения экспертизы промышленной безопасности карьерных одноковшовых экскаваторовОбозначение: | РД 15-14-2008 | Обозначение англ: | RD 15-14-2008 | Статус: | действует | Название рус.: | Методические рекомендации о порядке проведения экспертизы промышленной безопасности карьерных одноковшовых экскаваторов | Дата добавления в базу: | 01.09.2013 | Дата актуализации: | 05.05.2017 | Дата введения: | 01.08.2008 | Область применения: | Методические рекомендации предназначены для использования экспертными организациями при проведении экспертизы промышленной безопасности карьерных одноковшовых экскаваторов (КЭ) и организациями, эксплуатирующими карьерные одноковшовые экскаваторы в угольной и горнорудной промышленности при технических обслуживаниях и ремонтах экскаваторов | Оглавление: | 1. Общие положения 2. Планирование и организация экспертизы 3. Программа проведения экспертизы 4. Методика проведения экспертизы 5. Оформление результатов экспертизы 6. Требования безопасности при проведении экспертной группой практических работ в процессе экспертизы промышленной безопасности одноковшовых экскаваторов Приложение № 1. Термины и их определения Приложение № 2. Форма рабочей карты экспертного обследования экскаватора карьерного гусеничного Приложение № 3. Форма рабочей карты экспертного обследования экскаватора типа драглайн Приложение № 4. Средства измерений и инструмент, требующиеся для экспертного обследования экскаваторов Приложения № 5. Критерии предельных состояний составных частей и агрегатов экскаваторов карьерных гусеничных Приложение № 6. Критерии предельных состояний составных частей и агрегатов экскаваторов типа драглайн Приложение № 7. Схемы размещения точек вибродиагностики составных частей и оборудования, подвергаемых неразрушающему контролю Приложение № 8. Интервалы и предельные значения интенсивности вибрации механического оборудования экскаваторов Приложение № 9. Предельные значения интенсивности вибрации для электрических машин Приложение № 10. Опорные маски для оценки степени опасности спектральных составляющих вибрации Приложение № 11. Допустимые уровни вибрации на рабочем месте машиниста экскаватора Приложение № 12. Форма акта визуального и (или) измерительного контроля Приложение № 13. Пояснения к оформлению акта визуального и (или) измерительного контроля Приложение № 14. Форма плана мероприятий по устранению недостатков, выявленных в процессе экспертизы экскаватора | Утверждён: | 04.04.2008 Федеральная служба по экологическому, технологическому и атомному надзору (209)
| Издан: | ОАО НТЦ Промышленная безопасность (2008 г. )
| Расположен в: |
| Нормативные ссылки: |   ПБ 03-246-98 «Правила проведения экспертизы промышленной безопасности»  РД 03-484-02 «Положение о порядке продления срока безопасной эксплуатации технических средств, оборудования и сооружений на опасных производственных объектах»  ПБ 05-619-03 «Правила безопасности при разработке угольных месторождений открытым способом»  РД 05-334-99 «Нормы безопасности на электроустановки угольных разрезов и требования по их безопасной эксплуатации» Постановление 241 «О мерах по обеспечению промышленной безопасности опасных производственных объектов на территории Российской Федерации»  РД 03-19-2007 «Положение об организации работы по подготовке и аттестации специалистов организаций, поднадзорных Федеральной службе по экологическому, технологическому и атомному надзору»  ПБ 03-581-03 «Правила устройства и безопасной эксплуатации стационарных компрессорных установок, воздухопроводов и газопроводов»  ПТЭ «Правила технической эксплуатации электроустановок потребителей»  ГОСТ 11358-89 «Толщиномеры и стенкомеры индикаторные с ценой деления 0,01 и 0,1 мм. Технические условия» ГОСТ 11737-93 «Ключи для винтов с внутренним шестигранником. Технические условия»  ПУЭ «Правила устройства электроустановок» ГОСТ 1465-80 «Напильники. Технические условия» ГОСТ 21339-82 «Тахометры. Общие технические условия»  ГОСТ 2310-77 «Молотки слесарные стальные. Технические условия» ГОСТ 25706-83 «Лупы. Типы, основные параметры. Общие технические требования»  ГОСТ 27518-87 «Диагностирование изделий. Общие требования»  ГОСТ 14782-86 «Контроль неразрушающий. Соединения сварные. Методы ультразвуковые» ГОСТ 2839-80 «Ключи гаечные с открытым зевом двусторонние. Конструкция и размеры»  ГОСТ 5378-88 «Угломеры с нониусом. Технические условия»  ГОСТ 7275-75 «Ключи гаечные разводные. Технические условия»  ГОСТ 17187-81 «Шумомеры. Общие технические требования и методы испытаний»  ГОСТ 12.1.003-83 «Система стандартов безопасности труда. Шум. Общие требования безопасности»  ГОСТ 12.1.005-88 «Система стандартов безопасности труда. Общие санитарно-гигиенические требования к воздуху рабочей зоны»  ГОСТ 12.1.012-90 «Система стандартов безопасности труда. Вибрационная безопасность. Общие требования»  ПБ 03-576-03 «Правила устройства и безопасной эксплуатации сосудов, работающих под давлением» РД 06-572-03 «Инструкция по безопасной эксплуатации электроустановок в горнорудной промышленности»  ПБ 03-584-03 «Правила проектирования, изготовления и приемки сосудов и аппаратов стальных сварных» РД 11-589-03 «Положение о проведении экспертизы промышленной безопасности опасных металлургических и коксохимических производственных объектов»  РД 03-606-03 «Инструкция по визуальному и измерительному контролю» СанПиН 2.2.3.570-96 «Гигиенические требования к предприятиям угольной промышленности и организации работ» Федеральный закон 116-ФЗ «О промышленной безопасности опасных производственных объектов»  ГОСТ 12503-75 «Сталь. Методы ультразвукового контроля. Общие требования»  ГОСТ 7502-98 «Рулетки измерительные металлические. Технические условия»  ГОСТ 166-89 «Штангенциркули. Технические условия»  ГОСТ 3749-77 «Угольники поверочные 90°. Технические условия»  ГОСТ 427-75 «Линейки измерительные металлические. Технические условия»  РД 06-318-99 «Положение о проведении экспертизы промышленной безопасности в горнорудной промышленности» Постановление 1540 «О применении технических устройств на опасных производственных объектах»  ПБ 03-372-00 «Правила аттестации и основные требования к лабораториям неразрушающего контроля»  ГОСТ 577-68 «Индикаторы часового типа с ценой деления 0,01 мм. Технические условия»  ГОСТ 2405-88 «Манометры, вакуумметры, мановакуумметры, напоромеры, тягомеры и тягонапоромеры. Общие технические условия»  ГОСТ 6507-90 «Микрометры. Технические условия» Постановление 43 «Об утверждении "Положения о порядке продления срока безопасной эксплуатации технических устройств, оборудования и сооружений на опасных производственных объектах"»  ПБ 03-440-02 «Правила аттестации персонала в области неразрушающего контроля»  ПБ 03-498-02 «Единые правила безопасности при разработке месторождений полезных ископаемых открытым способом»
|
                                                                                                         
|