Скачать Шифр ТО-06-17640 Пособие по проектированию принципиальных схем систем вентиляции и противодымной вентиляции в жилых, общественных зданиях и стоянках автомобилей: примеры схем и решений. Огнестойкие воздуховоды. Противопожарные клапаны и дымовые клапаныДата актуализации: 10.08.2017 Шифр ТО-06-17640
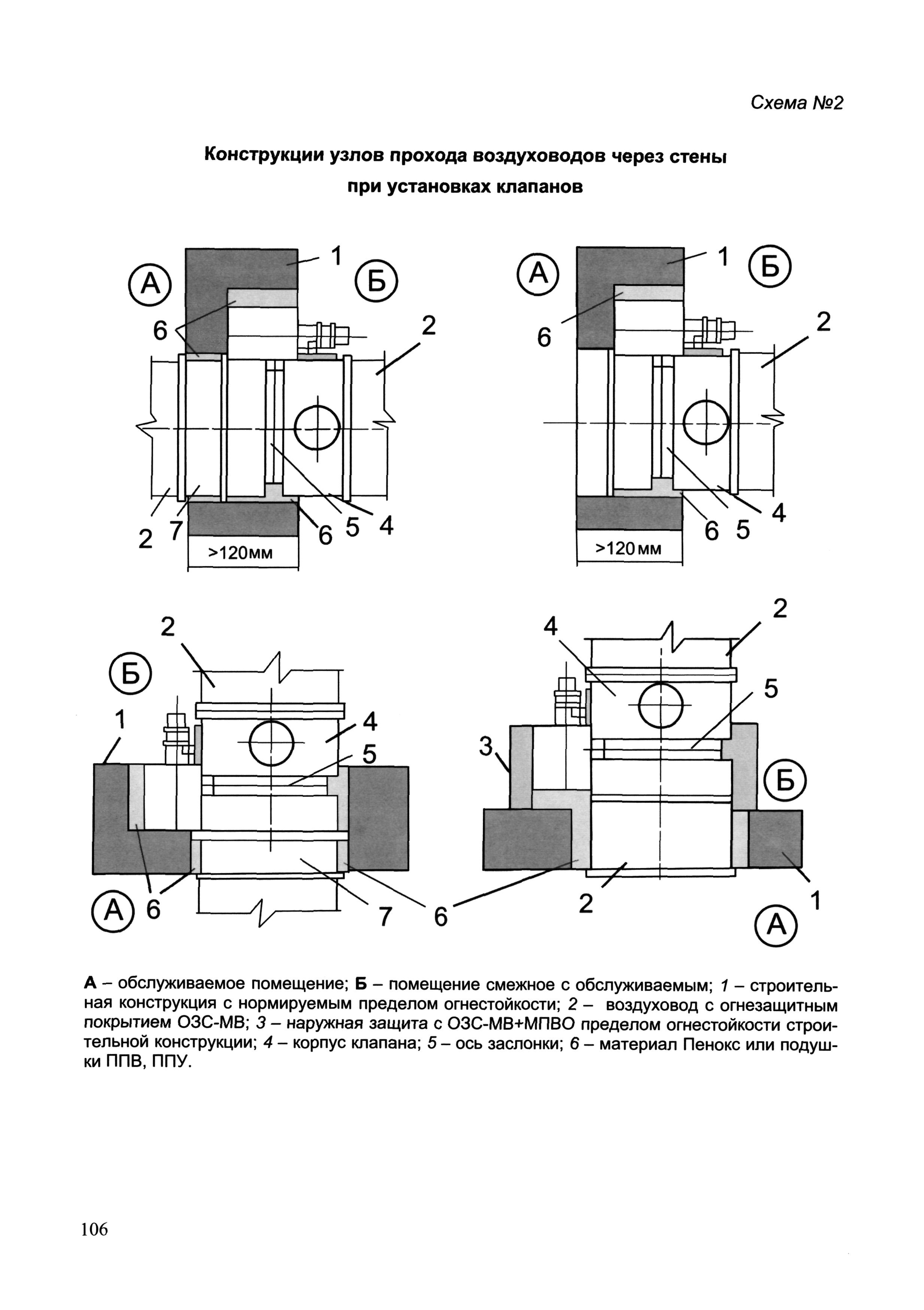
Пособие по проектированию принципиальных схем систем вентиляции и противодымной вентиляции в жилых, общественных зданиях и стоянках автомобилей: примеры схем и решений. Огнестойкие воздуховоды. Противопожарные клапаны и дымовые клапаныОбозначение: | Шифр ТО-06-17640 | Обозначение англ: | ТО-06-17640 | Статус: | действует | Название рус.: | Пособие по проектированию принципиальных схем систем вентиляции и противодымной вентиляции в жилых, общественных зданиях и стоянках автомобилей: примеры схем и решений. Огнестойкие воздуховоды. Противопожарные клапаны и дымовые клапаны | Дата добавления в базу: | 01.09.2013 | Дата актуализации: | 05.05.2017 | Область применения: | Пособие разработано для зданий высотой до 75 м (в части, относящейся к общественным зданиям). Пособие является рекомендательным документом, составленным на основе обобщения опыта проектирования зданий различного назначения | Оглавление: | 1.Общая часть 2.Жилые здания. Вентиляция Пояснительная записка. Системы вентиляции жилых зданий Принципиальные схемы систем вентиляции жилых зданий 3.Жилые здания. Противодымная вентиляция Пояснительная записка. Системы противодымной вентиляции жилых зданий Принципиальные схемы систем противодымной вентиляции жилых зданий 4. Общественные здания. Вентиляция Пояснительная записка. Системы вентиляции общественных зданий Принципиальные схемы систем вентиляции общественных зданий 5. Общественные здания. Противодымная вентиляция Пояснительная записка. Системы противодымной вентиляции общественных зданий Принципиальные схемы систем противодымной вентиляции общественных зданий 6. Стоянки автомобилей. Вентиляция Пояснительная записка Принципиальные схемы систем вентиляции стоянок автомобилей Стоянки автомобилей. Противодымная вентиляция Принципиальные схемы систем противодымной вентиляции стоянок автомобилей 7. Огнезащитные покрытия воздуховодов Пояснительная записка Информационно-технический материал фирмы НПЛ 38-080 8. Противопожарные и морозостойкие клапаны для систем вентиляции и систем противодымной вентиляции Пояснительная записка Информационно-технический материал фирмы "ВИНГС-М" Информационно-технический материал фирмы "Сигма-Вент" Перечень использованной литературы | Разработан: | ОАО Моспроект
| Расположен в: |
| Нормативные ссылки: | |
                                                                                                                                                                          
|