Информационная система
«Ёшкин Кот»

Скачать базу одним архивом
Скачать обновления
История создания базы
Карта сайта

Скачать ОСТ 26-467-84 Опоры цилиндрические и конические вертикальных аппаратов. Типы и основные размеры

Дата актуализации: 10.08.2017

ОСТ 26-467-84

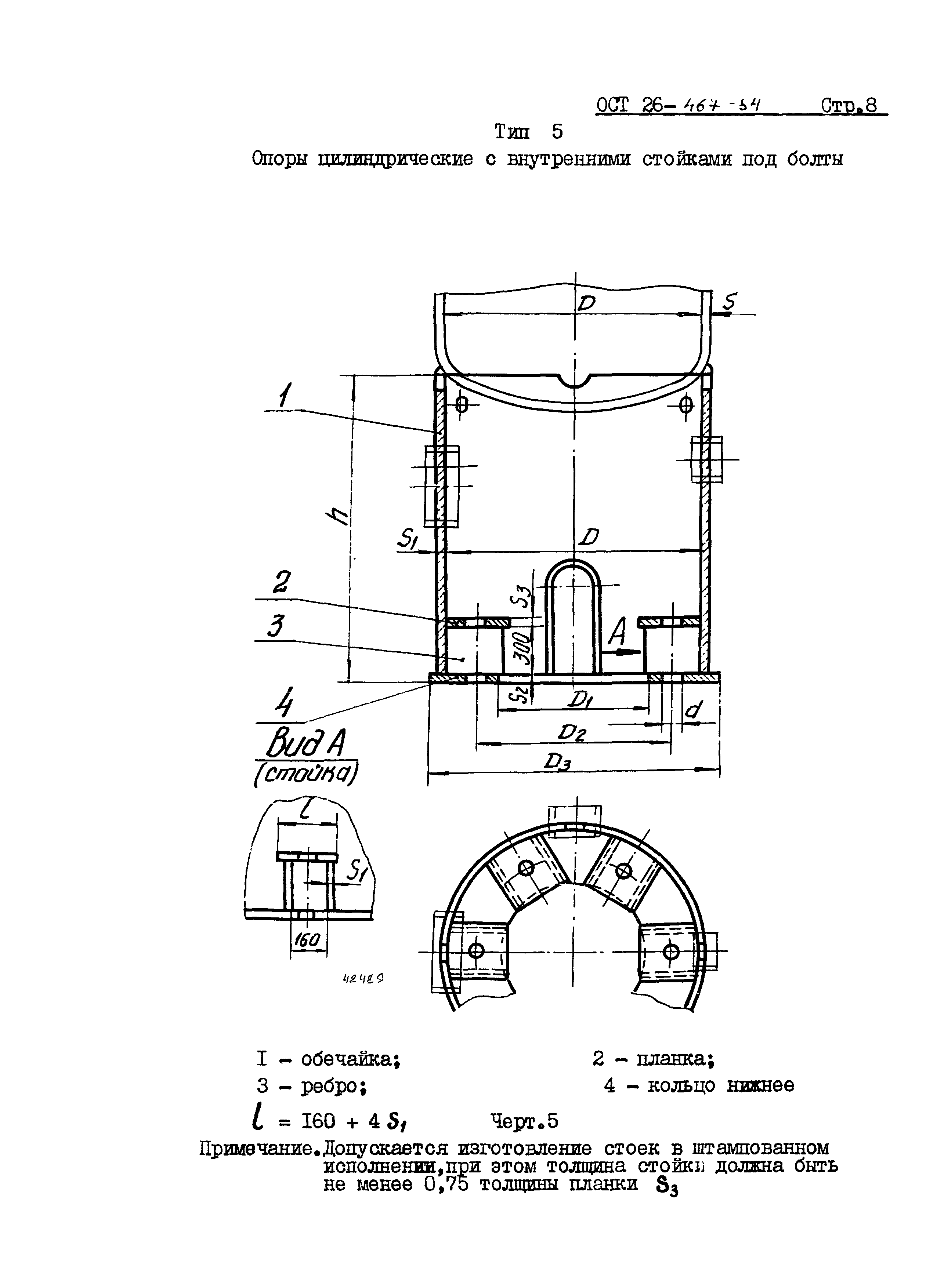
Опоры цилиндрические и конические вертикальных аппаратов. Типы и основные размеры

Обозначение: ОСТ 26-467-84
Обозначение англ: OST 26-467-84
Статус:заменен
Название рус.:Опоры цилиндрические и конические вертикальных аппаратов. Типы и основные размеры
Дата добавления в базу:01.09.2013
Дата актуализации:05.05.2017
Дата введения:01.01.1991
Область применения:Стандарт распространяется на опоры стальные сварные цилиндрические и конические стальных вертикальных аппаратов диаметром от 400 до 6300 мм при приведенных нагрузках на опору не более 16,0 Мн (1600х1000 кгс). Допускается применение стандарта для аппаратов, изготовленных из титановых сплавов, при условии выполнения опор съемными.
Оглавление:Приложение 1 Расчет приведенных нагрузок и выбор опоры
Приложение 2 Пределы применения типов опор в зависимости от минимальной приведенной нагрузки
Приложение 3 Формулы определения расстояния между опорок и осью сварного соединения днища с корпусом
Приложение 4 Формула для определения массы элементов опорного узла (в кг)
Разработан: УкрНИИхиммаш
Утверждён:21.05.1984 Министерство химического и нефтяного машиностроения СССР (USSR Ministry of Chemical and Petroleum Machine Manufacturing )
Расположен в:Техническая документация Экология ДОБЫЧА И ПЕРЕРАБОТКА НЕФТИ, ГАЗА И СМЕЖНЫЕ ПРОИЗВОДСТВА Оборудование для переработки нефти, нефтяных продуктов и природного газа Трубопроводы и их компоненты Строительство Стандарты Отраслевые стандарты и технические условия Отраслевые стандарты
Заменяет собой:
  • ОСТ 26-467-78
  • ОСТ 26-01-12-70 «Опоры колонных аппаратов. Типы и основные размеры»
Чем заменён:
Нормативные ссылки:
ОСТ 26-467-84ОСТ 26-467-84ОСТ 26-467-84ОСТ 26-467-84ОСТ 26-467-84ОСТ 26-467-84ОСТ 26-467-84ОСТ 26-467-84ОСТ 26-467-84ОСТ 26-467-84ОСТ 26-467-84ОСТ 26-467-84ОСТ 26-467-84ОСТ 26-467-84ОСТ 26-467-84ОСТ 26-467-84ОСТ 26-467-84ОСТ 26-467-84ОСТ 26-467-84ОСТ 26-467-84ОСТ 26-467-84ОСТ 26-467-84ОСТ 26-467-84

© 2013 Ёшкин Кот :-) Карта сайта