Информационная система
«Ёшкин Кот»

Скачать базу одним архивом
Скачать обновления
История создания базы
Карта сайта

Скачать Руководство по производству бетонных работ

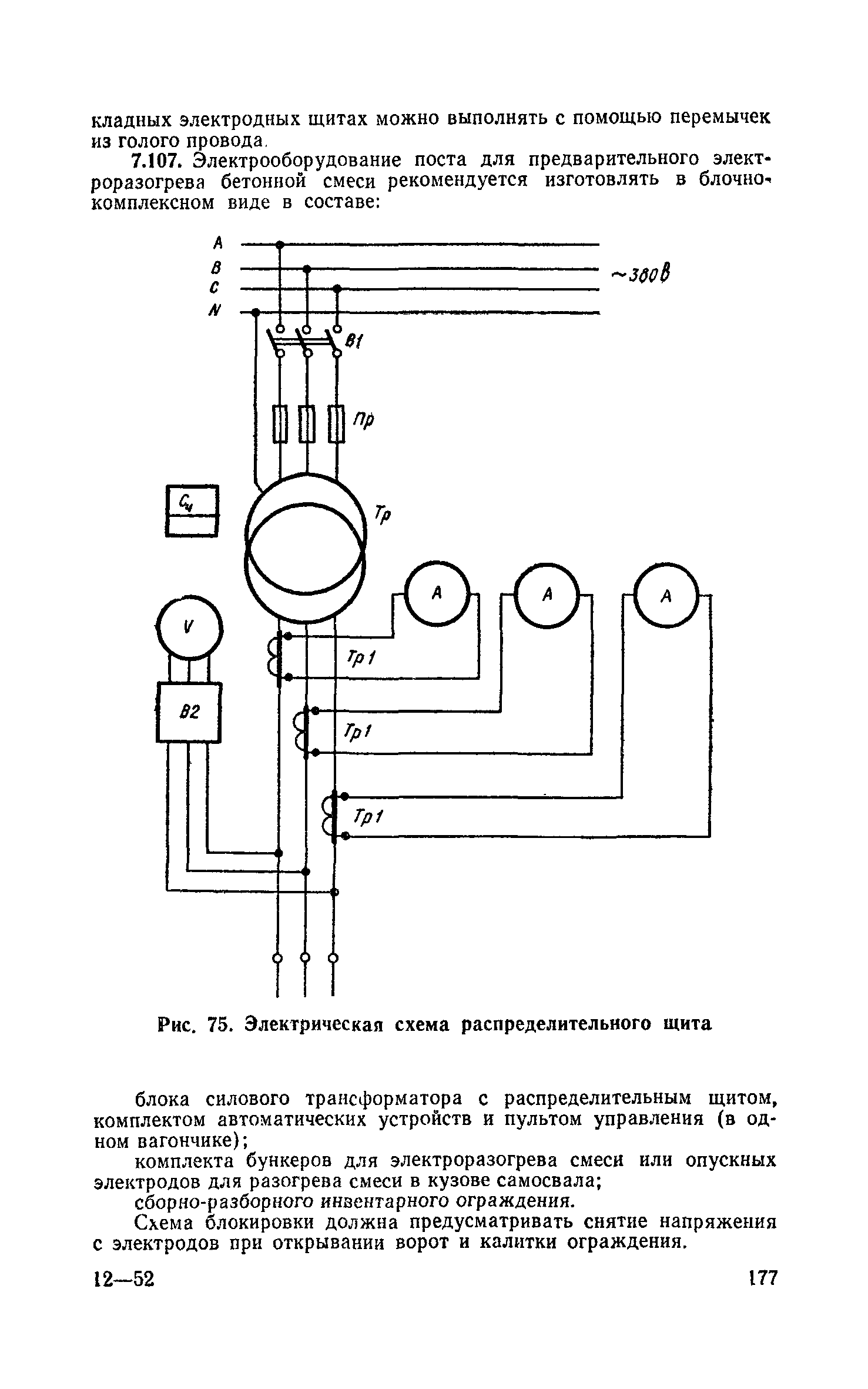
Дата актуализации: 10.08.2017

Руководство по производству бетонных работ

Статус:cправочные материалы, мп, тпр
Название рус.:Руководство по производству бетонных работ
Дата добавления в базу:01.10.2014
Дата актуализации:05.05.2017
Область применения:Документ содержит рекомендации по технологии производства бетонных работ при возведении монолитных бетонных и железобетонных конструкций. Предназначен для строительно-монтажных и проектных организаций, производящих бетонные работы.
Оглавление:Предисловие
1. Общие положения
2. Материалы для тяжелого бетона, его состав и методы определения
3. Приготовление бетонной смеси
4. Транспортирование бетонных смесей
5. Укладка бетонной смеси
6. Уход за бетоном и контроль качества
7. Особенности производства бетонных работ в зимних условиях
8. Бетонные работы с использованием смесей из пористых заполнителей
9. Особенности производства бетонных работ в условиях сухого жаркого климата
10. Подводное бетонирование конструкций
11. Работы по торкретированию
12. Правила техники безопасности при производстве бетонных работ
Приложение 1. Механизация погрузочно-разгрузочных работ на складе цемента малой емкости
Приложение 2. Способ подбора состава бетона без предварительного определения активности цемента
Приложение 3. Оборудование для приготовления бетона
Приложение 4. Типы и характеристики автосредств для транспортирования бетонной смеси
Приложение 5. Технические характеристики оборудования, применяемого при укладке бетонной смеси
Приложение 6. Технические характеристики оборудования для испытания строительных материалов
Приложение 7. Методика определения подвижности бетонной смеси, разогретой электрическим током
Приложение 8. Содержание в растворах безводных солей
Приложение 9. Методика определения удельного электрического сопротивления бетона и бетонной смеси
Приложение 10. Состав пасты для химической очистки стальных электродов и опалубки от затвердевшего бетона
Приложение 11. Таблицы для подбора состава бетона на пористых заполнителях и требования к нему
Приложение 12. Метод определения ложного схватывания цементного теста
Приложение 13. Рекомендуемый порядок подбора состава тяжелого бетона для бетонирования методом ВПТ
Приложение 14. Определение текучести бетонной смеси в лотке
Приложение 15. Определение подвижности раствора
Приложение 16. Технические характеристики питателей установок "пневмобетон"
Разработан: НИИЖБ Госстроя СССР
ЦНИИОМТП
Утверждён: ЦНИИОМТП Госстроя СССР (TsNIIOMTP, USSR Gosstroy )
Издан: Стройиздат (1975 г. )
Расположен в:Техническая документация Экология ГРАЖДАНСКОЕ СТРОИТЕЛЬСТВО Гражданское строительство в целом СТРОИТЕЛЬНЫЕ МАТЕРИАЛЫ И СТРОИТЕЛЬСТВО Технология строительства Технология строительства в целом Строительство Строительство в целом Строительство Нормативные документы Отраслевые и ведомственные нормативно-методические документы Производство монтажных и специальных строительных работ Справочные документы Директивные письма, положения, рекомендации и др.
Нормативные ссылки:

© 2013 Ёшкин Кот :-) Карта сайта