Информационная система
«Ёшкин Кот»

Скачать базу одним архивом
Скачать обновления
История создания базы
Карта сайта

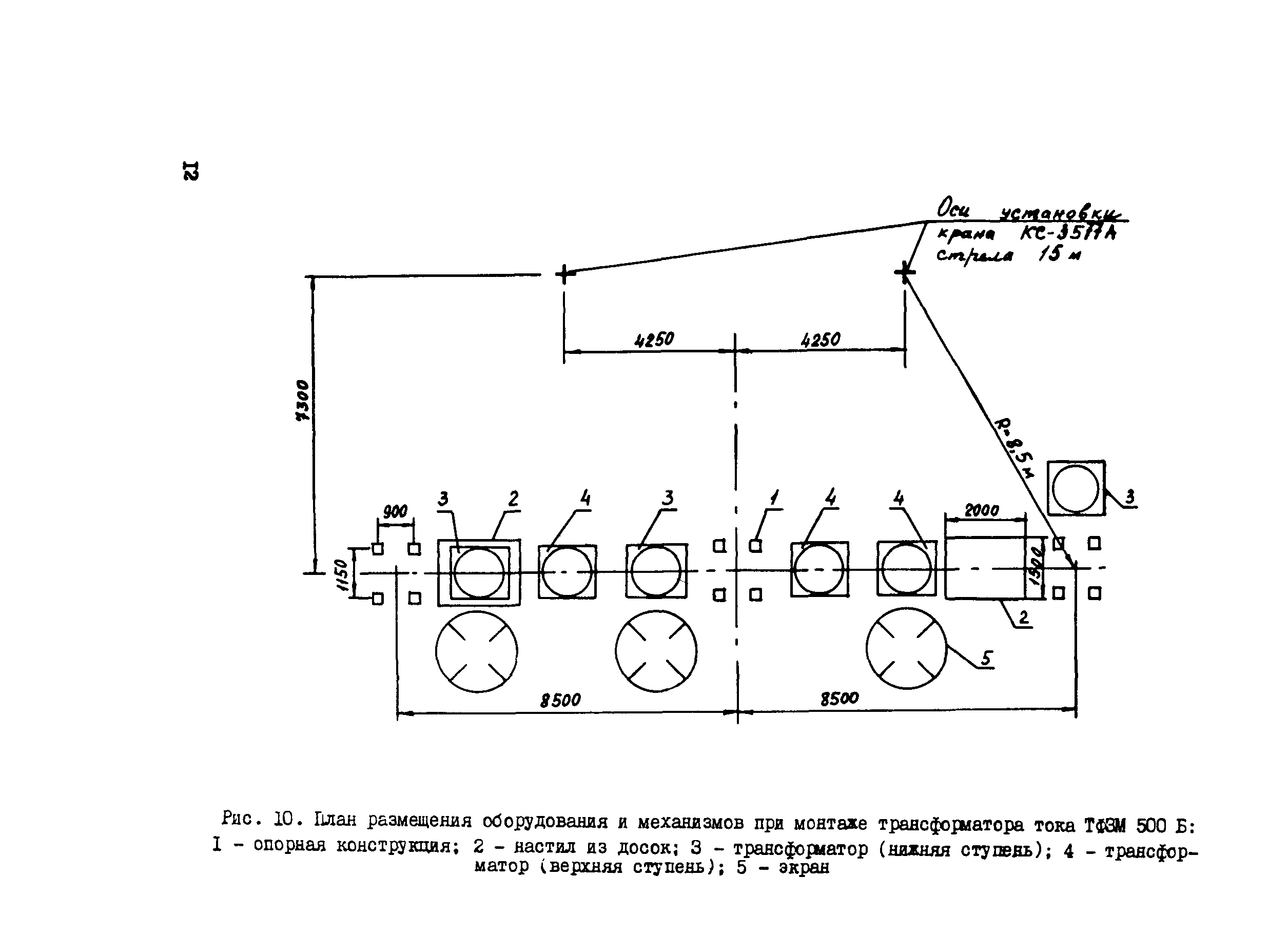
Скачать Технологическая карта Технологическая карта монтажа трансформаторов тока серий ТФЗМ и ТФРМ напряжением 110-750 кВ

Дата актуализации: 10.08.2017

Технологическая карта

Технологическая карта монтажа трансформаторов тока серий ТФЗМ и ТФРМ напряжением 110-750 кВ

Обозначение: Технологическая карта
Статус:не установлен срок действия
Название рус.:Технологическая карта монтажа трансформаторов тока серий ТФЗМ и ТФРМ напряжением 110-750 кВ
Дата добавления в базу:01.09.2013
Дата актуализации:05.05.2017
Дата введения:23.10.1989
Область применения:Карта предназначена для использования при монтаже трансформаторов тока серии ТФЗМ напряжением 110-220 и 500 кВ и серии ТФРМ напряжением 330-750 кВ на открытых распределительных устройствах, при составлении проектов организации строительства и проектов производства электромонтажных работ.
Оглавление:1 Область применения
2 Организация и технология выполнения работ
3 Требования к качеству и приемке работ
4 Калькуляция затрат труда, машинного времени, заработной платы
5 Графики производства работ
6 Материально-технические ресурсы
7 Техника безопасности
8 Технико-экономические показатели
Приложение 1 Перечень технической и нормативной документации, используемой при монтаже
Приложение 2 Перечень приемо-сдаточной документации
Приложение 3 Краткая техническая характеристика трансформаторов тока серии ТФЗМ
Приложение 4 Краткая техническая характеристика трансформаторов тока серии ТФРМ
Приложение 5 Критерии отбраковки и восстановительного ремонта фарфоровых покрышек трансформаторов тока
Разработан: Оргэнергострой
Утверждён:23.10.1989 ССО Электромонтаж
Издан: Информэнерго (1990 г. )
Расположен в:Техническая документация Экология СТРОИТЕЛЬНЫЕ МАТЕРИАЛЫ И СТРОИТЕЛЬСТВО Технология строительства Организация и порядок производства работ. Управление качеством и обеспечение качества ЭНЕРГЕТИКА И ТЕПЛОТЕХНИКА Энергетика и теплотехника в целом Строительство Справочные документы Технологические карты Линии электропередачи
Нормативные ссылки:
Технологическая карта Технологическая карта Технологическая карта Технологическая карта Технологическая карта Технологическая карта Технологическая карта Технологическая карта Технологическая карта Технологическая карта Технологическая карта Технологическая карта Технологическая карта Технологическая карта Технологическая карта Технологическая карта Технологическая карта Технологическая карта Технологическая карта Технологическая карта Технологическая карта Технологическая карта Технологическая карта Технологическая карта Технологическая карта Технологическая карта Технологическая карта Технологическая карта Технологическая карта Технологическая карта Технологическая карта Технологическая карта Технологическая карта Технологическая карта Технологическая карта Технологическая карта Технологическая карта Технологическая карта Технологическая карта Технологическая карта Технологическая карта Технологическая карта Технологическая карта Технологическая карта Технологическая карта Технологическая карта Технологическая карта Технологическая карта Технологическая карта Технологическая карта Технологическая карта Технологическая карта Технологическая карта Технологическая карта Технологическая карта Технологическая карта Технологическая карта Технологическая карта Технологическая карта Технологическая карта Технологическая карта Технологическая карта Технологическая карта Технологическая карта Технологическая карта Технологическая карта Технологическая карта Технологическая карта Технологическая карта Технологическая карта Технологическая карта Технологическая карта Технологическая карта Технологическая карта

© 2013 Ёшкин Кот :-) Карта сайта