Скачать РД 31.35.13-90 Указания по ремонту гидротехнических сооружений на морском транспортеДата актуализации: 10.08.2017 РД 31.35.13-90
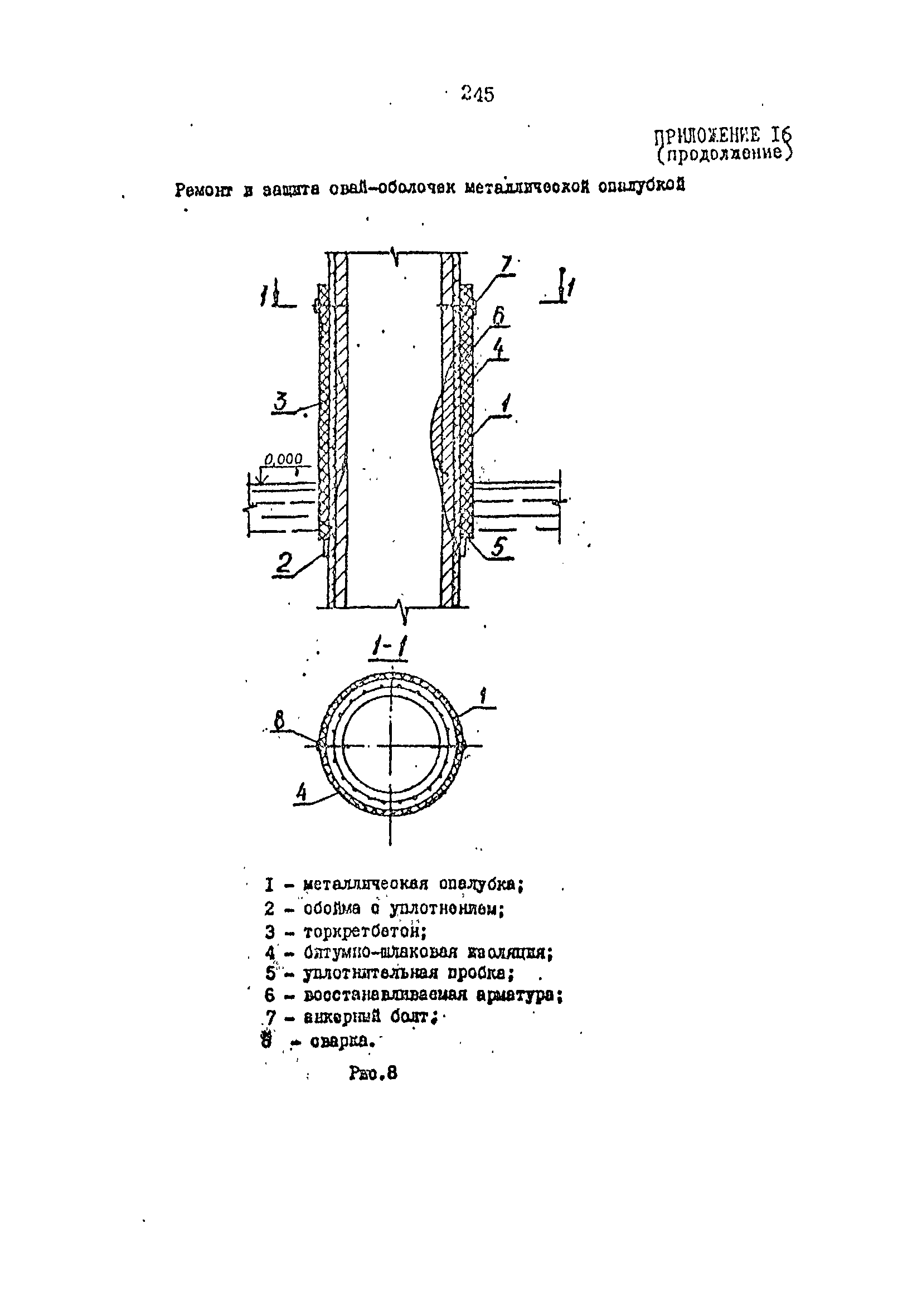
Указания по ремонту гидротехнических сооружений на морском транспортеОбозначение: | РД 31.35.13-90 | Обозначение англ: | RD 31.35.13-90 | Статус: | действует | Название рус.: | Указания по ремонту гидротехнических сооружений на морском транспорте | Название англ.: | Guidelines for the Renovation of Hydraulic Structures Related to Marine Transport | Дата добавления в базу: | 01.09.2013 | Дата актуализации: | 05.05.2017 | Дата введения: | 01.07.1990 | Область применения: | Документ устанавливает нормы и правила ремонта причальных, оградительных и берегоукрепительных сооружений с обеспечением их переустройства с использованием прогрессивной технологии, оборудования, приспособлений и новых строительных материалов. РД распространяется на все виды ремонтных работ морских портовых гидротехнических сооружений. | Оглавление: | 1 Общие положения 2 Технические условия проведения текущих и капитальных ремонтов сооружений 3 Требования к конструктивным элементам, используемым при производстве ремонтных работ 3.1 Бетонные и железобетонные элементы 3.2 Элементы из металла 3.3 Элементы из дерева 4 Нормы и правила производства отдельных видов ремонтных работ 4.1 Земляные работы 4.2 Бетонные работы 4.3 Торкретирование 4.4 Подводно-технические работы 4.5 Свайные работы 4.6 Отсыпка камня 4.7 Ремонт подкрановых и железнодорожных путей 4.8 Ремонт покрытий причалов 4.9 Антикоррозийная защита 5 Нормы и правила ремонта и защиты сооружений и их элементов 5.1 Бетонные и железобетонные сооружения и их элементы в надводной зоне 5.2 Бетонные и железобетонные сооружения и их элементы в зоне переменного уровня и под водой 5.3 Металлические сооружения и их элементы в надводной зоне 5.4 Металлические сооружения и их элементы в зоне переменного уровня и под водой 5.5 Деревянные сооружения и их элементы в надводной зоне 5.6 Деревянные сооружения и их элементы в зоне переменного уровня и под водой 5.7 Сооружения из камня, щебня, грунта и их элементы 5.8 Ремонт швартовых и отбойных устройств 5.9 Ремонт и защита элементов гидротехнических сооружений с применением эпоксидных смол 6 Охрана окружающей среды 7 Контроль качества ремонтных работ и приемка законченных ремонтом сооружений в эксплуатацию Приложения: 1 Требования к материалам, используемым при производстве бетонных работ 2 Область применения арматурной стали 3 Рекомендуемые составы и характеристики смазок поверхности опалубки 4 Краткая техническая характеристика оборудования для набрызга бетона и раствора 5 Технические характеристики электродов для подводной сварки 6 Рекомендуемые режимы подводной сварки 7 Техническая характеристика полуавтомата ППСР-300-2 8 Техническая характеристика полуавтоматов типа "Нептун 2-М" 9 Рекомендуемые режимы электродуговой резки металлов под водой 10 Рекомендуемые режимы электрокислородной резки металлов под водой 11 Краткая техническая характеристика сварочных агрегатов для подводной электродуговой сварки и резки металлов 12 Режимы и технико-экономические характеристики установки БУПР для безкислородной резки под водой на глубине до 10 м 13 Режимы и технико-экономические характеристики резака БКИНР-4 для безкислородной резки под водой на глубине до 10 м 14 Выбор молота для забивки свай и шпунта 15 Выбор типа вибропогружателя для погружения свайных элементов 16 Перечень схем ремонта конструкций гидротехнических сооружений 17 Перечень таблиц операционного производственно-лабораторного контроля при выполнении ремонтных работ 18 Акт приемки гидротехнического сооружения в эксплуатацию после капитального ремонта 19 Перечень руководящих и нормативных документов 20 Шкала балльности ветра 21 Шкала балльности волнения на морях, озерах и крупных водохранилищах | Разработан: | СоюзморНИИпроект Черноморниипроект
| Утверждён: | 02.03.1990 Министерство морского флота СССР (USSR Ministry of the Merchant Marine 24)
| Расположен в: |
| Заменяет собой: | - РД 31.35.02-71 «Ведомственные технические условия на производство текущих и капитальных ремонтов портовых гидротехнических сооружений»
| Нормативные ссылки: |   СНиП 3.01.01-85* «Организация строительного производства»  СНиП 3.01.04-87 «Приемка в эксплуатацию законченных строительством объектов. Основные положения» СНиП III-4-80* «Техника безопасности в строительстве»  СНиП 2.03.11-85 «Защита строительных конструкций от коррозии»  СНиП 3.04.03-85 «Защита строительных конструкций и сооружений от коррозии»  СНиП 3.04.01-87 «Изоляционные и отделочные покрытия»  СНиП 2.06.01-86 «Гидротехнические сооружения. Основные положения проектирования»  СНиП 3.07.02-87 «Гидротехнические морские и речные транспортные сооружения»  СНиП 2.02.03-85 «Свайные фундаменты»  СНиП 2.02.05-87 «Фундаменты машин с динамическими нагрузками»  СНиП 3.02.01-87 «Земляные сооружения, основания и фундаменты»  СНиП 2.03.01-84* «Бетонные и железобетонные конструкции»  СНиП 3.03.01-87 «Несущие и ограждающие конструкции»  СНиП 3.09.01-85 «Производство сборных железобетонных конструкций и изделий»  СН 525-80 «Инструкция по технологии приготовления полимербетонов и изделий из них»  СНиП II-23-81* «Стальные конструкции»  ГОСТ 21.513-83 «Система проектной документации для строительства. Антикоррозионная защита конструкций зданий и сооружений. Рабочие чертежи»  ГОСТ 21779-82 «Система обеспечения точности геометрических параметров в строительстве. Технологические допуски»  ГОСТ 5686-94 «Грунты. Методы полевых испытаний сваями»  ГОСТ 969-91 «Цементы глиноземистые и высокоглиноземистые. Технические условия»  ГОСТ 3476-74 «Шлаки доменные и электротермофосфорные гранулированные для производства цементов»  ГОСТ 10178-85 «Портландцемент и шлакопортландцемент. Технические условия» ГОСТ 22236-85 «Цементы. Правила приемки»  ГОСТ 22237-85 «Цементы. Упаковка, маркировка, транспортирование и хранение»  ГОСТ 22266-94 «Цементы сульфатостойкие. Технические условия»  ГОСТ 10181.0-81 «Смеси бетонные. Общие требования к методам испытаний» ГОСТ 10181.1-81 «Смеси бетонные. Методы определения удобоукладываемости»  ГОСТ 26633-91 «Бетоны тяжелые и мелкозернистые. Технические условия»  ГОСТ 8267-93 «Щебень и гравий из плотных горных пород для строительных работ. Технические условия» ГОСТ 8269-87 «Щебень из природного камня, гравий и щебень из гравия для строительных работ. Методы испытаний»  ГОСТ 8735-88 «Песок для строительных работ. Методы испытаний»  ГОСТ 8736-93 «Песок для строительных работ. Технические условия»  ГОСТ 21234-75 «Тальк молотый для керамической промышленности. Технические условия»  ГОСТ 6617-76 «Битумы нефтяные строительные. Технические условия»  ГОСТ 380-94 «Сталь углеродистая обыкновенного качества. Марки»  ГОСТ 2246-70 «Проволока стальная сварочная. Технические условия»  ГОСТ 2590-88 «Прокат стальной горячекатаный круглый. Сортамент»  ГОСТ 3728-78 «Трубы. Метод испытания на загиб»  ГОСТ 4781-85 «Профили стальные горячекатаные для шпунтовых свай. Технические условия»  ГОСТ 5264-80 «Ручная дуговая сварка. Соединения сварные. Основные типы, конструктивные элементы и размеры»  ГОСТ 5781-82 «Сталь горячекатаная для армирования железобетонных конструкций. Технические условия»  ГОСТ 7348-81 «Проволока из углеродистой стали для армирования предварительно напряженных железобетонных конструкций.Технические условия»  ГОСТ 7566-94 «Металлопродукция. Приемка, маркировка, упаковка, транспортирование и хранение»  ГОСТ 8240-89 «Швеллеры стальные горячекатаные. Сортамент»  ГОСТ 8509-93 «Уголки стальные горячекатаные равнополочные. Сортамент»  ГОСТ 12004-81 «Сталь арматурная. Методы испытания на растяжение»  ГОСТ 2292-88 «Лесоматериалы круглые. Маркировка, сортировка, транспортирование, методы измерения и приемка»  ГОСТ 8486-86 «Пиломатериалы хвойных пород. Технические условия» ГОСТ 9463-88 «Лесоматериалы круглые хвойных пород. Технические условия» ГОСТ 9685-61 «Заготовки из древесины хвойных пород. Технические условия»  ГОСТ 20022.0-93 «Защита древесины. Параметры защищенности»  ГОСТ 12.1.010-76 «Система стандартов безопасности труда. Взрывобезопасность. Общие требования»  ГОСТ 9128-97 «Смеси асфальтобетонные дорожные, аэродромные и асфальтобетон. Технические условия»  ГОСТ 25951-83 «Пленка полиэтиленовая термоусадочная. Технические условия»  ГОСТ 13078-81 «Стекло натриевое жидкое. Технические условия»  ГОСТ 9.402-80 «Единая система защиты от коррозии и старения. Покрытия лакокрасочные. Подготовка металлических поверхностей перед окрашиванием»
|
                                                                                                                                                                                                                                                                                                                                                         
|