Информационная система
«Ёшкин Кот»

XXXecatmenu

ОТКРЫТОЕ АКЦИОНЕРНОЕ ОБЩЕСТВО
«НАУЧНО-ПРОИЗВОДСТВЕННОЕ ОБЪЕДИНЕНИЕ ПО
ИССЛЕДОВАНИЮ И ПРОЕКТИРОВАНИЮ
ЭНЕРГЕТИЧЕСКОГО ОБОРУДОВАНИЯ
им. И.И. ПОЛЗУНОВА»
(ОАО «НПО ЦКТИ»)

 

СТАНДАРТЫ ОРГАНИЗАЦИИ

ДЕТАЛИ И СБОРОЧНЫЕ ЕДИНИЦЫ
ИЗ УГЛЕРОДИСТЫХ И
КРЕМНЕМАРГАНЦОВИСТЫХ СТАЛЕЙ
ТРУБОПРОВОДОВ ТЕПЛОВЫХ СТАНЦИЙ
С АБСОЛЮТНЫМ ДАВЛЕНИЕМ р ≥ 4,0 МПа
И РАСЧЕТНЫМ РЕСУРСОМ 200000 ЧАСОВ

СТО ЦКТИ 321.01-2009 ÷ CТО ЦКТИ 321.04-2009,
СТО ЦКТИ 318.01-2009 ÷ СТО ЦКТИ 318.03-2009,
СТО ЦКТИ 462.01-2009 ÷ СТО ЦКТИ 462.04-2009,
СТО ЦКТИ 520.01-2009, СТО ЦКТИ 313.01-2009,
СТО ЦКТИ 720.01-2009 ÷ СТО ЦКТИ 720.14-2009,
СТО ЦКТИ 038.01-2009,
СТО ЦКТИ 839.01-2009 ÷ СТО ЦКТИ 839.04-2009,
СТО ЦКТИ 504.01-2009, СТО ЦКТИ 530.01-2009,
СТО ЦКТИ 724.01-2009

Санкт-Петербург

2010 год

 

«Утверждаю»

Зам. генерального директора

ОАО «НПО ЦКТИ»

_______________ А.В. Судаков

15 октября 2009 г.

В соответствии с положением пункта 4.13 ГОСТ Р 1.4-2004 «Стандарты организаций. Общие положения» предлагаются следующие организационно-технические мероприятия по подготовке и применению стандартов на детали и сборочные единицы для трубопроводов тепловых станций на ресурс 200 тыс. часов (64 стандарта):

1. Стандарты 2009 года утверждения вводятся в действие с 01.05.2010 для нового проектирования трубопроводов тепловых станций.

2. Стандарты на детали и сборочные единицы трубопроводов тепловых станций 1982 года издания на ресурс 200 тыс. часов используются на переходный период до 30.04.2011 с применением ОСТ 24.125.60-89 в качестве общих технических требований для окончания работ по изготовлению элементов трубопроводов тепловых станций на ресурс 200 тыс. часов по действующим договорам с заказчиками. Допускается использование стандартов 1982 года издания после 30.04.2011 г. для проведения ремонтных работ по замене ранее изготовленных трубопроводов.

3. Стандарты на детали и сборочные единицы трубопроводов из хромомолибденованадиевых сталей на ресурс 100 тыс. часов остаются в действие без изменений (16 стандартов).

Зав. сектором НТД объектов
котлонадзора и стандартизации
энергооборудования
ОАО «НПО ЦКТИ»

П.В. Белов

 

ОТКРЫТОЕ АКЦИОНЕРНОЕ ОБЩЕСТВО
«НАУЧНО-ПРОИЗВОДСТВЕННОЕ ОБЪЕДИНЕНИЕ ПО
ИССЛЕДОВАНИЮ И ПРОЕКТИРОВАНИЮ
ЭНЕРГЕТИЧЕСКОГО ОБОРУДОВАНИЯ
им. И.И. ПОЛЗУНОВА»
(ОАО «НПО ЦКТИ»)

 

СТАНДАРТ ОРГАНИЗАЦИИ

СТО ЦКТИ
720.12-2009

ТРОЙНИКИ ПЕРЕХОДНЫЕ ШТАМПОВАННЫЕ
ДЛЯ ТРУБОПРОВОДОВ
ПАРА И ГОРЯЧЕЙ ВОДЫ
ТЕПЛОВЫХ СТАНЦИЙ

Конструкция и размеры

Предисловие

Объекты стандартизации и общие положения при разработке и применении стандартов организации установлены ГОСТ Р 1.4-2004 «Стандартизация в Российской Федерации. Стандарты организаций. Общие положения».

Сведения о стандарте

1 РАЗРАБОТАН открытым акционерным обществом «Научно-производственное объединение по исследованию и проектированию энергетического оборудования им. И.И. Ползунова» (ОАО «НПО ЦКТИ») и ЗАО «Энергомаш (Белгород)-БЗЭМ»

Рабочая группа

от ОАО «НПО ЦКТИ»: СУДАКОВ А.В., ГАВРИЛОВ С.Н., БЕЛОВ П.В.,

ТАБАКМАН М.Л., СМИРНОВА И.А.

от ЗАО «Энергомаш (Белгород)-БЗЭМ»: МОИСЕЕНКО П.П., ЛУШНИКОВ И.Н.

2 УТВЕРЖДЕН И ВВЕДЕН В ДЕЙСТВИЕ Приказом Генерального директора ОАО «НПО ЦКТИ» № 373 от 14 декабря 2009 г.

3 ВЗАМЕН ОСТ 108.104.16-82

4 Согласованию с Ростехнадзором не подлежит

СТО ЦКТИ 720.12-2009

СТАНДАРТ ОРГАНИЗАЦИИ

ТРОЙНИКИ ПЕРЕХОДНЫЕ ШТАМПОВАННЫЕ
ДЛЯ ТРУБОПРОВОДОВ ПАРА И ГОРЯЧЕЙ ВОДЫ
ТЕПЛОВЫХ СТАНЦИЙ

Конструкция и размеры

Дата введения: 2010-05-01

СОДЕРЖАНИЕ

1 Область применения

Настоящий стандарт распространяется на переходные штампованные тройники с вытянутой горловиной, изготавливаемые из труб стали марок 20 и 15ГС по ТУ 14-3Р-55 или ТУ 1310-030-00212179 и 15ГС по ТУ 1310-030-00212179, для трубопроводов пара и горячей воды тепловых станций I, II и III категорий (по классификации «Правил устройства и безопасной эксплуатации трубопроводов пара и горячей воды») с абсолютным давлением и температурой среды:

 

р = 23,54 МПа, t = 250 °С

Категория I.4

 

р = 18,14 МПа, t = 215 °C

 

р = 4,31 МПа, t = 340 °С

 

Категория II.2

 

р = 3,92 МПа, t = 200 °С

 

Категория III.2

2 Нормативные ссылки

В настоящем стандарте использованы ссылки на следующие нормативные документы:

СТО ЦКТИ 10.003-2007 Трубопроводы пара и горячей воды тепловых станций. Общие технические требования к изготовлению

ОСТ 108.030.113-87 Поковки из углеродистой и легированной стали для оборудования и трубопроводов тепловых и атомных станций. Технические условия

ТУ 14-3Р-55-2001 Трубы стальные бесшовные для паровых котлов и трубопроводов. Технические условия

ТУ 1310-030-00212179-2007 Трубы бесшовные горячедеформированные механически обработанные из углеродистой и легированных марок стали для трубопроводов ТЭС и АЭС. Технические условия

3 Термины и определения

3.1 В настоящем стандарте применяют следующие термины с соответствующими определениями:

3.1.1 тройник: Деталь или сборочная единица, обеспечивающая слияние или разделение потока рабочей среды.

3.1.2 тройник штампованный: Тройник, изготовленный из трубы или трубной заготовки штамповкой без применения сварки

3.1.3 исполнение: Совокупность особенностей деталей в размерах, материалах, технических требованиях, определяющих их технические характеристики и применяемость.

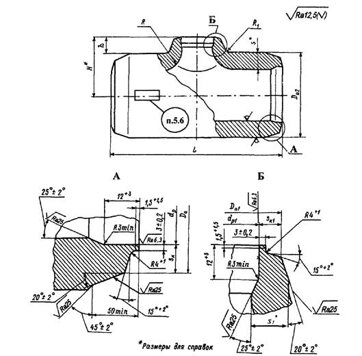
4 Конструкция и размеры

4.1 Конструкция, размеры и материал тройников должны соответствовать указанным на рисунке 1 и в таблице 1.

4.2 Допускается изготовление тройников с разделкой под сварку по типу С4 и С5 в соответствии с СТО ЦКТИ 10.003.

5 Технические требования

5.1 Размеры высот Н и h, радиусов R и R1 и толщины стенки ski могут быть по усмотрению предприятия-изготовителя изменены при соблюдении условий прочности.

5.2 Исполнение 14 разрешается изготавливать из поковки Ø 750×60 мм сталей марок 15ГС, 16ГС по ОСТ 108.030.113, гр. II Т. Предельные отклонения наружного диаметра Da2 не должны превышать ±2 %.

5.3 Масса тройников, указанная в таблице 1, - расчетная, приведена для справки.

5.4 Остальные технические требования - по СТО ЦКТИ 10.003.

5.5 Пример условного обозначения тройника штампованного переходного исполнения 07 с условными проходами Dy 175 и Dу1 150:

ТРОЙНИК ПЕРЕХОДНЫЙ 175×150 07 СТО ЦКТИ 720.12

5.6 Пример маркировки:

Рисунок 1


Таблица 1

Размеры в миллиметрах

Исполнение

Условный проход

Наружный диаметр и толщина стенки присоединяемых труб

Da

Dal

Da2

dр

dр1

L ± 5

H*

h+5

s*

s1*

sk

sk1

R, не более

R1+5

Марка стали, ТУ

Масса,

кг

Dy

Dy1

номин.

пред. откл.

номин.

пред. откл.

номин.

пред. откл.

номин.

пред. откл.

не менее

р = 23,54 МПа, t = 250 °C

01

150

100

194×17

133×13

196

±1,2

136

+2

205

162

+0,63

109

+0,54

400

138

35

30

18

14,8

11,0

60

25

15ГС ТУ 14-3Р-55

63,5

02

175

150

219×19

194×17

222

196

245

183

+0,72

162

+0,63

500

158

36

20

16,5

15,1

70

30

106,0

03

225

273×24

276

320

227

600

210

50

50

29

20,2

85

240,0

04

250

225

325×28

273×24

328

276

+3

360

271

+0,81

227

+0,72

650

240

60

30

23,8

20,5

105

50

301,0

05

300

250

377×32

325×28

380

±2,0

328

400

316

+0,89

271

+0,81

700

260

56

34

27,6

24,1

115

395,0

р = 18,14 МПа, t = 215 °С

06

150

100

194×15

133×13

196

±1,2

136

+2

205

166

+0,63

109

+0,54

400

138

35

30

18

11,9

10,7

60

25

15ГС ТУ 14-3Р-55

63,6

07

175

150

219×16

194×15

222

196

245

188

 

166

+0,63

500

158

36

20

13,2

12,1

70

30

106,0

08

225

273×20

276

320

236

 

600

200

40

50

29

16,0

85

240,0

09

250

225

325×22

273×20

328

276

+3

360

283

+0,81

236

+0,72

650

250

70

30

18,7

16,2

115

50

301,0

10

300

250

377×26

325×22

380

±2,0

328

400

327

+0,89

283

+0,81

700

270

56

34

21,7

19,0

395,0

р = 4,31 МПа, t = 340 °С; р = 3,92 МПа, t = 200 °С

11

400

350

426×14

377×13

430

±2,0

380

+4

435

401

+0,89

354

+0,89

700

273

55

26

16

9,5

8,7

65

35

20 ТУ 14-3Р-55

219,0

12

450

350

465×16

377×13

468

±2,0

380

+4

485

437

+0,90

354

+0,89

750

323

80

40

24

10,5

8,6

85

40

15ГС ТУ 14-3Р-55

362,0

13

400

426×14

430

401

800

333

90

9,5

387,0

14

600

630×17

635

670

598

+1,00

930

425

60

36

12,2

135

65

15ГС ТУ 1310-030-00212179

880,0

* Размеры для справок

 


Ключевые слова: тепловые станции, трубопроводы, пар и горячая вода, тройники переходные штампованные, конструкция, размеры, материалы

ЛИСТ РЕГИСТРАЦИИ ИЗМЕНЕНИЙ

Изм.

Номера листов (страниц)

Номер документа

Срок введения изменений

Подпись

Дата

Измененных

Замененных

Новых

Аннулированных

 

 

 

 

 

 

 

 

 

 

 

 

 

 

 

 

 

 

 

 

 

 

 

 

 

 

 

 

 

 

 

 

 

 

 

 

 

 

 

 

 

 

 

 

 

 

 

 

 

 

 

 

 

 

 

 

 

 

 

 

 

 

 

 

 

 

 

 

 

 

 

 

 

 

 

 

 

 

 

 

 

 

 

 

 

 

 

 

 

 

 

 

 

 

 

 

 

 

 

 

 

 

 

 

 

 

 

 

 

 

 

 

 

 

 

 

 

 

 

 

 

 

 

 

 

 

 

 

 

 

 

 

 

 

 

 

 

 

 

 

 

 

 

 

 

 

 

 

 

 

 

 

 

 

 

 

 

 

 

 

 

 

 

 

 

 

 

 

 

 

 

 

 

 

 

 

 

 

 

 

 

 

 

 

 

 

 

 

 

 

 

 

 

 

 

 

 

 

 

 

 

 

 

 

 

 

 

 

 

 

 

 

 

 

 

 

 

 

 

 

 

 

 

 

 

 

 

 

 

 

 

 

 

 

 

 

 

 

 

 

 

 

 

 

 

 

 

 

 

 

 

 

 

 

 

 

 

 

 

 

 

 

 

 

 

 

 

 

 

 

 

 

 

 

 

 

 

 

 

 

 



© 2013 Ёшкин Кот :-)