Информационная система
«Ёшкин Кот»

Скачать базу одним архивом
Скачать обновления
История создания базы
Карта сайта

Скачать МДС 12-54.2010 Руководство по применению в кровлях и гидроизоляции полимерных материалов

Дата актуализации: 10.08.2017

МДС 12-54.2010

Руководство по применению в кровлях и гидроизоляции полимерных материалов

Обозначение: МДС 12-54.2010
Обозначение англ: MDS 12-54.2010
Статус:действует
Название рус.:Руководство по применению в кровлях и гидроизоляции полимерных материалов
Дата добавления в базу:01.09.2013
Дата актуализации:05.05.2017
Область применения:Руководство предназначено для использования при проектировании, устройстве и ремонте кровель и гидроизоляции полимерными материалами НПО "Гидрол-Руфинг"
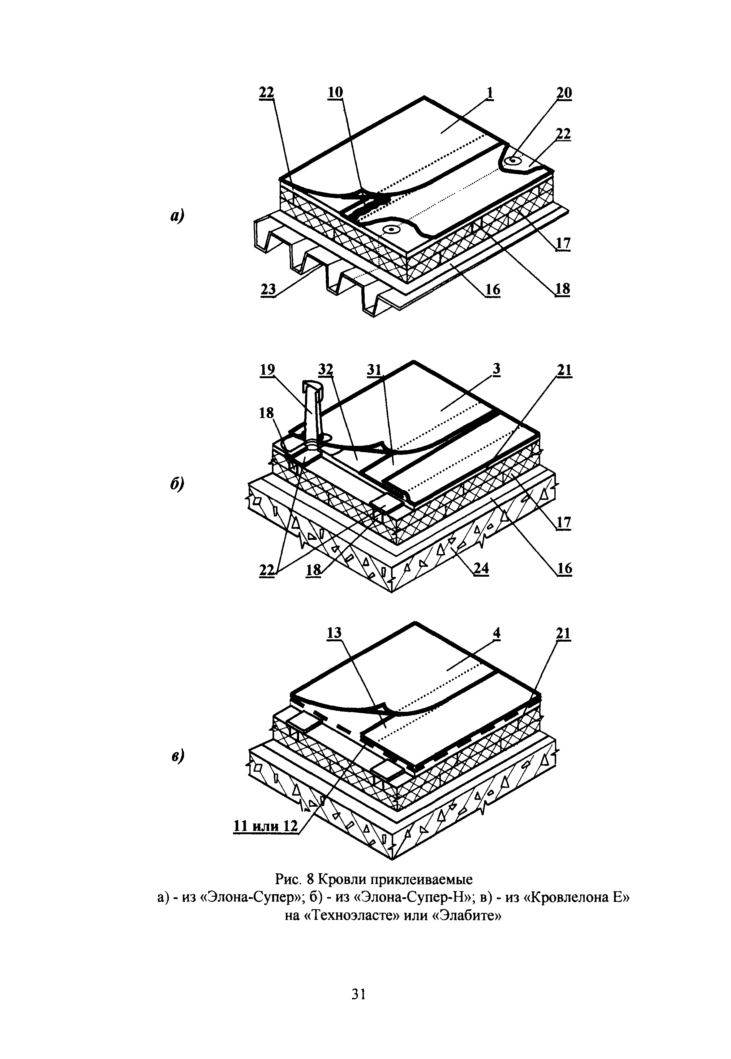
Оглавление:Введение
1. Общая часть
2. Характеристика материалов
3. Проектирование кровель
   3.1. Кровли рулонные и мастичные
   3.2. Примеры конструктивных решений кровель при новом строительстве и при ремонте
4. Проектирование гидроизоляции
   4.1. Гидроизоляция подземных конструкций
   4.2. Полы промышленных зданий в т.ч. с агрессивными средами
   4.3. Изоляция наливных сооружений. Химически стойкие экраны
   4.4. Защита от механических повреждений
   4.5. Требования к основаниям
5. Кровельные и гидроизоляционные работы
6. Качество выполняемых работ
7. Транспортирование и хранение
8. Техника безопасности и производственная санитария
Приложения
Разработан: ООО НПО Гидрол-Руфинг
ООО Стройпроектзащита
Утверждён: НПО Гидрол-Руфинг
ООО Стройпроектзащита
Принят: ОАО ЦНИИпромзданий (TsNIIpromzdaniy OAO )
Ассоциация защиты строительных конструкций зданий и сооружений
Расположен в:Техническая документация Экология СТРОИТЕЛЬНЫЕ МАТЕРИАЛЫ И СТРОИТЕЛЬСТВО Защита зданий снаружи и внутри Паро- и водонепроницаемость Строительство Справочные документы Директивные письма, положения, рекомендации и др.
Нормативные ссылки:
МДС 12-54.2010МДС 12-54.2010МДС 12-54.2010МДС 12-54.2010МДС 12-54.2010МДС 12-54.2010МДС 12-54.2010МДС 12-54.2010МДС 12-54.2010МДС 12-54.2010МДС 12-54.2010МДС 12-54.2010МДС 12-54.2010МДС 12-54.2010МДС 12-54.2010МДС 12-54.2010МДС 12-54.2010МДС 12-54.2010МДС 12-54.2010МДС 12-54.2010МДС 12-54.2010МДС 12-54.2010МДС 12-54.2010МДС 12-54.2010МДС 12-54.2010МДС 12-54.2010МДС 12-54.2010МДС 12-54.2010МДС 12-54.2010МДС 12-54.2010МДС 12-54.2010МДС 12-54.2010МДС 12-54.2010МДС 12-54.2010МДС 12-54.2010МДС 12-54.2010МДС 12-54.2010МДС 12-54.2010МДС 12-54.2010МДС 12-54.2010МДС 12-54.2010МДС 12-54.2010МДС 12-54.2010МДС 12-54.2010МДС 12-54.2010МДС 12-54.2010МДС 12-54.2010МДС 12-54.2010МДС 12-54.2010МДС 12-54.2010МДС 12-54.2010МДС 12-54.2010МДС 12-54.2010МДС 12-54.2010МДС 12-54.2010МДС 12-54.2010МДС 12-54.2010МДС 12-54.2010МДС 12-54.2010МДС 12-54.2010МДС 12-54.2010МДС 12-54.2010МДС 12-54.2010МДС 12-54.2010МДС 12-54.2010МДС 12-54.2010МДС 12-54.2010МДС 12-54.2010МДС 12-54.2010МДС 12-54.2010МДС 12-54.2010МДС 12-54.2010МДС 12-54.2010МДС 12-54.2010МДС 12-54.2010МДС 12-54.2010МДС 12-54.2010МДС 12-54.2010МДС 12-54.2010МДС 12-54.2010МДС 12-54.2010МДС 12-54.2010МДС 12-54.2010МДС 12-54.2010МДС 12-54.2010МДС 12-54.2010МДС 12-54.2010МДС 12-54.2010МДС 12-54.2010МДС 12-54.2010МДС 12-54.2010МДС 12-54.2010МДС 12-54.2010МДС 12-54.2010МДС 12-54.2010МДС 12-54.2010МДС 12-54.2010

© 2013 Ёшкин Кот :-) Карта сайта