| ||||||||||||||||||||||||||||||
Скачать РМ 4-49-96 Электрические схемы автоматического регулирования технологических параметров. Измерительные приборы и регуляторы приборного типа. Часть 5. Приборы, выпускаемые изготовителями РФДата актуализации: 10.08.2017
|
| Обозначение: | РМ 4-49-96 |
| Обозначение англ: | RM 4-49-96 |
| Статус: | действует |
| Название рус.: | Электрические схемы автоматического регулирования технологических параметров. Измерительные приборы и регуляторы приборного типа. Часть 5. Приборы, выпускаемые изготовителями РФ |
| Дата добавления в базу: | 01.09.2013 |
| Дата актуализации: | 05.05.2017 |
| Область применения: | Является пособием по применению в системах автоматизации приборов и средств автоматизации электрической ветви ГСП. Приведены схемы электрических соединений измерительных цепей и дополнительных устройств |
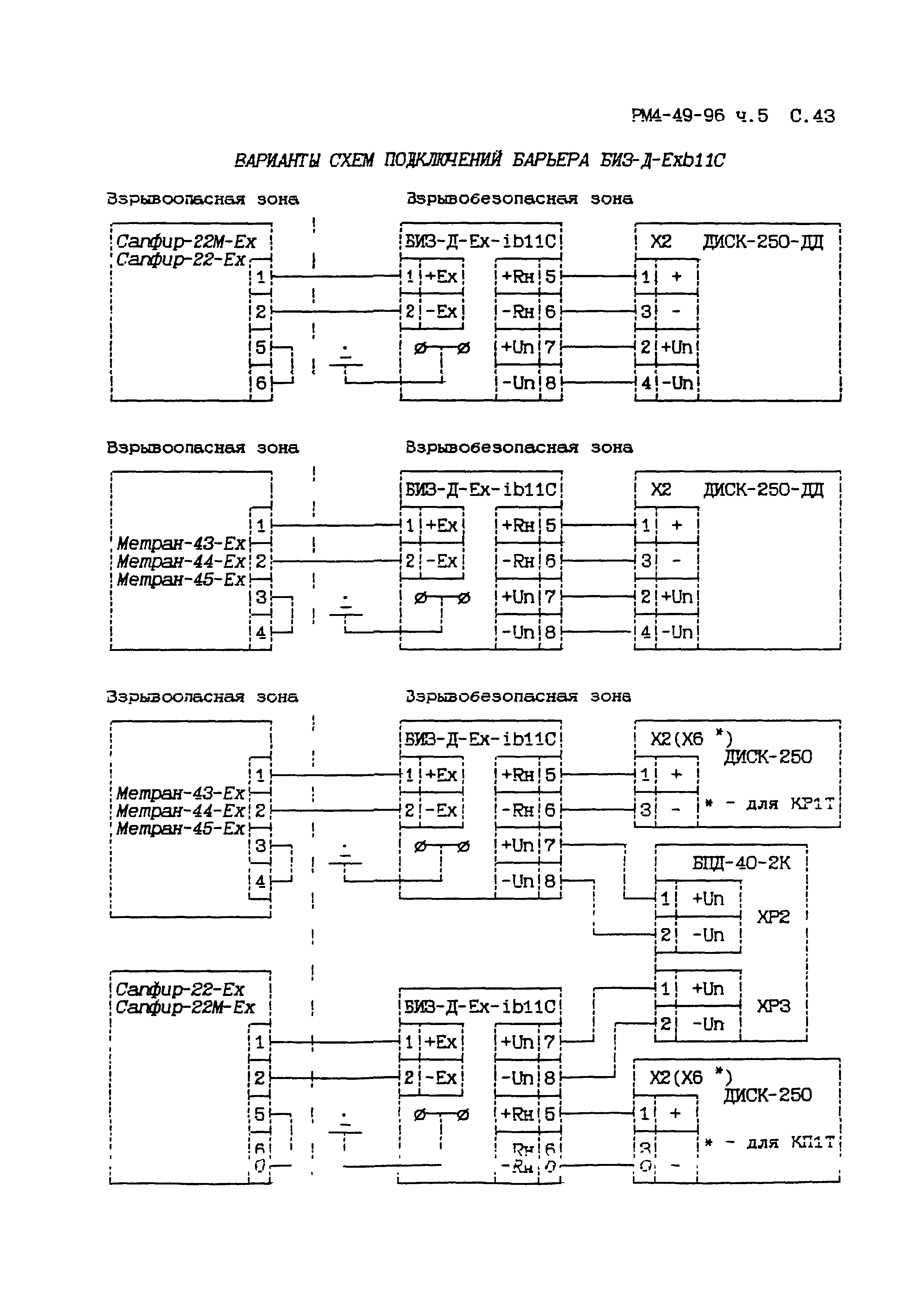
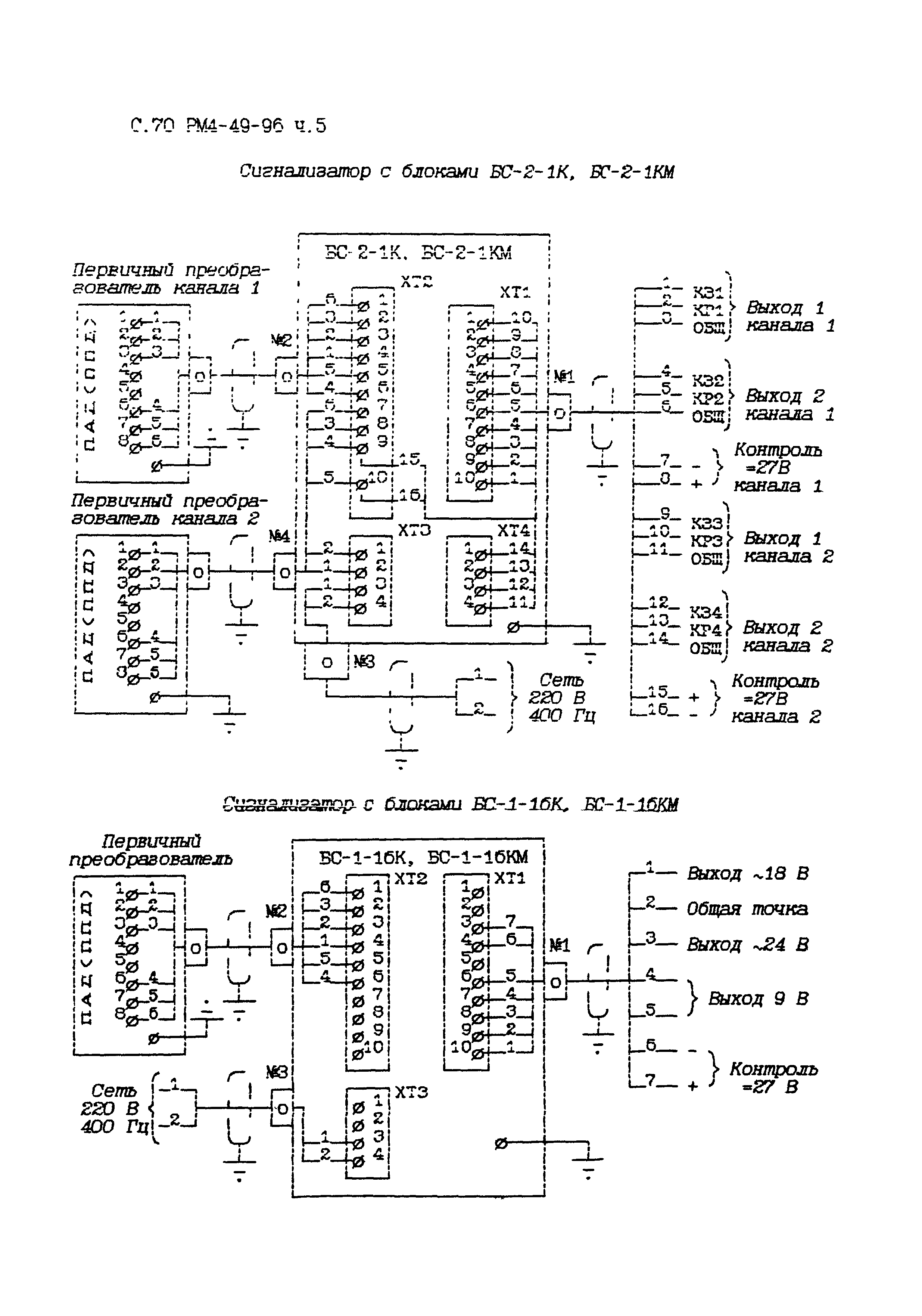
| Оглавление: | 1. Устройство контроля и регистрации ФШЛ501 (ФЩЛ502) с преобразователями напряжения постоянного тока. Схема электрическая соединений 2. Устройство контроля и регистрации ФЩЛ501 (ФЩЛ502) с преобразователями силы постоянного тока. Схема электрическая соединений 3. Устройство контроля и регистрации ФЩЛ501 (ФЩЛ502) с термопреобразователями сопротивления при четырехпроводном подключении. Схема электрическая соединений 4. Устройство контроля и регистрации ФЩЛ501 (ФЩЛ502) с термопреобразователями сопротивления при трехпроводном подключении. Схема электрическая соединений 5. Устройство контроля и регистрации ФЩЛ501 (ЩЛ502) с термоэлектрическими преобразователями. Схема электрическая соединений 6. Устройство контроля и регистрации ФЩЛ501 (ФЩЛ502) выход каналов регулирования. Схема электрическая подключения 7. Устройство контроля и регистрации ФЩЛ501 (ФЩЛ502). Схема подключения внешних исполнительных элементов 8. Устройство контроля и регистрации ФОЩ501 (ФЩЛ502) Назначение, принцип действия и область применения 9. Устройство измерения и регистрации ГСП А682-002 с термопреобразователями сопротивлениями. Схема электрическая соединений 10. Устройство измерения и регистрации ГСП А682-002 с термоэлектрическими преобразователями. Схема электрическая соединений 11. Устройство измерения и регистрации ГСП А682-002 с преобразователями напряжения постоянного тока. Схема электрическая соединений 12. Устройство измерения и регистрации ГСП А682-002. Назначение и область применения 13. Прибор регистрирующий ДИСК-250. Схема электрическая соединений 14. Прибор регистрирующий ДИСК-250И. Схема электрическая соединений 15. Приборы регистрирующие ДИСК-250 и ДИСК-250И. Назначение и область применения 16. Прибор регистрирующий ДИСК-250С. Схема электрическая соединений 17. Прибор регистрирующий ДИСК-250ДД. Схема электрическая соединений 18. Прибор регистрирующий ДИСК-250ТН. Схема электрическая соединений 19. Устройство многоканальной сигнализации УМС1 (УМС2). Схема электрическая соединений 20. Устройство многоканальной сигнализации УМС1 (УМС2). Назначение и область применения 21. Устройство многоканальной сигнализации УМС3 (УМС4). Общая схема подключения цепей 22. Прибор аналоговый одноканальный А100 щитового исполнения. Схема электрическая соединений 23. Прибор аналоговый двухканальный А100 щитового исполнения. Схема электрическая соединений 24. Прибор аналоговый одноканальный А100 стоечного исполнения. Схема электрическая соединений 25. Прибор аналоговый двухканальный А100 стоечного исполнения. Схема электрическая соединений 26. Прибор аналоговый одноканальный А100Н щитового исполнения. Схема электрическая соединений 27. Прибор аналоговый двухканальный А100Н щитового исполнения. Схема электрическая соединений 28. Прибор аналоговый трехканальный А100Н щитового исполнения. Схема электрическая соединений 29. Прибор аналоговый показывающий и регистрирующий А542М щитового исполнения. Схема электрическая соединений 30. Прибор аналоговый показывающий и регистрирующий А542М стоечного исполнения. Схема электрическая соединений 31. Прибор аналоговый А543 щитового исполнения. Схема электрическая соединений 32. Прибор аналоговый А543 стоечного исполнения. Схема электрическая соединений 33. Преобразователь измерительный Ш9321 (Ш9321И). Схема электрическая соединений 34. Преобразователь измерительный Ш9322. Схема электрическая соединений 35. Блок питания датчиков БПД-40-2к. Схема электрическая соединений 36. Блок питания датчиков БПД-40-4к. Схема электрическая соединений 37. Блок питания датчиков БПД-40-2х-Ех. Схемы электрические подключений 38. Блоки питания и корнеизвлечения БПК-40. Схемы электрические подключений 39. Блоки питания и корнеизвлечения БПК-40-Ex. Схемы электрические подключений 40. Прибор показывающий КП1Т. Схема электрическая подключений 41. Барьеры искрозащиты БИЗ. Схема электрическая подключений 42. Датчики-преобразователи давления МЕТРАН-43(44,45). Схема внешних электрических соединении датчика 43. Датчики-преобразователи давления МЕТРАН-43(44,45} 44. Микроэлектронные датчики для измерения избыточного давления МИДА-ДИ-01П, МИДА-ДИ-02П. Схема внешних электрических соединении датчика 45. Датчик абсолютного, избыточного и перепада давления МЕТРАН-1151. Схема электрическая подключений 46. Термопреобразователь с унифицированным выходным сигналом МЕТРАН-200Т. Схема внешних электрических подключений 47. Термопреобразователь с унифицированным выходным сигналом ГОР-А-ТП. Схема электрическая подключений 48. Счетчик-расходомер вихреакустический С8А. Схема электрических соединений и подключений 49. Расходомер-счетчик воды корреляционный ультразвуковой ДРК-М. Схема подключения 50. Термометры манометрические показывающие электроконтактные ТГП-100Эк-M1 и ТКП-100Эк-М1. Схема электрическая соединений 51. Термометры ТГП-16СгВ3Т4, ТКП-16СгВ3Т4, ТГП-16СгКсВ3Т4, тягомеры, напоромеры. тягонапоромеры ТмСП-16СгВ3Т4, НСП-16СгВ3Т4, ТНСП-16СгВ3Т4 показывающие сигнализирующие взрывозащищенные. Схема электрическая подключений 52. Термометры манометрические самопишущие ТГС-711М, ТГ2С-711М, ТГ-711РМ. Схема электрическая соединении 53. Реле потока РПИ. Схема электрическая соединений 54. Манометры дифференциальные сильфонные самопишущие ДСС-711-М1, ДСС-711-2С-М1, ДСС-711Ин-2С-М1. Схема электрическая соединений 55. Манометры, вакуумметры, мановакуумметры самопишущие МТС-711М1, МТ2С-711М1, ВТС-711М1, ВТ2С-711М1, МВТС-711М1, МВТ2С-711М1. Схема электрическая соединений 56. Дифманометр показывающий с сигнализирующим устройством ДСП-4Сг-М1. Схема электрическая соединений 57. Малогабаритный измерительный преобразователь с компенсацией магнитных потоков (манометр пружинный электрический малогабаритный) МПЭ-МИ. Схема внешних соединений 58. Малогабаритный измерительный преобразователь с компенсацией магнитных потоков (дифманометр, перепадомер, уровнемер, расходомер мембранный электрический) ДМЭ-МИ, ДМЭУ-МИ, ДИЭР-МИ. Схема внешних соединений 59. Преобразователь измерительный взрывозащищенный САПФИР-22-Вн 60. Блоки питания БП-36-1 и БП-36-2. Схема внешних соединений 61. Блоки корнеизвлечения и питания БКП-36-1, БКП-36-2. Схема внешних соединений 62. Сигнализаторы абсолютного давления АМСг и перепада давления ПД-Сг. Схема электрическая подключений 63. Блок питания БП-9340. Схема внешних соединений 64. Регулятор температуры электрический трехпозиционный со встроенным прерывателем ТЭ2П3. Схема электрическая подключений 65. Преобразователи давления искробезопасные КРТ-ЕХ. Схема внешних соединений 66. Блоки питания 4БП36. Схема электрическая подключений 57. Датчики давления MT100 (M7100P - избыточное давление, MT100R - разрежение, MT100PR - избыточное давление и разрежение). Схема электрическая подключения датчиков 50. Датчики разности давлений САПФИР-22МТ. Схема электрическая подключения датчиков 59. Преобразователь измерительный САПФИР-22М (абсолютного давления САПФИР-22М-ДА, избыточного давления САПФИР- 22М-ДИ, давления-разрежения САПФИР- 22М- ДИВ 70. Преобразователь измерительный взрывозащищенный САПФИР-22-Ех-М (абсолютного давления САПФИР-22-Ех-М-ДА, избыточного давления САПФИР-22-Ех-М-ДИ, разрежения САПФИР-22-Ех-М-ДВ, давления-разрежения САПФИР-22-Ех-М-ДИВ, разности давлений САПФИР-22-Ех-М-ДД) 71. Блок извлечения корня БИК36М 72. Блок преобразователей сигналов БПС-90 (БПС-90П - пропорциональная, линейная характеристика, БПС-90К - корнеизвлекающая статическая характеристика). Схема электрическая подключения блока 73. Преобразователь измерительный уровня буйковый взрывозащищенный САПФИР-22-ДУ-Вн, САПФИР-22-ДУ-Ex. Схемы внешних электрических соединений датчиков 74. Преобразователь измерительный гидростатического давления взрывозащищенный САПФИР-22-ДГ-Вн. Схемы внешних электрических соединений датчиков 75. Преобразователь измерительный САПФИР-22ДД, САПФИР-22ДГ. Схемы внешних электрических соединений 75. Датчик-реле уровня РОС-101 и Р0С-101И 77. Датчик-реле уровня РОС-301. Схема электрическая подключения 78. Датчики-индикаторы уровня РИС 101. Схема электрическая подключения 79. Датчик-реле уровня жидкости двухпозиционный ДРУ-1ПМ, ДРУ-1ПМ1. Схемы электрические подключения 80. Датчик-реле уровня ДРУ-ЭПМ. Схема электрическая подключения 81. Информационные данные |
| Разработан: | ГПКИ Проектмонтажавтоматика |
| Издан: | ГПКИ Проектмонтажавтоматика (1996 г. ) |
| Расположен в: | |
| Заменяет собой: |
|
| Нормативные ссылки: |
|








































































































