Скачать СТО 0048-2005 Стандарт организации. Резервуары вертикальные цилиндрические стальные для хранения жидких продуктов. Правила проектированияДата актуализации: 10.08.2017 СТО 0048-2005
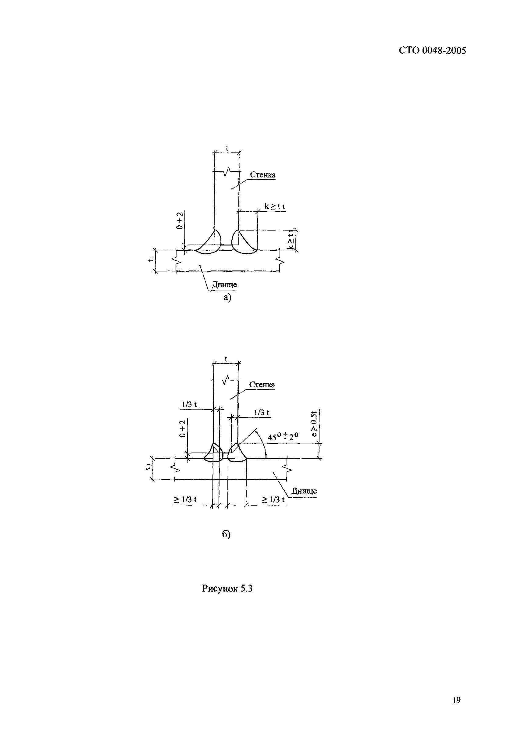
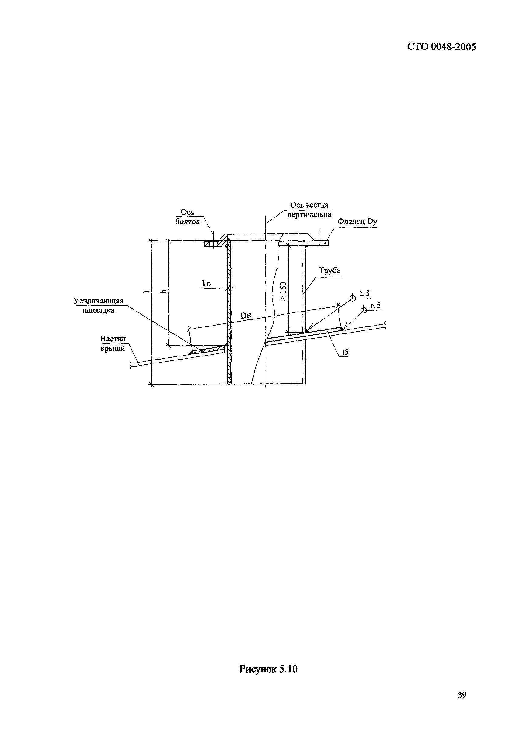
Стандарт организации. Резервуары вертикальные цилиндрические стальные для хранения жидких продуктов. Правила проектирования| Обозначение: | СТО 0048-2005 | | Обозначение англ: | STO 0048-2005 | | Статус: | действует | | Название рус.: | Стандарт организации. Резервуары вертикальные цилиндрические стальные для хранения жидких продуктов. Правила проектирования | | Дата добавления в базу: | 01.09.2013 | | Дата актуализации: | 05.05.2017 | | Дата введения: | 20.05.2005 | | Область применения: | Стандарт распространяется на стальные конструкции вертикальных цилиндрических резервуаров объемом от 100 м куб. и более, предназначенных для наземного хранения жидких продуктов, работающих при избыточном давлении не более 5,0 кПа и относительном вакууме не более 0,8 кПа в условиях квазистатического и малоциклового нагружения, сооружаемых в районах с расчетной температурой наружного воздуха минус 65 градусов С и выше. | | Оглавление: | 1 Область применения 2 Нормативные ссылки 3 Общие положения 4 Материалы для элементов резервуаров 4.1 Общие требования 4.2 Выбор материалов 4.3 Углеродный эквивалент 4.4 Расчетная температура металла 4.5 Требования к ударной вязкости 4.6 Сварочные материалы 4.7 Материал болтов и гаек 5 Требования к конструктивным решениям элементов резервуара 5.1 Общие положения 5.2 Общие требования к сварным соединениям 5.3 Конструкция днища 5.4 Конструкция стенки 5.5 Стационарные крыши 5.6 Плавающие крыши 5.7 Понтоны 5.8 Патрубки и люки-лазы в стенке 5.9 Патрубки и люки в крыше 5.10 Зачистные люки и приямки 5.11 Лестницы, площадки, переходы 5.12 Конструктивные элементы, присоединяемые к стенке резервуара 5.13 Анкерное крепление стенки 6 Общие требования к изготовлению конструкций 7 Требования к проекту производства работ на монтаж резервуаров 7.1 Состав ППР 7.2. Требования по обеспечению точности геометрических параметров резервуара 8 Сварка резервуаров и контроль качества сварных соединений 8.1 Общие требования 8.2 Классификация сварных соединений резервуаров 8.3 Конструктивные требования к сварным соединениям 8.4 Рекомендуемые способы сварки 8.5 Контроль качества сварных соединений 8.6 Классификация и нормирование дефектов 9 Основные требования к испытанию резервуаров 10 Долговечность и регламент обслуживания резервуаров 11 Антикоррозионная защита 12 Оборудование для безопасной эксплуатации резервуаров 12.1 Технологическое оборудование 12.2 Контрольно-измерительные приборы и автоматика 12.3 Устройства пожарной безопасности на резервуарах для нефти и нефтепродуктов 12.4 Устройства молниезащиты резервуаров 13 Основания и фундаменты Приложение А Перечень нормативной литературы Приложение Б Требования к конструкции сварных соединений, подготовке кромок, форме и размерам сварных швов конструктивных элементов резервуаров Приложение В Допускаемые нагрузки на патрубки в стенке резервуара | | Разработан: | ЗАО ЦНИИПСК им. Мельникова ОАО ПИ Нефтеспецстройпроект ФГУП ПИИ Фундаментпроект
| | Утверждён: | 25.04.2005 ЗАО ЦНИИПСК им. Мельникова (77) 26.04.2005 ОАО ПИ Нефтеспецстройпроект (6) 03.05.2005 ФГУП ПИИ Фундаментпроект (57)
| | Издан: | ЗАО ЦНИИПСК им. Мельникова (2005 г. )
| | Расположен в: |
| | Нормативные ссылки: |   ГОСТ 24379.0-80 «Болты фундаментные. Общие технические условия»  ГОСТ 535-88 «Прокат сортовой и фасонный из стали углеродистой обыкновенного качества. Общие технические условия»  ГОСТ 1050-88 «Прокат сортовой, калиброванный, со специальной отделкой поверхности из углеродистой качественной конструкционной стали. Общие технические условия»  ГОСТ 8713-79 «Сварка под флюсом. Соединения сварные. Основные типы, конструктивные элементы и размеры»  ГОСТ 14637-89 «Прокат толстолистовой из углеродистой стали обыкновенного качества. Технические условия»  ГОСТ 19281-89 «Прокат из стали повышенной прочности. Общие технические условия»  ГОСТ 27772-88 «Прокат для строительных стальных конструкций. Общие технические условия» Федеральный закон 116-ФЗ «О промышленной безопасности опасных производственных объектов»  ГОСТ 14771-76 «Дуговая сварка в защитном газе. Соединения сварные. Основные типы. Конструктивные элементы и размеры»  СНиП 23-01-99* «Строительная климатология»  ГОСТ 9454-78 «Металлы. Метод испытания на ударный изгиб при пониженных, комнатной и повышенных температурах»  ГОСТ 12816-80 «Фланцы арматуры, соединительных частей и трубопроводов на Ру от 0,1 до 20,0 МПа (от 1 до 200 кгс/см2). Общие технические требования» Федеральный закон 184-ФЗ «О техническом регулировании»  ГОСТ 22727-88 «Прокат листовой. Методы ультразвукового контроля»  ПБ 03-605-03 «Правила устройства вертикальных цилиндрических стальных резервуаров для нефти и нефтепродуктов»  СТО 02494680-0035-2004 «Стандарт организации. Система проектной документации для строительства. Конструкции металлические. Состав и оформление рабочих чертежей марки КМ» РД 08-296-99 «Положение об организации технического надзора за соблюдением проектных решений и качеством строительства, капитального ремонта и реконструкции на объектах магистральных трубопроводов»  СТО 0030-2004 «Резервуары вертикальные цилиндрические стальные для нефти и нефтепродуктов. Правила технического диагностирования, ремонта и реконструкции»  ГОСТ 9.402-2004 «Единая система защиты от коррозии и старения. Покрытия лакокрасочные. Подготовка металлических поверхностей к окрашиванию»  ГОСТ 21.513-83 «Система проектной документации для строительства. Антикоррозионная защита конструкций зданий и сооружений. Рабочие чертежи»  ГОСТ 27751-88 «Надежность строительных конструкций и оснований. Основные положения по расчету»  ГОСТ 21779-82 «Система обеспечения точности геометрических параметров в строительстве. Технологические допуски»  ГОСТ 5264-80 «Ручная дуговая сварка. Соединения сварные. Основные типы, конструктивные элементы и размеры»  ГОСТ 7512-82 «Контроль неразрушающий. Соединения сварные. Радиографический метод» ГОСТ 27947-88 «Контроль неразрушающий. Рентгенотелевизионный метод. Общие требования»  ГОСТ 14782-86 «Контроль неразрушающий. Соединения сварные. Методы ультразвуковые»  ГОСТ 19903-74 «Прокат листовой горячекатаный. Сортамент»  РД 03-606-03 «Инструкция по визуальному и измерительному контролю»  ГОСТ 11534-75 «Ручная дуговая сварка. Соединения сварные под острыми и тупыми углами. Основные типы, конструктивные элементы и размеры»  СНиП 11-02-96 «Инженерные изыскания для строительства. Основные положения»  ГОСТ 12820-80 «Фланцы стальные плоские приварные на Ру от 0,1 до 2,5 МПа (от 1 до 25 кгс/см2). Конструкция и размеры»  ГОСТ 23055-78 «Контроль неразрушающий. Сварка металлов плавлением. Классификация сварных соединений по результатам радиографического контроля»  СНиП 2.01.07-85* «Нагрузки и воздействия»  СНиП 2.03.11-85 «Защита строительных конструкций от коррозии»  СНиП 2.11.03-93 «Склады нефти и нефтепродуктов. Противопожарные нормы»  ГОСТ 23518-79 «Дуговая сварка в защитных газах. Соединения сварные под острыми и тупыми углами. Основные типы, конструктивные элементы и размеры»  СНиП II-7-81* «Строительство в сейсмических районах»  СНиП 2.09.03-85 «Сооружения промышленных предприятий»  СНиП 2.02.01-83* «Основания зданий и сооружений»  СНиП 2.02.03-85 «Свайные фундаменты»  СНиП 2.02.04-88 «Основания и фундаменты на вечномерзлых грунтах»  СНиП 3.02.01-87 «Земляные сооружения, основания и фундаменты»  СНиП II-23-81* «Стальные конструкции»
|
                                                                                            
|