Информационная система
«Ёшкин Кот»

Скачать базу одним архивом
Скачать обновления
История создания базы
Карта сайта

Скачать СТО ЦКТИ 720.11-2009 Тройник равнопроходный штампованный с обжатием для трубопроводов питательной воды тепловых станций. Конструкция и размеры

Дата актуализации: 10.08.2017

СТО ЦКТИ 720.11-2009

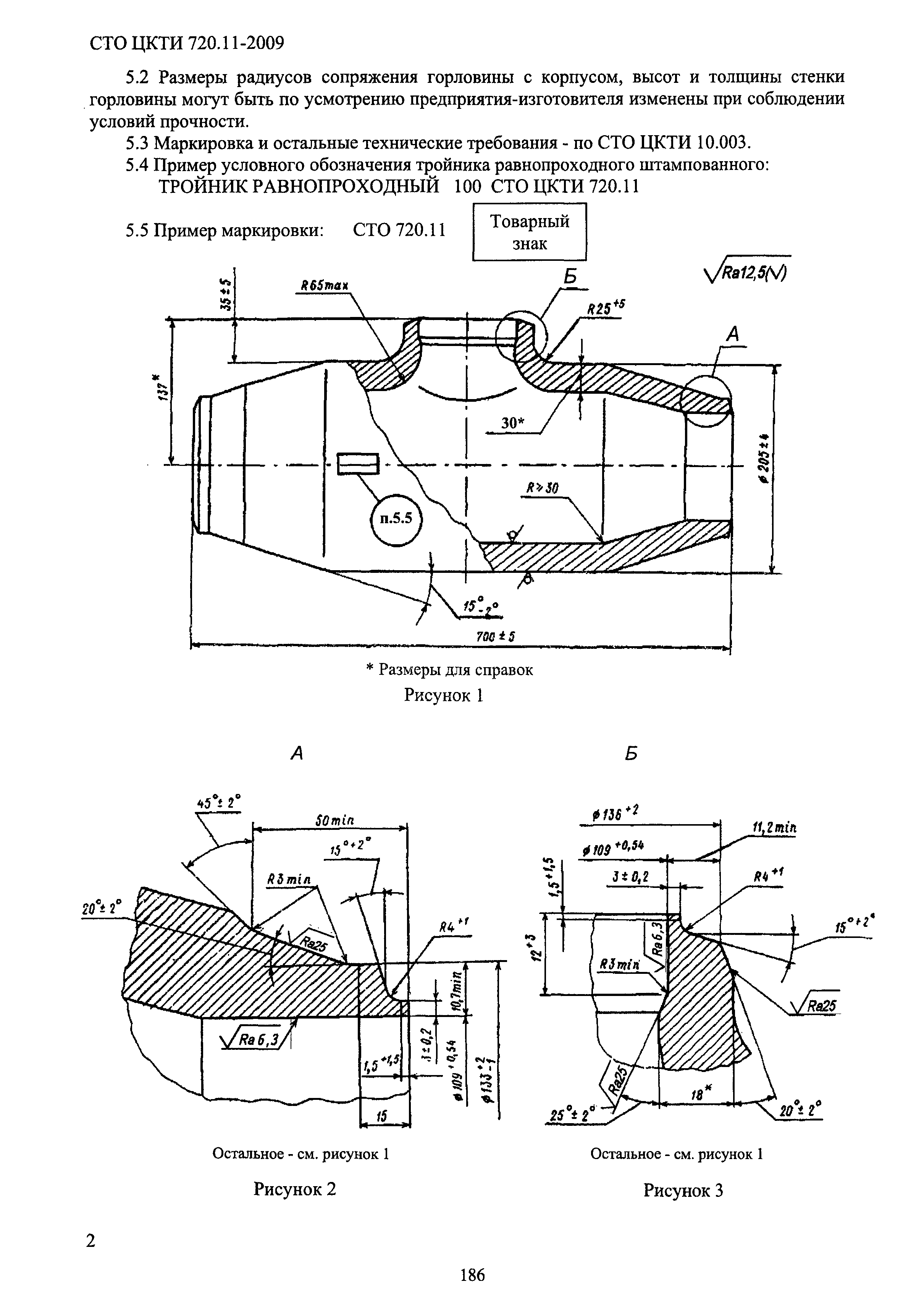
Тройник равнопроходный штампованный с обжатием для трубопроводов питательной воды тепловых станций. Конструкция и размеры

Обозначение: СТО ЦКТИ 720.11-2009
Обозначение англ: 720.11-2009
Статус:действует
Название рус.:Тройник равнопроходный штампованный с обжатием для трубопроводов питательной воды тепловых станций. Конструкция и размеры
Дата добавления в базу:01.09.2013
Дата актуализации:05.05.2017
Дата введения:01.05.2010
Область применения:Стандарт распространяется на штампованный равнопроходный тройник с вытянутой горловиной и обжатыми концами условным проходом Dy100, изготавливаемый из труб стали марок 15ГС по ТУ 14-3Р-55, для трубопроводов питательной воды тепловых станций I категории (по классификации "Правил устройства и безопасной эксплуатации трубопроводов пара и горячей воды").
Оглавление:1. Область применения
2. Нормативные ссылки
3. Термины и определения
4. Конструкция и размеры
5. Технические требования
Разработан: ОАО НПО ЦКТИ
ЗАО Энергомаш (Белгород)-БЗЭМ
Утверждён:14.12.2009 ОАО НПО ЦКТИ (373)
Издан: ОАО НПО ЦКТИ (2010 г. )
Расположен в:Техническая документация
Заменяет собой:
Нормативные ссылки:
СТО ЦКТИ 720.11-2009СТО ЦКТИ 720.11-2009СТО ЦКТИ 720.11-2009СТО ЦКТИ 720.11-2009СТО ЦКТИ 720.11-2009СТО ЦКТИ 720.11-2009СТО ЦКТИ 720.11-2009СТО ЦКТИ 720.11-2009СТО ЦКТИ 720.11-2009СТО ЦКТИ 720.11-2009СТО ЦКТИ 720.11-2009СТО ЦКТИ 720.11-2009

© 2013 Ёшкин Кот :-) Карта сайта