Информационная система
«Ёшкин Кот»

Скачать базу одним архивом
Скачать обновления
История создания базы
Карта сайта

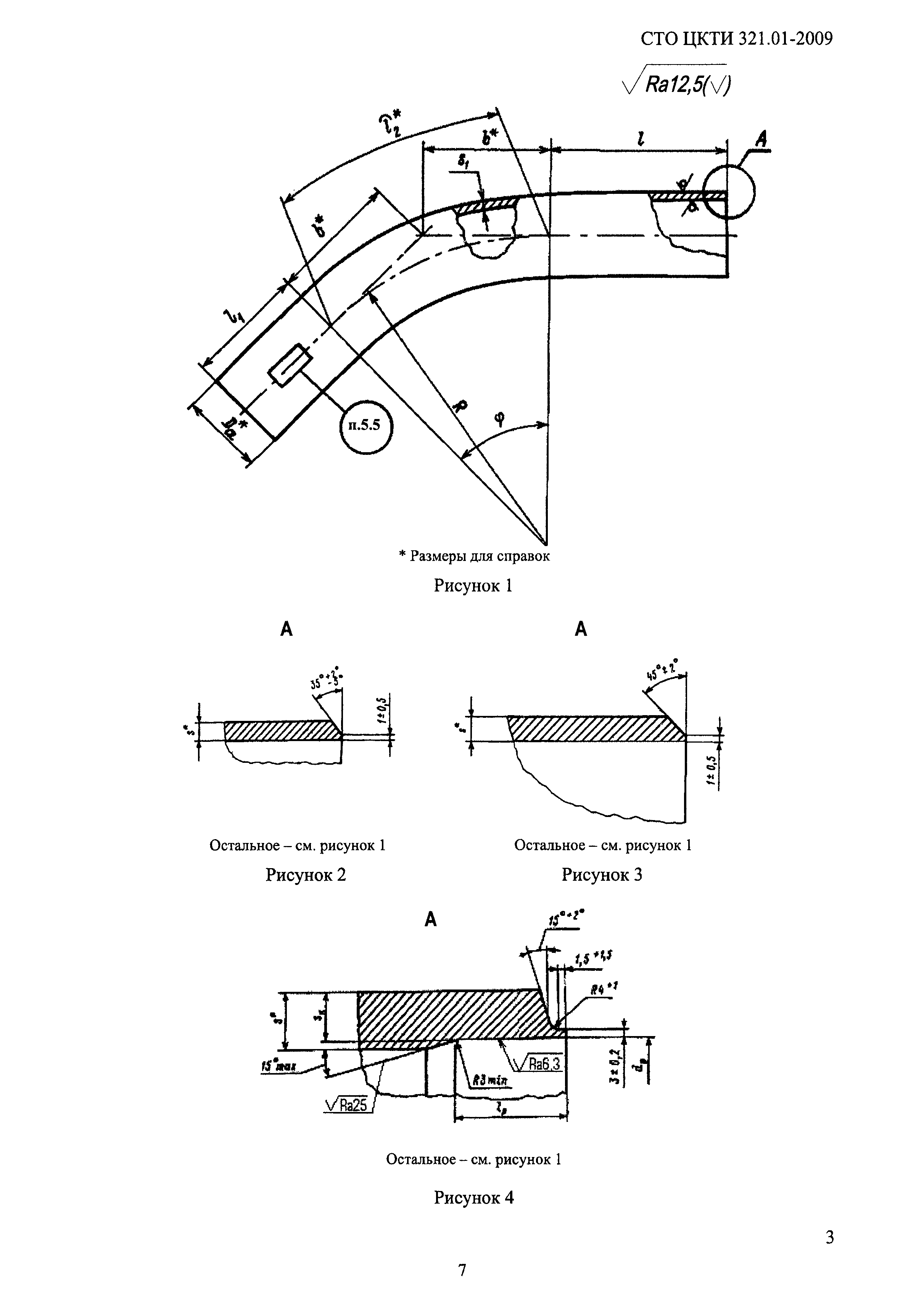
Скачать СТО ЦКТИ 321.01-2009 Отводы гнутые для трубопроводов питательной воды тепловых станций. Конструкция и размеры

Дата актуализации: 10.08.2017

СТО ЦКТИ 321.01-2009

Отводы гнутые для трубопроводов питательной воды тепловых станций. Конструкция и размеры

Обозначение: СТО ЦКТИ 321.01-2009
Обозначение англ: 321.01-2009
Статус:действует
Название рус.:Отводы гнутые для трубопроводов питательной воды тепловых станций. Конструкция и размеры
Дата добавления в базу:01.09.2013
Дата актуализации:05.05.2017
Дата введения:01.05.2010
Область применения:Стандарт распространяется на гнутые отводы с углами гиба 15, 30, 45, 60 и 90 градусов для трубопроводов питательной воды тепловых станций, изготавливаемых из труб стали марки 15ГС по ТУ 14-3Р-55 или ТУ 1310-030-00212179.
Оглавление:1. Область применения
2. Нормативные ссылки
3. Термины, определения и обозначения
4. Конструкция и размеры
5. Технические требования
Разработан: ОАО НПО ЦКТИ
ЗАО Энергомаш (Белгород)-БЗЭМ
Утверждён:14.12.2009 ОАО НПО ЦКТИ (373)
Издан: ОАО НПО ЦКТИ (2010 г. )
Расположен в:Техническая документация
Список изменений:
Заменяет собой:
Нормативные ссылки:
СТО ЦКТИ 321.01-2009СТО ЦКТИ 321.01-2009СТО ЦКТИ 321.01-2009СТО ЦКТИ 321.01-2009СТО ЦКТИ 321.01-2009СТО ЦКТИ 321.01-2009СТО ЦКТИ 321.01-2009СТО ЦКТИ 321.01-2009СТО ЦКТИ 321.01-2009СТО ЦКТИ 321.01-2009СТО ЦКТИ 321.01-2009СТО ЦКТИ 321.01-2009СТО ЦКТИ 321.01-2009СТО ЦКТИ 321.01-2009СТО ЦКТИ 321.01-2009СТО ЦКТИ 321.01-2009СТО ЦКТИ 321.01-2009

Текстовое изменение № 1 от 25.04.2012

№ 1

© 2013 Ёшкин Кот :-) Карта сайта